Name | Document 99428-10B | |
Occupation | Dealership | |
Street | Department | |
City | State | Zip |
POSITION | DESCRIPTION | POSSIBLE VALUES | |
|---|---|---|---|
1 | Market designation | 1=Originally manufactured for sale within the United States 5=Originally manufactured for sale outside of the United States | |
2 | Manufacturer | HD=Harley-Davidson | |
3 | Motorcycle type | 1=Heavyweight motorcycle (901 cc or larger) | |
4 | Model | PR=FLHTCUSE5 CVO Ultra Classic® Electra Glide® PR=FLHTCUSE5-BLK CVO Ultra Classic® Electra Glide® | |
5 | Engine type | 8=110 cu. in. (1800 cc) air-cooled, fuel-injected | |
6 | Introduction date/ Calibration recognition | FLHTCUSE5 1=Domestic 3=California A=Canada C=HDI E=Japan G=Australia | FLHTCUSE5-BLK 2, 4=Domestic 5, 6=California B=Canada D=HDI F=Japan H=Australia |
7 | V.I.N. check digit | Can be 0-9 or X | |
8 | Model year | A=2010 | |
9 | Assembly plant | B=York, PA U.S.A. | |
10 | Sequential number | Varies | |
| Index No. | Part No. | Description | Model(s) |
| 1 | 19176-11 | ENGINE ASSEMBLY, complete, 110 cubic-inch (black) | FLHTCUSE5 BLK |
| 19838-11 | ENGINE ASSEMBLY, complete, 110 cubic-inch (granite) | FLHTCUSE5 |
| Index No. | Part No. | Description | Model(s) |
| 1 | 11907 | O-RING KIT, cylinder base, w/ crankcase dowel o-rings | FLHTCUSE5, FLHTCUSE5 BLK |
| 2 | 16478-85A | SCREW, internal thread, 3-3/16 in. long (4) | FLHTCUSE5, FLHTCUSE5 BLK |
| 3 | 16480-92A | SCREW, internal thread, 1-7/8 in. long (4) | FLHTCUSE5, FLHTCUSE5 BLK |
| 4 | 16595-99A | DOWEL PIN, ring (4) | FLHTCUSE5, FLHTCUSE5 BLK |
| 5 | 16699-06 | SNAP RING, wire (4) | FLHTCUSE5, FLHTCUSE5 BLK |
| 6 | 16715-83 | STUD, exhaust port (4) | FLHTCUSE5, FLHTCUSE5 BLK |
| 7 | 16801-07B | GASKET, cylinder head (2) | FLHTCUSE5, FLHTCUSE5 BLK |
| 8 | 16834-99A | STUD, cylinder (8) | FLHTCUSE5, FLHTCUSE5 BLK |
| 9 | 17257-07A | HEAD, cylinder, rear, w/ 18048-98A, 18161-08, 18168-08 & 18189-07 (black) | FLHTCUSE5 BLK |
| 17293-08A | HEAD, cylinder, front, w/ 18048-98A, 18161-08, 18168-08 & 18189-07 (black) | FLHTCUSE5 BLK | |
| 17331-08A | HEAD, cylinder, rear, w/ 18048-98A, 18161-08, 18168-08 & 18189-07 (granite) | FLHTCUSE5 | |
| 17337-08A | HEAD, cylinder, front, w/ 18048-98A, 18161-08, 18168-08 & 18189-07 (granite) | FLHTCUSE5 | |
| 10 | 17349-07B | GASKET KIT, top-end | FLHTCUSE5, FLHTCUSE5 BLK |
| 17350-07B | GASKET KIT, engine overhaul | FLHTCUSE5, FLHTCUSE5 BLK | |
| 11 | 17285-07A | CYLINDER ASSEMBLY, w/ 16595-99A (black) (2) | FLHTCUSE5 BLK |
| 17454-08A | CYLINDER ASSEMBLY, w/ 16595-99A (granite) (2) | FLHTCUSE5 | |
| 12 | 18048-98A | SEAT, exhaust valve (2) | FLHTCUSE5, FLHTCUSE5 BLK |
| 13 | 18067-09 | VALVE SEAL (4) | FLHTCUSE5, FLHTCUSE5 BLK |
| 14 | 18161-08 | VALVE GUIDE, intake (2) | FLHTCUSE5, FLHTCUSE5 BLK |
| 15 | 18168-08 | VALVE GUIDE, exhaust (2) | FLHTCUSE5, FLHTCUSE5 BLK |
| 16 | 18183-03 | EXHAUST VALVE (2) | FLHTCUSE5, FLHTCUSE5 BLK |
| 17 | 18187-07 | INTAKE VALVE (2) | FLHTCUSE5, FLHTCUSE5 BLK |
| 18 | 18189-07 | SEAT, intake valve (2) | FLHTCUSE5, FLHTCUSE5 BLK |
| 19 | 18270-00A | COLLAR, valve spring lower (4) | FLHTCUSE5, FLHTCUSE5 BLK |
| 20 | 18271-00 | KEY, valve spring collar (8) | FLHTCUSE5, FLHTCUSE5 BLK |
| 21 | 18272-00 | SPRING VALVE, inner & outer (4) | FLHTCUSE5, FLHTCUSE5 BLK |
| 22 | 18280-07 | COLLAR, valve spring upper (4) | FLHTCUSE5, FLHTCUSE5 BLK |
| 23 | 28861-07A | SOLENOID, auto compression release, w/ 72009-05 & 72011-05 (2) | FLHTCUSE5, FLHTCUSE5 BLK |
| 24 | 29517-07A | MEDALLION KIT, w/ 2 medallions | FLHTCUSE5, FLHTCUSE5 BLK |
| 25 | 72009-05 | HOUSING, 2-way, pin | FLHTCUSE5, FLHTCUSE5 BLK |
| 26 | 72011-05 | WIRE SEAL, 16-20 AWG (yellow) (2) | FLHTCUSE5, FLHTCUSE5 BLK |
| 27 | 94634-99 | SCREW, medallion (4) | FLHTCUSE5, FLHTCUSE5 BLK |
| Index No. | Part No. | Description | Model(s) |
| 1 | 1039 | SCREW (8) | FLHTCUSE5, FLHTCUSE5 BLK |
| 2 | 3692A | SCREW (6) | FLHTCUSE5, FLHTCUSE5 BLK |
| 3 | 3693A | SCREW (10) | FLHTCUSE5, FLHTCUSE5 BLK |
| 4 | 3736A | SCREW (8) | FLHTCUSE5, FLHTCUSE5 BLK |
| 5 | 3746A | SCREW (used w/ 17650-02) (4) | FLHTCUSE5, FLHTCUSE5 BLK |
| 6 | 4400 | BOLT (used w/ 17025-03A) (4) | FLHTCUSE5, FLHTCUSE5 BLK |
| 7 | 4741A | SCREW (8) | FLHTCUSE5, FLHTCUSE5 BLK |
| 8 | 6762B | WASHER (4) | FLHTCUSE5, FLHTCUSE5 BLK |
| 9 | 11132A | O-RING, push rod cover (4) | FLHTCUSE5, FLHTCUSE5 BLK |
| 10 | 11145A | O-RING, push rod cover (4) | FLHTCUSE5, FLHTCUSE5 BLK |
| 11 | 11270 | O-RING (2) | FLHTCUSE5, FLHTCUSE5 BLK |
| 12 | 11293 | O-RING (4) | FLHTCUSE5, FLHTCUSE5 BLK |
| 13 | 16719-99B | GASKET, rocker housing (2) | FLHTCUSE5, FLHTCUSE5 BLK |
| 14 | 17025-03A | BREATHER ASSEMBLY KIT, w/ 4400 & 26500002 (replaces 17650-02) | FLHTCUSE5, FLHTCUSE5 BLK |
| 15 | 17045-99D | GASKET KIT, cam service | FLHTCUSE5, FLHTCUSE5 BLK |
| 16 | 17162-03 | GASKET KIT, breather assembly, w/ 26858-99, 63815-99 & gaskets (used w/ 17650-02) | FLHTCUSE5, FLHTCUSE5 BLK |
| 17 | 17360-83A | ROCKER ARM, front intake, rear exhaust, w/ bushings (2) | FLHTCUSE5, FLHTCUSE5 BLK |
| 18 | 17375-83A | ROCKER ARM, rear intake, front exhaust, w/ bushings (2) | FLHTCUSE5, FLHTCUSE5 BLK |
| 19 | 17386-99A | GASKET, rocker cover (2) | FLHTCUSE5, FLHTCUSE5 BLK |
| 20 | 17429-91 | BEARING, rocker arm (8) | FLHTCUSE5, FLHTCUSE5 BLK |
| 21 | 17572-99 | ROCKER COVER (chrome) (2) | FLHTCUSE5, FLHTCUSE5 BLK |
| 22 | 17573-99A | ROCKER HOUSING (chrome) (2) | FLHTCUSE5, FLHTCUSE5 BLK |
| 23 | 17594-99 | SUPPORT, rocker arm (2) | FLHTCUSE5, FLHTCUSE5 BLK |
| 24 | 17611-83 | SHAFT, rocker arm (4) | FLHTCUSE5, FLHTCUSE5 BLK |
| 25 | 17650-02 | BREATHER ASSEMBLY KIT, w/ 26858-99, 63815-99, breather cover, baffle & gaskets (use 17025-03A) | FLHTCUSE5, FLHTCUSE5 BLK |
| 26 | 17922-99 | PUSH ROD, exhaust, 10.536 in. long (black oxide finish) (2) | FLHTCUSE5, FLHTCUSE5 BLK |
| 17923-99 | PUSH ROD, intake, 10.418 in. long (plain finish) (2) | FLHTCUSE5, FLHTCUSE5 BLK | |
| 27 | 17939-99 | COVER, push rod, lower (4) | FLHTCUSE5, FLHTCUSE5 BLK |
| 28 | 17945-36B | CAP, cover spring (4) | FLHTCUSE5, FLHTCUSE5 BLK |
| 29 | 17947-36 | SPRING, push rod cover (4) | FLHTCUSE5, FLHTCUSE5 BLK |
| 30 | 17948-99 | COVER, push rod, upper (4) | FLHTCUSE5, FLHTCUSE5 BLK |
| 31 | 17964-99 | LIFTER COVER, front (chrome) | FLHTCUSE5, FLHTCUSE5 BLK |
| 17966-99 | LIFTER COVER, rear (chrome) | FLHTCUSE5, FLHTCUSE5 BLK | |
| 32 | 17968-99 | RETAINER, spring cap (4) | FLHTCUSE5, FLHTCUSE5 BLK |
| 33 | 18535-99 | PIN, anti-rotation (2) | FLHTCUSE5, FLHTCUSE5 BLK |
| 34 | 18538-99B | HYDRAULIC LIFTER (4) | FLHTCUSE5, FLHTCUSE5 BLK |
| 35 | 18635-99B | GASKET, lifter cover (2) | FLHTCUSE5, FLHTCUSE5 BLK |
| 36 | 26858-99 | VALVE, breather (used w/ 17650-02) (2) | FLHTCUSE5, FLHTCUSE5 BLK |
| 37 | 63815-99 | FILTER ELEMENT, breather (used w/ 17650-02) (2) | FLHTCUSE5, FLHTCUSE5 BLK |
| 38 | 26500002 | BREATHER, baffle assembly, w/ breather valve & filter (used w/ 17025-03A) | FLHTCUSE5, FLHTCUSE5 BLK |
| Index No. | Part No. | Description | Model(s) |
| 1 | 11177A | RETAINING RING | FLHTCUSE5, FLHTCUSE5 BLK |
| 2 | 22285-07 | PISTON RING SET, standard (2) | FLHTCUSE5, FLHTCUSE5 BLK |
| 22287-07 | PISTON RING SET, 0.010 in. O.S. (2) | FLHTCUSE5, FLHTCUSE5 BLK | |
| 3 | 22284-07 | PISTON & RINGS ASSEMBLY, w/ piston pin & lock rings - std. (2) | FLHTCUSE5, FLHTCUSE5 BLK |
| 22290-07 | PISTON & RINGS ASSEMBLY, w/ piston pin & lock rings - 0.010 in. O.S. (2) | FLHTCUSE5, FLHTCUSE5 BLK | |
| 4 | 22097-99 | LOCK RING, piston pin (4) | FLHTCUSE5, FLHTCUSE5 BLK |
| 5 | 22269-07 | PISTON PIN (2) | FLHTCUSE5, FLHTCUSE5 BLK |
| 6 | 23729-07A | FLYWHEEL ASSEMBLY KIT | FLHTCUSE5, FLHTCUSE5 BLK |
| Index No. | Part No. | Description | Model(s) |
| 1 | 703B | SCREW (used w/ 24758-07A & 24760-08A) (2) | FLHTCUSE5, FLHTCUSE5 BLK |
| 2 | 765 | PLUG (3) | FLHTCUSE5, FLHTCUSE5 BLK |
| 3 | 895 | SCREW (8) | FLHTCUSE5, FLHTCUSE5 BLK |
| 4 | 924 | SCREW (2) | FLHTCUSE5, FLHTCUSE5 BLK |
| 5 | 1090A | SCREW | FLHTCUSE5, FLHTCUSE5 BLK |
| 6 | 7716 | LOCKNUT (3) | FLHTCUSE5, FLHTCUSE5 BLK |
| 7 | 8972 | WASHER (2) | FLHTCUSE5, FLHTCUSE5 BLK |
| 8 | 9215 | BEARING, needle, left side, camshaft (2) | FLHTCUSE5, FLHTCUSE5 BLK |
| 9 | 10198 | CLAMP (2) | FLHTCUSE5, FLHTCUSE5 BLK |
| 10 | 10354 | CLAMP (2) | FLHTCUSE5, FLHTCUSE5 BLK |
| 11 | 11140 | O-RING (2) | FLHTCUSE5, FLHTCUSE5 BLK |
| 12 | 11290 | O-RING | FLHTCUSE5, FLHTCUSE5 BLK |
| 13 | 11891 | SPACER (2) | FLHTCUSE5, FLHTCUSE5 BLK |
| 14 | 11907 | O-RING KIT, w/ cylinder base o-rings | FLHTCUSE5, FLHTCUSE5 BLK |
| 15 | 12068 | SEAL, oil | FLHTCUSE5, FLHTCUSE5 BLK |
| 16 | 14448-94 | LOGO, bar and shield | FLHTCUSE5, FLHTCUSE5 BLK |
| 17 | 16574-99A | DOWEL PIN (2) | FLHTCUSE5, FLHTCUSE5 BLK |
| 18 | 16589-99A | DOWEL PIN (2) | FLHTCUSE5, FLHTCUSE5 BLK |
| 19 | 16595-99A | DOWEL PIN (4) | FLHTCUSE5, FLHTCUSE5 BLK |
| 20 | 22307-99 | JET, cooling, piston, w/ 11140 (2) | FLHTCUSE5, FLHTCUSE5 BLK |
| 24004-03A | BEARING KIT, w/ 8972, 24605-07, 35114-02 & inner race (not illustrated) | FLHTCUSE5, FLHTCUSE5 BLK | |
| 21 | 24009-06 | SPACER, sprocket shaft | FLHTCUSE5, FLHTCUSE5 BLK |
| 22 | 24605-07 | BEARING, main (2) | FLHTCUSE5, FLHTCUSE5 BLK |
| 23 | 24758-07 | CRANKCASE SET, w/ 765, 895, 1090A, 9215, 11140, 16574-99A, 16589-99A, 16595-99A, 22307-99, 24605-07, 35114-02 & 68042-99 (black) (use 24758-07A) | FLHTCUSE5 BLK |
| 24758-07A | CRANKCASE SET, w/ 703B, 765, 895, 1090A, 9215, 11140, 16574-99A, 16589-99A, 16595-99A, 22307-99, 24605-07, 35114-02 & 68042-99 (black) (replaces 24758-07) | FLHTCUSE5 BLK | |
| 24760-08 | CRANKCASE SET, w/ 765, 895, 1090A, 9215, 11140, 16574-99A, 16589-99A, 16595-99A, 22307-99, 24605-07, 35114-02 & 68042-99 (granite) (use 24760-08A) | FLHTCUSE5 | |
| 24760-08A | CRANKCASE SET, w/ 703B, 765, 895, 1090A, 9215, 11140, 16574-99A, 16589-99A, 16595-99A, 22307-99, 24605-07, 35114-02 & 68042-99 (granite) (replaces 24760-08) | FLHTCUSE5 | |
| 24 | 26041-05A | ADAPTER | FLHTCUSE5, FLHTCUSE5 BLK |
| 25 | 35114-02 | RING, retaining, internal | FLHTCUSE5, FLHTCUSE5 BLK |
| 26 | 62108-09 | BRACKET, mounting, oil-cooler | FLHTCUSE5, FLHTCUSE5 BLK |
| 27 | 62629-09 | HOSE, oil cooler, right | FLHTCUSE5, FLHTCUSE5 BLK |
| 28 | 62641-09 | HOSE, oil cooler, left | FLHTCUSE5, FLHTCUSE5 BLK |
| 29 | 63066-07 | GASKET | FLHTCUSE5, FLHTCUSE5 BLK |
| 30 | 63068-09 | OIL COOLER CORE | FLHTCUSE5, FLHTCUSE5 BLK |
| 31 | 63059-09 | ADAPTER ASSEMBLY, oil cooler w/ 924, 11290, 63066-07, 63084-07, 63533-41A & cover (black) | FLHTCUSE5 BLK |
| 63076-09 | ADAPTER ASSEMBLY, oil cooler w/ 924, 11290, 63066-07, 63084-07, 63533-41A & cover (granite) | FLHTCUSE5 | |
| 32 | 63084-07 | GASKET | FLHTCUSE5, FLHTCUSE5 BLK |
| 33 | 63102-10 | COVER ASSEMBLY, oil cooler, w/ 11891 & 14448-94 (black) | FLHTCUSE5 BLK |
| 25700007 | COVER ASSEMBLY, oil cooler, w/ 11891 & 14448-94 (chrome) | FLHTCUSE5 | |
| 34 | 63533-41A | FITTING (2) | FLHTCUSE5, FLHTCUSE5 BLK |
| 35 | 63798-99A | FILTER, oil (chrome) | FLHTCUSE5, FLHTCUSE5 BLK |
| 36 | 68042-99 | SCREW (4) | FLHTCUSE5, FLHTCUSE5 BLK |
| 37 | 89584-07 | CAP, thread protector (black) (2) | FLHTCUSE5, FLHTCUSE5 BLK |
| Index No. | Part No. | Description | Model(s) |
| 1 | 601 | ROLL PIN | FLHTCUSE5, FLHTCUSE5 BLK |
| 2 | 942 | SCREW, primary cam chain tensioner (2) | FLHTCUSE5, FLHTCUSE5 BLK |
| 3 | 4740A | SCREW, secondary cam tensioner (2) | FLHTCUSE5, FLHTCUSE5 BLK |
| 4740A | SCREW, cam cover (10) | FLHTCUSE5, FLHTCUSE5 BLK | |
| 4 | 4741A | SCREW (10) | FLHTCUSE5, FLHTCUSE5 BLK |
| 5 | 6294 | WASHER | FLHTCUSE5, FLHTCUSE5 BLK |
| 6 | 8873 | BALL (12) | FLHTCUSE5, FLHTCUSE5 BLK |
| 7 | 9215 | NEEDLE BEARING, camshaft (2) | FLHTCUSE5, FLHTCUSE5 BLK |
| 8 | 11293 | O-RING | FLHTCUSE5, FLHTCUSE5 BLK |
| 9 | 11301 | O-RING (2) | FLHTCUSE5, FLHTCUSE5 BLK |
| 10 | 11461 | RETAINING RING | FLHTCUSE5, FLHTCUSE5 BLK |
| 11 | 17045-99D | GASKET KIT, cam service | FLHTCUSE5, FLHTCUSE5 BLK |
| 12 | 25566-06 | CAM DRIVE SPROCKET RETENTION KIT, w/ 6294 & screws | FLHTCUSE5, FLHTCUSE5 BLK |
| 13 | 25244-99A | GASKET, cam cover | FLHTCUSE5, FLHTCUSE5 BLK |
| 14 | 25355-06A | CAM SUPPORT PLATE, w/ bypass valve, w/ 601, 8873, 26210-99 & 26400-82B | FLHTCUSE5, FLHTCUSE5 BLK |
| 15 | 25369-01B | CAM COVER (chrome) | FLHTCUSE5, FLHTCUSE5 BLK |
| 16 | 25585-06 | CAMSHAFT CHAIN & FASTENER KIT, w/ 25566-06, 25673-06, 25675-06 & 25728-06 | FLHTCUSE5, FLHTCUSE5 BLK |
| 17 | 25638-07 | CAMSHAFT KIT | FLHTCUSE5, FLHTCUSE5 BLK |
| 18 | 25673-06 | SPROCKET, cam drive on crankshaft, 17 T | FLHTCUSE5, FLHTCUSE5 BLK |
| 19 | 25675-06 | CHAIN, primary cam drive | FLHTCUSE5, FLHTCUSE5 BLK |
| 20 | 25683-06 | CHAIN, secondary cam drive | FLHTCUSE5, FLHTCUSE5 BLK |
| 21 | 25728-06 | SPROCKET, cam drive, 34 T | FLHTCUSE5, FLHTCUSE5 BLK |
| 22 | 25729-06 | SPACER, cam drive sprocket alignment 0.100 in. thick | FLHTCUSE5, FLHTCUSE5 BLK |
| 23 | 25729-06 | SPACER, cam drive sprocket alignment 0.100 in. thick (use as required) | FLHTCUSE5, FLHTCUSE5 BLK |
| 25731-06 | SPACER, cam drive sprocket alignment 0.110 in. thick (use as required) | FLHTCUSE5, FLHTCUSE5 BLK | |
| 25734-06 | SPACER, cam drive sprocket alignment 0.120 in. thick (use as required) | FLHTCUSE5, FLHTCUSE5 BLK | |
| 25736-06 | SPACER, cam drive sprocket alignment 0.130 in. thick (use as required) | FLHTCUSE5, FLHTCUSE5 BLK | |
| 25737-06 | SPACER, cam drive sprocket alignment 0.140 in. thick (use as required) | FLHTCUSE5, FLHTCUSE5 BLK | |
| 25738-06 | SPACER, cam drive sprocket alignment 0.150 in. thick (use as required) | FLHTCUSE5, FLHTCUSE5 BLK | |
| 24 | 26037-06 | OIL PUMP ASSEMBLY, w/ 26278-06, 26281-06, 26282-06 & 40323-00 | FLHTCUSE5, FLHTCUSE5 BLK |
| 25 | 26210-99 | SPRING, relief valve | FLHTCUSE5, FLHTCUSE5 BLK |
| 26 | 26278-06 | GEROTOR ASSEMBLY, scavenge | FLHTCUSE5, FLHTCUSE5 BLK |
| 27 | 26281-06 | GEROTOR ASSEMBLY, pressure | FLHTCUSE5, FLHTCUSE5 BLK |
| 28 | 26282-06 | SEPARATOR PLATE, gerotor (2) | FLHTCUSE5, FLHTCUSE5 BLK |
| 29 | 26400-82B | RELIEF VALVE, oil pump | FLHTCUSE5, FLHTCUSE5 BLK |
| 30 | 32578-07 | COVER, timer cover (chrome) | FLHTCUSE5, FLHTCUSE5 BLK |
| 31 | 39968-06 | CHAIN TENSIONER, primary cam drive chain | FLHTCUSE5, FLHTCUSE5 BLK |
| 32 | 39969-06 | CHAIN TENSIONER, secondary cam drive chain | FLHTCUSE5, FLHTCUSE5 BLK |
| 33 | 40323-00 | SPRING, separator | FLHTCUSE5, FLHTCUSE5 BLK |
| 34 | 68120-00 | SCREW (5) | FLHTCUSE5, FLHTCUSE5 BLK |
| Index No. | Part No. | Description | Model(s) |
| 1 | 4313 | SCREW (2) | FLHTCUSE5, FLHTCUSE5 BLK |
| 2 | 4688 | SCREW (3) | FLHTCUSE5, FLHTCUSE5 BLK |
| 3 | 4721 | BOLT (2) | FLHTCUSE5, FLHTCUSE5 BLK |
| 4 | 4838 | SCREW (2) | FLHTCUSE5, FLHTCUSE5 BLK |
| 5 | 4868 | SCREW (2) | FLHTCUSE5, FLHTCUSE5 BLK |
| 6 | 6127 | WASHER (5) | FLHTCUSE5, FLHTCUSE5 BLK |
| 7 | 7783 | NUT (2) | FLHTCUSE5, FLHTCUSE5 BLK |
| 8 | 16207-09 | ENGINE MOUNT, front (2) | FLHTCUSE5, FLHTCUSE5 BLK |
| 9 | 16219-09 | STABLIZER LINK | FLHTCUSE5, FLHTCUSE5 BLK |
| 10 | 16321-08 | WELDMENT, engine strap | FLHTCUSE5, FLHTCUSE5 BLK |
| 11 | 24754-75A | DOWEL BUSHING (2) | FLHTCUSE5, FLHTCUSE5 BLK |
| 12 | 47159-09BHP | BRACKET, front engine mount | FLHTCUSE5, FLHTCUSE5 BLK |
| 13 | 47460-09BHP | END CAP, front mount | FLHTCUSE5, FLHTCUSE5 BLK |
| Index No. | Part No. | Description | Model(s) |
| 1 | 3275 | SCREW (4) | FLHTCUSE5, FLHTCUSE5 BLK |
| 2 | 4705 | SCREW (2) | FLHTCUSE5, FLHTCUSE5 BLK |
| 3 | 26993-06 | FLANGE, mounting (2) | FLHTCUSE5, FLHTCUSE5 BLK |
| 4 | 26995-86B | SEAL, intake manifold (2) | FLHTCUSE5, FLHTCUSE5 BLK |
| 5 | 27609-01B | FUEL INJECTOR ASSEMBLY, w/ o-ring (2) | FLHTCUSE5, FLHTCUSE5 BLK |
| 6 | 27711-08 | INDUCTION MODULE SERVICE KIT | FLHTCUSE5, FLHTCUSE5 BLK |
| 7 | 27712-08 | BRACKET, induction module | FLHTCUSE5, FLHTCUSE5 BLK |
| 8 | 27721-08 | FUEL RAIL | FLHTCUSE5, FLHTCUSE5 BLK |
| 9 | 32319-07 | SENSOR, temperature manifold absolute pressure, w/ o-ring | FLHTCUSE5, FLHTCUSE5 BLK |
| 10 | 61208-10 | FUEL LINE KIT | FLHTCUSE5, FLHTCUSE5 BLK |
| 11 | 90383-98 | CAP, purge tube | FLHTCUSE5, FLHTCUSE5 BLK |
| 12 | 27200003 | INDUCTION MODULE KIT, w/ 27711-08 & 90383-98 | FLHTCUSE5, FLHTCUSE5 BLK |
| Index No. | Part No. | Description | Model(s) |
| 1 | 946 | SCREW, bracket (3) | FLHTCUSE5, FLHTCUSE5 BLK |
| 2 | 2533 | SCREW (2) | FLHTCUSE5 BLK |
| 3048 | SCREW (2) | FLHTCUSE5 | |
| 3 | 10398 | CLIP, ACR connector retention | FLHTCUSE5, FLHTCUSE5 BLK |
| 4 | 28726-10 | COVER, air cleaner, w/ 29127-95B (chrome) | FLHTCUSE5 |
| 28745-10 | COVER, air cleaner, w/ 29404-01A (black) | FLHTCUSE5 BLK | |
| 5 | 29127-95B | WARNING LABEL, air cleaner (chrome) (Domestic, California) | FLHTCUSE5 |
| 29404-01A | WARNING LABEL, air cleaner (clear) (Domestic, California) | FLHTCUSE5 BLK | |
| 6 | 29269-83A | SCREW, air cleaner | FLHTCUSE5, FLHTCUSE5 BLK |
| 7 | 29465-08 | BOLT, breather (2) | FLHTCUSE5, FLHTCUSE5 BLK |
| 8 | 29502-08A | TUBE, breather (2) | FLHTCUSE5, FLHTCUSE5 BLK |
| 9 | 29584-01 | SEAL, cover, air cleaner | FLHTCUSE5, FLHTCUSE5 BLK |
| 10 | 29633-08 | ELEMENT, air filter, w/ 29645-08 | FLHTCUSE5, FLHTCUSE5 BLK |
| 11 | 29644-08 | BRACKET, air cleaner cover | FLHTCUSE5, FLHTCUSE5 BLK |
| 12 | 29645-08 | GASKET, filter element | FLHTCUSE5, FLHTCUSE5 BLK |
| 13 | 29718-08 | GASKET, induction module to backplate | FLHTCUSE5, FLHTCUSE5 BLK |
| 14 | 29764-08A | BACKPLATE ASSEMBLY, air cleaner (Domestic, California) | FLHTCUSE5, FLHTCUSE5 BLK |
| 15 | 30075-10 | INSERT, air cleaner cover **RESTRICTED SALES PART** | FLHTCUSE5, FLHTCUSE5 BLK |
| INTERNATIONAL MODELS ONLY | |||
| 16 | 29630-08A | BACKPLATE ASSEMBLY, air cleaner (HDI & Japan) | FLHTCUSE5, FLHTCUSE5 BLK |
| Index No. | Part No. | Description | Model(s) |
| 1 | 3050 | SCREW (4) | FLHTCUSE5, FLHTCUSE5 BLK |
| 2 | 7716 | LOCKNUT (2) | FLHTCUSE5, FLHTCUSE5 BLK |
| 3 | 10039 | CABLE STRAP (3) | FLHTCUSE5, FLHTCUSE5 BLK |
| 24009-06 | SPACER, sprocket shaft (not illustrated) | FLHTCUSE5, FLHTCUSE5 BLK | |
| 4 | 29987-06B | STATOR ASSEMBLY, 3-phase, 50 AMP, w/ plug | FLHTCUSE5, FLHTCUSE5 BLK |
| 5 | 30041-08 | ROTOR ASSEMBLY | FLHTCUSE5, FLHTCUSE5 BLK |
| 6 | 74115-06 | DC LEAD ASSEMBLY | FLHTCUSE5, FLHTCUSE5 BLK |
| 7 | 74505-09 | VOLTAGE REGULATOR, 45 AMP (black) | FLHTCUSE5 BLK |
| 74622-09 | VOLTAGE REGULATOR, 45 AMP (chrome) | FLHTCUSE5 |
| Index No. | Part No. | Description | Model(s) |
| 1 | 3634 | SCREW (2) | FLHTCUSE5, FLHTCUSE5 BLK |
| 2 | 4826 | SCREW (2) | FLHTCUSE5, FLHTCUSE5 BLK |
| 3 | 10177 | CABLE STRAP, tree mount (3) | FLHTCUSE5, FLHTCUSE5 BLK |
| 4 | 31696-07A | IGNITION COIL | FLHTCUSE5, FLHTCUSE5 BLK |
| 5 | 32013-09A | SPARK PLUG CABLE, front cylinder, w/ 10177 | FLHTCUSE5, FLHTCUSE5 BLK |
| 6 | 32014-09A | SPARK PLUG CABLE, rear cylinder, w/ 10177 | FLHTCUSE5, FLHTCUSE5 BLK |
| 7 | 32362-04 | SPARK PLUG, 6R12 (2) | FLHTCUSE5, FLHTCUSE5 BLK |
| 8 | 34246-08A | ELECTRONIC CONTROL MODULE (ECM), base level (Domestic, HDI) Requires digital programming. | FLHTCUSE5, FLHTCUSE5 BLK |
| 9 | 66200-09 | BRACKET, battery hold down | FLHTCUSE5, FLHTCUSE5 BLK |
| 10 | 70344-09 | CADDY, electronic control module (ECM) | FLHTCUSE5, FLHTCUSE5 BLK |
| 11 | 70681-09 | RETAINER, wire harness (4) | FLHTCUSE5, FLHTCUSE5 BLK |
| Index No. | Part No. | Description | Model(s) |
| 1 | 4741A | SCREW | FLHTCUSE5, FLHTCUSE5 BLK |
| 2 | 11289A | O-RING | FLHTCUSE5, FLHTCUSE5 BLK |
| 3 | 32319-07 | SENSOR, temperature manifold absolute pressure, w/ o-ring | FLHTCUSE5, FLHTCUSE5 BLK |
| 4 | 32446-99 | SENSOR, engine temperature | FLHTCUSE5, FLHTCUSE5 BLK |
| 5 | 32707-01C | SENSOR, crankshaft position, w/ 11289A, 72199-94 & 74194-98 | FLHTCUSE5, FLHTCUSE5 BLK |
| 6 | 72199-94 | CONNECTOR | FLHTCUSE5, FLHTCUSE5 BLK |
| 7 | 74194-98 | PIN TERMINAL (2) | FLHTCUSE5, FLHTCUSE5 BLK |
| 8 | 74438-99A | OIL PRESSURE SENDER | FLHTCUSE5, FLHTCUSE5 BLK |
| Index No. | Part No. | Description | Model(s) |
| 1 | 4419 | SCREW, starter mount (2) | FLHTCUSE5, FLHTCUSE5 BLK |
| 2 | 10957 | O-RING | FLHTCUSE5, FLHTCUSE5 BLK |
| 3 | 27444-00Y | O-RING, starter-to-case | FLHTCUSE5, FLHTCUSE5 BLK |
| 4 | 31604-06 | SOLENOID REPAIR KIT | FLHTCUSE5, FLHTCUSE5 BLK |
| 5 | 31619-06A | STARTER ASSEMBLY COMPLETE (black) | FLHTCUSE5, FLHTCUSE5 BLK |
| 6 | 31633-07A | CLUTCH SUBASSEMBLY, w/ 10957 | FLHTCUSE5, FLHTCUSE5 BLK |
| Index No. | Part No. | Description | Model(s) |
| 1 | 780 | SCREW | FLHTCUSE5 |
| 2 | 856A | SCREW | FLHTCUSE5 |
| 3 | 3275 | SCREW (2) | FLHTCUSE5 |
| 4 | 4192 | SCREW (2) | FLHTCUSE5 |
| 5 | 4196 | SCREW (2) | FLHTCUSE5 |
| 6 | 5817 | SPACER | FLHTCUSE5 |
| 7 | 5826 | SPACER, shifter cover | FLHTCUSE5 |
| 8 | 6497HW | WASHER | FLHTCUSE5 |
| 9 | 7904 | ACORN NUT (polished stainless steel) | FLHTCUSE5 |
| 10 | 11150 | RING, retaining, external | FLHTCUSE5 |
| 11 | 11389 | RING, shift cam retaining | FLHTCUSE5 |
| 12 | 11575 | RING, shift cam retaining | FLHTCUSE5 |
| 13 | 33389-07 | SPRING DETENT | FLHTCUSE5 |
| 14 | 33409-06B | DETENT ARM ASSEMBLY, w/ 33389-07 | FLHTCUSE5 |
| 15 | 33413-06A | SHIFTER CAM ASSEMBLY, w/ 11389, 11575 & bearing | FLHTCUSE5 |
| 16 | 33709-82A | SHAFT | FLHTCUSE5 |
| 17 | 33718-82B | LEVER, gearshift (chrome) | FLHTCUSE5 |
| 18 | 33819-98A | SHIFTER LINKAGE KIT, w/ 4192, 5826, 7904, 33888-99, 33889-99 & 33890-99A | FLHTCUSE5 |
| 19 | 33849-97 | LEVER, shifter rod | FLHTCUSE5 |
| 20 | 33888-99 | ROD END, self-aligning (polished stainless steel) (2) | FLHTCUSE5 |
| 21 | 33889-99 | NUT, rod-end (polished stainless steel) (2) | FLHTCUSE5 |
| 22 | 33890-99A | COVER, shifter rod | FLHTCUSE5 |
| 23 | 33960-09 | TREAD, shifter peg (2) | FLHTCUSE5 |
| 24 | 33961-09 | COVER, shifter peg (chrome) (2) | FLHTCUSE5 |
| 25 | 34064-00C | SPRING, shifter return | FLHTCUSE5 |
| 26 | 34532-00B | LEVER, shifter heel (chrome) | FLHTCUSE5 |
| 27 | 34568-00B | LEVER, shifter toe (chrome) | FLHTCUSE5 |
| 28 | 34853-08 | TRANSMISSION CASE SUBASSEMBLY, w/ 3594, 8963, 8967, 9701, 11161, 12074, 16574-99A, 35082-07, 35122-06, 35186-06, 35241-06, 35242-06, 37101-84B, 40659-06 & 66290-06 (granite) | FLHTCUSE5 |
| 29 | 34987-06 | SPRING, ratchet lever | FLHTCUSE5 |
| 30 | 35081-06 | SHIFT MECHANISM, w/ 34064-00C & 34987-06 | FLHTCUSE5 |
| 31 | 35082-07 | CENTERING SCREW, shift lever | FLHTCUSE5 |
| 32 | 35186-06 | SLEEVE | FLHTCUSE5 |
| 33 | 35187-06 | FORK, shift 1 - 2 | FLHTCUSE5 |
| 34 | 35210-06 | FORK, shift 3 - 4 | FLHTCUSE5 |
| 35 | 35217-06 | FORK, shift 5 - 6 | FLHTCUSE5 |
| 36 | 35222-06 | SHAFT, 5 - 6 shift fork | FLHTCUSE5 |
| 37 | 35223-06 | SHAFT, 1 - 2 & 3 - 4 shift fork | FLHTCUSE5 |
| 38 | 35243-06 | SLEEVE | FLHTCUSE5 |
| 39 | 35244-06 | SCREW, detent | FLHTCUSE5 |
| 40 | 35249-06 | LOCK PLATE, shift cam | FLHTCUSE5 |
| 35255-10 | GEAR PACK, FORKS & DRUM SUBASSEMBLY, w/ 11, 12, 13, 14, 15, 33, 34, 35, 36, 37, 38, 39, 40, 41, 7340, 35256-08, input shaft, countershaft & gears (granite) | FLHTCUSE5 | |
| 41 | 35259-06 | SCREW, shift drum support (2) | FLHTCUSE5 |
| 42 | 37101-84B | OIL SEAL | FLHTCUSE5 |
| 43 | 50784-97 | SPACER TUBE (2) | FLHTCUSE5 |
| Index No. | Part No. | Description | Model(s) |
| 1 | 780 | SCREW | FLHTCUSE5 BLK |
| 2 | 856A | SCREW | FLHTCUSE5 BLK |
| 3 | 2230 | SCREW (2) | FLHTCUSE5 BLK |
| 4 | 2231 | SCREW (2) | FLHTCUSE5 BLK |
| 5 | 4192 | SCREW (2) | FLHTCUSE5 BLK |
| 6 | 5817 | SPACER | FLHTCUSE5 BLK |
| 7 | 5826 | SPACER, shifter cover | FLHTCUSE5 BLK |
| 8 | 6497HW | WASHER | FLHTCUSE5 BLK |
| 9 | 7326 | NUT (2) | FLHTCUSE5 BLK |
| 10 | 7904 | ACORN NUT (polished stainless steel) | FLHTCUSE5 BLK |
| 11 | 11150 | RING, retaining, external | FLHTCUSE5 BLK |
| 12 | 11389 | RING, shift cam retaining | FLHTCUSE5 BLK |
| 13 | 11575 | RING, shift cam retaining | FLHTCUSE5 BLK |
| 14 | 33389-07 | SPRING DETENT | FLHTCUSE5 BLK |
| 15 | 33409-06B | DETENT ARM ASSEMBLY, w/ 33389-07 | FLHTCUSE5 BLK |
| 16 | 33413-06A | SHIFTER CAM ASSEMBLY, w/ 11389, 11575 & bearing | FLHTCUSE5 BLK |
| 17 | 33709-82A | SHAFT | FLHTCUSE5 BLK |
| 18 | 33718-82B | LEVER, gearshift (chrome) | FLHTCUSE5 BLK |
| 19 | 34018-08 | SHIFTER LINKAGE KIT, w/ 4192, 5826, 7326, 7904 & 33899-08 | FLHTCUSE5 BLK |
| 20 | 33849-97 | LEVER, shifter rod | FLHTCUSE5 BLK |
| 21 | 33899-08 | ROD END, self-aligning (polished stainless steel) (2) | FLHTCUSE5 BLK |
| 22 | 33960-09 | TREAD, shifter peg (2) | FLHTCUSE5 BLK |
| 23 | 34022-08 | COVER, shifter rod (black) | FLHTCUSE5 BLK |
| 24 | 34600-10 | COVER, shifter peg (black) (2) | FLHTCUSE5 BLK |
| 25 | 34064-00C | SPRING, shifter return | FLHTCUSE5 BLK |
| 26 | 34596-10 | LEVER, shifter toe (black) | FLHTCUSE5 BLK |
| 27 | 34597-10 | LEVER, shifter heel (black) | FLHTCUSE5 BLK |
| 28 | 34719-07B | TRANSMISSION CASE SUBASSEMBLY, w/ 3594, 8963, 8967, 9701, 11161, 12074, 16574-99A, 35082-07, 35122-06, 35186-06, 35241-06, 35242-06, 37101-84B, 40659-06 & 66290-06 (black) | FLHTCUSE5 BLK |
| 29 | 34987-06 | SPRING, ratchet lever | FLHTCUSE5 BLK |
| 30 | 35081-06 | SHIFT MECHANISM, w/ 34064-00C & 34987-06 | FLHTCUSE5 BLK |
| 31 | 35082-07 | CENTERING SCREW, shift lever | FLHTCUSE5 BLK |
| 32 | 35186-06 | SLEEVE | FLHTCUSE5 BLK |
| 33 | 35187-06 | FORK, shift 1 - 2 | FLHTCUSE5 BLK |
| 34 | 35210-06 | FORK, shift 3 - 4 | FLHTCUSE5 BLK |
| 35 | 35217-06 | FORK, shift 5 - 6 | FLHTCUSE5 BLK |
| 36 | 35222-06 | SHAFT, 5 - 6 shift fork | FLHTCUSE5 BLK |
| 37 | 35223-06 | SHAFT, 1 - 2 & 3 - 4 shift fork | FLHTCUSE5 BLK |
| 38 | 35243-06 | SLEEVE | FLHTCUSE5 BLK |
| 39 | 35244-06 | SCREW, detent | FLHTCUSE5 BLK |
| 40 | 35249-06 | LOCK PLATE, shift cam | FLHTCUSE5 BLK |
| 35246-10 | GEAR PACK, FORKS & DRUM SUBASSEMBLY, w/ 12, 13, 14, 15, 16, 33, 34, 35, 36, 37, 38, 39, 40, 41, 7340, 35260-06, input shaft, countershaft & gears (black) | FLHTCUSE5 BLK | |
| 41 | 35259-06 | SCREW, shift drum support (2) | FLHTCUSE5 BLK |
| 42 | 37101-84B | OIL SEAL | FLHTCUSE5 BLK |
| 43 | 50784-97 | SPACER TUBE (2) | FLHTCUSE5 BLK |
| Index No. | Part No. | Description | Model(s) |
| 1 | 221 | PIN (2) | FLHTCUSE5, FLHTCUSE5 BLK |
| 2 | 3249 | SCREW (6) | FLHTCUSE5, FLHTCUSE5 BLK |
| 3 | 3300 | SCREW (2) | FLHTCUSE5, FLHTCUSE5 BLK |
| 4 | 4718A | SCREW (4) | FLHTCUSE5, FLHTCUSE5 BLK |
| 5 | 4741A | SCREW (2) | FLHTCUSE5, FLHTCUSE5 BLK |
| 6 | 7340 | NUT, mainshaft & countershaft (2) | FLHTCUSE5, FLHTCUSE5 BLK |
| 7 | 8963 | BEARING, needle | FLHTCUSE5, FLHTCUSE5 BLK |
| 8 | 8967 | BEARING | FLHTCUSE5, FLHTCUSE5 BLK |
| 9 | 8970 | BEARING (2) | FLHTCUSE5, FLHTCUSE5 BLK |
| 10 | 9701 | BUSHING | FLHTCUSE5, FLHTCUSE5 BLK |
| 11 | 11132A | O-RING, dipstick | FLHTCUSE5, FLHTCUSE5 BLK |
| 12 | 11161 | RETAINING RING | FLHTCUSE5, FLHTCUSE5 BLK |
| 13 | 11348 | O-RING | FLHTCUSE5, FLHTCUSE5 BLK |
| 14 | 12074 | SEAL | FLHTCUSE5, FLHTCUSE5 BLK |
| 15 | 16583-00A | BUSHING, dowel (2) | FLHTCUSE5, FLHTCUSE5 BLK |
| 33166-10 | TRANSMISSION REPLACEMENT, w/o cable, covers & sensors (chrome & black) | FLHTCUSE5 BLK | |
| 33203-10 | TRANSMISSION REPLACEMENT, w/o cable, covers & sensors (chrome & granite) | FLHTCUSE5 | |
| 16 | 35082-07 | SCREW, centering, shifter lever | FLHTCUSE5, FLHTCUSE5 BLK |
| 17 | 35087-99A | RETAINING RING (2) | FLHTCUSE5, FLHTCUSE5 BLK |
| 18 | 35186-06 | SLEEVE | FLHTCUSE5, FLHTCUSE5 BLK |
| 19 | 35256-08 | BEARING HOUSING ASSEMBLY, w/ 221, 8970, 16583-00A & 35087-99A (granite) | FLHTCUSE5 |
| 35260-06 | BEARING HOUSING ASSEMBLY, w/ 221, 8970, 16583-00A & 35087-99A (black) | FLHTCUSE5 BLK | |
| 20 | 35607-06 | GASKET | FLHTCUSE5, FLHTCUSE5 BLK |
| 21 | 35654-06 | GASKET, bearing housing | FLHTCUSE5, FLHTCUSE5 BLK |
| 22 | 36805-06 | GASKET, cover | FLHTCUSE5, FLHTCUSE5 BLK |
| 23 | 36822-04 | SLAVE CYLINDER KIT | FLHTCUSE5, FLHTCUSE5 BLK |
| 24 | 37065-06 | DIPSTICK (chrome) | FLHTCUSE5, FLHTCUSE5 BLK |
| 25 | 37101-84B | OIL SEAL | FLHTCUSE5, FLHTCUSE5 BLK |
| 26 | 37137-07 | SIDE COVER, transmission (chrome) includes bleed screw, spring and 36822-04 | FLHTCUSE5, FLHTCUSE5 BLK |
| 27 | 43817-02 | CAP, bleeder screw | FLHTCUSE5, FLHTCUSE5 BLK |
| 28 | 44613-02 | BLEEDER SCREW | FLHTCUSE5, FLHTCUSE5 BLK |
| Index No. | Part No. | Description | Model(s) |
| 1 | 3699D | SCREW (2) | FLHTCUSE5, FLHTCUSE5 BLK |
| 2 | 3983 | SCREW (2) | FLHTCUSE5, FLHTCUSE5 BLK |
| 3 | 4705 | SCREW | FLHTCUSE5, FLHTCUSE5 BLK |
| 4 | 4741A | SCREW (18) | FLHTCUSE5, FLHTCUSE5 BLK |
| 5 | 7792 | NUT | FLHTCUSE5, FLHTCUSE5 BLK |
| 6 | 11105 | O-RING (2) | FLHTCUSE5, FLHTCUSE5 BLK |
| 7 | 11120 | O-RING | FLHTCUSE5, FLHTCUSE5 BLK |
| 8 | 11289A | O-RING | FLHTCUSE5, FLHTCUSE5 BLK |
| 9 | 16574-99A | DOWEL PIN (2) | FLHTCUSE5, FLHTCUSE5 BLK |
| 10 | 26077-99A | GASKET, oil pan | FLHTCUSE5, FLHTCUSE5 BLK |
| 11 | 26166-08A | OIL PAN ASSEMBLY, w/ 45893-99 & 60328-98B (granite) | FLHTCUSE5 |
| 62489-99A | OIL PAN ASSEMBLY, w/ 45893-99 & 60328-98B (black) | FLHTCUSE5 BLK | |
| 12 | 33166-10 | TRANSMISSION REPLACEMENT, w/o cable, covers & sensors (chrome & black) | FLHTCUSE5 BLK |
| 33203-10 | TRANSMISSION REPLACEMENT, w/o cable, covers & sensors (chrome & granite) | FLHTCUSE5 | |
| 13 | 33926-06B | SWITCH, neutral indicator, w/ o-ring | FLHTCUSE5, FLHTCUSE5 BLK |
| 14 | 34469-06B | TRANSMISSION COVER, top (chrome) | FLHTCUSE5, FLHTCUSE5 BLK |
| 15 | 34719-07B | TRANSMISSION CASE SUBASSEMBLY, w/ 3594, 8963, 8967, 9701, 11161, 12074, 16574-99A, 35082-07, 35122-06, 35186-06, 35241-06, 35242-06, 37101-84B, 40659-06 & 66290-06 (black) | FLHTCUSE5 BLK |
| 34853-08 | TRANSMISSION CASE SUBASSEMBLY, w/ 3594, 8963, 8967, 9701, 11161, 12074, 16574-99A, 35082-07, 35122-06, 35186-06, 35241-06, 35242-06, 37101-84B, 40659-06 & 66290-06 (granite) | FLHTCUSE5 | |
| 16 | 34917-06 | GASKET, upper cover | FLHTCUSE5, FLHTCUSE5 BLK |
| 17 | 45893-99 | PIPE PLUG | FLHTCUSE5, FLHTCUSE5 BLK |
| 18 | 60328-98B | PLUG, magnetic w/ 11105 (2) | FLHTCUSE5, FLHTCUSE5 BLK |
| 19 | 62372-09 | VENT HOSE, transmission | FLHTCUSE5, FLHTCUSE5 BLK |
| 20 | 62693-07A | DIPSTICK ASSEMBLY, w/ 11120 (chrome) | FLHTCUSE5, FLHTCUSE5 BLK |
| 21 | 66290-06 | STUD, ground | FLHTCUSE5, FLHTCUSE5 BLK |
| 22 | 74402-05A | SPEED SENSOR, w/ 11289A | FLHTCUSE5, FLHTCUSE5 BLK |
| Index No. | Part No. | Description | Model(s) |
| 1 | 5837A | SPACER | FLHTCUSE5, FLHTCUSE5 BLK |
| 2 | 7340 | NUT (2) | FLHTCUSE5, FLHTCUSE5 BLK |
| 3 | 8026K | BEARING, needle (4) | FLHTCUSE5, FLHTCUSE5 BLK |
| 4 | 8041 | BEARING, needle | FLHTCUSE5, FLHTCUSE5 BLK |
| 5 | 8042 | BEARING, needle (2) | FLHTCUSE5, FLHTCUSE5 BLK |
| 6 | 10991A | RETAINING RING (2) | FLHTCUSE5, FLHTCUSE5 BLK |
| 7 | 11061A | RETAINING RING | FLHTCUSE5, FLHTCUSE5 BLK |
| 8 | 11081A | RING, lock (3) | FLHTCUSE5, FLHTCUSE5 BLK |
| 9 | 11082 | SECURING SEGMENT (6) | FLHTCUSE5, FLHTCUSE5 BLK |
| 10 | 11201 | O-RING | FLHTCUSE5, FLHTCUSE5 BLK |
| 11 | 11207 | WASHER, internal spline | FLHTCUSE5, FLHTCUSE5 BLK |
| 12 | 11599 | SPACER, bearing | FLHTCUSE5, FLHTCUSE5 BLK |
| 13 | 12077 | OIL SEAL | FLHTCUSE5, FLHTCUSE5 BLK |
| 14 | 34091-08 | BEARING, inner race | FLHTCUSE5, FLHTCUSE5 BLK |
| 15 | 35122-06 | GEAR ASSEMBLY, driven output, w/ 8042, 10991A, 11201, 11599 & 12077 | FLHTCUSE5, FLHTCUSE5 BLK |
| 16 | 35124-06 | GUIDE HUB, dog ring | FLHTCUSE5, FLHTCUSE5 BLK |
| 17 | 35126-06 | DOG RING, lugged (2) | FLHTCUSE5, FLHTCUSE5 BLK |
| 18 | 35201-10 | GUIDE HUB, dog ring | FLHTCUSE5, FLHTCUSE5 BLK |
| 19 | 35202-06 | GUIDE HUB, dog ring | FLHTCUSE5, FLHTCUSE5 BLK |
| 20 | 35204-06 | DOG RING, pocketed | FLHTCUSE5, FLHTCUSE5 BLK |
| 35246-10 | GEAR PACK, FORKS & DRUM SUBASSEMBLY, w/ 1, 2, 3, 4, 7, 8, 9, 11, 16, 17, 18, 19, 20, 21, 22, 23, 24, 25, 26, 27, 35260-06, shifter cam & forks (black) | FLHTCUSE5 BLK | |
| 35255-10 | GEAR PACK, FORKS & DRUM SUBASSEMBLY, w/ 1, 2, 3, 4, 7, 8, 9, 11, 16, 17, 18, 19, 20, 21, 22, 23, 24, 25, 26, 27, 35256-08, shifter cam & forks (granite) | FLHTCUSE5 | |
| 21 | 35467-06B | INPUT SHAFT KIT, w/ 11061A, 34091-08 & 35201-10 | FLHTCUSE5, FLHTCUSE5 BLK |
| 22 | 35470-10 | COUNTER SHAFT ASSEMBLY | FLHTCUSE5, FLHTCUSE5 BLK |
| 23 | 35801-10 | GEAR, fifth input | FLHTCUSE5, FLHTCUSE5 BLK |
| 24 | 35805-06A | GEAR, countershaft-first | FLHTCUSE5, FLHTCUSE5 BLK |
| 25 | 35807-06 | GEAR, countershaft-second | FLHTCUSE5, FLHTCUSE5 BLK |
| 26 | 35811-06 | GEAR, countershaft-third | FLHTCUSE5, FLHTCUSE5 BLK |
| 27 | 35814-06 | GEAR, countershaft-fourth | FLHTCUSE5, FLHTCUSE5 BLK |
| Index No. | Part No. | Description | Model(s) |
| 1 | 2980 | SCREW (6) | FLHTCUSE5, FLHTCUSE5 BLK |
| 2 | 8885 | BEARING | FLHTCUSE5, FLHTCUSE5 BLK |
| 3 | 11143 | RING, retaining, external | FLHTCUSE5, FLHTCUSE5 BLK |
| 4 | 36731-91 | RELEASE PLATE ASSEMBLY, w/ 8885 | FLHTCUSE5, FLHTCUSE5 BLK |
| 5 | 36819-07 | PUSH ROD, hydraulic-clutch | FLHTCUSE5, FLHTCUSE5 BLK |
| 6 | 37496-90A | NUT, mainshaft | FLHTCUSE5, FLHTCUSE5 BLK |
| 7 | 37554-06A | HUB ASSEMBLY, clutch, w/ thrust washer & spring washer | FLHTCUSE5, FLHTCUSE5 BLK |
| 8 | 37807-03 | SPRING, clutch (pink) | FLHTCUSE5, FLHTCUSE5 BLK |
| 9 | 37817-07 | CLUTCH ASSEMBLY, complete (includes all parts except 11143 & 36819-07) | FLHTCUSE5, FLHTCUSE5 BLK |
| 10 | 37872-00 | SEAT, clutch spring | FLHTCUSE5, FLHTCUSE5 BLK |
| 11 | 37883-98 | SEAT, damper-spring | FLHTCUSE5, FLHTCUSE5 BLK |
| 12 | 37884-98 | SPRING, damper | FLHTCUSE5, FLHTCUSE5 BLK |
| 13 | 37904-90 | RING, retaining, external | FLHTCUSE5, FLHTCUSE5 BLK |
| 14 | 37905-00 | RING, retaining, internal | FLHTCUSE5, FLHTCUSE5 BLK |
| 15 | 37906-90 | BEARING, ball, double-row | FLHTCUSE5, FLHTCUSE5 BLK |
| 16 | 37909-90 | RING, retaining, internal | FLHTCUSE5, FLHTCUSE5 BLK |
| 17 | 37912-00 | PRESSURE PLATE, clutch | FLHTCUSE5, FLHTCUSE5 BLK |
| 18 | 37913-98 | PLATE, clutch (steel) (8) | FLHTCUSE5, FLHTCUSE5 BLK |
| 19 | 37932-98 | FRICTION PLATE KIT, clutch (includes all 9 friction plates) | FLHTCUSE5, FLHTCUSE5 BLK |
| Index No. | Part No. | Description | Model(s) |
| 1 | 786A | BOLT (5) | FLHTCUSE5, FLHTCUSE5 BLK |
| 2 | 791A | SCREW (2) | FLHTCUSE5, FLHTCUSE5 BLK |
| 3 | 1062 | SCREW (5) | FLHTCUSE5, FLHTCUSE5 BLK |
| 4 | 1780 | SCREW (4) | FLHTCUSE5, FLHTCUSE5 BLK |
| 5 | 4813A | SCREW (9) | FLHTCUSE5, FLHTCUSE5 BLK |
| 6 | 9231 | BEARING | FLHTCUSE5, FLHTCUSE5 BLK |
| 7 | 11105 | O-RING | FLHTCUSE5, FLHTCUSE5 BLK |
| 8 | 12052A | SEAL (2) | FLHTCUSE5, FLHTCUSE5 BLK |
| 9 | 16583-00A | DOWEL BUSHING (2) | FLHTCUSE5, FLHTCUSE5 BLK |
| 10 | 17369-06 | GASKET SERVICE KIT (1K, 5K, 10K), w/ 11105 & seal clutch cover | FLHTCUSE5, FLHTCUSE5 BLK |
| 11 | 24754-75A | DOWEL BUSHING, starter (4) | FLHTCUSE5, FLHTCUSE5 BLK |
| 12 | 34901-07 | GASKET, primary cover | FLHTCUSE5, FLHTCUSE5 BLK |
| 13 | 34948-08 | GASKET, primary housing to case | FLHTCUSE5, FLHTCUSE5 BLK |
| 14 | 39929-06B | CHAIN TENSIONER ASSEMBLY | FLHTCUSE5, FLHTCUSE5 BLK |
| 15 | 42642-00 | BUSHING (2) | FLHTCUSE5, FLHTCUSE5 BLK |
| 16 | 60328-98B | PLUG, magnetic drain w/ 11105 | FLHTCUSE5, FLHTCUSE5 BLK |
| 17 | 60432-07A | INNER PRIMARY HOUSING, w/ 9231, 12052A, 16583-00A, 42642-00, 60328-98B & 60678-85 (black) | FLHTCUSE5 BLK |
| 60850-08A | INNER PRIMARY HOUSING, w/ 9231, 12052A, 16583-00A, 42642-00, 60328-98B & 60678-85 (granite) | FLHTCUSE5 | |
| 18 | 60553-07 | COVER, primary (chrome) | FLHTCUSE5, FLHTCUSE5 BLK |
| 19 | 60678-85 | RETAINING RING | FLHTCUSE5, FLHTCUSE5 BLK |
| 20 | 60766-06 | COVER, clutch (chrome) | FLHTCUSE5, FLHTCUSE5 BLK |
| 20A | 25700226 | GASKET KIT, inner primary, w/ 1, 7, 8, 10, 13, 11150, 27444-00Y, 37909-90 | FLHTCUSE5, FLHTCUSE5 BLK |
| INTERNATIONAL MODELS ONLY | |||
| 21 | 791A | SCREW (Japan only) | FLHTCUSE5, FLHTCUSE5 BLK |
| 22 | 60818-07 | SLEEVE, dampener (Japan only) | FLHTCUSE5, FLHTCUSE5 BLK |
| Index No. | Part No. | Description | Model(s) |
| 1 | 3368 | SCREW | FLHTCUSE5, FLHTCUSE5 BLK |
| 2 | 3594 | SCREW (2) | FLHTCUSE5, FLHTCUSE5 BLK |
| 3 | 3892 | SCREW (3) | FLHTCUSE5, FLHTCUSE5 BLK |
| 4 | 6557 | WASHER, thrust | FLHTCUSE5, FLHTCUSE5 BLK |
| 5 | 9276 | BALL BEARING (2) | FLHTCUSE5, FLHTCUSE5 BLK |
| 6 | 11843 | SPACER, compensator | FLHTCUSE5, FLHTCUSE5 BLK |
| 7 | 35241-06 | NUT, sprocket | FLHTCUSE5, FLHTCUSE5 BLK |
| 8 | 35242-06 | LOCKPLATE | FLHTCUSE5, FLHTCUSE5 BLK |
| 9 | 37810-08A | RETAINER, sprocket | FLHTCUSE5, FLHTCUSE5 BLK |
| 10 | 40024-09 | REAR BELT, 140 T, 1 inch | FLHTCUSE5, FLHTCUSE5 BLK |
| 11 | 40037-07 | PRIMARY CHAIN | FLHTCUSE5, FLHTCUSE5 BLK |
| 12 | 40217-09 | SPROCKET & BEARING ASSEMBLY, rear, 68 T, w/ 9276 & 11843 (black) | FLHTCUSE5, FLHTCUSE5 BLK |
| 13 | 40278-09 | ISOLATOR, rubber | FLHTCUSE5, FLHTCUSE5 BLK |
| 14 | 40659-06 | SPROCKET, transmission, 32 T | FLHTCUSE5, FLHTCUSE5 BLK |
| 15 | 60386-09 | DEBRIS DEFLECTOR | FLHTCUSE5, FLHTCUSE5 BLK |
| 16 | 83935-09 | COMPENSATOR ASSEMBLY | FLHTCUSE5, FLHTCUSE5 BLK |
| 17 | 83936-09 | SPRING PACK | FLHTCUSE5, FLHTCUSE5 BLK |
| Index No. | Part No. | Description | Model(s) |
| 1 | 1001 | SCREW (2) | FLHTCUSE5 |
| 2 | 3089 | SCREW (polished stainless steel) (2) | FLHTCUSE5 |
| 3 | 4293 | SCREW (2) | FLHTCUSE5 |
| 4 | 6099 | WASHER (2) | FLHTCUSE5 |
| 5 | 6703 | WASHER (4) | FLHTCUSE5 |
| 6 | 7688 | NUT (2) | FLHTCUSE5 |
| 10039 | STRAP, cable (not illustrated) | FLHTCUSE5 | |
| 7 | 11143 | RING, retaining (Early Model Year) (See Note) | FLHTCUSE5 |
| 8 | 11348 | O-RING | FLHTCUSE5 |
| 9 | 38774-08 | LEVER ASSEMBLY, hand, w/ 11143 & 45423-92 (Early Model Year) (See Note) | FLHTCUSE5 |
| 10 | 38881-08A | LINE ASSEMBLY, hydraulic-clutch, w/ 11348 | FLHTCUSE5 |
| 11 | 38938-09 | RETAINER, clutch line, lower | FLHTCUSE5 |
| 12 | 38969-10 | RETAINER, clutch line, upper | FLHTCUSE5 |
| 13 | 41751-06A | GASKET, banjo-bolt (2) | FLHTCUSE5 |
| 14 | 42010-06A | BOLT, banjo | FLHTCUSE5 |
| 15 | 42101-09 | MASTER CYLINDER ASSEMBLY, clutch (chrome) (Early Model Year) (See Note) | FLHTCUSE5 |
| 16 | 42115-06 | MASTER CYLINDER COVER KIT, w/ 3089 & 46322-06 | FLHTCUSE5 |
| 17 | 42119-08 | HALF-CLAMP, master cylinder and clutch (chrome) | FLHTCUSE5 |
| 18 | 42145-06 | SIGHT GLASS KIT | FLHTCUSE5 |
| 19 | 45032-82 | PIN, pivot (Early Model Year) (See Note) | FLHTCUSE5 |
| 20 | 45423-92 | BUSHING, hand lever (Early Model Year) (See Note) | FLHTCUSE5 |
| 21 | 46244-01 | REPAIR KIT, master-cylinder, w/ 11143 (Early Model Year) (See Note) | FLHTCUSE5 |
| 22 | 46246-01 | BUSHING & ROLLER KIT (Early Model Year) (See Note) | FLHTCUSE5 |
| 23 | 46322-06 | GASKET, cover | FLHTCUSE5 |
| NOTE: Clutch control master cylinder components indicated as (Early Model Year) are used to service all FLHTCUSE5 motorcycles built prior to mid February, 2010. See CLUTCH CONTROL - FLHTCUSE5 (2 OF 2) for motorcycles built mid February, 2010 and later. Refer to service bulletin number M-1268 for further information. | |||
| Index No. | Part No. | Description | Model(s) |
| 1 | 1001 | SCREW (2) | FLHTCUSE5 |
| 2 | 3089 | SCREW (2) | FLHTCUSE5 |
| 3 | 4293 | SCREW (2) | FLHTCUSE5 |
| 4 | 6099 | WASHER (black) (2) | FLHTCUSE5 |
| 5 | 6703 | WASHER (4) | FLHTCUSE5 |
| 6 | 7688 | NUT (2) | FLHTCUSE5 |
| 10039 | STRAP, cable (not illustrated) | FLHTCUSE5 | |
| 7 | 11348 | O-RING | FLHTCUSE5 |
| 8 | 11694 | RING, retaining (Late Model Year) | FLHTCUSE5 |
| 9 | 38881-08A | LINE ASSEMBLY, hydraulic-clutch, w/ 11348 | FLHTCUSE5 |
| 10 | 38938-09 | RETAINER, clutch line, lower | FLHTCUSE5 |
| 11 | 38969-10 | RETAINER, clutch line, upper | FLHTCUSE5 |
| 12 | 41751-06A | GASKET, banjo-bolt (2) | FLHTCUSE5 |
| 13 | 42010-06A | BOLT, banjo | FLHTCUSE5 |
| 14 | 42101-10 | MASTER CYLINDER ASSEMBLY, clutch (chrome), w/ 3089, 11694, 42115-06, 42145-06, 45032-10 & 46322-06 (Late Model Year) | FLHTCUSE5 |
| 15 | 42115-06 | MASTER CYLINDER COVER KIT, w/ 3089 & 46322-06 | FLHTCUSE5 |
| 16 | 42119-08 | HALF-CLAMP, master cylinder and clutch (chrome) | FLHTCUSE5 |
| 17 | 42145-06 | SIGHT GLASS KIT | FLHTCUSE5 |
| 18 | 45032-10 | PIVOT PIN (polished) (Late Model Year) | FLHTCUSE5 |
| 19 | 45423-10 | BUSHING, hand lever (Late Model Year) | FLHTCUSE5 |
| 20 | 46115-10 | LEVER ASSEMBLY, hand, w/ 11694 & 45423-10 (chrome) (Late Model Year) | FLHTCUSE5 |
| 21 | 46322-06 | GASKET, cover | FLHTCUSE5 |
| NOTE: Clutch control master cylinder components indicated as (Late Model Year) are used to service all FLHTCUSE5 motorcycles built mid February, 2010 and later. See CLUTCH CONTROL - FLHTCUSE5 (1 OF 2) for motorcycles built prior to mid February, 2010. Refer to service bulletin number M-1268 for further information. | |||
| Index No. | Part No. | Description | Model(s) |
| 1 | 1001 | SCREW (2) | FLHTCUSE5 BLK |
| 2 | 2590 | SCREW (black) (2) | FLHTCUSE5 BLK |
| 3 | 4132 | SCREW (black) (2) | FLHTCUSE5 BLK |
| 4 | 5120 | PIVOT PIN (black) | FLHTCUSE5 BLK |
| 5 | 6101 | WASHER (black) (2) | FLHTCUSE5 BLK |
| 6 | 6703 | WASHER (4) | FLHTCUSE5 BLK |
| 7 | 7688 | NUT (2) | FLHTCUSE5 BLK |
| 10039 | STRAP, cable (not illustrated) | FLHTCUSE5 BLK | |
| 8 | 11348 | O-RING | FLHTCUSE5 BLK |
| 9 | 11694 | RING, retaining | FLHTCUSE5 BLK |
| 10 | 38938-09 | RETAINER, clutch line, lower | FLHTCUSE5 BLK |
| 11 | 38969-10 | RETAINER, clutch line, upper | FLHTCUSE5 BLK |
| 12 | 38970-10 | LINE ASSEMBLY, hydraulic-clutch, w/ 11348 | FLHTCUSE5 BLK |
| 13 | 38990-10 | MASTER CYLINDER ASSEMBLY, clutch (black), w/ 2590, 5120, 11694, 42145-06 & 46324-06 | FLHTCUSE5 BLK |
| 14 | 38997-10 | LEVER ASSEMBLY, hand, w/ 11694 & 45423-10 (black) | FLHTCUSE5 BLK |
| 15 | 41750-06B | BOLT, banjo (black) | FLHTCUSE5 BLK |
| 16 | 41751-06A | GASKET, banjo-bolt (2) | FLHTCUSE5 BLK |
| 17 | 42145-06 | SIGHT GLASS KIT | FLHTCUSE5 BLK |
| 18 | 45138-08A | HALF-CLAMP, master cylinder and clutch (black) | FLHTCUSE5 BLK |
| 19 | 45423-10 | BUSHING, hand lever | FLHTCUSE5 BLK |
| 20 | 46322-06 | GASKET, cover | FLHTCUSE5 BLK |
| 21 | 46324-06 | MASTER CYLINDER COVER KIT, w/ 46322-06 | FLHTCUSE5 BLK |
| Index No. | Part No. | Description | Model(s) |
| 1 | 4132 | SCREW (black) (2) | FLHTCUSE5 BLK |
| 4293 | SCREW (2) | FLHTCUSE5 | |
| 2 | 6099 | WASHER (2) | FLHTCUSE5 |
| 6101 | WASHER (black) (2) | FLHTCUSE5 BLK | |
| 3 | 41751-06A | GASKET (2) | FLHTCUSE5, FLHTCUSE5 BLK |
| 4 | 41750-06B | BOLT, BANJO, brakeline | FLHTCUSE5 BLK |
| 42010-06A | BOLT, BANJO, brakeline | FLHTCUSE5 | |
| 5 | 42102-08B | MASTER CYLINDER ASSEMBLY, front-dual (chrome), w/ 10, 11, 12, 13, 14 & 15 | FLHTCUSE5 |
| 44985-10 | MASTER CYLINDER ASSEMBLY, front-dual (black), w/ 6, 8, 9, 10, 11, 12, 13, 14 & 15 | FLHTCUSE5 BLK | |
| 6 | 42105-06A | PIVOT PIN, w/ retaining ring | FLHTCUSE5, FLHTCUSE5 BLK |
| 7 | 42119-08 | HALF-CLAMP, master cylinder and clutch (chrome) | FLHTCUSE5 |
| 45138-08A | HALF-CLAMP, master cylinder and clutch (black) | FLHTCUSE5 BLK | |
| 8 | 42123-08 | COVER KIT, master cylinder (chrome), w/ 42856-06, 42857-06A & 42882-06 | FLHTCUSE5 |
| 42855-06B | COVER KIT, master cylinder (black), w/ 42856-06, 42857-06A & 42858-06A | FLHTCUSE5 BLK | |
| 9 | 42271-06A | BRAKE LEVER ASSEMBLY, front, w/ 42105-06A | FLHTCUSE5 |
| 42276-06A | BRAKE LEVER ASSEMBLY, front, w/ 42105-06A (black) | FLHTCUSE5 BLK | |
| 10 | 42854-06 | KIT, SIGHT GLASS, reservoir | FLHTCUSE5, FLHTCUSE5 BLK |
| 11 | 42856-06 | DECAL, reservoir cover | FLHTCUSE5, FLHTCUSE5 BLK |
| 12 | 42857-06A | GASKET, reservoir cover | FLHTCUSE5, FLHTCUSE5 BLK |
| 13 | 42861-06B | PUSHROD, master cylinder | FLHTCUSE5, FLHTCUSE5 BLK |
| 14 | 42862-06B | PISTON SERVICE KIT, master cylinder | FLHTCUSE5, FLHTCUSE5 BLK |
| 15 | 42882-06 | SCREW (2) | FLHTCUSE5 |
| 42858-06A | SCREW KIT, cover | FLHTCUSE5 BLK |
| Index No. | Part No. | Description | Model(s) |
| 1 | 515 | COTTER PIN | FLHTCUSE5, FLHTCUSE5 BLK |
| 2 | 2479 | SCREW (2) | FLHTCUSE5, FLHTCUSE5 BLK |
| 3 | 3563 | SCREW | FLHTCUSE5, FLHTCUSE5 BLK |
| 4 | 4808 | SCREW | FLHTCUSE5, FLHTCUSE5 BLK |
| 5 | 6220W | WASHER | FLHTCUSE5, FLHTCUSE5 BLK |
| 6 | 6334 | WASHER | FLHTCUSE5, FLHTCUSE5 BLK |
| 7 | 6421 | WASHER, offset | FLHTCUSE5, FLHTCUSE5 BLK |
| 8 | 7825 | LOCKNUT | FLHTCUSE5, FLHTCUSE5 BLK |
| 9 | 9907 | WIRE TERMINAL | FLHTCUSE5, FLHTCUSE5 BLK |
| 10 | 10340A | CLIP, brake hose (2) | FLHTCUSE5, FLHTCUSE5 BLK |
| 11 | 11902 | GASKET, master cylinder reservoir cover | FLHTCUSE5, FLHTCUSE5 BLK |
| 12 | 11364 | O-RING (2) | FLHTCUSE5, FLHTCUSE5 BLK |
| 13 | 12102 | DUST BOOT | FLHTCUSE5, FLHTCUSE5 BLK |
| 14 | 40611-09 | BRAKELINE, right-rear, master cylinder to ABS module | FLHTCUSE5, FLHTCUSE5 BLK |
| 15 | 41750-06B | BOLT, BANJO, brakeline (2) | FLHTCUSE5, FLHTCUSE5 BLK |
| 16 | 41751-06A | GASKET (4) | FLHTCUSE5, FLHTCUSE5 BLK |
| 17 | 42460-80B | CLEVIS PIN | FLHTCUSE5, FLHTCUSE5 BLK |
| 18 | 42638-08A | LEVER ASSEMBLY, foot-brake, w/ 515, 6334, 7825, 11364, 42644-00, 57217-02 & brake lever | FLHTCUSE5 |
| 38131-10 | LEVER ASSEMBLY, foot-brake, w/ 515, 6334, 7825, 11364, 42644-00, 57217-02 & brake lever | FLHTCUSE5 BLK | |
| 19 | 42644-00 | BEARING, .25 x .177 (2) | FLHTCUSE5, FLHTCUSE5 BLK |
| 20 | 42684-09 | PAD, brake pedal | FLHTCUSE5, FLHTCUSE5 BLK |
| 21 | 42733-09 | COVER, brake pedal | FLHTCUSE5 |
| 48950-10 | COVER, brake pedal (black) | FLHTCUSE5 BLK | |
| 22 | 42854-06 | KIT, SIGHT GLASS | FLHTCUSE5, FLHTCUSE5 BLK |
| 23 | 42856-06 | DECAL, reservoir cover | FLHTCUSE5 |
| 24 | 42882-06 | SCREW (2) | FLHTCUSE5 |
| 42858-06A | SCREW KIT, cover | FLHTCUSE5 BLK | |
| 25 | 42889-06 | PUSHROD SPRING E-CLIP KIT, master cylinder | FLHTCUSE5, FLHTCUSE5 BLK |
| 26 | 42932-08 | REBUILD KIT, master cylinder | FLHTCUSE5, FLHTCUSE5 BLK |
| 27 | 42933-08A | PUSHROD KIT, master cylinder | FLHTCUSE5, FLHTCUSE5 BLK |
| 28 | 42934-08 | SPRING, pedal return | FLHTCUSE5, FLHTCUSE5 BLK |
| 29 | 46459-08A | MASTER CYLINDER ASSEMBLY, w/ 11, 13, 22, 23, 24, 25, 26, 27, 28 & 30 (chrome) | FLHTCUSE5 |
| 41763-08B | MASTER CYLINDER ASSEMBLY, w/ 11, 13, 22, 24, 25, 26, 27, 28 & 30 (black) | FLHTCUSE5 BLK | |
| 30 | 46463-08 | MASTER CYLINDER COVER KIT, rear, DOT4, w/ 11902, 42856-06 & 42882-06 (chrome) | FLHTCUSE5 |
| 42937-08B | MASTER CYLINDER COVER KIT, rear, DOT4, w/ 11902 & 42858-06A (black) | FLHTCUSE5 BLK | |
| 31 | 57217-02 | BUSHING, brake lever (2) | FLHTCUSE5, FLHTCUSE5 BLK |
| 32 | 72023-51D | KIT SWITCH, rear brakelite, w/ 9907 | FLHTCUSE5, FLHTCUSE5 BLK |
| Index No. | Part No. | Description | Model(s) |
| 1 | 3331 | SCREW | FLHTCUSE5, FLHTCUSE5 BLK |
| 2 | 3643 | SCREW | FLHTCUSE5, FLHTCUSE5 BLK |
| 3 | 4890 | BLEEDER SCREW KIT | FLHTCUSE5 BLK |
| 4 | 5464 | BOLT, BANJO, bleeder assembly, w/ 42853-06 (2) | FLHTCUSE5 |
| 5 | 10860A | CLIP, brakeline | FLHTCUSE5, FLHTCUSE5 BLK |
| 6 | 38937-09 | BRAKELINE, front, upper, ABS | FLHTCUSE5 |
| 48999-10 | BRAKELINE, front, upper, ABS (black) | FLHTCUSE5 BLK | |
| 7 | 41750-06B | BOLT, BANJO, brakeline (2) | FLHTCUSE5, FLHTCUSE5 BLK |
| 8 | 41751-06A | GASKET (10) | FLHTCUSE5, FLHTCUSE5 BLK |
| 9 | 41783-08 | BOLT, BANJO, bleeder assembly, w/ 4890 (2) | FLHTCUSE5 BLK |
| 10 | 42010-06A | BOLT, BANJO, brakeline | FLHTCUSE5 |
| 41750-06B | BOLT, BANJO, brakeline | FLHTCUSE5 BLK | |
| 11 | 42388-09 | BRAKELINE, front, lower, ABS | FLHTCUSE5 |
| 48998-10 | BRAKELINE, front, lower, ABS (black) | FLHTCUSE5 BLK | |
| 12 | 42853-06 | CAP, bleeder screw (2) | FLHTCUSE5, FLHTCUSE5 BLK |
| 13 | 70631-08 | CLIP, conduit (3) | FLHTCUSE5, FLHTCUSE5 BLK |
| Index No. | Part No. | Description | Model(s) |
| 1 | 1095M | SCREW (3) | FLHTCUSE5, FLHTCUSE5 BLK |
| 2 | 2228 | SCREW (4) | FLHTCUSE5, FLHTCUSE5 BLK |
| 3 | 11904 | GASKET, ABS module | FLHTCUSE5, FLHTCUSE5 BLK |
| 4 | 40603-08 | GROMMET (3) | FLHTCUSE5, FLHTCUSE5 BLK |
| 5 | 40610-09 | BRAKELINE, ABS module to caliper | FLHTCUSE5, FLHTCUSE5 BLK |
| 6 | 40611-09 | BRAKELINE, ABS module to master cylinder | FLHTCUSE5, FLHTCUSE5 BLK |
| 7 | 40628-08 | BUSHING, ABS (6) | FLHTCUSE5, FLHTCUSE5 BLK |
| 8 | 40649-08 | CONTROLLER, electronic, ABS unit, w/ 11904 | FLHTCUSE5, FLHTCUSE5 BLK |
| 9 | 41750-06B | BOLT, BANJO, brakeline (2) | FLHTCUSE5, FLHTCUSE5 BLK |
| 10 | 41751-06A | GASKET (4) | FLHTCUSE5, FLHTCUSE5 BLK |
| 11 | 48343-09 | MODULATOR ASSEMBLY, hydraulic, ABS unit | FLHTCUSE5, FLHTCUSE5 BLK |
| 12 | 70631-08 | CLIP, conduit | FLHTCUSE5, FLHTCUSE5 BLK |
| Index No. | Part No. | Description | Model(s) |
| 1 | 41854-08 | PAD & PIN KIT, w/ 42849-08 (2) | FLHTCUSE5, FLHTCUSE5 BLK |
| 2 | 42054-05 | COVER, caliper (chrome) (2) | FLHTCUSE5, FLHTCUSE5 BLK |
| 3 | 42849-08 | PAD PIN KIT (2) | FLHTCUSE5, FLHTCUSE5 BLK |
| 4 | 42852-06A | PAD SPRING, anti-rattle (2) | FLHTCUSE5, FLHTCUSE5 BLK |
| 5 | 42938-08 | CALIPER ASSEMBLY, left (silver) | FLHTCUSE5 |
| 42939-08 | CALIPER ASSEMBLY, right (silver) | FLHTCUSE5 | |
| 46368-10 | CALIPER ASSEMBLY, left (black) | FLHTCUSE5 BLK | |
| 46369-10 | CALIPER ASSEMBLY, right (black) | FLHTCUSE5 BLK | |
| 6 | 44160-00 | BOLT, caliper mounting (4) | FLHTCUSE5, FLHTCUSE5 BLK |
| 7 | 44935-06 | MEDALLION, brake caliper (2) | FLHTCUSE5, FLHTCUSE5 BLK |
| Index No. | Part No. | Description | Model(s) |
| 1 | 4597M | SCREW, rear caliper to reaction bracket (2) | FLHTCUSE5, FLHTCUSE5 BLK |
| 2 | 4890 | SCREW, bleeder | FLHTCUSE5, FLHTCUSE5 BLK |
| 3 | 41852-08A | PAD & PIN KIT, w/ 42551-08 | FLHTCUSE5, FLHTCUSE5 BLK |
| 4 | 42551-08 | PASTE KIT, brake pad | FLHTCUSE5, FLHTCUSE5 BLK |
| 5 | 42853-06 | CAP, bleeder screw | FLHTCUSE5, FLHTCUSE5 BLK |
| 6 | 42863-06 | BUMPER | FLHTCUSE5, FLHTCUSE5 BLK |
| 7 | 42865-06B | PAD PIN KIT | FLHTCUSE5, FLHTCUSE5 BLK |
| 8 | 42867-06A | SPRING KIT, anti-rattle | FLHTCUSE5, FLHTCUSE5 BLK |
| 9 | 44080-08B | CALIPER ASSEMBLY, rear, w/ 4890, 41852-08A, 42853-06, 42865-06B & 42867-06A (black) | FLHTCUSE5, FLHTCUSE5 BLK |
| 10 | 44089-08 | BRACKET, reaction, rear brake, w/ 42863-06 | FLHTCUSE5, FLHTCUSE5 BLK |
| Index No. | Part No. | Description | Model(s) |
| 1 | 3267 | SCREW, set (2) | FLHTCUSE5, FLHTCUSE5 BLK |
| 2 | 3655A | SCREW (used w/ 44942-08) (10) | FLHTCUSE5, FLHTCUSE5 BLK |
| 3 | 6594 | WASHER | FLHTCUSE5, FLHTCUSE5 BLK |
| 4 | 7813A | NUT | FLHTCUSE5, FLHTCUSE5 BLK |
| 5 | 9252 | BALL BEARING, w/ encoder, ABS | FLHTCUSE5, FLHTCUSE5 BLK |
| 6 | 9276 | BALL BEARING | FLHTCUSE5, FLHTCUSE5 BLK |
| 7 | 10147 | CLIP, connector | FLHTCUSE5, FLHTCUSE5 BLK |
| 8 | 40614-08 | SENSOR, wheel speed, ABS, w/ 10147, 72607-08, 72608-08, 72609-08 & 72610-08 | FLHTCUSE5, FLHTCUSE5 BLK |
| 9 | 40786-08 | COVER, wheel speed sensor (chrome) | FLHTCUSE5 |
| 40984-10 | COVER, wheel speed sensor (black) | FLHTCUSE5 BLK | |
| 10 | 41148-98 | CAP, tire valve acorn, w/ bar & shield, set of 2 (chrome) | FLHTCUSE5, FLHTCUSE5 BLK |
| 11 | 41547-07A | AXLE | FLHTCUSE5, FLHTCUSE5 BLK |
| 12 | 41900-08 | SLEEVE, bearing spacer | FLHTCUSE5, FLHTCUSE5 BLK |
| 13 | 42171-09 | WHEEL KIT, Roulette, w/o bearings & sleeve (chrome) | FLHTCUSE5 |
| 55065-10 | WHEEL KIT, Roulette, w/o bearings & sleeve (contrast chrome) | FLHTCUSE5 BLK | |
| 14 | 43109-09A | TIRE, black wall | FLHTCUSE5, FLHTCUSE5 BLK |
| 15 | 43157-83A | STEM ASSEMBLY, tire valve, w/ 54321-85 & washer | FLHTCUSE5, FLHTCUSE5 BLK |
| 16 | 43475-08 | COVER KIT, axle nut left & right, w/ 3267 (chrome) (2) | FLHTCUSE5 |
| 42199-10 | COVER KIT, axle nut left & right, w/ 3267 (black) (2) | FLHTCUSE5 BLK | |
| 17 | 44583-08 | SPACER (chrome) | FLHTCUSE5 |
| 11937 | SPACER (black) | FLHTCUSE5 BLK | |
| 18 | 44942-08 | BRAKE DISC KIT, front, w/ 3655A (use 42942-08A) (2) | FLHTCUSE5 |
| 44942-08A | BRAKE DISC KIT, front, w/ screws (replaces 44942-08) (2) | FLHTCUSE5 | |
| 44973-10 | BRAKE DISC KIT, front, w/ screws (2) | FLHTCUSE5 BLK | |
| 19 | 54321-85 | NUT | FLHTCUSE5, FLHTCUSE5 BLK |
| 20 | 70494-08 | CLIP, wheel speed sensor, ABS | FLHTCUSE5, FLHTCUSE5 BLK |
| 21 | 70674-08 | BRACKET, wheel speed sensor, ABS (chrome) | FLHTCUSE5 |
| 70493-08 | BRACKET, wheel speed sensor, ABS (black) | FLHTCUSE5 BLK | |
| 22 | 72607-08 | HOUSING, 2 way pin | FLHTCUSE5, FLHTCUSE5 BLK |
| 23 | 72608-08 | TERMINAL PIN, 16-20 awg (2) | FLHTCUSE5, FLHTCUSE5 BLK |
| 24 | 72609-08 | LOCK, secondary, 2-way (black) | FLHTCUSE5, FLHTCUSE5 BLK |
| 25 | 72610-08 | SEAL, 18-20 awg (white) (2) | FLHTCUSE5, FLHTCUSE5 BLK |
| 26 | 95594-84A | WEIGHT, 5 grams, cast wheels (black) (6) | FLHTCUSE5 BLK |
| 95595-84A | WEIGHT, 5 grams, cast wheels (silver) (6) | FLHTCUSE5 |
| Index No. | Part No. | Description | Model(s) |
| 1 | 8020 | NUT, slotted | FLHTCUSE5, FLHTCUSE5 BLK |
| 2 | 9252 | BALL BEARING, w/ encoder, ABS | FLHTCUSE5, FLHTCUSE5 BLK |
| 3 | 9276 | BALL BEARING (3) | FLHTCUSE5, FLHTCUSE5 BLK |
| 4 | 10147 | CLIP, connector | FLHTCUSE5, FLHTCUSE5 BLK |
| 5 | 11843 | SPACER, compensator | FLHTCUSE5, FLHTCUSE5 BLK |
| 6 | 11848 | SPACER | FLHTCUSE5, FLHTCUSE5 BLK |
| 7 | 40217-09 | SPROCKET & BEARING ASSEMBLY, rear, 68 T, w/ 9276 & 11843 (black) | FLHTCUSE5, FLHTCUSE5 BLK |
| 8 | 40278-09 | ISOLATOR, rubber | FLHTCUSE5, FLHTCUSE5 BLK |
| 9 | 40615-08 | SENSOR, wheel speed, ABS, w/ 10147, 72607-08, 72608-08, 72609-08 & 72610-08 | FLHTCUSE5, FLHTCUSE5 BLK |
| 10 | 41056-09 | REAR AXLE | FLHTCUSE5, FLHTCUSE5 BLK |
| 11 | 41139-02 | SPRING CLIP | FLHTCUSE5, FLHTCUSE5 BLK |
| 12 | 41148-98 | CAP, tire valve acorn, w/ bar & shield, set of 2 (chrome) | FLHTCUSE5, FLHTCUSE5 BLK |
| 13 | 41349-07 | SLEEVE, bearing spacer | FLHTCUSE5, FLHTCUSE5 BLK |
| 14 | 41810-08A | BRAKE DISC | FLHTCUSE5, FLHTCUSE5 BLK |
| 15 | 41819-02 | AXLE CAM | FLHTCUSE5, FLHTCUSE5 BLK |
| 16 | 42170-09 | WHEEL KIT, Roulette, w/o bearings & sleeve (chrome) | FLHTCUSE5 |
| 55064-10 | WHEEL KIT, Roulette, w/o bearings & sleeve (contrast chrome) | FLHTCUSE5 BLK | |
| 17 | 43157-83A | VALVE STEM, cast wheels, w/ 54321-85 & washer | FLHTCUSE5, FLHTCUSE5 BLK |
| 18 | 43329-09 | TIRE, 16 inch black wall | FLHTCUSE5, FLHTCUSE5 BLK |
| 19 | 43567-92 | SCREW (5) | FLHTCUSE5, FLHTCUSE5 BLK |
| 20 | 54321-85 | NUT | FLHTCUSE5, FLHTCUSE5 BLK |
| 21 | 72607-08 | HOUSING, 2 way pin | FLHTCUSE5, FLHTCUSE5 BLK |
| 22 | 72608-08 | TERMINAL PIN, 16-20 awg (2) | FLHTCUSE5, FLHTCUSE5 BLK |
| 23 | 72609-08 | LOCK, secondary, 2-way (black) | FLHTCUSE5, FLHTCUSE5 BLK |
| 24 | 72610-08 | SEAL, 18-20 awg (white) (2) | FLHTCUSE5, FLHTCUSE5 BLK |
| 25 | 95594-84A | WEIGHT, 5 grams, cast wheels (black) (6) | FLHTCUSE5 BLK |
| 95595-84A | WEIGHT, 5 grams, cast wheels (silver) (6) | FLHTCUSE5 |
| Index No. | Part No. | Description | Model(s) |
| 1 | 608 | PIN, roll | FLHTCUSE5, FLHTCUSE5 BLK |
| 2 | 3331 | SCREW | FLHTCUSE5, FLHTCUSE5 BLK |
| 3 | 3537 | SCREW (4) | FLHTCUSE5, FLHTCUSE5 BLK |
| 4 | 2239 | SCREW (black) (2) | FLHTCUSE5 BLK |
| 3892 | SCREW (2) | FLHTCUSE5 | |
| 5 | 4240 | SCREW | FLHTCUSE5, FLHTCUSE5 BLK |
| 6 | 4855 | SCREW (2) | FLHTCUSE5, FLHTCUSE5 BLK |
| 7 | 6703 | WASHER (2) | FLHTCUSE5 |
| 12403 | WASHER (black) (2) | FLHTCUSE5 BLK | |
| 8 | 7039 | LOCKWASHER (2) | FLHTCUSE5, FLHTCUSE5 BLK |
| 9 | 10138 | TAB, electrical ground | FLHTCUSE5, FLHTCUSE5 BLK |
| 10 | 45435-10 | BRACKET, upper fork | FLHTCUSE5, FLHTCUSE5 BLK |
| 11 | 45442-86 | GUIDE BUSHING | FLHTCUSE5, FLHTCUSE5 BLK |
| 12 | 45446-09 | BRACKET ASSEMBLY, fork stem, w/ 48365-48A & bearing cone | FLHTCUSE5, FLHTCUSE5 BLK |
| 13 | 45718-60 | NUT, fork stem | FLHTCUSE5, FLHTCUSE5 BLK |
| 14 | 45780-03 | COVER, fork bracket (chrome) | FLHTCUSE5 |
| 49407-10 | COVER, fork bracket (black) | FLHTCUSE5 BLK | |
| 15 | 45727-08 | WASHER | FLHTCUSE5, FLHTCUSE5 BLK |
| 16 | 45591-02 | FORK SLIDER COVERS, pair (black) | FLHTCUSE5 BLK |
| 45963-97 | FORK SLIDER COVERS, pair | FLHTCUSE5 | |
| 17 | 48300-60 | BEARING KIT, roller, w/ 48315-60 (2) | FLHTCUSE5, FLHTCUSE5 BLK |
| 18 | 48315-60 | CUP, roller-bearing (2) | FLHTCUSE5, FLHTCUSE5 BLK |
| 19 | 48333-80 | ADJUSTER, bearing | FLHTCUSE5, FLHTCUSE5 BLK |
| 20 | 48361-80 | SHIELD, dust, upper bearing | FLHTCUSE5, FLHTCUSE5 BLK |
| 21 | 48365-48A | SHIELD, dust, lower bearing | FLHTCUSE5, FLHTCUSE5 BLK |
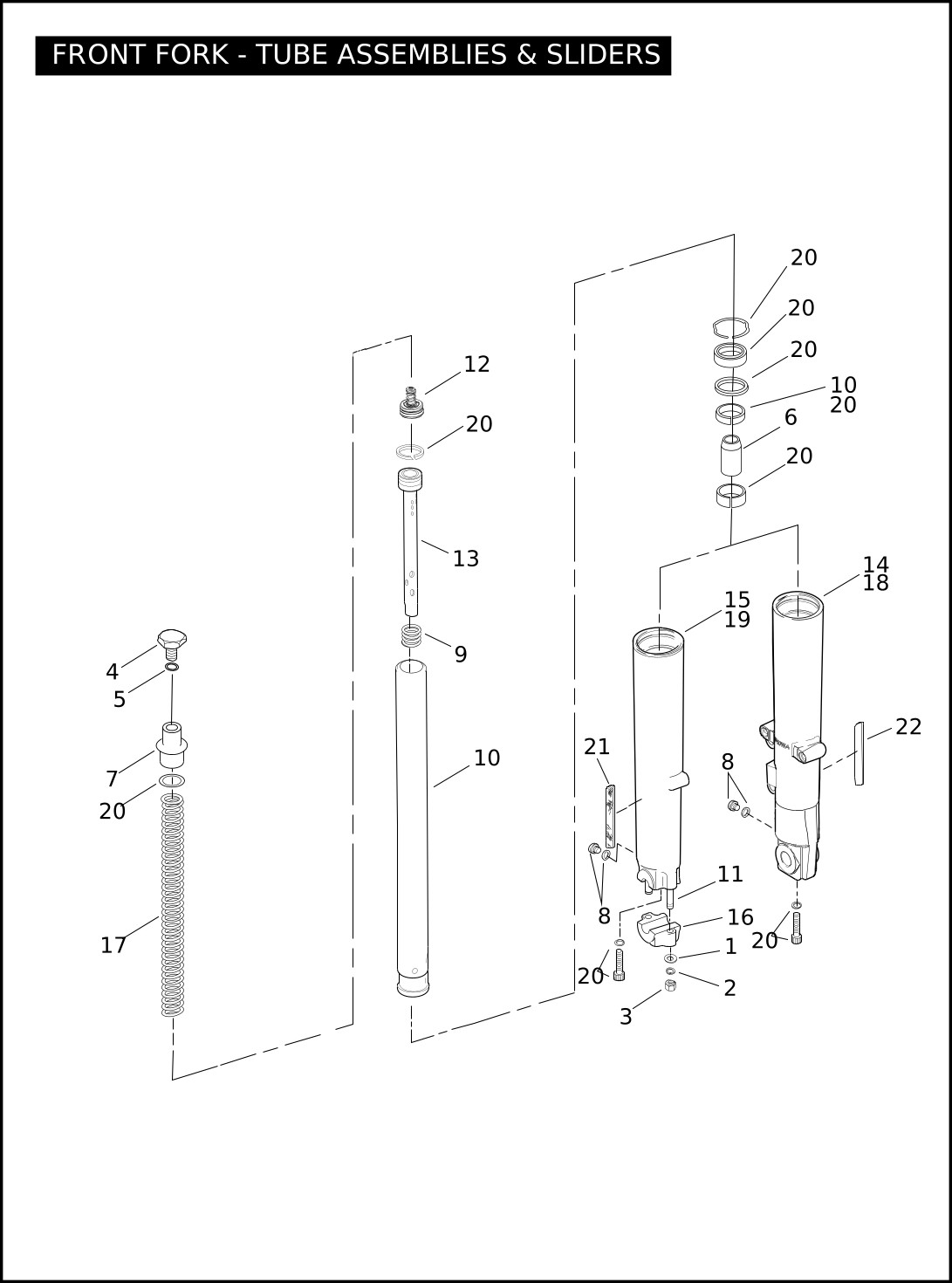
| Index No. | Part No. | Description | Model(s) |
| 1 | 6702 | WASHER (right-hand) (2) | FLHTCUSE5, FLHTCUSE5 BLK |
| 2 | 7041 | LOCKWASHER (right-hand) (2) | FLHTCUSE5, FLHTCUSE5 BLK |
| 3 | 7748W | NUT (right-hand) (2) | FLHTCUSE5, FLHTCUSE5 BLK |
| 4 | 45419-80 | BOLT, fork (2) | FLHTCUSE5, FLHTCUSE5 BLK |
| 5 | 45733-48 | OIL SEAL (2) | FLHTCUSE5, FLHTCUSE5 BLK |
| 6 | 45803-97 | STOP, oil lock piece (2) | FLHTCUSE5, FLHTCUSE5 BLK |
| 7 | 45838-77 | BOLT, front fork (2) | FLHTCUSE5, FLHTCUSE5 BLK |
| 8 | 45858-77 | SCREW, drain, w/ washer (2) | FLHTCUSE5, FLHTCUSE5 BLK |
| 9 | 45933-86 | REBOUND SPRING (2) | FLHTCUSE5, FLHTCUSE5 BLK |
| 10 | 45972-09 | STANCHION TUBE ASSEMBLY, w/ 45866-84 (2) | FLHTCUSE5, FLHTCUSE5 BLK |
| 11 | 45998-73 | STUD (right-hand) (2) | FLHTCUSE5, FLHTCUSE5 BLK |
| 12 | 46209-09 | DAMPING VALVE (2) | FLHTCUSE5, FLHTCUSE5 BLK |
| 13 | 46422-09 | DAMPER TUBE, w/ 45859-77A (2) | FLHTCUSE5, FLHTCUSE5 BLK |
| 14 | 46473-00B | SLIDER, fork (left-hand) (chrome) | FLHTCUSE5 |
| 46551-03 | SLIDER, fork (left-hand) (black) | FLHTCUSE5 BLK | |
| 15 | 46474-00C | SLIDER, fork (right-hand), w/ 45998-73 (chrome) | FLHTCUSE5 |
| 46552-03 | SLIDER, fork (right-hand), w/ 45998-73 (black) | FLHTCUSE5 BLK | |
| 16 | 46658-07 | HOLDER, axle (right-hand) (chrome) | FLHTCUSE5 |
| 46550-03 | HOLDER, axle (right-hand) (black) | FLHTCUSE5 BLK | |
| 17 | 48787-09 | SPRING (2) | FLHTCUSE5, FLHTCUSE5 BLK |
| 18 | 48789-09 | FORK ASSEMBLY, complete (left-hand) (chrome) | FLHTCUSE5 |
| 49414-10 | FORK ASSEMBLY, complete (left-hand) (black) | FLHTCUSE5 BLK | |
| 19 | 48790-09 | FORK ASSEMBLY, complete (right-hand) (chrome) | FLHTCUSE5 |
| 49413-10 | FORK ASSEMBLY, complete (right-hand) (black) | FLHTCUSE5 BLK | |
| 20 | 49377-09 | FORK REBUILD KIT | FLHTCUSE5, FLHTCUSE5 BLK |
| 21 | 59481-00 | REFLECTOR (right-hand) (amber) | FLHTCUSE5, FLHTCUSE5 BLK |
| 22 | 59482-00 | REFLECTOR (left-hand) (amber) | FLHTCUSE5, FLHTCUSE5 BLK |
| Index No. | Part No. | Description | Model(s) |
| 1 | 3607 | BOLT (4) | FLHTCUSE5, FLHTCUSE5 BLK |
| 2 | 6012 | WASHER (4) | FLHTCUSE5, FLHTCUSE5 BLK |
| 3 | 7068 | LOCKWASHER (4) | FLHTCUSE5, FLHTCUSE5 BLK |
| 4 | 54320-97 | FITTING, 5/32 in. push-in (2) | FLHTCUSE5, FLHTCUSE5 BLK |
| 5 | 54321-85 | NUT | FLHTCUSE5, FLHTCUSE5 BLK |
| 6 | 54323-85A | VALVE CAP | FLHTCUSE5, FLHTCUSE5 BLK |
| 7 | 54357-03 | UNION FITTING, 5/32 in. push-in | FLHTCUSE5, FLHTCUSE5 BLK |
| 8 | 54565-09 | REAR SHOCK ABSORBER, w/ 54320-97 (2) | FLHTCUSE5, FLHTCUSE5 BLK |
| 9 | 54536-09 | VALVE ASSEMBLY, w/ 54321-85, 54354-94A & 54357-03 | FLHTCUSE5, FLHTCUSE5 BLK |
| 90820-93D | LABEL, air suspension, inside saddlebag (not illustrated) (2) | FLHTCUSE5, FLHTCUSE5 BLK | |
| NOTE: Hose or insulator is sold in bulk length under the following part numbers. Cut to length. | |||
| 10 | 54354-94A | HOSE, 5/32 inch O.D. (25-foot length) (black) | FLHTCUSE5, FLHTCUSE5 BLK |
| Index No. | Part No. | Description | Model(s) |
| 1 | 1001 | SCREW (2) | FLHTCUSE5, FLHTCUSE5 BLK |
| 2 | 2708A | SCREW | FLHTCUSE5, FLHTCUSE5 BLK |
| 3 | 3787 | BOLT (4) | FLHTCUSE5, FLHTCUSE5 BLK |
| 4 | 3987 | BOLT | FLHTCUSE5, FLHTCUSE5 BLK |
| 5 | 4688 | SCREW (2) | FLHTCUSE5, FLHTCUSE5 BLK |
| 6 | 2238 | SCREW (black) (2) | FLHTCUSE5 BLK |
| 4924 | SCREW (2) | FLHTCUSE5 | |
| 7 | 6036 | WASHER (4) | FLHTCUSE5, FLHTCUSE5 BLK |
| 8 | 6116 | WASHER (2) | FLHTCUSE5, FLHTCUSE5 BLK |
| 9 | 6703 | WASHER (4) | FLHTCUSE5, FLHTCUSE5 BLK |
| 10 | 7041 | LOCKWASHER | FLHTCUSE5, FLHTCUSE5 BLK |
| 11 | 7495 | NUT (2) | FLHTCUSE5, FLHTCUSE5 BLK |
| 12 | 7688 | NUT (2) | FLHTCUSE5, FLHTCUSE5 BLK |
| 13 | 8108 | SPEEDNUT, push (2) | FLHTCUSE5, FLHTCUSE5 BLK |
| 14 | 8194 | NUT, special (2) | FLHTCUSE5, FLHTCUSE5 BLK |
| 15 | 8483A | RIVET, blind (2) | FLHTCUSE5, FLHTCUSE5 BLK |
| 16 | 10039 | CABLE STRAP (6) | FLHTCUSE5, FLHTCUSE5 BLK |
| 17 | 10336 | CLIP, conduit, rosebud mount | FLHTCUSE5, FLHTCUSE5 BLK |
| 18 | 10394 | CLIP, conduit, rosebud mount | FLHTCUSE5, FLHTCUSE5 BLK |
| 19 | 11663 | RIVNUT, flathead | FLHTCUSE5, FLHTCUSE5 BLK |
| 20 | 11650 | GROMMET, side cover (6) | FLHTCUSE5, FLHTCUSE5 BLK |
| 21 | 38938-09 | RETAINER, clutch line, lower | FLHTCUSE5, FLHTCUSE5 BLK |
| 22 | 38969-10 | RETAINER, clutch line, upper | FLHTCUSE5, FLHTCUSE5 BLK |
| 23 | 47900-10BHP | FRAME, main, w/ 48315-60 & 50972-75 | FLHTCUSE5, FLHTCUSE5 BLK |
| 24 | 48315-60 | BEARING CUP (2) | FLHTCUSE5, FLHTCUSE5 BLK |
| 25 | 48419-04 | WEAR PAD, side cover, right (clear) | FLHTCUSE5, FLHTCUSE5 BLK |
| 48420-04 | WEAR PAD, side cover, left (clear) | FLHTCUSE5, FLHTCUSE5 BLK | |
| 26 | 49184-09 | ENGINE GUARD, w/ 2708A, 6116 & 14148-86 | FLHTCUSE5 |
| 49000001 | ENGINE GUARD, w/ 14151-02 | FLHTCUSE5 BLK | |
| 27 | 49725-07A | SPRING, jiffy stand | FLHTCUSE5, FLHTCUSE5 BLK |
| 28 | 50015-74A | LEG STOP | FLHTCUSE5, FLHTCUSE5 BLK |
| 29 | 50075-07 | LEG, jiffy stand | FLHTCUSE5, FLHTCUSE5 BLK |
| 30 | 50096-09 | BRACKET, jiffy stand leg | FLHTCUSE5, FLHTCUSE5 BLK |
| 31 | 50245-07 | BUMPER, jiffy stand leg | FLHTCUSE5, FLHTCUSE5 BLK |
| 32 | 50972-75 | FITTING, lubrication | FLHTCUSE5, FLHTCUSE5 BLK |
| 33 | 58167-09 | DEFLECTOR, air, right | FLHTCUSE5, FLHTCUSE5 BLK |
| 58169-09 | DEFLECTOR, air, left | FLHTCUSE5, FLHTCUSE5 BLK | |
| 34 | 66048-09 | SIDE COVER, right (unpainted) | FLHTCUSE5, FLHTCUSE5 BLK |
| 66250-09 | SIDE COVER, left (unpainted) | FLHTCUSE5, FLHTCUSE5 BLK | |
| 66612-10DDW | SIDE COVER, left (Scarlet Red Pearl/Dark Slate), w/ 48420-04 & 66055-09 **RESTRICTED SALES PART** | FLHTCUSE5 | |
| 66612-10DDY | SIDE COVER, left (Riptide Blue/Titanium Dust), w/ 48420-04 & 66055-09 **RESTRICTED SALES PART** | FLHTCUSE5 | |
| 66612-10DEB | SIDE COVER, left (Burnt Amber/Hot Citrus), w/ 48420-04 & 66055-09 **RESTRICTED SALES PART** | FLHTCUSE5 | |
| 66612-10DEE | SIDE COVER, left (Crimson Mist Black/Dark Slate), w/ 48420-04 & 66055-09 **RESTRICTED SALES PART** | FLHTCUSE5 BLK | |
| 66613-10DDW | SIDE COVER, right (Scarlet Red Pearl/Dark Slate), w/ 48419-04 & 66055-09 **RESTRICTED SALES PART** | FLHTCUSE5 | |
| 66613-10DDY | SIDE COVER, right (Riptide Blue/Titanium Dust), w/ 48419-04 & 66055-09 **RESTRICTED SALES PART** | FLHTCUSE5 | |
| 66613-10DEB | SIDE COVER, right (Burnt Amber/Hot Citrus), w/ 48419-04 & 66055-09 **RESTRICTED SALES PART** | FLHTCUSE5 | |
| 66613-10DEE | SIDE COVER, right (Crimson Mist Black/Dark Slate), w/ 48419-04 & 66055-09 **RESTRICTED SALES PART** | FLHTCUSE5 BLK |
| Index No. | Part No. | Description | Model(s) |
| 35 | 66055-09 | WEAR PAD, side cover (clear) (2) | FLHTCUSE5, FLHTCUSE5 BLK |
| 36 | 69318-02 | CLAMP (2) | FLHTCUSE5, FLHTCUSE5 BLK |
| 37 | 68446-00 | PLUG (chrome) (2) | FLHTCUSE5, FLHTCUSE5 BLK |
| 38 | 70980-09 | TRAY, wire trough (main harness) | FLHTCUSE5, FLHTCUSE5 BLK |
| 39 | 70981-09 | COVER, wire trough, w/ 15368-01A (main harness) | FLHTCUSE5, FLHTCUSE5 BLK |
| 40 | 90469-94 | PLUG (3) | FLHTCUSE5, FLHTCUSE5 BLK |
| 41 | 90520-07 | HOLE PLUG, jiffy stand | FLHTCUSE5, FLHTCUSE5 BLK |
| INTERNATIONAL MODELS ONLY | |||
| 42 | 3594 | SCREW, jiffy stand (England, HDI) | FLHTCUSE5, FLHTCUSE5 BLK |
| 43 | 10177 | CABLE STRAP, tree mount, jiffy stand (England, HDI) | FLHTCUSE5, FLHTCUSE5 BLK |
| 44 | 50126-08A | SENSOR, jiffy stand, w/ 72169-07, 72511-07BK & 73213-07 (England, HDI) | FLHTCUSE5, FLHTCUSE5 BLK |
| 45 | 72169-07 | TERMINAL, pin, 16-20 AWG (England, HDI) (3) | FLHTCUSE5, FLHTCUSE5 BLK |
| 46 | 72511-07BK | HOUSING, pin, 3-way (black) (England, HDI) | FLHTCUSE5, FLHTCUSE5 BLK |
| 47 | 73213-07 | RETAINER, xmas tree clip (England, HDI) | FLHTCUSE5, FLHTCUSE5 BLK |
| Index No. | Part No. | Description | Model(s) |
| 1 | 2731W | SCREW (2) | FLHTCUSE5, FLHTCUSE5 BLK |
| 2 | 3057 | SCREW, locking (2) | FLHTCUSE5, FLHTCUSE5 BLK |
| 3 | 3536 | BOLT (6) | FLHTCUSE5, FLHTCUSE5 BLK |
| 4 | 3684 | SCREW (6) | FLHTCUSE5, FLHTCUSE5 BLK |
| 5 | 6532 | WASHER (6) | FLHTCUSE5, FLHTCUSE5 BLK |
| 6 | 9208 | BEARING (2) | FLHTCUSE5, FLHTCUSE5 BLK |
| 7 | 11779 | FASTENER, push-in (black) | FLHTCUSE5, FLHTCUSE5 BLK |
| 8 | 47491-02A | WASHER (2) | FLHTCUSE5, FLHTCUSE5 BLK |
| 9 | 47505-02 | SHAFT, rear fork | FLHTCUSE5, FLHTCUSE5 BLK |
| 10 | 47522-09 | COVER, right (chrome) | FLHTCUSE5 |
| 49429-10 | COVER, right (black) | FLHTCUSE5 BLK | |
| 47526-09 | COVER, left (chrome) | FLHTCUSE5 | |
| 49428-10 | COVER, left (black) | FLHTCUSE5 BLK | |
| 11 | 47549-09 | REAR FORK, w/ 9208 & 48489-02 | FLHTCUSE5, FLHTCUSE5 BLK |
| 12 | 47584-09 | RUBBER MOUNT (2) | FLHTCUSE5, FLHTCUSE5 BLK |
| 13 | 47606-09 | NUT, pivot, rear (2) | FLHTCUSE5, FLHTCUSE5 BLK |
| 14 | 48079-09BHP | FRAME, rear | FLHTCUSE5, FLHTCUSE5 BLK |
| 15 | 48487-02 | SPACER, outer (2) | FLHTCUSE5, FLHTCUSE5 BLK |
| 16 | 48489-02 | SPACER, inner (2) | FLHTCUSE5, FLHTCUSE5 BLK |
| 17 | 50588-09A | BRACKET, rear fork, left | FLHTCUSE5, FLHTCUSE5 BLK |
| 18 | 53411-09 | LUGGAGE RACK (chrome) | FLHTCUSE5 |
| 54289-10 | LUGGAGE RACK (black) | FLHTCUSE5 BLK | |
| 19 | 59292-94 | NUT, plastic (2) | FLHTCUSE5, FLHTCUSE5 BLK |
| 20 | 67865-89 | CAP (2) | FLHTCUSE5, FLHTCUSE5 BLK |
| 21 | 90493-83 | HOLE PLUG (2) | FLHTCUSE5, FLHTCUSE5 BLK |
| Index No. | Part No. | Description | Model(s) |
| 1 | 2724 | SCREW (2) | FLHTCUSE5, FLHTCUSE5 BLK |
| 2 | 2952A | SCREW (2) | FLHTCUSE5, FLHTCUSE5 BLK |
| 3 | 3540 | SCREW, adjuster | FLHTCUSE5, FLHTCUSE5 BLK |
| 4 | 3546 | BOLT | FLHTCUSE5, FLHTCUSE5 BLK |
| 5 | 3574 | SCREW (3) | FLHTCUSE5, FLHTCUSE5 BLK |
| 6 | 6703 | WASHER | FLHTCUSE5, FLHTCUSE5 BLK |
| 7 | 6716 | WASHER (2) | FLHTCUSE5, FLHTCUSE5 BLK |
| 8 | 7434 | WASHER, nylon (2) | FLHTCUSE5, FLHTCUSE5 BLK |
| 9 | 7531 | LOCKNUT | FLHTCUSE5, FLHTCUSE5 BLK |
| 10 | 7716 | LOCKNUT (11) | FLHTCUSE5, FLHTCUSE5 BLK |
| 11 | 10406 | SPRING | FLHTCUSE5, FLHTCUSE5 BLK |
| 12 | 51577-09 | GRAB STRAP, passenger | FLHTCUSE5, FLHTCUSE5 BLK |
| 13 | 51690-09 | BRACKET, grab strap mounting | FLHTCUSE5, FLHTCUSE5 BLK |
| 14 | 54164-10 | KNOB, passenger backrest | FLHTCUSE5, FLHTCUSE5 BLK |
| 15 | 52186-10 | BACKREST KIT, passenger, w/ 7716, 52192-86A, 53515-86, 53517-86 & 54164-10 | FLHTCUSE5, FLHTCUSE5 BLK |
| 16 | 52192-86A | ISOLATOR SET, passenger backrest | FLHTCUSE5, FLHTCUSE5 BLK |
| 17 | 52344-10 | SEAT | FLHTCUSE5, FLHTCUSE5 BLK |
| 18 | 52567-93D | MOUNTING BRACKET, rider backrest | FLHTCUSE5, FLHTCUSE5 BLK |
| 19 | 52585-09 | BRACKET, backrest mount | FLHTCUSE5, FLHTCUSE5 BLK |
| 20 | 52586-10 | RIDER BACKREST, w/ 3540 & 10406 | FLHTCUSE5, FLHTCUSE5 BLK |
| 21 | 52589-09A | MOUNTING HARDWARE KIT, seat, w/ 3546, 3574, 7531, 7716, 52567-93D, 52585-09 & 52590-09 | FLHTCUSE5, FLHTCUSE5 BLK |
| 22 | 52590-09 | MOUNTING BRACKET, rider backrest | FLHTCUSE5, FLHTCUSE5 BLK |
| 23 | 53364-10 | BACKREST PAD, passenger Tour-Pak | FLHTCUSE5, FLHTCUSE5 BLK |
| 24 | 53515-86 | BACKING PLATE | FLHTCUSE5, FLHTCUSE5 BLK |
| 25 | 53517-86 | CUSHION PLATE, plastic | FLHTCUSE5, FLHTCUSE5 BLK |
| 26 | 59768-97 | NUT KIT, seat, w/ retention washer | FLHTCUSE5, FLHTCUSE5 BLK |
| 27 | 90844-80 | ACORN NUT (2) | FLHTCUSE5, FLHTCUSE5 BLK |
| NOTE: BACKREST KIT must be used with 53364-10 BACKREST PAD | |||
| Index No. | Part No. | Description | Model(s) |
| 1 | 2237 | SCREW (black) (4) | FLHTCUSE5 BLK |
| 4631 | SCREW (4) | FLHTCUSE5 | |
| 2 | 3341 | SET SCREW (2) | FLHTCUSE5, FLHTCUSE5 BLK |
| 3 | 4688 | SCREW (6) | FLHTCUSE5, FLHTCUSE5 BLK |
| 4 | 7716 | LOCKNUT (4) | FLHTCUSE5, FLHTCUSE5 BLK |
| 5 | 8861 | BALL (2) | FLHTCUSE5, FLHTCUSE5 BLK |
| 6 | 51501-07 | SPRING (2) | FLHTCUSE5, FLHTCUSE5 BLK |
| 7 | 50700-04 | FOOTBOARD, left-hand, passenger (not illustrated) | FLHTCUSE5 |
| 54138-10 | FOOTBOARD, left-hand, passenger (not illustrated) | FLHTCUSE5 BLK | |
| 8 | 50701-04 | FOOTBOARD, right-hand, passenger | FLHTCUSE5 |
| 54139-10 | FOOTBOARD, right-hand, passenger | FLHTCUSE5 BLK | |
| 9 | 50635-82A | BOLT, footboard hinge (4) | FLHTCUSE5, FLHTCUSE5 BLK |
| 10 | 50673-09 | BRACKET SUPPORT, footboard, rear left | FLHTCUSE5 |
| 54131-10 | BRACKET SUPPORT, footboard, rear left (black) | FLHTCUSE5 BLK | |
| 11 | 50683-04 | BOTTOM ASSEMBLY, right, w/ hinge | FLHTCUSE5 |
| 51068-08 | BOTTOM ASSEMBLY, right, w/ hinge (black) | FLHTCUSE5 BLK | |
| 12 | 50688-04 | BOTTOM ASSEMBLY, left, w/ hinge | FLHTCUSE5 |
| 51070-08 | BOTTOM ASSEMBLY, left, w/ hinge (black) | FLHTCUSE5 BLK | |
| 13 | 50933-86A | PIVOT PIN (4) | FLHTCUSE5, FLHTCUSE5 BLK |
| 14 | 50998-07 | ARM, rotating, right | FLHTCUSE5 |
| 51356-07A | ARM, rotating, right | FLHTCUSE5 BLK | |
| 51006-07 | ARM, rotating, left | FLHTCUSE5 | |
| 51355-07A | ARM, rotating, left | FLHTCUSE5 BLK | |
| 15 | 51007-07 | SUPPORT, footboard (2) | FLHTCUSE5 |
| 51358-07A | SUPPORT, footboard (2) | FLHTCUSE5 BLK | |
| 16 | 51008-07 | ARM, main mounting assembly (2) | FLHTCUSE5 |
| 51363-07A | ARM, main mounting assembly (2) | FLHTCUSE5 BLK | |
| 17 | 51023-07 | WAVE SPRING (4) | FLHTCUSE5, FLHTCUSE5 BLK |
| 18 | 51498-09A | INSERT ASSEMBLY, left, rider | FLHTCUSE5 |
| 54119-10 | INSERT ASSEMBLY, left, rider (black) | FLHTCUSE5 BLK | |
| 19 | 51499-09A | INSERT ASSEMBLY, right, rider | FLHTCUSE5 |
| 54121-10 | INSERT ASSEMBLY, right, rider (black) | FLHTCUSE5 BLK | |
| 20 | 51502-09 | FOOTBOARD INSERT, passenger, left (not illustrated) | FLHTCUSE5 |
| 54140-10 | FOOTBOARD INSERT, passenger, left (not illustrated) | FLHTCUSE5 BLK | |
| 51510-09 | FOOTBOARD INSERT, passenger, right | FLHTCUSE5 | |
| 54142-10 | FOOTBOARD INSERT, passenger, right | FLHTCUSE5 BLK | |
| 21 | 51697-09 | MOUNTING BRACKET, front footboard (chrome) (2) | FLHTCUSE5 |
| 54133-10 | MOUNTING BRACKET, front footboard (black) (2) | FLHTCUSE5 BLK | |
| 22 | 54151-10 | BRACKET, support footboard, rear right (chrome) | FLHTCUSE5 |
| 50518-09 | BRACKET, support footboard, rear right (black) | FLHTCUSE5 BLK | |
| INTERNATIONAL MODELS ONLY | |||
| 23 | 44430-04 | PAD, rubber (HDI) (2) | FLHTCUSE5, FLHTCUSE5 BLK |
| Index No. | Part No. | Description | Model(s) |
| 1 | 4617 | SCREW (4) | FLHTCUSE5 |
| 2 | 4016 | SCREW (2) | FLHTCUSE5 |
| 3 | 4626 | SCREW (2) | FLHTCUSE5 |
| 4 | 6462 | WASHER (2) | FLHTCUSE5 |
| 5 | 7042 | LOCKWASHER (2) | FLHTCUSE5 |
| 6 | 8075 | NUT, decorative | FLHTCUSE5 |
| 7 | 50351-03 | MOUNT, footpeg support (2) | FLHTCUSE5 |
| 8 | 50912-72 | SPRING WASHER (2) | FLHTCUSE5 |
| 9 | 50988-02A | MOUNT, footpeg (2) | FLHTCUSE5 |
| 10 | 51009-02A | MOUNT, footpeg (2) | FLHTCUSE5 |
| 11 | 51453-09 | FOOTPEG BODY (2) | FLHTCUSE5 |
| 12 | 51459-09 | FOOTPEG TREAD (2) | FLHTCUSE5 |
| Index No. | Part No. | Description | Model(s) |
| 1 | 2235 | SCREW (2) | FLHTCUSE5 BLK |
| 2 | 2236 | SCREW (4) | FLHTCUSE5 BLK |
| 3 | 2241 | SCREW (2) | FLHTCUSE5 BLK |
| 4 | 7348 | NUT, decorative | FLHTCUSE5 BLK |
| 5 | 10858 | MOUNT, footpeg (2) | FLHTCUSE5 BLK |
| 6 | 12402 | WASHER (2) | FLHTCUSE5 BLK |
| 7 | 50912-72 | SPRING WASHER (2) | FLHTCUSE5 BLK |
| 8 | 51459-09 | FOOTPEG TREAD (2) | FLHTCUSE5 BLK |
| 9 | 54126-10 | MOUNT, footpeg (2) | FLHTCUSE5 BLK |
| 10 | 54130-10 | FOOTPEG BODY (2) | FLHTCUSE5 BLK |
| 11 | 50500001 | MOUNT, footpeg support (2) | FLHTCUSE5 BLK |
| Index No. | Part No. | Description | Model(s) |
| 1 | 3210A | SCREW (4) | FLHTCUSE5, FLHTCUSE5 BLK |
| 2 | 3605 | BOLT (2) | FLHTCUSE5, FLHTCUSE5 BLK |
| 3 | 11403A | GROMMET | FLHTCUSE5, FLHTCUSE5 BLK |
| 4 | 11642 | GROMMET | FLHTCUSE5, FLHTCUSE5 BLK |
| 5 | 55918-08 | CLAMP, upper | FLHTCUSE5, FLHTCUSE5 BLK |
| 6 | 56036-08 | HANDLEBAR KIT, w/ 11403A & 11642 (chrome) | FLHTCUSE5 |
| 56749-10 | HANDLEBAR KIT, w/ 11403A & 11642 (black) | FLHTCUSE5 BLK | |
| 7 | 56149-88B | RISER, lower right | FLHTCUSE5, FLHTCUSE5 BLK |
| 8 | 56151-88B | RISER, lower left | FLHTCUSE5, FLHTCUSE5 BLK |
| 9 | 56159-73 | WASHER, cup (4) | FLHTCUSE5, FLHTCUSE5 BLK |
| 10 | 56161-83A | BUSHING (rubber) (4) | FLHTCUSE5, FLHTCUSE5 BLK |
| 11 | 56163-93 | SPACER (2) | FLHTCUSE5, FLHTCUSE5 BLK |
| 12 | 70142-94 | CABLE, ground w/ 72241-94A | FLHTCUSE5, FLHTCUSE5 BLK |
| 13 | 72241-94A | RING TERMINAL, 10 ring, 14-18 gauge | FLHTCUSE5, FLHTCUSE5 BLK |
| Index No. | Part No. | Description | Model(s) |
| 1 | 2559 | SCREW (2) | FLHTCUSE5, FLHTCUSE5 BLK |
| 2 | 2955 | SCREW (6) | FLHTCUSE5, FLHTCUSE5 BLK |
| 3 | 3658 | SCREW (4) | FLHTCUSE5 BLK |
| 4292 | SCREW (4) | FLHTCUSE5 | |
| 4 | 10006 | STRAP, cable (4) | FLHTCUSE5, FLHTCUSE5 BLK |
| 10181 | STRAP, cable (17) | FLHTCUSE5, FLHTCUSE5 BLK | |
| 5 | 55928-08 | PLUG (2) | FLHTCUSE5, FLHTCUSE5 BLK |
| 6 | 56866-06A | HOUSING, lower left, (chrome) | FLHTCUSE5 |
| 56173-10 | HOUSING, lower left, (black) | FLHTCUSE5 BLK | |
| 7 | 70373-96 | BRACKET, switch, lower left | FLHTCUSE5, FLHTCUSE5 BLK |
| 8 | 70375-96 | BRACKET, switch, lower right | FLHTCUSE5, FLHTCUSE5 BLK |
| 9 | 71587-04 | V-CLIP | FLHTCUSE5, FLHTCUSE5 BLK |
| 10 | 71612-96 | HOUSING, lower right, (chrome) | FLHTCUSE5 |
| 71595-08 | HOUSING, lower right, (black) | FLHTCUSE5 BLK | |
| 11 | 71614-96 | HOUSING, upper right, (chrome) | FLHTCUSE5 |
| 71564-96 | HOUSING, upper right, (black) | FLHTCUSE5 BLK | |
| 12 | 71615-96 | HOUSING, upper left, (chrome) | FLHTCUSE5 |
| 71567-96 | HOUSING, upper left, (black) | FLHTCUSE5 BLK | |
| 13 | 71621-08 | SWITCH KIT, stop lamp, w/ 10181 & 72266-94 | FLHTCUSE5, FLHTCUSE5 BLK |
| 14 | 71642-08 | SWITCH KIT, volume, w/ 10181 & 72266-94 | FLHTCUSE5, FLHTCUSE5 BLK |
| 15 | 71682-06A | SWITCH KIT, headlamp high/low & horn, w/ 10181 & 72266-94 | FLHTCUSE5, FLHTCUSE5 BLK |
| 16 | 71683-06A | SWITCH KIT, right turn signal, w/ 10181 & 72266-94 | FLHTCUSE5, FLHTCUSE5 BLK |
| 17 | 71684-06A | SWITCH KIT, engine start/off/run, w/ 10181 & 72266-94 | FLHTCUSE5, FLHTCUSE5 BLK |
| 18 | 71685-06A | SWITCH KIT, left turn signal, w/ 10181 & 72266-94 | FLHTCUSE5, FLHTCUSE5 BLK |
| 19 | 71699-07 | SWITCH, clutch | FLHTCUSE5, FLHTCUSE5 BLK |
| 20 | 71735-08 | SWITCH KIT, PTT/SQ -/+, w/ 10181 & 72266-94 | FLHTCUSE5, FLHTCUSE5 BLK |
| 21 | 71787-08 | SWITCH KIT, mode select, w/ 10181 & 72266-94 | FLHTCUSE5, FLHTCUSE5 BLK |
| 22 | 71788-08 | SWITCH KIT, cruise control, set/resume, w/ 10181 & 72266-94 | FLHTCUSE5, FLHTCUSE5 BLK |
| 23 | 71820-98 | KNOB, +/- audio | FLHTCUSE5, FLHTCUSE5 BLK |
| 24 | 71822-98 | KNOB, mode select, up/down | FLHTCUSE5, FLHTCUSE5 BLK |
| 25 | 71824-98 | KNOB, switch, PTT/SQ -/+ | FLHTCUSE5, FLHTCUSE5 BLK |
| 26 | 71825-96A | KNOB, cruise control, set/resume | FLHTCUSE5, FLHTCUSE5 BLK |
| 27 | 72169-07 | TERMINAL, pin, #16-20 AWG (26) | FLHTCUSE5, FLHTCUSE5 BLK |
| 28 | 72266-94 | TUBE, heat shrink, dual wall, 0.3 x 2 inch (black) (9) | FLHTCUSE5, FLHTCUSE5 BLK |
| 29 | 72473-07 | SEAL PIN (2) | FLHTCUSE5, FLHTCUSE5 BLK |
| 30 | 72488-07BK | HOUSING, pin, 12-way | FLHTCUSE5, FLHTCUSE5 BLK |
| 31 | 72492-07GY | HOUSING, pin, 16-way | FLHTCUSE5, FLHTCUSE5 BLK |
| 32 | 73212-07 | CONNECTOR ANCHOR, t-stud (2) | FLHTCUSE5, FLHTCUSE5 BLK |
| Index No. | Part No. | Description | Model(s) |
| 1 | 6771A | WASHER (2) | FLHTCUSE5 |
| 12404 | WASHER (black) (2) | FLHTCUSE5 BLK | |
| 2 | 7127 | LOCKWASHER (2) | FLHTCUSE5 |
| 7155 | LOCKWASHER (black) (2) | FLHTCUSE5, FLHTCUSE5 BLK | |
| 3 | 7330 | ACORN NUT (2) | FLHTCUSE5 |
| 8196 | ACORN NUT (black) (2) | FLHTCUSE5 BLK | |
| 4 | 92341-09 | MIRROR, right (chrome) | FLHTCUSE5 |
| 92437-10 | MIRROR, right (black) | FLHTCUSE5 BLK | |
| 92342-09 | MIRROR, left (chrome) | FLHTCUSE5 | |
| 92436-10 | MIRROR, left (black) | FLHTCUSE5 BLK | |
| INTERNATIONAL MODELS ONLY | |||
| 5 | 7331 | ACORN NUT (HDI) (2) | FLHTCUSE5 |
| 7352 | ACORN NUT (HDI) (2) | FLHTCUSE5 BLK | |
| 6 | 91840-03B | MIRROR KIT, right, short (chrome), w/ 7331 & washer (HDI) | FLHTCUSE5 |
| 92614-10 | MIRROR KIT, right, short (black), w/ 7155 & 7352 (HDI) | FLHTCUSE5 BLK | |
| 91845-03B | MIRROR KIT, left, short (chrome), w/ 7331 & washer (HDI) | FLHTCUSE5 | |
| 92615-10 | MIRROR KIT, left, short (black), w/ 7155 & 7352 (HDI) | FLHTCUSE5 BLK | |
| Index No. | Part No. | Description | Model(s) |
| 1 | 32306-08 | SEAL CAP, throttle sensor | FLHTCUSE5, FLHTCUSE5 BLK |
| 2 | 32310-08 | SENSOR, twist grip, w/ 32306-08, 72102-94BK, 72112-94BK, 72142-94, 72152-94, 72188-07BK, 72194-94, 72195-94, 72549-07 & 73212-07 (72195-94 SEAL PIN not used w/ heated grips) | FLHTCUSE5, FLHTCUSE5 BLK |
| 3 | 55911-09A | HANDGRIP ASSEMBLY, left, w/ 72191-94 | FLHTCUSE5 |
| 56346-10 | HANDGRIP ASSEMBLY, left, w/ 72191-94 | FLHTCUSE5 BLK | |
| 4 | 55913-09 | HANDGRIP ASSEMBLY, right, w/ 56162-09 | FLHTCUSE5 |
| 56347-10 | HANDGRIP ASSEMBLY, right, w/ 56162-09 | FLHTCUSE5 BLK | |
| 5 | 56162-09 | ENDCAP (chrome) | FLHTCUSE5 |
| 56770-10 | ENDCAP (black) | FLHTCUSE5 BLK | |
| 6 | 72102-94BK | PIN HOUSING, 2-way | FLHTCUSE5, FLHTCUSE5 BLK |
| 7 | 72112-94BK | SOCKET HOUSING, 2-way | FLHTCUSE5, FLHTCUSE5 BLK |
| 8 | 72113-94BK | SOCKET HOUSING, 3-way | FLHTCUSE5, FLHTCUSE5 BLK |
| 9 | 72142-94 | LOCK, secondary, 2-way | FLHTCUSE5, FLHTCUSE5 BLK |
| 10 | 72152-94 | SEAL, front, 2-way | FLHTCUSE5, FLHTCUSE5 BLK |
| 11 | 72153-94 | LOCK, secondary, 3-way | FLHTCUSE5, FLHTCUSE5 BLK |
| 12 | 72172-94 | LOCK, secondary, 2-way | FLHTCUSE5, FLHTCUSE5 BLK |
| 13 | 72173-94 | SEAL, 3-way | FLHTCUSE5, FLHTCUSE5 BLK |
| 14 | 72188-07BK | PIN HOUSING, 6-way | FLHTCUSE5, FLHTCUSE5 BLK |
| 15 | 72191-94 | TERMINAL, socket, #16-18 AWG (5) | FLHTCUSE5, FLHTCUSE5 BLK |
| 16 | 72194-94 | TERMINAL, pin, #20 AWG (2) | FLHTCUSE5, FLHTCUSE5 BLK |
| 17 | 72549-07 | TERMINAL, pin, #22 AWG (6) | FLHTCUSE5, FLHTCUSE5 BLK |
| 18 | 73212-07 | CONNECTOR ANCHOR, t-stud | FLHTCUSE5, FLHTCUSE5 BLK |
| Index No. | Part No. | Description | Model(s) |
| 1 | 2446 | SCREW (2) | FLHTCUSE5, FLHTCUSE5 BLK |
| 2 | 3088 | SCREW (Domestic) (3) | FLHTCUSE5, FLHTCUSE5 BLK |
| 3 | 4790 | SCREW (4) | FLHTCUSE5, FLHTCUSE5 BLK |
| 4 | 4976 | SCREW (3) | FLHTCUSE5 |
| 1334 | SCREW (black) (3) | FLHTCUSE5 BLK | |
| 5 | 6383 | WASHER (3) | FLHTCUSE5 |
| 12400 | WASHER (3) | FLHTCUSE5 BLK | |
| 6 | 6566 | PAD, rubber (3) | FLHTCUSE5, FLHTCUSE5 BLK |
| 7 | 6717 | WASHER (8) | FLHTCUSE5, FLHTCUSE5 BLK |
| 10006 | CABLE STRAP (not illustrated) (2) | FLHTCUSE5, FLHTCUSE5 BLK | |
| 8 | 10065 | CABLE STRAP (used w/ 67700032) (3) | FLHTCUSE5, FLHTCUSE5 BLK |
| 9 | 16585-96 | INSERT, threaded (4) | FLHTCUSE5, FLHTCUSE5 BLK |
| 10 | 46559-03 | SKIRT, outer fairing | FLHTCUSE5 BLK |
| 58208-96A | SKIRT, outer fairing | FLHTCUSE5 | |
| 11 | 54243-10 | TRIM ASSEMBLY, windshield, w/ 6566 (black) | FLHTCUSE5 BLK |
| 59261-09 | TRIM ASSEMBLY, windshield, w/ 6566 | FLHTCUSE5 | |
| 12 | 57185-05 | WIND DEFLECTOR, dark smoked | FLHTCUSE5 BLK |
| 13 | 58303-96 | WINDSHIELD, lightly smoked, | FLHTCUSE5 |
| 14 | 58247-96 | CUSHION TAPE, windshield mounting | FLHTCUSE5, FLHTCUSE5 BLK |
| 15 | 58260-10DDW | FAIRING, outer, w/ 58247-96 & 62787-96 (Scarlet Red Pearl/Dark Slate) **RESTRICTED SALES PART** | FLHTCUSE5 |
| 58260-10DDY | FAIRING, outer, w/ 58247-96 & 62787-96 (Riptide Blue/Titanium Dust) **RESTRICTED SALES PART** | FLHTCUSE5 | |
| 58260-10DEB | FAIRING, outer, w/ 58247-96 & 62787-96 (Burnt Amber/Hot Citrus) **RESTRICTED SALES PART** | FLHTCUSE5 | |
| 58260-10DEE | FAIRING, outer, w/ 58247-96 & 62787-96 (Crimson Mist Black/Dark Slate) **RESTRICTED SALES PART** | FLHTCUSE5 BLK | |
| 58236-96 | FAIRING, outer (prime) | FLHTCUSE5, FLHTCUSE5 BLK | |
| 16 | 58949-96 | NUT, extension (2) | FLHTCUSE5, FLHTCUSE5 BLK |
| 17 | 62786-96 | TRIM STRIP, skirt | FLHTCUSE5, FLHTCUSE5 BLK |
| 18 | 62787-96 | SEAL, fairing skirt | FLHTCUSE5, FLHTCUSE5 BLK |
| 19 | 67712-83A | DOOR (chrome) | FLHTCUSE5, FLHTCUSE5 BLK |
| 20 | 67716-60B | GASKET | FLHTCUSE5, FLHTCUSE5 BLK |
| 21 | 67718-60A | SCREW, headlamp door | FLHTCUSE5, FLHTCUSE5 BLK |
| 22 | 67721-48 | SCREW, retaining ring (3) | FLHTCUSE5, FLHTCUSE5 BLK |
| 23 | 67001-08 | RETAINING RING KIT, headlamp, w/ 67721-48 & 67732-08 (Domestic) | FLHTCUSE5, FLHTCUSE5 BLK |
| 24 | 67717-01 | BULB, high beam halogen (used w/ 67700032) | FLHTCUSE5, FLHTCUSE5 BLK |
| 25 | 67778-60A | SPRING, top | FLHTCUSE5, FLHTCUSE5 BLK |
| 26 | 67780-60A | SPRING, bottom (2) | FLHTCUSE5, FLHTCUSE5 BLK |
| 27 | 67864-04A | HALOGEN HEADLAMP KIT, 7 in., w/ 6717, 10006, 68096-04, 68124-04A & 68881-01 (Domestic & Canada) (use 67700032) | FLHTCUSE5, FLHTCUSE5 BLK |
| 28 | 68096-04 | BULB, high beam halogen (used w/ 67864-04A) | FLHTCUSE5, FLHTCUSE5 BLK |
| 29 | 68124-04A | MOUNTING RING ASSEMBLY, w/ 3088 | FLHTCUSE5, FLHTCUSE5 BLK |
| 30 | 68881-01 | BULB, low beam halogen | FLHTCUSE5, FLHTCUSE5 BLK |
| 70174-06 | HARNESS ASSEMBLY, halogen bulb interconnect & garage door opener (not illustrated) | FLHTCUSE5, FLHTCUSE5 BLK | |
| 31 | 72449-01 | HOUSING, 2-way socket (black) (used w/ 67700032) | FLHTCUSE5, FLHTCUSE5 BLK |
| 32 | 72450-01 | HOUSING, 2-way socket (grey) (used w/ 67700032) | FLHTCUSE5, FLHTCUSE5 BLK |
| 33 | 72527-01 | SOCKET TERMINAL, 18-20 AWG (used w/ 67700032) (4) | FLHTCUSE5, FLHTCUSE5 BLK |
| 34 | 72633-02 | SEAL, 14-16 AWG (white) (used w/ 67700032) (4) | FLHTCUSE5, FLHTCUSE5 BLK |
| 35 | 73271-11 | HEADLAMP, w/ 67717-01 & 68881-01 (used w/ 67700032) | FLHTCUSE5, FLHTCUSE5 BLK |
| 36 | 73272-11 | WIRE HARNESS, halogen bulb, interconnect, w/ 8, 31, 32, 33 & 34 (used w/ 67700032) | FLHTCUSE5, FLHTCUSE5 BLK |
| 37 | 67700032 | HALOGEN HEADLAMP KIT, 7 in., w/ 6717, 10006, 68124-04A, 73271-11 & 73272-11 (Domestic & Canada) (replaces 67894-04A) | FLHTCUSE5, FLHTCUSE5 BLK |
| Index No. | Part No. | Description | Model(s) |
| INTERNATIONAL MODELS ONLY | |||
| 38 | 9898 | TERMINAL, female flag, 14-16 gauge | FLHTCUSE5, FLHTCUSE5 BLK |
| 39 | 53436-97 | BULB, position lamp (HDI, Japan) | FLHTCUSE5, FLHTCUSE5 BLK |
| 40 | 57187-05 | WIND DEFLECTOR, clear (HDI) | FLHTCUSE5 BLK |
| 41 | 58324-97 | WINDSHIELD, clear (HDI) | FLHTCUSE5 |
| 42 | 67668-05 | MEDALLION, lens (HDI, Japan) | FLHTCUSE5, FLHTCUSE5 BLK |
| 43 | 67724-71 | ADJUSTING SCREW, headlamp (HDI, Japan) (2) | FLHTCUSE5, FLHTCUSE5 BLK |
| 44 | 67726-08 | RETAINING RING, headlamp (HDI, Japan) | FLHTCUSE5, FLHTCUSE5 BLK |
| 45 | 67728-02A | BUCKET ASSEMBLY, w/ 67724-71 & 67782-60A (HDI, Japan) | FLHTCUSE5, FLHTCUSE5 BLK |
| 46 | 67732-08 | MOUNTING RING, headlamp (HDI, Japan) | FLHTCUSE5, FLHTCUSE5 BLK |
| 47 | 67782-60A | BRACKET, door (HDI, Japan) | FLHTCUSE5, FLHTCUSE5 BLK |
| 48 | 68329-03 | BULB, HB2/H4 (HDI, Japan) | FLHTCUSE5, FLHTCUSE5 BLK |
| 49 | 68344-05 | REFLECTOR ASSEMBLY, 7 in., left dip (England, Japan) | FLHTCUSE5, FLHTCUSE5 BLK |
| 50 | 68345-05 | REFLECTOR ASSEMBLY, 7 in., right dip (HDI) | FLHTCUSE5, FLHTCUSE5 BLK |
| 51 | 68359-05 | HARNESS JUMPER, position bulb, w/ 9898 & 72253-94 (HDI, Japan) | FLHTCUSE5, FLHTCUSE5 BLK |
| 52 | 68380-05 | BOOT (HDI, Japan) | FLHTCUSE5, FLHTCUSE5 BLK |
| 53 | 68653-05 | SOCKET, position lamp (HDI, Japan) | FLHTCUSE5, FLHTCUSE5 BLK |
| 54 | 72253-94 | TERMINAL, 18-20 gauge (HDI, Japan) | FLHTCUSE5, FLHTCUSE5 BLK |
| Index No. | Part No. | Description | Model(s) |
| 1 | 2445 | SCREW (2) | FLHTCUSE5, FLHTCUSE5 BLK |
| 2 | 2446 | SCREW (2) | FLHTCUSE5, FLHTCUSE5 BLK |
| 3 | 2563 | SCREW (8) | FLHTCUSE5, FLHTCUSE5 BLK |
| 4 | 2965 | SCREW, front speaker mounting (4) | FLHTCUSE5, FLHTCUSE5 BLK |
| 3387 | SCREW, front speaker mounting (2) | FLHTCUSE5, FLHTCUSE5 BLK | |
| 5 | 3061 | SCREW (10) | FLHTCUSE5, FLHTCUSE5 BLK |
| 6 | 3612 | SCREW (4) | FLHTCUSE5, FLHTCUSE5 BLK |
| 7 | 3652 | SCREW (2) | FLHTCUSE5, FLHTCUSE5 BLK |
| 8 | 4569 | SCREW (2) | FLHTCUSE5, FLHTCUSE5 BLK |
| 9 | 6837M | WASHER (2) | FLHTCUSE5, FLHTCUSE5 BLK |
| 10 | 7688 | NUT (2) | FLHTCUSE5, FLHTCUSE5 BLK |
| 11 | 10065 | CABLE STRAP (4) | FLHTCUSE5, FLHTCUSE5 BLK |
| 12 | 10103 | CLIP, adhesive backed | FLHTCUSE5, FLHTCUSE5 BLK |
| 13 | 11445 | GROMMET, clutch hose | FLHTCUSE5, FLHTCUSE5 BLK |
| 14 | 11488 | GROMMET, handlebar, right | FLHTCUSE5, FLHTCUSE5 BLK |
| 11492 | GROMMET, handlebar, left | FLHTCUSE5, FLHTCUSE5 BLK | |
| 15 | 57638-08 | SNAP HINGE, air deflector (2) | FLHTCUSE5, FLHTCUSE5 BLK |
| 16 | 57677-10BZN | INNER FAIRING ASSEMBLY, w/ 7688 & 58317-04 (Scarlet Red Pearl) | FLHTCUSE5 |
| 57677-10DDZ | INNER FAIRING ASSEMBLY, w/ 7688 & 58317-04 (Riptide Blue) | FLHTCUSE5 | |
| 57677-10DEC | INNER FAIRING ASSEMBLY, w/ 7688 & 58317-04 (Burnt Amber) | FLHTCUSE5 | |
| 57695-10DEF | INNER FAIRING ASSEMBLY, w/ 7688 & 58317-04 (Domestic) (Crimson Mist Black) | FLHTCUSE5 BLK | |
| 17 | 57842-06 | TRIM, dash pad | FLHTCUSE5, FLHTCUSE5 BLK |
| 18 | 57860-06 | DASH PAD, leather-wrapped | FLHTCUSE5 |
| 57885-10 | DASH PAD, leather-wrapped (Domestic) | FLHTCUSE5 BLK | |
| 19 | 58128-08A | AIR DEFLECTOR, right, smoked, w/ 57638-08 | FLHTCUSE5, FLHTCUSE5 BLK |
| 58129-08A | AIR DEFLECTOR, left, smoked, w/ 57638-08 | FLHTCUSE5, FLHTCUSE5 BLK | |
| 20 | 58317-04 | TRIM SEAL, inner fairing, 29 in. length (2) | FLHTCUSE5, FLHTCUSE5 BLK |
| 21 | 58478-96B | BRACKET, fairing support, left | FLHTCUSE5, FLHTCUSE5 BLK |
| 22 | 58479-96B | BRACKET, fairing support, right | FLHTCUSE5, FLHTCUSE5 BLK |
| 23 | 58545-10BZN | CAP, inner fairing (Scarlet Red Pearl) | FLHTCUSE5 |
| 58545-10DDZ | CAP, inner fairing (Riptide Blue) | FLHTCUSE5 | |
| 58545-10DEC | CAP, inner fairing (Burnt Amber) | FLHTCUSE5 | |
| 58533-10DEF | CAP, inner fairing (Crimson Mist Black) | FLHTCUSE5 BLK | |
| 24 | 58938-96C | SUPPORT, inner fairing, left | FLHTCUSE5, FLHTCUSE5 BLK |
| 25 | 58939-96C | SUPPORT, inner fairing, right | FLHTCUSE5, FLHTCUSE5 BLK |
| 26 | 70290-07 | WIRE HARNESS ASSEMBLY, inner fairing cap | FLHTCUSE5, FLHTCUSE5 BLK |
| 27 | 71434-96A | BRACKET, switch (2) | FLHTCUSE5, FLHTCUSE5 BLK |
| 28 | 71535-96 | SWITCH, accessory, w/ 73191-96 | FLHTCUSE5, FLHTCUSE5 BLK |
| 29 | 71764-07 | SWITCH ASSEMBLY, power lock, w/ 73153-96BK & 73191-96 | FLHTCUSE5, FLHTCUSE5 BLK |
| 30 | 71765-07 | SWITCH ASSEMBLY, spot lamp/cruise, w/ 71434-96A & 73191-96 | FLHTCUSE5, FLHTCUSE5 BLK |
| 31 | 73153-96BK | SOCKET HOUSING, 6-place (black) | FLHTCUSE5, FLHTCUSE5 BLK |
| 32 | 73162-96BK | SOCKET HOUSING, 12-place (black) | FLHTCUSE5, FLHTCUSE5 BLK |
| 33 | 73191-96 | SOCKET TERMINAL, #16-20 AWG (15) | FLHTCUSE5, FLHTCUSE5 BLK |
| 34 | 73212-07 | CONNECTOR ANCHOR, t-stud (2) | FLHTCUSE5, FLHTCUSE5 BLK |
| 35 | 77029-06 | SPEAKER (2) | FLHTCUSE5, FLHTCUSE5 BLK |
| 77047-98 | ADAPTOR & GRILL, speaker (2) | FLHTCUSE5, FLHTCUSE5 BLK | |
| 36 | 77092-98 | SWITCH, speaker, w/ 73191-96 | FLHTCUSE5, FLHTCUSE5 BLK |
| 37 | 91808-89 | ELEMENT, cigarette lighter | FLHTCUSE5, FLHTCUSE5 BLK |
| 38 | 91812-89A | SOCKET, cigarette lighter | FLHTCUSE5, FLHTCUSE5 BLK |
| 39 | 11100009 | PAD, inner fairing | FLHTCUSE5 BLK |
| Index No. | Part No. | Description | Model(s) |
| INTERNATIONAL MODELS ONLY | |||
| 40 | 57677-10DEF | INNER FAIRING ASSEMBLY, w/ 7688 & 58317-04 (Japan) (Crimson Mist Black) | FLHTCUSE5 BLK |
| 57695-10DEF | INNER FAIRING ASSEMBLY, w/ 7688 & 58317-04 (HDI) (Crimson Mist Black) | FLHTCUSE5 BLK | |
| 41 | 57860-06 | DASH PAD, leather-wrapped (Japan) | FLHTCUSE5 BLK |
| 57885-10 | DASH PAD, leather-wrapped (HDI) | FLHTCUSE5 BLK | |
| 42 | 70308-07 | WIRE HARNESS ASSEMBLY, inner fairing cap (HDI, Japan) | FLHTCUSE5, FLHTCUSE5 BLK |
| 43 | 71772-07 | SWITCH ASSEMBLY, spot lamp/cruise, w/ 71434-96A & 73191-96 (HDI, Japan) | FLHTCUSE5, FLHTCUSE5 BLK |
| Index No. | Part No. | Description | Model(s) |
| 1 | 2625 | SCREW (4) | FLHTCUSE5, FLHTCUSE5 BLK |
| 10065 | CABLE STRAP, air temperaturer sensor (not illustrated) | FLHTCUSE5, FLHTCUSE5 BLK | |
| 2 | 67043-96 | NUT (8) | FLHTCUSE5, FLHTCUSE5 BLK |
| 3 | 67522-09 | TACHOMETER | FLHTCUSE5 |
| 74740-10 | TACHOMETER | FLHTCUSE5 BLK | |
| 4 | 67516-09 | SPEEDOMETER, mph | FLHTCUSE5 |
| 70731-10 | SPEEDOMETER, mph | FLHTCUSE5 BLK | |
| 5 | 67352-96A | CLAMP, 2 in. AWG (4) | FLHTCUSE5, FLHTCUSE5 BLK |
| 6 | 67356-00 | GASKET, speedometer/tachometer (2) | FLHTCUSE5, FLHTCUSE5 BLK |
| 7 | 67454-04 | BULB, w/ rubber boot (4) | FLHTCUSE5, FLHTCUSE5 BLK |
| 8 | 67689-04 | BACK CLAMP (2) | FLHTCUSE5, FLHTCUSE5 BLK |
| 9 | 67854-98 | SWITCH, trip reset | FLHTCUSE5, FLHTCUSE5 BLK |
| 10 | 67880-94 | BOOT, reset switch | FLHTCUSE5, FLHTCUSE5 BLK |
| 11 | 68382-07A | BEZEL ASSEMBLY, indicator lamp | FLHTCUSE5, FLHTCUSE5 BLK |
| 12 | 68789-96A | INDICATOR LAMP ASSEMBLY, w/ 73160-96BK | FLHTCUSE5, FLHTCUSE5 BLK |
| 13 | 73160-96BK | SOCKET HOUSING, 10-place | FLHTCUSE5, FLHTCUSE5 BLK |
| 14 | 74419-96A | SENSOR, air temperature, w/ 73103-96BK | FLHTCUSE5, FLHTCUSE5 BLK |
| 15 | 74707-09 | OIL PRESSURE GAUGE, w/ 67454-04 & 75044-96 | FLHTCUSE5 |
| 74727-10 | OIL PRESSURE GAUGE, w/ 67454-04 & 75044-96 | FLHTCUSE5 BLK | |
| 74708-09 | FUEL GAUGE, w/ 67454-04 & 75044-96 | FLHTCUSE5 | |
| 74741-10 | FUEL GAUGE, w/ 67454-04 & 75044-96 | FLHTCUSE5 BLK | |
| 74709-09 | VOLTMETER, w/ 67454-04 & 75044-96 | FLHTCUSE5 | |
| 74743-10 | VOLTMETER, w/ 67454-04 & 75044-96 | FLHTCUSE5 BLK | |
| 74715-09 | AIR TEMPERATURE GAUGE, w/ 67454-04 & 75044-96 | FLHTCUSE5 | |
| 74742-10 | AIR TEMPERATURE GAUGE, w/ 67454-04 & 75044-96 | FLHTCUSE5 BLK | |
| 16 | 75044-96 | SOCKET (4) | FLHTCUSE5, FLHTCUSE5 BLK |
| 17 | 73103-96BK | PIN HOUSING, 3-way (black) | FLHTCUSE5, FLHTCUSE5 BLK |
| INTERNATIONAL MODELS ONLY | |||
| 18 | 67519-09 | SPEEDOMETER, kph (Canada, HDI, Japan) | FLHTCUSE5 |
| 70732-10 | SPEEDOMETER, kph (Canada, HDI, Japan) | FLHTCUSE5 BLK | |
| 67581-09 | SPEEDOMETER, mph/kph (England) | FLHTCUSE5 | |
| 70733-10 | SPEEDOMETER, mph/kph (England) | FLHTCUSE5 BLK | |
| Index No. | Part No. | Description | Model(s) |
| 1 | 2995 | SCREW (10) | FLHTCUSE5, FLHTCUSE5 BLK |
| 2 | 3655A | SCREW (2) | FLHTCUSE5 |
| 2232 | SCREW (black) (2) | FLHTCUSE5 BLK | |
| 3 | 5429 | BOLT (2) | FLHTCUSE5, FLHTCUSE5 BLK |
| 4 | 6235 | WASHER (2) | FLHTCUSE5, FLHTCUSE5 BLK |
| 5 | 7415A | WASHER (2) | FLHTCUSE5, FLHTCUSE5 BLK |
| 6 | 7576 | NUT (2) | FLHTCUSE5, FLHTCUSE5 BLK |
| 7 | 7686 | LOCKNUT (2) | FLHTCUSE5, FLHTCUSE5 BLK |
| 8 | 7716 | LOCKNUT (4) | FLHTCUSE5, FLHTCUSE5 BLK |
| 9 | 8174 | SNAP, push-in (8) | FLHTCUSE5, FLHTCUSE5 BLK |
| 10 | 8175 | CLIP (4) | FLHTCUSE5, FLHTCUSE5 BLK |
| 11 | 27048-84 | CLAMP (2) | FLHTCUSE5, FLHTCUSE5 BLK |
| 12 | 58104-05 | SPRING (2) | FLHTCUSE5, FLHTCUSE5 BLK |
| 13 | 58105-05 | WASHER (2) | FLHTCUSE5, FLHTCUSE5 BLK |
| 14 | 58173-05 | WASHER, serrated/nylon (2) | FLHTCUSE5, FLHTCUSE5 BLK |
| 15 | 58491-10DDX | FAIRING LOWER CAP, left (Dark Slate) | FLHTCUSE5 |
| 58491-10DEA | FAIRING LOWER CAP, left (Titanium Dust) | FLHTCUSE5 | |
| 58491-10DED | FAIRING LOWER CAP, left (Hot Citrus) | FLHTCUSE5 | |
| 58491-10DEF | FAIRING LOWER CAP, left (Crimson Mist Black) | FLHTCUSE5 BLK | |
| 58491-10 | FAIRING LOWER CAP, left (unpainted) | FLHTCUSE5, FLHTCUSE5 BLK | |
| 58492-10DDX | FAIRING LOWER CAP, right (Dark Slate) | FLHTCUSE5 | |
| 58492-10DEA | FAIRING LOWER CAP, right (Titanium Dust) | FLHTCUSE5 | |
| 58492-10DED | FAIRING LOWER CAP, right (Hot Citrus) | FLHTCUSE5 | |
| 58492-10DEF | FAIRING LOWER CAP, right (Crimson Mist Black) | FLHTCUSE5 BLK | |
| 58492-10 | FAIRING LOWER CAP, right (unpainted) | FLHTCUSE5, FLHTCUSE5 BLK | |
| 16 | 58679-05 | DOOR ASSEMBLY, glovebox, right | FLHTCUSE5, FLHTCUSE5 BLK |
| 58681-05 | DOOR ASSEMBLY, glovebox, left | FLHTCUSE5, FLHTCUSE5 BLK | |
| 17 | 58851-10DDX | FAIRING LOWER, left (Dark Slate) | FLHTCUSE5 |
| 58851-10DEA | FAIRING LOWER, left (Titanium Dust) | FLHTCUSE5 | |
| 58851-10DED | FAIRING LOWER, left (Hot Citrus) | FLHTCUSE5 | |
| 58851-10DEF | FAIRING LOWER, left (Crimson Mist Black) | FLHTCUSE5 BLK | |
| 58816-05A | FAIRING LOWER, left (unpainted) | FLHTCUSE5, FLHTCUSE5 BLK | |
| 58852-10DDX | FAIRING LOWER, right (Dark Slate) | FLHTCUSE5 | |
| 58852-10DEA | FAIRING LOWER, right (Titanium Dust) | FLHTCUSE5 | |
| 58852-10DED | FAIRING LOWER, right (Hot Citrus) | FLHTCUSE5 | |
| 58852-10DEF | FAIRING LOWER, right (Crimson Mist Black) | FLHTCUSE5 BLK | |
| 58817-05A | FAIRING LOWER, right (unpainted) | FLHTCUSE5, FLHTCUSE5 BLK | |
| 18 | 58863-06 | LINER, glovebox, LH | FLHTCUSE5, FLHTCUSE5 BLK |
| 58864-06 | LINER, glovebox, RH | FLHTCUSE5, FLHTCUSE5 BLK | |
| 19 | 58889-05 | VENT LOWER, right | FLHTCUSE5, FLHTCUSE5 BLK |
| 58890-05 | VENT LOWER, left | FLHTCUSE5, FLHTCUSE5 BLK | |
| 20 | 58891-05 | FACE OVERMOLD, glovebox, right | FLHTCUSE5, FLHTCUSE5 BLK |
| 58901-05 | FACE OVERMOLD, glovebox, left | FLHTCUSE5, FLHTCUSE5 BLK | |
| 21 | 58893-05 | TRAY GLOVEBOX, right | FLHTCUSE5, FLHTCUSE5 BLK |
| 58903-05 | TRAY GLOVEBOX, left | FLHTCUSE5, FLHTCUSE5 BLK |
| Index No. | Part No. | Description | Model(s) |
| 1 | 3462 | BOLT (4) | FLHTCUSE5, FLHTCUSE5 BLK |
| 2 | 45279-00 | WASHER (4) | FLHTCUSE5, FLHTCUSE5 BLK |
| 3 | 59045-00B | FENDER, front (prime) | FLHTCUSE5, FLHTCUSE5 BLK |
| 58972-10DDW | FENDER, front (Scarlet Red Pearl/Dark Slate) **RESTRICTED SALES PART** | FLHTCUSE5 | |
| 58972-10DDY | FENDER, front (Riptide Blue/Titanium Dust) **RESTRICTED SALES PART** | FLHTCUSE5 | |
| 58972-10DEB | FENDER, front (Burnt Amber/Hot Citrus) **RESTRICTED SALES PART** | FLHTCUSE5 | |
| 58972-10DEE | FENDER, front (Crimson Mist Black/Dark Slate) **RESTRICTED SALES PART** | FLHTCUSE5 BLK | |
| 4 | 59166-80 | PLATE, lock (2) | FLHTCUSE5, FLHTCUSE5 BLK |
| INTERNATIONAL MODELS ONLY | |||
| 5 | 59280-02 | FENDER TIP (HDI) | FLHTCUSE5, FLHTCUSE5 BLK |
| Index No. | Part No. | Description | Model(s) |
| 1 | 2952A | SCREW | FLHTCUSE5, FLHTCUSE5 BLK |
| 2 | 3684 | SCREW (6) | FLHTCUSE5, FLHTCUSE5 BLK |
| 3 | 6703 | WASHER | FLHTCUSE5, FLHTCUSE5 BLK |
| 4 | 7434 | WASHER (2) | FLHTCUSE5, FLHTCUSE5 BLK |
| 5 | 7531 | LOCKNUT (2) | FLHTCUSE5, FLHTCUSE5 BLK |
| 6 | 7686 | LOCKNUT | FLHTCUSE5, FLHTCUSE5 BLK |
| 7 | 7880 | NUT (4) | FLHTCUSE5, FLHTCUSE5 BLK |
| 8 | 10006 | CABLE STRAP, lighting harness | FLHTCUSE5, FLHTCUSE5 BLK |
| 9 | 10183 | CLIP, t-stud | FLHTCUSE5, FLHTCUSE5 BLK |
| 10 | 10184 | CLIP, t-stud (2) | FLHTCUSE5, FLHTCUSE5 BLK |
| 48421-04 | PROTECTIVE TAPE, rear fender (not illustrated) | FLHTCUSE5, FLHTCUSE5 BLK | |
| 11 | 58702-09 | FENDER, rear (prime) | FLHTCUSE5, FLHTCUSE5 BLK |
| 59583-10BZN | FENDER, rear (Scarlet Red Pearl) | FLHTCUSE5 | |
| 59583-10DDZ | FENDER, rear (Riptide Blue) | FLHTCUSE5 | |
| 59583-10DEC | FENDER, rear (Burnt Amber) | FLHTCUSE5 | |
| 59583-10DEF | FENDER, rear (Crimson Mist Black) | FLHTCUSE5 BLK | |
| 12 | 59174-99 | PLATE, stud | FLHTCUSE5, FLHTCUSE5 BLK |
| 13 | 59424-10 | MEDALLION, rear fender (Domestic) **RESTRICTED SALES PART** | FLHTCUSE5, FLHTCUSE5 BLK |
| 59699-06 | PROTECTIVE TAPE, rear fender (not illustrated) | FLHTCUSE5, FLHTCUSE5 BLK | |
| 14 | 59768-97 | NUT KIT, seat, w/ retention washer | FLHTCUSE5, FLHTCUSE5 BLK |
| 15 | 59786-01 | BOSS, fender mounting, inner (4) | FLHTCUSE5, FLHTCUSE5 BLK |
| 16 | 59788-01 | WASHER (4) | FLHTCUSE5, FLHTCUSE5 BLK |
| 17 | 67266-94 | GROMMET, 1/2 in. I.D. (nylon) (2) | FLHTCUSE5, FLHTCUSE5 BLK |
| 18 | 68772-09 | HARNESS, rear lamps, w/ 10006, 70522-06A, 73156-96BK, 73158-96BK & 73191-96 | FLHTCUSE5, FLHTCUSE5 BLK |
| 19 | 70522-06A | CONDUIT, wire harness, self-adhesive | FLHTCUSE5, FLHTCUSE5 BLK |
| 20 | 73156-96BK | SOCKET HOUSING, 6-place | FLHTCUSE5, FLHTCUSE5 BLK |
| 21 | 73158-96BK | SOCKET HOUSING, 8-place | FLHTCUSE5, FLHTCUSE5 BLK |
| 22 | 73191-96 | SOCKET TERMINAL, #16-20 AWG (12) | FLHTCUSE5, FLHTCUSE5 BLK |
| 23 | 91140-09 | BRACKET, fender to saddlebag support | FLHTCUSE5, FLHTCUSE5 BLK |
| INTERNATIONAL MODELS ONLY | |||
| 24 | 59581-05 | BUMPER, rear fender (black) (HDI) | FLHTCUSE5, FLHTCUSE5 BLK |
| Index No. | Part No. | Description | Model(s) |
| 1 | 1332 | SCREW (2) | FLHTCUSE5 |
| 1333 | SCREW (black) (2) | FLHTCUSE5 BLK | |
| 2 | 3337 | SCREW (4) | FLHTCUSE5 |
| 2234 | SCREW (black) (4) | FLHTCUSE5 BLK | |
| 3 | 3514 | SCREW, passing lamp molding (2) | FLHTCUSE5, FLHTCUSE5 BLK |
| 4 | 7041 | LOCKWASHER (2) | FLHTCUSE5 |
| 7085 | LOCKWASHER (black) (2) | FLHTCUSE5 BLK | |
| 5 | 7130W | LOCKWASHER (2) | FLHTCUSE5, FLHTCUSE5 BLK |
| 6 | 7606 | LOCKNUT (2) | FLHTCUSE5, FLHTCUSE5 BLK |
| 7 | 7667 | NUT (2) | FLHTCUSE5, FLHTCUSE5 BLK |
| 8 | 10065 | CABLE STRAP (4) | FLHTCUSE5, FLHTCUSE5 BLK |
| 9 | 40901-05 | ISOLATOR, rubber (2) | FLHTCUSE5, FLHTCUSE5 BLK |
| 10 | 57920-04 | WASHER (4) | FLHTCUSE5 |
| 12401 | WASHER (black) (4) | FLHTCUSE5 BLK | |
| 11 | 68331-02 | RING, auxiliary lamp (2) | FLHTCUSE5, FLHTCUSE5 BLK |
| 12 | 68414-05 | AUXILIARY LAMP (clear) (Domestic) (2) | FLHTCUSE5, FLHTCUSE5 BLK |
| 13 | 68453-05 | BULB, 26.9W auxiliary lamp (2) | FLHTCUSE5, FLHTCUSE5 BLK |
| 14 | 68725-62A | BEZEL RING, passing lamps (2) | FLHTCUSE5, FLHTCUSE5 BLK |
| 15 | 68821-00 | STAND-OFF (2) | FLHTCUSE5 |
| 73333-10 | STAND-OFF (2) | FLHTCUSE5 BLK | |
| 16 | 68836-04A | BAR ASSEMBLY, left, w/ 69563-06 & bar | FLHTCUSE5 |
| 69481-10 | BAR ASSEMBLY, left, w/ 69563-06 & bar | FLHTCUSE5 BLK | |
| 68837-04A | BAR ASSEMBLY, right, w/ 69563-06 & bar | FLHTCUSE5 | |
| 69485-10 | BAR ASSEMBLY, right, w/ 69563-06 & bar | FLHTCUSE5 BLK | |
| 17 | 69325-02 | LENS, turn signal (2) | FLHTCUSE5, FLHTCUSE5 BLK |
| 18 | 69326-10 | TURN SIGNAL ASSEMBLY, front, w/ 69325-02 & 69331-02 (2) | FLHTCUSE5 |
| 73329-10 | TURN SIGNAL ASSEMBLY, front, w/ 69325-02 & 69331-02 (black) (2) | FLHTCUSE5 BLK | |
| 19 | 69331-02 | BULB, turn signal (amber) (2) | FLHTCUSE5, FLHTCUSE5 BLK |
| 20 | 69563-06 | CLAMP BLOCK (2) | FLHTCUSE5, FLHTCUSE5 BLK |
| 21 | 69567-06 | HOUSING, auxiliary lamp assembly w/ 72161-06, 72298-95 & 72356-95 (2) | FLHTCUSE5 |
| 73340-10 | HOUSING, auxiliary lamp assembly w/ 72161-06, 72298-95 & 72356-95 (black) (2) | FLHTCUSE5 BLK | |
| 22 | 72161-06 | SOCKET HOUSING, 2-way (2) | FLHTCUSE5, FLHTCUSE5 BLK |
| 23 | 72298-95 | CABLE SEAL, green (4) | FLHTCUSE5, FLHTCUSE5 BLK |
| 24 | 72356-95 | TERMINAL, #18-20 AWG (4) | FLHTCUSE5, FLHTCUSE5 BLK |
| 25 | 73154-96BK | SOCKET HOUSING, 4-place (black) (2) | FLHTCUSE5, FLHTCUSE5 BLK |
| 26 | 73191-96 | SOCKET TERMINAL (domestic) (4) | FLHTCUSE5, FLHTCUSE5 BLK |
| 73191-96 | SOCKET TERMINAL (HDI) (3) | FLHTCUSE5, FLHTCUSE5 BLK | |
| INTERNATIONAL MODELS ONLY | |||
| 27 | 68163-84 | BULB, turn signal (HDI) (2) | FLHTCUSE5, FLHTCUSE5 BLK |
| 28 | 68847-09 | FOGLAMP BULB, w/ 68453-05 (HDI) (2) | FLHTCUSE5, FLHTCUSE5 BLK |
| 29 | 68973-00 | LENS (HDI) (2) | FLHTCUSE5, FLHTCUSE5 BLK |
| 30 | 69322-10 | TURN SIGNAL ASSEMBLY, front (amber), w/ 68163-84 & 68973-00 (HDI) (2) | FLHTCUSE5 |
| 73335-10 | TURN SIGNAL ASSEMBLY, front (amber), w/ 68163-84 & 68973-00 (black) (HDI) (2) | FLHTCUSE5 BLK | |
| Index No. | Part No. | Description | Model(s) |
| 1 | 3022A | SCREW | FLHTCUSE5, FLHTCUSE5 BLK |
| 2 | 7964 | J-NUT | FLHTCUSE5, FLHTCUSE5 BLK |
| 3 | 10006 | CABLE STRAP | FLHTCUSE5, FLHTCUSE5 BLK |
| 4 | 68026-99 | SCREW, tail lamp (2) | FLHTCUSE5, FLHTCUSE5 BLK |
| 5 | 68066-99A | TAIL LAMP BASE ASSEMBLY, w/ 68296-99A & 68830-99A | FLHTCUSE5, FLHTCUSE5 BLK |
| 6 | 68167-04 | BULB, tail light, wedge mount | FLHTCUSE5, FLHTCUSE5 BLK |
| 7 | 68296-99A | TAIL LAMP BASE (chrome) | FLHTCUSE5, FLHTCUSE5 BLK |
| 8 | 68140-04 | LIGHT ASSEMBLY, tail lamp, w/ 68369-03 & 68370-03A | FLHTCUSE5, FLHTCUSE5 BLK |
| 9 | 68369-03 | LENS, tail lamp, w/ 68026-99 | FLHTCUSE5, FLHTCUSE5 BLK |
| 10 | 68370-03A | BULB SOCKET ASSEMBLY, tail lamp, w/ 68167-04, 73154-96BK & 73191-96 | FLHTCUSE5, FLHTCUSE5 BLK |
| 11 | 68772-09 | HARNESS, rear lamps, w/ 10006, 70522-06A, 73156-96BK, 73158-96BK & 73191-96 | FLHTCUSE5, FLHTCUSE5 BLK |
| 12 | 68830-99A | CIRCUIT BOARD & COVER | FLHTCUSE5, FLHTCUSE5 BLK |
| 13 | 70522-06A | CONDUIT, self-adhesive | FLHTCUSE5, FLHTCUSE5 BLK |
| 14 | 73154-96BK | SOCKET HOUSING, 4-place (3) | FLHTCUSE5, FLHTCUSE5 BLK |
| 15 | 73156-96BK | SOCKET HOUSING, 6-place | FLHTCUSE5, FLHTCUSE5 BLK |
| 16 | 73158-96BK | SOCKET HOUSING, 8-place | FLHTCUSE5, FLHTCUSE5 BLK |
| 17 | 73191-96 | SOCKET TERMINAL, #16-20 AWG (24) | FLHTCUSE5, FLHTCUSE5 BLK |
| INTERNATIONAL MODELS ONLY | |||
| 18 | 68142-04 | LIGHT ASSEMBLY, tail lamp, w/ 68558-03 & 69187-03A (HDI) | FLHTCUSE5, FLHTCUSE5 BLK |
| 19 | 68167-04 | BULB, tail lamp, wedge mount (HDI) | FLHTCUSE5, FLHTCUSE5 BLK |
| 20 | 68558-03 | LENS, tail lamp, w/ 68026-99 (HDI) | FLHTCUSE5, FLHTCUSE5 BLK |
| 21 | 69187-03A | BULB SOCKET ASSEMBLY, tail light, w/ 68167-04, 73154-96BK & 73191-96 (HDI) | FLHTCUSE5, FLHTCUSE5 BLK |
| Index No. | Part No. | Description | Model(s) |
| 1 | 3728 | SCREW (2) | FLHTCUSE5, FLHTCUSE5 BLK |
| 2 | 3576 | SCREW (2) | FLHTCUSE5, FLHTCUSE5 BLK |
| 3 | 7036 | WASHER (2) | FLHTCUSE5, FLHTCUSE5 BLK |
| 4 | 57659-09 | BRACKET, reflector | FLHTCUSE5, FLHTCUSE5 BLK |
| 5 | 59359-06 | REFLECTOR | FLHTCUSE5, FLHTCUSE5 BLK |
| 6 | 67266-94 | GROMMET, 1/2 in. I.D. (nylon) (2) | FLHTCUSE5, FLHTCUSE5 BLK |
| 7 | 68629-05 | BRACKET, rear turn signal bar | FLHTCUSE5 |
| 73328-10 | BRACKET, rear turn signal bar (black) | FLHTCUSE5 BLK | |
| 8 | 69824-09 | LIGHT BAR ASSEMBLY, rear turn signal, w/ 3728, 7036, 57659-09, 68629-05, 68905-00, 69325-02, 69330-02, 73152-96BK & 73191-96 | FLHTCUSE5 |
| 73327-10 | LIGHT BAR ASSEMBLY, rear turn signal, w/ 3728, 7036, 57659-09, 68905-00, 69325-02, 69330-02, 73152-96BK, 73191-96 & 73328-10 (black) | FLHTCUSE5 BLK | |
| 9 | 68905-00 | SOCKET ASSEMBLY (2) | FLHTCUSE5, FLHTCUSE5 BLK |
| 10 | 69325-02 | LENS, turn signal (2) | FLHTCUSE5, FLHTCUSE5 BLK |
| 11 | 69330-02 | BULB, turn signal (2) | FLHTCUSE5, FLHTCUSE5 BLK |
| 12 | 73152-96BK | SOCKET HOUSING, 2-way (black) (2) | FLHTCUSE5, FLHTCUSE5 BLK |
| 13 | 73191-96 | SOCKET TERMINAL (4) | FLHTCUSE5, FLHTCUSE5 BLK |
| INTERNATIONAL MODELS ONLY | |||
| 14 | 2482 | SCREW (HDI) (2) | FLHTCUSE5, FLHTCUSE5 BLK |
| 15 | 3061 | SCREW (HDI) (2) | FLHTCUSE5, FLHTCUSE5 BLK |
| 16 | 7036 | WASHER (HDI) (2) | FLHTCUSE5, FLHTCUSE5 BLK |
| 17 | 59259-90 | REFLECTOR, red (HDI) | FLHTCUSE5, FLHTCUSE5 BLK |
| 18 | 60188-08 | LICENSE PLATE BRACKET, w/ 59259-90 (HDI) | FLHTCUSE5, FLHTCUSE5 BLK |
| 19 | 60909-09 | BUMPER, license plate bracket (HDI) | FLHTCUSE5, FLHTCUSE5 BLK |
| 20 | 68163-84 | BULB, turn signal (2) (HDI) | FLHTCUSE5, FLHTCUSE5 BLK |
| 21 | 68550-09 | BRACKET, rear turn signal bar (HDI) | FLHTCUSE5 |
| 73326-10 | BRACKET, rear turn signal bar (HDI) (black) | FLHTCUSE5 BLK | |
| 22 | 68973-00 | LENS, turn signal (HDI) (2) | FLHTCUSE5, FLHTCUSE5 BLK |
| 23 | 68997-09 | LAMP ASSEMBLY, rear turn signal, w/ 2482, 68163-84, 68550-09, 68973-00, 69378-09, 73152-96BK & 73191-96 (HDI) | FLHTCUSE5 |
| 73325-10 | LAMP ASSEMBLY, rear turn signal, w/ 2482, 68163-84, 68973-00, 69378-09, 73152-96BK, 73191-96 & 73326-10 (HDI) (black) | FLHTCUSE5 BLK | |
| 24 | 69378-09 | LIGHT ASSEMBLY, w/ 73191-96 & lens | FLHTCUSE5, FLHTCUSE5 BLK |
| 25 | 69380-09BHP | BRACKET, license plate (black) (HDI) | FLHTCUSE5, FLHTCUSE5 BLK |
| 26 | 73191-96 | TERMINAL, socket, 16-20 gauge (6) | FLHTCUSE5, FLHTCUSE5 BLK |
| Index No. | Part No. | Description | Model(s) |
| 1 | 3634 | SCREW (4) | FLHTCUSE5, FLHTCUSE5 BLK |
| 2 | 10039 | CABLE STRAP (2) | FLHTCUSE5, FLHTCUSE5 BLK |
| 3 | 10396 | RETAINER, fuel line, 3/8 (natural) | FLHTCUSE5, FLHTCUSE5 BLK |
| 4 | 11852 | COVER, tank bracket, left | FLHTCUSE5 |
| 70999-09 | COVER, tank bracket, left | FLHTCUSE5 BLK | |
| 5 | 11853 | COVER, tank bracket, right | FLHTCUSE5 |
| 70901-09 | COVER, tank bracket, right | FLHTCUSE5 BLK | |
| 6 | 27291-09 | TUBE, evaporative line, tank | FLHTCUSE5, FLHTCUSE5 BLK |
| 7 | 27440-09 | TUBE, evaporative line (except California) | FLHTCUSE5, FLHTCUSE5 BLK |
| 8 | 61356-08 | FUEL TANK (prime) | FLHTCUSE5, FLHTCUSE5 BLK |
| 61386-10DDW | FUEL TANK, w/ 62137-10 & 62138-10 (Scarlet Red Pearl/Dark Slate) **RESTRICTED SALES PART** | FLHTCUSE5 | |
| 61386-10DDY | FUEL TANK, w/ 62137-10 & 62138-10 (Riptide Blue/Titanium Dust) **RESTRICTED SALES PART** | FLHTCUSE5 | |
| 61386-10DEB | FUEL TANK, w/ 62137-10 & 62138-10 (Burnt Amber/Hot Citrus) **RESTRICTED SALES PART** | FLHTCUSE5 | |
| 61386-10DEE | FUEL TANK, w/ 62137-10 & 62138-10 (Crimson Mist Black/Dark Slate) **RESTRICTED SALES PART** | FLHTCUSE5 BLK | |
| 9 | 62137-10 | MEDALLION, fuel tank, left hand (chrome) **RESTRICTED SALES PART** | FLHTCUSE5, FLHTCUSE5 BLK |
| 62138-10 | MEDALLION, fuel tank, right hand (chrome) **RESTRICTED SALES PART** | FLHTCUSE5, FLHTCUSE5 BLK | |
| 10 | 62228-08A | CHECK VALVE, assembly, w/ 10396 | FLHTCUSE5, FLHTCUSE5 BLK |
| 11 | 62564-09 | SERVICE KIT, fuel tank mount (See Note) | FLHTCUSE5, FLHTCUSE5 BLK |
| 12 | 62905-08 | FUEL LINE, tank to intake | FLHTCUSE5, FLHTCUSE5 BLK |
| NOTE: Service kit for fuel tank mount is used on all motorcycles built prior to 11/19/2009. Service kit must be ordered if replacement parts are needed following initial installation. Refer to service bulletin number M-1264 for further information. | |||
| Index No. | Part No. | Description | Model(s) |
| 1 | 10395 | RETAINER, fuel line, 5/16 (black) | FLHTCUSE5, FLHTCUSE5 BLK |
| 2 | 11686 | O-RING | FLHTCUSE5, FLHTCUSE5 BLK |
| 3 | 61011-04A | FUEL FILTER KIT, w/ 11686 | FLHTCUSE5, FLHTCUSE5 BLK |
| 4 | 61012-04A | CLIP, filter retainer | FLHTCUSE5, FLHTCUSE5 BLK |
| 5 | 61015-04A | FUEL REGULATOR ASSEMBLY KIT, w/ o-rings & screen | FLHTCUSE5, FLHTCUSE5 BLK |
| 6 | 61213-04A | CLIP, regulator retainer | FLHTCUSE5, FLHTCUSE5 BLK |
| 7 | 61402-08 | GASKET, top plate | FLHTCUSE5, FLHTCUSE5 BLK |
| 8 | 62229-08A | FILTER SHELL | FLHTCUSE5, FLHTCUSE5 BLK |
| 9 | 62908-08 | PUMP ASSEMBLY, fuel, w/ 10395, 75229-08 & 75254-04A | FLHTCUSE5, FLHTCUSE5 BLK |
| 10 | 70369-08 | HARNESS, fuel tank w/ 11, 12, 13, 14, 15 & 16 | FLHTCUSE5, FLHTCUSE5 BLK |
| 11 | 72485-07 | SOCKET HOUSING, 4-way (black) | FLHTCUSE5, FLHTCUSE5 BLK |
| 12 | 72493-07 | TERMINAL SOCKET, 16-18 AWG (4) | FLHTCUSE5, FLHTCUSE5 BLK |
| 13 | 72494-07 | WIRE SEAL, 16-18 AWG (4) | FLHTCUSE5, FLHTCUSE5 BLK |
| 14 | 72557-07 | SECONDARY LOCK, 4-way | FLHTCUSE5, FLHTCUSE5 BLK |
| 15 | 73154-96BK | SOCKET HOUSING, 4-way (black) | FLHTCUSE5, FLHTCUSE5 BLK |
| 16 | 73191-96 | SOCKET TERMINAL, 16-20 gauge (4) | FLHTCUSE5, FLHTCUSE5 BLK |
| 17 | 75069-08B | TOP PLATE ASSEMBLY, w/ 3, 4, 5, 6, 8, 19 & 24 | FLHTCUSE5, FLHTCUSE5 BLK |
| 18 | 75089-08 | RING, fuel tank, cam | FLHTCUSE5, FLHTCUSE5 BLK |
| 19 | 75147-08A | TOP PLATE | FLHTCUSE5, FLHTCUSE5 BLK |
| 20 | 75205-08 | FUEL LEVEL SENDER | FLHTCUSE5, FLHTCUSE5 BLK |
| 21 | 75229-08 | HARNESS, fuel pump module | FLHTCUSE5, FLHTCUSE5 BLK |
| 22 | 75254-04A | STRAINER, fuel pump inlet | FLHTCUSE5, FLHTCUSE5 BLK |
| 23 | 75269-08 | TRANSFER TUBE, fuel pump | FLHTCUSE5, FLHTCUSE5 BLK |
| 24 | 75322-09 | HARNESS, ground, fuel pump module | FLHTCUSE5, FLHTCUSE5 BLK |
| Index No. | Part No. | Description | Model(s) |
| 1 | 3529 | SCREW (2) | FLHTCUSE5, FLHTCUSE5 BLK |
| 2 | 3588 | SCREW | FLHTCUSE5, FLHTCUSE5 BLK |
| 3 | 4194 | SCREW (5) | FLHTCUSE5, FLHTCUSE5 BLK |
| 4 | 4856 | SCREW | FLHTCUSE5, FLHTCUSE5 BLK |
| 5 | 8142 | NUT, speed | FLHTCUSE5, FLHTCUSE5 BLK |
| 6 | 10065 | CABLE STRAP (2) | FLHTCUSE5, FLHTCUSE5 BLK |
| 7 | 10103 | CLIP, adhesive backed (3) | FLHTCUSE5, FLHTCUSE5 BLK |
| 8 | 10334 | CLIP, hinge mounting | FLHTCUSE5, FLHTCUSE5 BLK |
| 9 | 53919-04A | PUSH BUTTON KIT, fuel tank, w/ 10334 & 84850-92 | FLHTCUSE5, FLHTCUSE5 BLK |
| 10 | 61007-10 | MEDALLION, fuel door **RESTRICTED SALES PART** | FLHTCUSE5, FLHTCUSE5 BLK |
| 11 | 61109-85D | GASKET, filler cap | FLHTCUSE5, FLHTCUSE5 BLK |
| 12 | 61112-08 | BOOT | FLHTCUSE5, FLHTCUSE5 BLK |
| 13 | 61270-08 | CONSOLE ASSEMBLY, w/ hinge pin | FLHTCUSE5, FLHTCUSE5 BLK |
| 14 | 61274-92 | FUEL FILLER CAP, vacuum vented, w/ 61109-85D | FLHTCUSE5, FLHTCUSE5 BLK |
| 15 | 61293-08 | DOOR, console | FLHTCUSE5, FLHTCUSE5 BLK |
| 16 | 61313-88 | BUMPER, cover (2) | FLHTCUSE5, FLHTCUSE5 BLK |
| 17 | 62775-08 | TRIM COVER, fuel tank | FLHTCUSE5, FLHTCUSE5 BLK |
| 18 | 67493-08 | BRACKET, console mount | FLHTCUSE5, FLHTCUSE5 BLK |
| 19 | 69241-08 | DRAIN HOSE, console | FLHTCUSE5, FLHTCUSE5 BLK |
| 20 | 71294-08 | MOLDING, rubber (2) | FLHTCUSE5, FLHTCUSE5 BLK |
| 21 | 74119-98BK | HOUSING, socket, 12-way (black) | FLHTCUSE5, FLHTCUSE5 BLK |
| 22 | 74159-98 | SECONDARY LOCK, 12-way socket | FLHTCUSE5, FLHTCUSE5 BLK |
| 23 | 74191-98 | SOCKET TERMINAL (7) | FLHTCUSE5, FLHTCUSE5 BLK |
| 24 | 74195-98 | SEAL PIN (5) | FLHTCUSE5, FLHTCUSE5 BLK |
| 25 | 74729-10 | INSERT, console pod, CB intercom **RESTRICTED SALES PART** | FLHTCUSE5 |
| 74733-10 | INSERT, console pod, CB intercom, serialized **RESTRICTED SALES PART** | FLHTCUSE5 BLK | |
| 26 | 76266-98 | CAP ASSEMBLY, weather | FLHTCUSE5, FLHTCUSE5 BLK |
| 27 | 77121-08 | HARNESS, console DIN, w/ 10065, 74119-98BK, 74159-98, 74191-98 & 74195-98 | FLHTCUSE5, FLHTCUSE5 BLK |
| 28 | 77153-08 | HOUSING, pod (chrome) | FLHTCUSE5, FLHTCUSE5 BLK |
| 29 | 77177-08 | BRACKET, retainer, rear, console pod | FLHTCUSE5, FLHTCUSE5 BLK |
| 30 | 77188-08 | BRACKET, retainer, front, console pod (2) | FLHTCUSE5, FLHTCUSE5 BLK |
| 31 | 84850-92 | NUT | FLHTCUSE5, FLHTCUSE5 BLK |
| Index No. | Part No. | Description | Model(s) |
| NOTE: These parts are required for motorcycles sold in the state of California. | |||
| 1 | 4612 | SCREW (2) | FLHTCUSE5, FLHTCUSE5 BLK |
| 2 | 27291-09 | EVAP LINE, tank | FLHTCUSE5, FLHTCUSE5 BLK |
| 3 | 27297-09 | EVAP LINE, canister | FLHTCUSE5, FLHTCUSE5 BLK |
| 4 | 27298-09 | EVAP LINE, purge to canister | FLHTCUSE5, FLHTCUSE5 BLK |
| 5 | 27433-08 | CARBON CANISTER | FLHTCUSE5, FLHTCUSE5 BLK |
| 6 | 27439-09 | TUBE, solenoid to induction module | FLHTCUSE5, FLHTCUSE5 BLK |
| 7 | 27715-07 | SOLENOID, purge valve | FLHTCUSE5, FLHTCUSE5 BLK |
| 8 | 70681-09 | RETAINER (2) | FLHTCUSE5, FLHTCUSE5 BLK |
| Index No. | Part No. | Description | Model(s) |
| 1A | 2225 | SCREW (6) | FLHTCUSE5, FLHTCUSE5 BLK |
| 1 | 3576 | SCREW | FLHTCUSE5, FLHTCUSE5 BLK |
| 2 | 3929 | SCREW (4) | FLHTCUSE5, FLHTCUSE5 BLK |
| 3 | 4705 | SCREW (2) | FLHTCUSE5, FLHTCUSE5 BLK |
| 4 | 5416 | BOLT | FLHTCUSE5, FLHTCUSE5 BLK |
| 5 | 7041 | LOCKWASHER (4) | FLHTCUSE5, FLHTCUSE5 BLK |
| 6 | 7593 | NUT (4) | FLHTCUSE5, FLHTCUSE5 BLK |
| 7 | 7601 | LOCKNUT | FLHTCUSE5, FLHTCUSE5 BLK |
| 7A | 8146 | NUT CLIP (6) | FLHTCUSE5, FLHTCUSE5 BLK |
| 8 | 9955 | CLAMP, worm drive #24 (7) | FLHTCUSE5, FLHTCUSE5 BLK |
| 9 | 9956 | CLAMP, worm drive #40 | FLHTCUSE5, FLHTCUSE5 BLK |
| 10 | 11936 | GASKET, oxygen (O2) sensor (2) | FLHTCUSE5, FLHTCUSE5 BLK |
| 11 | 27729-10 | SENSOR, oxygen (O2), front, w/ 11936, 72344-10, 72444-07GY & 73307-10 | FLHTCUSE5, FLHTCUSE5 BLK |
| 12 | 27809-10 | SENSOR, oxygen (O2), rear, w/ 11936, 72177-07BK, 72344-10 & 73307-10 | FLHTCUSE5, FLHTCUSE5 BLK |
| 13 | 64768-09 | MUFFLER, left, (chrome) (Domestic, Canada, California) | FLHTCUSE5, FLHTCUSE5 BLK |
| 14 | 64769-09 | MUFFLER, right, (chrome) (Domestic, Canada, California) | FLHTCUSE5, FLHTCUSE5 BLK |
| 15 | 65184-02 | FLANGE, exhaust manifold (2) | FLHTCUSE5, FLHTCUSE5 BLK |
| 16 | 65296-95A | MUFFLER CLAMP (2) | FLHTCUSE5, FLHTCUSE5 BLK |
| 18 | 65324-83B | GASKET, exhaust port (2) | FLHTCUSE5, FLHTCUSE5 BLK |
| 19 | 65325-83A | RETAINING RING, exhaust gasket (2) | FLHTCUSE5, FLHTCUSE5 BLK |
| 20 | 65634-09 | SHIELD, right exhaust pipe, front | FLHTCUSE5, FLHTCUSE5 BLK |
| 21 | 65636-09 | SHIELD, left exhaust pipe, rear | FLHTCUSE5, FLHTCUSE5 BLK |
| 22 | 65678-09 | BRACKET, rear exhaust mount | FLHTCUSE5, FLHTCUSE5 BLK |
| 23 | 65723-85 | MOUNTING BRACKET (2) | FLHTCUSE5, FLHTCUSE5 BLK |
| 24 | 65724-85 | MOUNT, rubber (2) | FLHTCUSE5, FLHTCUSE5 BLK |
| 25 | 65951-09 | HEAT SHIELD ASSEMBLY, rear exhaust pipe | FLHTCUSE5, FLHTCUSE5 BLK |
| 26 | 65952-09 | HEAT SHIELD ASSEMBLY, exhaust pipe, right rear lower | FLHTCUSE5, FLHTCUSE5 BLK |
| 27 | 66047-05 | CLAMP, worm (6) | FLHTCUSE5, FLHTCUSE5 BLK |
| 28 | 66078-06 | RING, retention (2) | FLHTCUSE5, FLHTCUSE5 BLK |
| 29 | 66079-06 | END CAP (2) | FLHTCUSE5, FLHTCUSE5 BLK |
| 30 | 66219-06 | HEAT SHIELD, muffler, right (Domestic, Canada, California) | FLHTCUSE5, FLHTCUSE5 BLK |
| 66220-06 | HEAT SHIELD, muffler, left (Domestic, Canada, California) | FLHTCUSE5, FLHTCUSE5 BLK | |
| 31 | 66813-09 | GASKET, clamp | FLHTCUSE5, FLHTCUSE5 BLK |
| 32 | 66855-10A | EXHAUST PIPE ASSEMBLY, catalytic (Domestic, Canada, California) (chrome) | FLHTCUSE5, FLHTCUSE5 BLK |
| 33 | 66858-09 | CROSSOVER PIPE ASSEMBLY (chrome) | FLHTCUSE5, FLHTCUSE5 BLK |
| 34 | 66859-09 | CLAMP, exhaust | FLHTCUSE5, FLHTCUSE5 BLK |
| 35 | 66861-09A | CLAMP, exhaust pipe, hinged | FLHTCUSE5, FLHTCUSE5 BLK |
| 36 | 66881-09 | BRACKET, exhaust pipe hanger | FLHTCUSE5, FLHTCUSE5 BLK |
| 37 | 72177-07BK | HOUSING, 4-way, socket (black) | FLHTCUSE5, FLHTCUSE5 BLK |
| 38 | 72344-10 | TERMINAL, socket, 22 AWG (gold) (4) | FLHTCUSE5, FLHTCUSE5 BLK |
| 39 | 72444-07GY | HOUSING, 4-way, socket (gray) | FLHTCUSE5, FLHTCUSE5 BLK |
| 40 | 73307-10 | TERMINAL, socket, 22 AWG (4) | FLHTCUSE5, FLHTCUSE5 BLK |
| INTERNATIONAL MODELS ONLY | |||
| 41 | 65742-05 | HEAT SHIELD, muffler, right (HDI, Japan) | FLHTCUSE5, FLHTCUSE5 BLK |
| 65743-05 | HEAT SHIELD, muffler, left (HDI, Japan) | FLHTCUSE5, FLHTCUSE5 BLK | |
| 42 | 65748-09 | MUFFLER ASSEMBLY, right (chrome) (Japan) | FLHTCUSE5, FLHTCUSE5 BLK |
| 65863-09 | MUFFLER ASSEMBLY, right (chrome) (HDI) | FLHTCUSE5, FLHTCUSE5 BLK | |
| 43 | 65949-09 | MUFFLER ASSEMBLY, left (chrome) (HDI, Japan) | FLHTCUSE5, FLHTCUSE5 BLK |
| 44 | 66849-10 | EXHAUST PIPE ASSEMBLY, catalytic (chrome) (HDI) | FLHTCUSE5, FLHTCUSE5 BLK |
| 66855-10A | EXHAUST PIPE ASSEMBLY, catalytic (chrome) (Japan) | FLHTCUSE5, FLHTCUSE5 BLK | |
| Index No. | Part No. | Description | Model(s) |
| INTERNATIONAL MODELS ONLY | |||
| 1 | 3993 | BOLT (HDI except Japan) (2) | FLHTCUSE5, FLHTCUSE5 BLK |
| 2 | 6119 | WASHER (HDI except Japan) (2) | FLHTCUSE5, FLHTCUSE5 BLK |
| 3 | 18083-09 | RETAINER, exhaust cable (HDI except Japan) | FLHTCUSE5, FLHTCUSE5 BLK |
| 4 | 66761-09A | CABLE, contol, exhaust valve w/ 66767-07 (HDI except Japan) | FLHTCUSE5, FLHTCUSE5 BLK |
| 5 | 66767-07 | RETAINER CABLE (HDI except Japan) | FLHTCUSE5, FLHTCUSE5 BLK |
| 6 | 70991-07 | EXHAUST ACTUATOR, w/ 71019-07 (HDI except Japan) | FLHTCUSE5, FLHTCUSE5 BLK |
| 7 | 71019-07 | SHROUD, exhaust actuator, (HDI except Japan) | FLHTCUSE5, FLHTCUSE5 BLK |
| Index No. | Part No. | Description | Model(s) |
| 1 | 3403 | LOCKNUT, flange | FLHTCUSE5, FLHTCUSE5 BLK |
| 2 | 3634 | SCREW (6) | FLHTCUSE5, FLHTCUSE5 BLK |
| 3 | 4312C | SCREW (2) | FLHTCUSE5, FLHTCUSE5 BLK |
| 4 | 7792 | NUT | FLHTCUSE5, FLHTCUSE5 BLK |
| 5 | 10368A | RETENTION CLIP, battery box | FLHTCUSE5, FLHTCUSE5 BLK |
| 6 | 15368-01A | LABEL BATTERY WARNING | FLHTCUSE5, FLHTCUSE5 BLK |
| 7 | 66010-97C | BATTERY, w/ 4312C | FLHTCUSE5, FLHTCUSE5 BLK |
| 8 | 66051-08 | STRAP, battery removal | FLHTCUSE5, FLHTCUSE5 BLK |
| 9 | 66200-09 | BRACKET, battery hold down | FLHTCUSE5, FLHTCUSE5 BLK |
| 10 | 66281-09B | BATTERY TRAY | FLHTCUSE5, FLHTCUSE5 BLK |
| 11 | 70267-09 | CABLE ASSEMBLY, starter to ground, w/ 72242-94 | FLHTCUSE5, FLHTCUSE5 BLK |
| 12 | 70344-09 | CADDY, electronic control module (ECM) | FLHTCUSE5, FLHTCUSE5 BLK |
| 13 | 70377-09 | CABLE ASSEMBLY, battery positive to starter, w/ 70578-89, 73304-04 & 73305-04 | FLHTCUSE5, FLHTCUSE5 BLK |
| 14 | 70578-89 | BOOT, battery positive | FLHTCUSE5, FLHTCUSE5 BLK |
| 15 | 72242-94 | TERMINAL, ring | FLHTCUSE5, FLHTCUSE5 BLK |
| 16 | 73304-04 | TERMINAL, female, 10 AWG | FLHTCUSE5, FLHTCUSE5 BLK |
| 17 | 73305-04 | SEAL WIRE, 10 AWG (blue) | FLHTCUSE5, FLHTCUSE5 BLK |
| Index No. | Part No. | Description | Model(s) |
| 1 | 3563 | SCREW (2) | FLHTCUSE5, FLHTCUSE5 BLK |
| 2 | 4775 | SCREW (2) | FLHTCUSE5, FLHTCUSE5 BLK |
| 3 | 6019 | WASHER (2) | FLHTCUSE5, FLHTCUSE5 BLK |
| 4 | 6109 | WASHER | FLHTCUSE5, FLHTCUSE5 BLK |
| 5 | 7495 | NUT | FLHTCUSE5, FLHTCUSE5 BLK |
| 6 | 7549A | ACORN NUT | FLHTCUSE5, FLHTCUSE5 BLK |
| 7 | 8108 | SPEEDNUT (2) | FLHTCUSE5, FLHTCUSE5 BLK |
| 8 | 10039 | CABLE STRAP | FLHTCUSE5, FLHTCUSE5 BLK |
| 9 | 16316-08 | BRACKET ASSEMBLY, horn mount | FLHTCUSE5, FLHTCUSE5 BLK |
| 10 | 69012-93A | COVER, horn (chrome) | FLHTCUSE5 |
| 69050-08 | COVER, horn (black) | FLHTCUSE5 BLK | |
| 11 | 69060-90F | HORN ASSEMBLY | FLHTCUSE5, FLHTCUSE5 BLK |
| 12 | 69062-91A | CLAMP | FLHTCUSE5, FLHTCUSE5 BLK |
| 13 | 69120-91 | BRACKET, horn | FLHTCUSE5 |
| 69274-10 | BRACKET, horn (black) | FLHTCUSE5 BLK | |
| 14 | 69123-92A | MOUNT, horn, rubber | FLHTCUSE5, FLHTCUSE5 BLK |
| Index No. | Part No. | Description | Model(s) |
| 70232-10 | WIRING HARNESS, interconnect | FLHTCUSE5, FLHTCUSE5 BLK | |
| NOTE: Includes the following parts. | |||
| 1 | 9839 | TERMINAL, positive lock (9) | FLHTCUSE5, FLHTCUSE5 BLK |
| 2 | 9847 | CONNECTOR, right hand female spade | FLHTCUSE5, FLHTCUSE5 BLK |
| 3 | 9848 | CONNECTOR, left hand female spade (2) | FLHTCUSE5, FLHTCUSE5 BLK |
| 4 | 9898 | TERMINAL, female flag, 14-16 gauge | FLHTCUSE5, FLHTCUSE5 BLK |
| 5 | 9937 | TERMINAL, female spade, 14-18 AWG (11) | FLHTCUSE5, FLHTCUSE5 BLK |
| 6 | 10039 | CABLE STRAP | FLHTCUSE5, FLHTCUSE5 BLK |
| 7 | 10065 | CABLE STRAP (12) | FLHTCUSE5, FLHTCUSE5 BLK |
| 8 | 10073 | CABLE STRAP, rosebud mount | FLHTCUSE5, FLHTCUSE5 BLK |
| 9 | 10147 | CLIP, connector, rosebud mount | FLHTCUSE5, FLHTCUSE5 BLK |
| 10 | 67854-98 | SWITCH, trip reset | FLHTCUSE5, FLHTCUSE5 BLK |
| 11 | 72056-92 | HOUSING, terminal 3-way | FLHTCUSE5, FLHTCUSE5 BLK |
| 12 | 72116-94BK | SOCKET HOUSING, 6-way, sealed, (black) | FLHTCUSE5, FLHTCUSE5 BLK |
| 13 | 72130-04 | SOCKET HOUSING, 12-way (black) | FLHTCUSE5, FLHTCUSE5 BLK |
| 14 | 72131-04 | SOCKET HOUSING, 12-way (gray) | FLHTCUSE5, FLHTCUSE5 BLK |
| 15 | 72156-94 | SOCKET LOCK, secondary 6-way | FLHTCUSE5, FLHTCUSE5 BLK |
| 16 | 72167-07BK | HOUSING, pin, 16-way | FLHTCUSE5, FLHTCUSE5 BLK |
| 17 | 72168-07 | TERMINAL, socket, 18-20 AWG (20) | FLHTCUSE5, FLHTCUSE5 BLK |
| 18 | 72169-07 | TERMINAL, pin, 16-18 AWG (28) | FLHTCUSE5, FLHTCUSE5 BLK |
| 19 | 72189-04 | SEAL PIN (11) | FLHTCUSE5, FLHTCUSE5 BLK |
| 20 | 72191-94 | TERMINAL, socket, 16-18 AWG (4) | FLHTCUSE5, FLHTCUSE5 BLK |
| 21 | 72195-94 | SEAL PIN (2) | FLHTCUSE5, FLHTCUSE5 BLK |
| 22 | 72200-94A | HOUSING, 3-way, female (4) | FLHTCUSE5, FLHTCUSE5 BLK |
| 23 | 72203-96 | HOUSING, 2-way (4) | FLHTCUSE5, FLHTCUSE5 BLK |
| 24 | 72205-94 | CONNECTOR, 4-way, male | FLHTCUSE5, FLHTCUSE5 BLK |
| 25 | 72208-94 | TERMINAL, 12 AWG, male | FLHTCUSE5, FLHTCUSE5 BLK |
| 26 | 72210-94 | TERMINAL, 14 AWG, male (3) | FLHTCUSE5, FLHTCUSE5 BLK |
| 27 | 72272-07 | TERMINAL, socket, 14-16 AWG (6) | FLHTCUSE5, FLHTCUSE5 BLK |
| 28 | 72290-94 | TERMINAL, insulated (5) | FLHTCUSE5, FLHTCUSE5 BLK |
| 29 | 72294-94 | TERMINAL, 16-20 AWG, female (2) | FLHTCUSE5, FLHTCUSE5 BLK |
| 30 | 72364-06 | TERMINAL, 10-14 AWG, female | FLHTCUSE5, FLHTCUSE5 BLK |
| 31 | 72381-98 | TERMINAL, socket (22) | FLHTCUSE5, FLHTCUSE5 BLK |
| 32 | 72382-98BK | HOUSING, 23-place (black) | FLHTCUSE5, FLHTCUSE5 BLK |
| 33 | 72397-98 | SEAL PIN | FLHTCUSE5, FLHTCUSE5 BLK |
| 34 | 72473-07 | SEAL PIN (4) | FLHTCUSE5, FLHTCUSE5 BLK |
| 35 | 72487-07BK | SOCKET HOUSING, 12-way (black) | FLHTCUSE5, FLHTCUSE5 BLK |
| 36 | 72490-07GY | PIN HOUSING, 12-way (gray) | FLHTCUSE5, FLHTCUSE5 BLK |
| 37 | 72491-07GY | SOCKET HOUSING, 16-way (gray) | FLHTCUSE5, FLHTCUSE5 BLK |
| 38 | 72902-01BK | PIN HOUSING, 2-way (black) | FLHTCUSE5, FLHTCUSE5 BLK |
| 39 | 72912-01BK | SOCKET HOUSING, 2-way (black) | FLHTCUSE5, FLHTCUSE5 BLK |
| 40 | 72991-01 | SOCKET TERMINAL, 18-22 AWG (2) | FLHTCUSE5, FLHTCUSE5 BLK |
| 41 | 73102-96BK | PIN HOUSING, 2-place (black) | FLHTCUSE5, FLHTCUSE5 BLK |
| 42 | 73104-96BK | PIN HOUSING, 4-place (black) (2) | FLHTCUSE5, FLHTCUSE5 BLK |
| 43 | 73110-96BK | PIN HOUSING, 10-place (black) | FLHTCUSE5, FLHTCUSE5 BLK |
| 44 | 73112-96BK | PIN HOUSING, 12-way (black) | FLHTCUSE5, FLHTCUSE5 BLK |
| 45 | 73153-96BK | SOCKET HOUSING, 3-way (black) | FLHTCUSE5, FLHTCUSE5 BLK |
| 46 | 73190-96 | TERMINAL, pin, 16-20 AWG (29) | FLHTCUSE5, FLHTCUSE5 BLK |
| 47 | 73191-96 | SOCKET TERMINAL, 16-20 AWG (2) | FLHTCUSE5, FLHTCUSE5 BLK |
| 48 | 73196-96 | ANCHOR, t-stud (2) | FLHTCUSE5, FLHTCUSE5 BLK |
| 49 | 73213-07 | RETAINER, x-mas tree clip (2) | FLHTCUSE5, FLHTCUSE5 BLK |
| 50 | 74196-04 | TERMINAL, socket (13) | FLHTCUSE5, FLHTCUSE5 BLK |
| 51 | 74197-04 | SOCKET LOCK, secondary 12-way (2) | FLHTCUSE5, FLHTCUSE5 BLK |
| Index No. | Part No. | Description | Model(s) |
| 1 | 2647B | SCREW (2) | FLHTCUSE5, FLHTCUSE5 BLK |
| 2 | 2692WB | SCREW | FLHTCUSE5, FLHTCUSE5 BLK |
| 3 | 4741A | SCREW | FLHTCUSE5, FLHTCUSE5 BLK |
| 4 | 6150W | WASHER (2) | FLHTCUSE5, FLHTCUSE5 BLK |
| 5 | 9907 | WIRE TERMINAL (2) | FLHTCUSE5, FLHTCUSE5 BLK |
| 6 | 10065 | CABLE STRAP | FLHTCUSE5, FLHTCUSE5 BLK |
| 7 | 11929 | SWITCH SPACER, ignition switch, bottom (Domestic) | FLHTCUSE5 BLK |
| 8 | 12202 | COLLAR, ignition switch, top (Domestic) | FLHTCUSE5 BLK |
| 9 | 33926-06B | SWITCH, neutral indicator, w/ o-ring | FLHTCUSE5, FLHTCUSE5 BLK |
| 54033-09 | LOCKSET COMPLETE, w/ key & fob assembly, ignition knob, tour-pak & saddlebag lock (Domestic) | FLHTCUSE5 | |
| 76607-10 | LOCKSET COMPLETE, w/ key & fob assembly, ignition knob, tour-pak & saddlebag lock (Domestic) | FLHTCUSE5 BLK | |
| 10 | 68924-07 | MODULE, security system & turn signal canceller (Domestic) | FLHTCUSE5, FLHTCUSE5 BLK |
| 11 | 68926-07 | REMOTE CONTROL FOB, security system (Domestic) (2) | FLHTCUSE5, FLHTCUSE5 BLK |
| 12 | 68956-07 | ANTENNA MODULE, security system (Domestic) | FLHTCUSE5, FLHTCUSE5 BLK |
| 13 | 68958-07C | SIREN (Domestic) | FLHTCUSE5, FLHTCUSE5 BLK |
| 14 | 69309-10 | BATTERY, siren | FLHTCUSE5, FLHTCUSE5 BLK |
| 15 | 70617-07 | HARNESS, hands free security antenna jumper, w/ 72114-94BK, 72154-94, 72191-94, 72195-94, 72720-07 & 72721-07 (Domestic) | FLHTCUSE5, FLHTCUSE5 BLK |
| 16 | 71031-04 | KEY, cvo, decorative | FLHTCUSE5, FLHTCUSE5 BLK |
| 17 | 71422-03 | PLATE, ignition switch | FLHTCUSE5, FLHTCUSE5 BLK |
| 18 | 71459-03 | SPRING, ignition knob | FLHTCUSE5, FLHTCUSE5 BLK |
| 19 | 71466-03 | DECAL, ignition switch knob | FLHTCUSE5 |
| 20 | 71532-03 | KNOB, ignition switch, w/ 71466-03 | FLHTCUSE5 |
| 21 | 71572-06 | IGNITION SWITCH, w/ 71638-03, 71660-03 & 71661-03 (Domestic) | FLHTCUSE5 |
| 22 | 71638-03 | COLLAR, ignition switch, bottom | FLHTCUSE5 |
| 23 | 71660-03 | NUT, ignition switch | FLHTCUSE5, FLHTCUSE5 BLK |
| 24 | 71661-03 | COLLAR, ignition switch, top | FLHTCUSE5 |
| 25 | 72023-51D | KIT, SWITCH, rear brakelite, w/ 9907 | FLHTCUSE5, FLHTCUSE5 BLK |
| 26 | 72114-94BK | SOCKET HOUSING, 4-way (black) (replaces gray connector) | FLHTCUSE5, FLHTCUSE5 BLK |
| 27 | 72154-94 | SOCKET LOCK, secondary, 4-way | FLHTCUSE5, FLHTCUSE5 BLK |
| 28 | 72191-94 | TERMINAL, socket, 16-18 AWG (3) | FLHTCUSE5, FLHTCUSE5 BLK |
| 29 | 72195-94 | SEAL PIN | FLHTCUSE5, FLHTCUSE5 BLK |
| 30 | 72720-07 | HOUSING, 2-way socket | FLHTCUSE5, FLHTCUSE5 BLK |
| 31 | 72721-07 | TERMINAL, socket, 18-20 AWG (2) | FLHTCUSE5, FLHTCUSE5 BLK |
| 32 | 72916-10GN | SOCKET HOUSING, 2-way (green) | FLHTCUSE5 BLK |
| 33 | 76524-08 | MODULE, power lock receiver | FLHTCUSE5, FLHTCUSE5 BLK |
| 34 | 76525-08 | BRACKET, power lock receiver module | FLHTCUSE5, FLHTCUSE5 BLK |
| 35 | 76537-08 | KEY & FOB ASSEMBLY, power lock (specify key code) (Domestic) (2) | FLHTCUSE5, FLHTCUSE5 BLK |
| 36 | 76608-10 | KNOB, ignition, power lock, w/ 76609-10 (Domestic) | FLHTCUSE5 BLK |
| 37 | 76609-10 | INSERT, ignition knob (Domestic) | FLHTCUSE5 BLK |
| 38 | 76611-10 | IGNITION SWITCH, w/ 11929, 12202 & 71660-03 (Domestic) | FLHTCUSE5 BLK |
| For additional fuse, relay, and circuit breaker part number information see wiring harness pages | |||
| Index No. | Part No. | Description | Model(s) |
| INTERNATIONAL MODELS ONLY | |||
| 39 | 2934 | SCREW (HDI, Japan) (2) | FLHTCUSE5, FLHTCUSE5 BLK |
| 40 | 11929 | SWITCH SPACER, ignition switch, bottom (HDI) | FLHTCUSE5 BLK |
| 41 | 12202 | COLLAR, ignition switch, top (HDI) | FLHTCUSE5 BLK |
| 54033-09 | LOCKSET COMPLETE, w/ key & fob assembly, ignition knob, tour-pak & saddlebag lock (HDI) | FLHTCUSE5 | |
| 76607-10 | LOCKSET COMPLETE, w/ key & fob assembly, ignition knob, tour-pak & saddlebag lock (HDI) | FLHTCUSE5 BLK | |
| 54034-09 | LOCKSET COMPLETE, w/ keys, ignition knob, tour-pak & saddlebag lock (Japan) | FLHTCUSE5 | |
| 76613-10 | LOCKSET COMPLETE, w/ keys, ignition knob, tour-pak & saddlebag lock (Japan) | FLHTCUSE5 BLK | |
| 42 | 61081-92 | COVER, key head, set (Japan) | FLHTCUSE5, FLHTCUSE5 BLK |
| 43 | 68924-07 | MODULE, security system & turn signal canceller (HDI) | FLHTCUSE5, FLHTCUSE5 BLK |
| 68922-07 | MODULE, security system & turn signal canceller (Japan) | FLHTCUSE5, FLHTCUSE5 BLK | |
| 44 | 68926-07 | REMOTE CONTROL FOB, security system (HDI) (2) | FLHTCUSE5, FLHTCUSE5 BLK |
| 68939-00 | REMOTE CONTROL FOB, security system (Japan) (2) | FLHTCUSE5, FLHTCUSE5 BLK | |
| 45 | 68956-07 | ANTENNA MODULE, security system (HDI) | FLHTCUSE5, FLHTCUSE5 BLK |
| 46 | 68958-07C | SIREN (HDI, Japan) | FLHTCUSE5, FLHTCUSE5 BLK |
| 47 | 70617-07 | HARNESS, hands free security antenna jumper, w/ 72114-94GY, 72154-94, 72191-94, 72195-94, 72720-07 & 72721-07 (HDI, Japan) | FLHTCUSE5, FLHTCUSE5 BLK |
| 48 | 71452-91A | KEY (specify key code) (Japan) (2) | FLHTCUSE5, FLHTCUSE5 BLK |
| 49 | 71530-03B | IGNITION SWITCH, w/ 71638-03, 71660-03 & 71661-03 (HDI, Japan) | FLHTCUSE5 |
| 50 | 71530-03B | IGNITION SWITCH, w/ 71638-03, 71660-03 & 71661-03 (Japan) | FLHTCUSE5 BLK |
| 51 | 71638-03 | COLLAR, ignition switch, bottom (Japan) | FLHTCUSE5 BLK |
| 52 | 71661-03 | COLLAR, ignition switch, top (Japan) | FLHTCUSE5 BLK |
| 53 | 76537-08 | KEY & FOB ASSEMBLY, power lock (specify key code) (HDI) (2) | FLHTCUSE5, FLHTCUSE5 BLK |
| 54 | 76608-10 | KNOB, ignition, power lock, w/ 76609-10 (HDI) | FLHTCUSE5 BLK |
| 55 | 76614-10 | KNOB, ignition switch, w/ 76615-10 (Japan) | FLHTCUSE5 BLK |
| 56 | 76609-10 | INSERT, ignition knob (HDI) | FLHTCUSE5 BLK |
| 57 | 76615-10 | INSERT, ignition switch knob (Japan) | FLHTCUSE5 BLK |
| 58 | 76610-10 | IGNITION SWITCH, w/ 11929, 12202 & 71660-03 (HDI) | FLHTCUSE5 BLK |
| Index No. | Part No. | Description | Model(s) |
| 70973-10 | MAIN WIRING HARNESS - ABS | FLHTCUSE5 | |
| 70973-10A | MAIN WIRING HARNESS - ABS | FLHTCUSE5 BLK | |
| NOTE: Includes the following parts. | |||
| 1 | 3634 | SCREW (2) | FLHTCUSE5, FLHTCUSE5 BLK |
| 2 | 9819 | TERMINAL, 1/4 in. ring, 12 AWG (2) | FLHTCUSE5, FLHTCUSE5 BLK |
| 3 | 9838 | TERMINAL, 1/4 in. ring, 10-12 AWG | FLHTCUSE5, FLHTCUSE5 BLK |
| 4 | 10039 | CABLE STRAP | FLHTCUSE5, FLHTCUSE5 BLK |
| 5 | 10065 | CABLE STRAP (19) | FLHTCUSE5, FLHTCUSE5 BLK |
| 6 | 10073 | CABLE STRAP, rosebud mount | FLHTCUSE5 |
| 10073 | CABLE STRAP, rosebud mount (2) | FLHTCUSE5 BLK | |
| 7 | 10147 | CLIP, connector | FLHTCUSE5, FLHTCUSE5 BLK |
| 8 | 10177 | CABLE STRAP, tree mount (2) | FLHTCUSE5, FLHTCUSE5 BLK |
| 9 | 11321 | CABLE STRAP | FLHTCUSE5, FLHTCUSE5 BLK |
| 10 | 11779 | FASTENER, push-in (black) (2) | FLHTCUSE5, FLHTCUSE5 BLK |
| 15368-01A | LABEL BATTERY WARNING (not shown) | FLHTCUSE5, FLHTCUSE5 BLK | |
| 11 | 31586-07 | RELAY (3) | FLHTCUSE5, FLHTCUSE5 BLK |
| 12 | 31595-09 | RELAY, high current | FLHTCUSE5, FLHTCUSE5 BLK |
| 13 | 54305-98 | FUSE, 2 AMP (gray) | FLHTCUSE5 BLK |
| 14 | 70348-09 | CADDY, fuse block | FLHTCUSE5, FLHTCUSE5 BLK |
| 15 | 70377-09 | CABLE ASSEMBLY, battery positive to starter, w/ 70578-89, 73304-04 & 73305-04 | FLHTCUSE5, FLHTCUSE5 BLK |
| 16 | 70578-89 | BOOT, battery positive | FLHTCUSE5, FLHTCUSE5 BLK |
| 17 | 70598-99 | BOOT, engine temperature sensor | FLHTCUSE5, FLHTCUSE5 BLK |
| 18 | 70980-09 | TRAY, wire trough | FLHTCUSE5, FLHTCUSE5 BLK |
| 19 | 70981-09 | COVER, wire trough, w/ 15368-01A | FLHTCUSE5, FLHTCUSE5 BLK |
| 20 | 72006-05 | SOCKET TERMINAL, 16-20 AWG (8) | FLHTCUSE5, FLHTCUSE5 BLK |
| 21 | 72007-05 | SOCKET HOUSING, 2-way (3) | FLHTCUSE5, FLHTCUSE5 BLK |
| 22 | 72011-05 | WIRE SEAL, 16-20 AWG (yellow) (10) | FLHTCUSE5, FLHTCUSE5 BLK |
| 23 | 72012-07 | SOCKET HOUSING, 5-way | FLHTCUSE5, FLHTCUSE5 BLK |
| 24 | 72014-07 | SEAL PIN | FLHTCUSE5, FLHTCUSE5 BLK |
| 25 | 72024-08 | SOCKET TERMINAL, 20-22 AWG (2) | FLHTCUSE5, FLHTCUSE5 BLK |
| 26 | 72063-06 | HOUSING, 2-way | FLHTCUSE5, FLHTCUSE5 BLK |
| Index No. | Part No. | Description | Model(s) |
| 70973-10 | MAIN WIRING HARNESS - ABS | FLHTCUSE5 | |
| 70973-10A | MAIN WIRING HARNESS - ABS | FLHTCUSE5 BLK | |
| NOTE: Includes the following parts. | |||
| 27 | 72066-06A | SOCKET HOUSING, 4-way female (black) | FLHTCUSE5, FLHTCUSE5 BLK |
| 28 | 72079-08 | SOCKET HOUSING, 73-way | FLHTCUSE5, FLHTCUSE5 BLK |
| 29 | 72094-06 | TERMINAL, socket, 18 AWG (4) | FLHTCUSE5, FLHTCUSE5 BLK |
| 30 | 72096-06 | WIRE SEAL, 18-20 AWG (yellow) (4) | FLHTCUSE5, FLHTCUSE5 BLK |
| 31 | 72100-04 | HOUSING, 1-way, male (gray) | FLHTCUSE5, FLHTCUSE5 BLK |
| 32 | 72103-94BK | HOUSING, 3-pin (black) | FLHTCUSE5, FLHTCUSE5 BLK |
| 33 | 72104-94BK | HOUSING, 4-pin (black) (2) | FLHTCUSE5, FLHTCUSE5 BLK |
| 34 | 72111-06 | LOCK, secondary, 2-way, female (gray) | FLHTCUSE5, FLHTCUSE5 BLK |
| 35 | 72114-94BK | SOCKET HOUSING, 4-way (black) (replaces gray connector) | FLHTCUSE5, FLHTCUSE5 BLK |
| 36 | 72115-08 | COVER, 73-way socket housing | FLHTCUSE5, FLHTCUSE5 BLK |
| 37 | 72124-94GY | HOUSING, 4-pin (gray) | FLHTCUSE5, FLHTCUSE5 BLK |
| 38 | 72135-06 | LOCK, secondary, 4-way socket, female | FLHTCUSE5, FLHTCUSE5 BLK |
| 39 | 72138-94GY | SOCKET HOUSING, 8-way (gray) | FLHTCUSE5, FLHTCUSE5 BLK |
| 40 | 72139-94GY | SOCKET HOUSING, 12-way w/ 72179-94 (gray) | FLHTCUSE5, FLHTCUSE5 BLK |
| 41 | 72143-94 | PIN LOCK, secondary, 3-way | FLHTCUSE5, FLHTCUSE5 BLK |
| 42 | 72144-94 | PIN LOCK, secondary, 4-way (3) | FLHTCUSE5, FLHTCUSE5 BLK |
| 43 | 72154-94 | SOCKET LOCK, secondary, 4-way | FLHTCUSE5, FLHTCUSE5 BLK |
| 44 | 72155-08 | LOCK, secondary, 73-way, socket housing | FLHTCUSE5, FLHTCUSE5 BLK |
| 45 | 72157-08 | PLR, GT280 | FLHTCUSE5, FLHTCUSE5 BLK |
| 46 | 72158-94 | PIN LOCK, secondary, 8-way | FLHTCUSE5, FLHTCUSE5 BLK |
| 47 | 72159-94 | SOCKET LOCK, secondary, 12-way | FLHTCUSE5, FLHTCUSE5 BLK |
| 48 | 72164-94A | WEATHER PLUG, 4-way (2) | FLHTCUSE5, FLHTCUSE5 BLK |
| 49 | 72166-07BK | SOCKET HOUSING, 16-way 18-20 AWG (black) | FLHTCUSE5, FLHTCUSE5 BLK |
| 50 | 72168-07 | TERMINAL, socket, 16-18 AWG (44) | FLHTCUSE5, FLHTCUSE5 BLK |
| 51 | 72169-07 | TERMINAL, pin, 16-20 AWG (4) | FLHTCUSE5, FLHTCUSE5 BLK |
| 52 | 72175-07BK | PIN HOUSING, 4-way (black) | FLHTCUSE5, FLHTCUSE5 BLK |
| 53 | 72179-94 | SEAL, internal, 12 circuit (2) | FLHTCUSE5, FLHTCUSE5 BLK |
| 54 | 72190-94 | TERMINAL, pin, 16-18 AWG (12) | FLHTCUSE5, FLHTCUSE5 BLK |
| 55 | 72191-94 | TERMINAL, socket, 16-18 AWG (22) | FLHTCUSE5, FLHTCUSE5 BLK |
| 56 | 72195-94 | SEAL PIN (5) | FLHTCUSE5, FLHTCUSE5 BLK |
| Index No. | Part No. | Description | Model(s) |
| 70973-10 | MAIN WIRING HARNESS - ABS | FLHTCUSE5 | |
| 70973-10A | MAIN WIRING HARNESS - ABS | FLHTCUSE5 BLK | |
| NOTE: Includes the following parts. | |||
| 57 | 72199-94 | ANCHOR, t-stud | FLHTCUSE5, FLHTCUSE5 BLK |
| 58 | 72204-04 | FUSE/RELAY BLOCK, bussed (2) | FLHTCUSE5, FLHTCUSE5 BLK |
| 59 | 72206-94 | CONNECTOR, 4-position, female | FLHTCUSE5, FLHTCUSE5 BLK |
| 60 | 72207-94 | TERMINAL, female, 14 AWG (2) | FLHTCUSE5, FLHTCUSE5 BLK |
| 61 | 72213-94 | TERMINAL, socket, female, 16-20 AWG (8) | FLHTCUSE5, FLHTCUSE5 BLK |
| 62 | 72214-94 | CABLE SEAL (4) | FLHTCUSE5, FLHTCUSE5 BLK |
| 63 | 72232-96 | SEAL PLUG (2) | FLHTCUSE5, FLHTCUSE5 BLK |
| 64 | 72249-94 | SHRINK TUBE, .415 x 1 (black) | FLHTCUSE5, FLHTCUSE5 BLK |
| 65 | 72251-07 | LOCK, secondary, 2-way (yellow) (2) | FLHTCUSE5, FLHTCUSE5 BLK |
| 66 | 72252-01 | TERMINAL, 10 AWG (3) | FLHTCUSE5, FLHTCUSE5 BLK |
| 67 | 72260-04 | HOUSING, female (gray) (2) | FLHTCUSE5, FLHTCUSE5 BLK |
| 68 | 72265-04 | SECONDARY LOCK, bussed fuse block | FLHTCUSE5, FLHTCUSE5 BLK |
| 69 | 72272-07 | TERMINAL, socket, 14-16 AWG (10) | FLHTCUSE5, FLHTCUSE5 BLK |
| 70 | 72279-04 | TERMINAL, female, 14-16 AWG (18) | FLHTCUSE5, FLHTCUSE5 BLK |
| 71 | 72282-09 | SECONDARY LOCK, bussed fuse block, 2-row (8) | FLHTCUSE5, FLHTCUSE5 BLK |
| 72 | 72283-09 | TERMINAL, insulated (2) | FLHTCUSE5, FLHTCUSE5 BLK |
| 73 | 72286-04 | TERMINAL, buss, female, 12-14 AWG (14) | FLHTCUSE5, FLHTCUSE5 BLK |
| 74 | 72289-04 | TERMINAL, female, 10-12 AWG | FLHTCUSE5, FLHTCUSE5 BLK |
| 75 | 72290-94 | TERMINAL, 1/4 inch insulated (2) | FLHTCUSE5, FLHTCUSE5 BLK |
| 76 | 72291-94 | TERMINAL, 14-16 AWG | FLHTCUSE5, FLHTCUSE5 BLK |
| 77 | 72295-94 | CONNECTOR, starter housing | FLHTCUSE5, FLHTCUSE5 BLK |
| 78 | 72309-04 | TERMINAL, 16-18 AWG (13) | FLHTCUSE5 |
| 72309-04 | TERMINAL, 16-18 AWG (15) | FLHTCUSE5 BLK | |
| 72314-01 | MAXI - FUSE 40 AMP (not illustrated) NOTE: Fuse is sold seperately and is not part of main harness | FLHTCUSE5, FLHTCUSE5 BLK | |
| 79 | 72330-95 | FUSE, 15 AMP (blue) (16) | FLHTCUSE5, FLHTCUSE5 BLK |
| 80 | 72331-95 | FUSE, 5 AMP (light tan) | FLHTCUSE5, FLHTCUSE5 BLK |
| 81 | 72343-10 | PIN TERMINAL, 16-20 AWG (gold) (4) | FLHTCUSE5, FLHTCUSE5 BLK |
| 82 | 72355-97 | TERMINAL, female, 12 AWG (2) | FLHTCUSE5, FLHTCUSE5 BLK |
| 83 | 72359-05 | TERMINAL, female, 10-12 AWG (9) | FLHTCUSE5 |
| 72359-05 | TERMINAL, female, 10-12 AWG (10) | FLHTCUSE5 BLK | |
| 84 | 72400-99 | CONNECTOR, 4-way | FLHTCUSE5, FLHTCUSE5 BLK |
| 85 | 72402-07 | SOCKET HOUSING, 2-way (2) | FLHTCUSE5, FLHTCUSE5 BLK |
| Index No. | Part No. | Description | Model(s) |
| 70973-10 | MAIN WIRING HARNESS - ABS | FLHTCUSE5 | |
| 70973-10A | MAIN WIRING HARNESS - ABS | FLHTCUSE5 BLK | |
| NOTE: Includes the following parts. | |||
| 86 | 72403-99 | SECONDARY LOCK, 4-way | FLHTCUSE5, FLHTCUSE5 BLK |
| 87 | 72405-98BK | WIRE ASSEMBLY, push-on, right angle molded, 65-1/2 in. length (2) | FLHTCUSE5, FLHTCUSE5 BLK |
| 88 | 72406-07A | SOCKET HOUSING, 4-way | FLHTCUSE5, FLHTCUSE5 BLK |
| 89 | 72407-07 | TERMINAL, socket, 16-20 AWG (4) | FLHTCUSE5, FLHTCUSE5 BLK |
| 90 | 72408-07 | SEAL WIRE, 16-20 AWG (blue) (4) | FLHTCUSE5, FLHTCUSE5 BLK |
| 91 | 72413-07 | TERMINAL, socket, 18-20 AWG (4) | FLHTCUSE5, FLHTCUSE5 BLK |
| 92 | 72414-07BK | SOCKET HOUSING, 6-way | FLHTCUSE5, FLHTCUSE5 BLK |
| 93 | 72415-07GY | PIN HOUSING, 4-way (gray) | FLHTCUSE5, FLHTCUSE5 BLK |
| 94 | 72416-01 | HOUSING, 3-way, female | FLHTCUSE5, FLHTCUSE5 BLK |
| 95 | 72440-08 | SEAL PIN, plug (15) | FLHTCUSE5, FLHTCUSE5 BLK |
| 96 | 72473-07 | SEAL PIN (9) | FLHTCUSE5, FLHTCUSE5 BLK |
| 97 | 72483-08BK | SOCKET HOUSING, 6-way | FLHTCUSE5, FLHTCUSE5 BLK |
| 98 | 72484-08 | TERMINAL, socket, 20 AWG (8) | FLHTCUSE5, FLHTCUSE5 BLK |
| 99 | 72486-08 | SEAL WIRE, 20 AWG (green) (8) | FLHTCUSE5, FLHTCUSE5 BLK |
| 100 | 72489-07GY | SOCKET HOUSING, 12-way (gray) | FLHTCUSE5, FLHTCUSE5 BLK |
| 101 | 72495-08 | TERMINAL, socket, 12-14 AWG (gold) | FLHTCUSE5, FLHTCUSE5 BLK |
| 102 | 72500-07ABK | SOCKET HOUSING, 20-way (black) | FLHTCUSE5, FLHTCUSE5 BLK |
| 103 | 72512-07BK | SOCKET HOUSING, 3-way (black) | FLHTCUSE5, FLHTCUSE5 BLK |
| 104 | 72518-01 | SOCKET HOUSING, 2-way (red) | FLHTCUSE5, FLHTCUSE5 BLK |
| 105 | 72519-09BK | DUST CAP, 3-way socket (black) | FLHTCUSE5, FLHTCUSE5 BLK |
| 106 | 72533-06 | DUST CAP, 2-pin connector | FLHTCUSE5, FLHTCUSE5 BLK |
| 107 | 72539-06 | FUSE, 30 amp, mini type (green) (3) | FLHTCUSE5, FLHTCUSE5 BLK |
| 108 | 72543-07BK | SOCKET HOUSING, 3-way (black) (2) | FLHTCUSE5, FLHTCUSE5 BLK |
| 109 | 72544-07 | SECONDARY LOCK, 3-way, female (2) | FLHTCUSE5, FLHTCUSE5 BLK |
| 110 | 72547-08 | DIODE PACK | FLHTCUSE5, FLHTCUSE5 BLK |
| 111 | 72556-08 | SEAL WIRE, 12-14 AWG | FLHTCUSE5, FLHTCUSE5 BLK |
| 112 | 72599-10 | CPA AXIAL LOCKING STRAP | FLHTCUSE5, FLHTCUSE5 BLK |
| 113 | 72605-08 | TERMINAL, socket, 20 AWG (gold) (42) | FLHTCUSE5, FLHTCUSE5 BLK |
| Index No. | Part No. | Description | Model(s) |
| 70973-10 | MAIN WIRING HARNESS - ABS | FLHTCUSE5 | |
| 70973-10A | MAIN WIRING HARNESS - ABS | FLHTCUSE5 BLK | |
| NOTE: Includes the following parts. | |||
| 114 | 72606-08 | SOCKET HOUSING, 2-way (2) | FLHTCUSE5, FLHTCUSE5 BLK |
| 115 | 72609-08 | LOCK, secondary, 2-way (black) (3) | FLHTCUSE5, FLHTCUSE5 BLK |
| 116 | 72610-08 | SEAL, 18-20 AWG (white) (4) | FLHTCUSE5, FLHTCUSE5 BLK |
| 117 | 72612-06BK | SOCKET HOUSING, 2-way (black) | FLHTCUSE5, FLHTCUSE5 BLK |
| 118 | 72620-08 | FUSE COVER, rear | FLHTCUSE5, FLHTCUSE5 BLK |
| 119 | 72625-10 | WIRING HARNESS, audio amplifier overlay | FLHTCUSE5, FLHTCUSE5 BLK |
| 120 | 72635-10 | COVER ASSEMBLY, fuse block w/ graphics | FLHTCUSE5 |
| 72635-10A | COVER ASSEMBLY, fuse block w/ graphics | FLHTCUSE5 BLK | |
| 121 | 72652-06 | SECONDARY LOCK, socket, 2-way | FLHTCUSE5, FLHTCUSE5 BLK |
| 122 | 72694-06 | TERMINAL, socket, 12-14 AWG (2) | FLHTCUSE5, FLHTCUSE5 BLK |
| 123 | 72915-10GN | PIN HOUSING, 2-way (green) | FLHTCUSE5 BLK |
| 124 | 72990-01 | TERMINAL, pin, 18-22 AWG (2) | FLHTCUSE5 BLK |
| 125 | 73102-96BK | PIN HOUSING, 2-place (black) | FLHTCUSE5, FLHTCUSE5 BLK |
| 126 | 73103-96BK | PIN HOUSING, 3-place (black) | FLHTCUSE5, FLHTCUSE5 BLK |
| 127 | 73104-96BK | PIN HOUSING, 4-place (black) | FLHTCUSE5, FLHTCUSE5 BLK |
| 128 | 73108-96BK | PIN HOUSING, 8-place (black) | FLHTCUSE5, FLHTCUSE5 BLK |
| 129 | 73152-96BK | SOCKET HOUSING, 2-place | FLHTCUSE5, FLHTCUSE5 BLK |
| 130 | 73153-96BK | SOCKET HOUSING, 3-place (black) | FLHTCUSE5, FLHTCUSE5 BLK |
| 131 | 73190-96 | TERMINAL, pin, 16-20 AWG (15) | FLHTCUSE5, FLHTCUSE5 BLK |
| 132 | 73191-96 | SOCKET TERMINAL, 16-20 AWG (5) | FLHTCUSE5, FLHTCUSE5 BLK |
| 133 | 73198-96 | CONNECTOR ANCHOR (3) | FLHTCUSE5, FLHTCUSE5 BLK |
| 134 | 73213-07 | RETAINER, x-mas tree clip | FLHTCUSE5, FLHTCUSE5 BLK |
| 135 | 73301-04 | HOUSING, pin, 2-way | FLHTCUSE5, FLHTCUSE5 BLK |
| 136 | 73303-04 | SECONDARY LOCK, female, 2-way | FLHTCUSE5, FLHTCUSE5 BLK |
| 137 | 73304-04 | TERMINAL, female, 10 AWG (2) | FLHTCUSE5, FLHTCUSE5 BLK |
| 138 | 73305-04 | SEAL WIRE, 10 AWG (blue) (2) | FLHTCUSE5, FLHTCUSE5 BLK |
| 139 | 74102-98BK | PIN HOUSING, 2-way (black) (3) | FLHTCUSE5, FLHTCUSE5 BLK |
| 140 | 74112-98BK | HOUSING, socket, 2-way (black) | FLHTCUSE5, FLHTCUSE5 BLK |
| 141 | 74115-06 | DC LEAD ASSEMBLY | FLHTCUSE5, FLHTCUSE5 BLK |
| 142 | 74142-98 | SECONDARY LOCK, 2-way (3) | FLHTCUSE5, FLHTCUSE5 BLK |
| 143 | 74152-98 | SOCKET LOCK, secondary, 2-way | FLHTCUSE5, FLHTCUSE5 BLK |
| 144 | 74190-98 | TERMINAL, pin, 16-20 AWG (6) | FLHTCUSE5, FLHTCUSE5 BLK |
| 145 | 74191-98 | SOCKET TERMINAL (2) | FLHTCUSE5, FLHTCUSE5 BLK |
| 146 | 76248-86 | CABLE, antenna | FLHTCUSE5, FLHTCUSE5 BLK |
| Index No. | Part No. | Description | Model(s) |
| 1 | 2563 | SCREW | FLHTCUSE5, FLHTCUSE5 BLK |
| 2 | 2625 | SCREW (domestic) (2) | FLHTCUSE5, FLHTCUSE5 BLK |
| 2 | 2625 | SCREW (HDI) | FLHTCUSE5, FLHTCUSE5 BLK |
| 3 | 2963 | SCREW (8) | FLHTCUSE5, FLHTCUSE5 BLK |
| 4 | 2965 | SCREW (4) | FLHTCUSE5, FLHTCUSE5 BLK |
| 5 | 3061 | SCREW (4) | FLHTCUSE5, FLHTCUSE5 BLK |
| 6 | 3387 | SCREW (2) | FLHTCUSE5, FLHTCUSE5 BLK |
| 7 | 3612 | SCREW (4) | FLHTCUSE5, FLHTCUSE5 BLK |
| 8 | 3802W | BOLT (6) | FLHTCUSE5, FLHTCUSE5 BLK |
| 9 | 5210 | WELL NUT (7) | FLHTCUSE5, FLHTCUSE5 BLK |
| 10 | 5211 | JACK NUT (6) | FLHTCUSE5, FLHTCUSE5 BLK |
| 11 | 6703 | WASHER (4) | FLHTCUSE5, FLHTCUSE5 BLK |
| 12 | 6036 | WASHER (6) | FLHTCUSE5, FLHTCUSE5 BLK |
| 13 | 7686 | LOCKNUT (4) | FLHTCUSE5, FLHTCUSE5 BLK |
| 14 | 7838 | NUT | FLHTCUSE5, FLHTCUSE5 BLK |
| 15 | 9864 | RING TERMINAL | FLHTCUSE5, FLHTCUSE5 BLK |
| 10065 | CABLE STRAP (not illustrated) | FLHTCUSE5, FLHTCUSE5 BLK | |
| 10181 | CABLE STRAP (not illustrated) (4) | FLHTCUSE5, FLHTCUSE5 BLK | |
| 16 | 58010-98 | BUSHING, open/closed (2) | FLHTCUSE5, FLHTCUSE5 BLK |
| 17 | 70465-86A | GROUND CABLE, w/ 9864 | FLHTCUSE5, FLHTCUSE5 BLK |
| 18 | 71814-98 | SWITCH KNOB, volume | FLHTCUSE5, FLHTCUSE5 BLK |
| 71823-98 | SWITCH KNOB, mode select | FLHTCUSE5, FLHTCUSE5 BLK | |
| 19 | 71834-98 | SWITCH, rear controls, w/ 10181 & 74191-98 (2) | FLHTCUSE5, FLHTCUSE5 BLK |
| 20 | 72290-94 | TERMINAL, 1/4 in., female, insulated, 14 -18 AWG (2) | FLHTCUSE5, FLHTCUSE5 BLK |
| 21 | 72294-94 | TERMINAL, 3/16 in., female, insulated, 16-20 AWG (2) | FLHTCUSE5, FLHTCUSE5 BLK |
| 22 | 74116-98BK | HOUSING, 6-way socket (2) | FLHTCUSE5, FLHTCUSE5 BLK |
| 23 | 74156-98 | SECONDARY LOCK, 6-way socket (2) | FLHTCUSE5, FLHTCUSE5 BLK |
| 24 | 74191-98 | SOCKET TERMINAL (12) | FLHTCUSE5, FLHTCUSE5 BLK |
| NOTE: For all service and warranty claims on Advanced Audio System components please refer to the latest Warranty Bulletin revision of the Advanced Audio Systems Warranty Procedures located on h-dnet.com.Customer: For all service and warranty claims on Advanced Audio System components please contact your Harley-Davidson dealership. | |||
| Index No. | Part No. | Description | Model(s) |
| 25 | 76129-98 | SWITCH HOUSING (2) | FLHTCUSE5, FLHTCUSE5 BLK |
| 26 | 76130-98 | SPRING CLAMP (2) | FLHTCUSE5, FLHTCUSE5 BLK |
| 27 | 76160-06 | RADIO/CD | FLHTCUSE5, FLHTCUSE5 BLK |
| 28 | 76165-06A | XM MODULE (Domestic only) | FLHTCUSE5, FLHTCUSE5 BLK |
| 29 | 76167-06A | GPS MODULE | FLHTCUSE5 |
| 30 | 76192-06B | AMPLIFIER | FLHTCUSE5, FLHTCUSE5 BLK |
| 31 | 76250-09 | ANTENNA MAST, CB | FLHTCUSE5, FLHTCUSE5 BLK |
| 32 | 76265-98 | TETHER BRACKET, left speaker | FLHTCUSE5, FLHTCUSE5 BLK |
| 33 | 76416-06C | KIT CB RADIO, touring | FLHTCUSE5, FLHTCUSE5 BLK |
| 34 | 76284-08A | SPEAKER BOX, left rear | FLHTCUSE5, FLHTCUSE5 BLK |
| 76301-08A | SPEAKER BOX, right rear | FLHTCUSE5, FLHTCUSE5 BLK | |
| 35 | 76307-98 | SPEAKER GRILLE, rear (2) | FLHTCUSE5, FLHTCUSE5 BLK |
| 36 | 76337-06A | XM ANTENNA (Domestic only) | FLHTCUSE5, FLHTCUSE5 BLK |
| 37 | 76338-06A | GPS ANTENNA | FLHTCUSE5 |
| 38 | 76455-06 | GPS ANTENNA BRACKET | FLHTCUSE5 |
| 39 | 76456-06 | XM ANTENNA BRACKET (Domestic only) | FLHTCUSE5, FLHTCUSE5 BLK |
| 76472-06A | GPS MAPS (not illustrated) (Domestic only) | FLHTCUSE5 | |
| 40 | 76503-08 | ANTENNA MAST, AM/FM | FLHTCUSE5, FLHTCUSE5 BLK |
| 41 | 76529-10 | EAR PAD (domestic) (2) | FLHTCUSE5, FLHTCUSE5 BLK |
| 76529-10 | EAR PAD (HDI) (4) | FLHTCUSE5, FLHTCUSE5 BLK | |
| 42 | 76540-09 | BRACKET, amplifier | FLHTCUSE5, FLHTCUSE5 BLK |
| 43 | 77029-06 | SPEAKER, 5-1/4 in. (4) | FLHTCUSE5, FLHTCUSE5 BLK |
| 44 | 77047-98 | SPEAKER GRILLE, front (2) | FLHTCUSE5, FLHTCUSE5 BLK |
| 45 | 77126-10 | WIND SOCK, microphone (domestic) | FLHTCUSE5, FLHTCUSE5 BLK |
| 77126-10 | WIND SOCK, microphone (HDI) (2) | FLHTCUSE5, FLHTCUSE5 BLK | |
| 46 | 77117-10 | HEADSET ASSEMBLY, w/ 76529-10, 77126-10 & 77148-10 | FLHTCUSE5, FLHTCUSE5 BLK |
| 47 | 77148-10 | COILED CORD, headset (domestic) | FLHTCUSE5, FLHTCUSE5 BLK |
| 77148-10 | COILED CORD, headset (HDI) (2) | FLHTCUSE5, FLHTCUSE5 BLK | |
| INTERNATIONAL MODELS ONLY | |||
| 48 | 77117-10 | HEADSET ASSEMBLY, w/ 76529-10, 77126-10 & 77148-10 (2) | FLHTCUSE5, FLHTCUSE5 BLK |
| 76403-06 | GPS MAPS (not illustrated) (HDI) | FLHTCUSE5 | |
| Index No. | Part No. | Description | Model(s) |
| 72625-10 | WIRING HARNESS, audio-amplifier overlay | FLHTCUSE5, FLHTCUSE5 BLK | |
| NOTE: Includes the following parts. | |||
| 1 | 10065 | CABLE STRAP (4) | FLHTCUSE5, FLHTCUSE5 BLK |
| 2 | 72106-94BK | PIN HOUSING, 6-way (black) | FLHTCUSE5, FLHTCUSE5 BLK |
| 3 | 72146-94 | PIN LOCK, 6-way | FLHTCUSE5, FLHTCUSE5 BLK |
| 4 | 72190-94 | TERMINAL, pin (6) | FLHTCUSE5, FLHTCUSE5 BLK |
| 5 | 72249-94 | SHRINK TUBE, .415 X 1 (black) (4) | FLHTCUSE5, FLHTCUSE5 BLK |
| 6 | 72290-94 | TERMINAL, 1/4 in., female, insulated, 14 -18 AWG (2) | FLHTCUSE5, FLHTCUSE5 BLK |
| 7 | 72294-94 | TERMINAL, 3/16 female, #16-20 AWG (2) | FLHTCUSE5, FLHTCUSE5 BLK |
| 8 | 72381-98 | TERMINAL, socket (44) | FLHTCUSE5, FLHTCUSE5 BLK |
| 9 | 72382-98BK | HOUSING, 23-way (black) | FLHTCUSE5, FLHTCUSE5 BLK |
| 10 | 72384-06BK | SOCKET HOUSING, 35-place (black) | FLHTCUSE5, FLHTCUSE5 BLK |
| 11 | 72397-98 | SEAL PIN (14) | FLHTCUSE5, FLHTCUSE5 BLK |
| 12 | 72602-06BK | PIN HOUSING, 2-way (black) | FLHTCUSE5, FLHTCUSE5 BLK |
| 13 | 72642-06 | SECONDARY LOCK, 2-way, pin | FLHTCUSE5, FLHTCUSE5 BLK |
| 14 | 72690-01 | TERMINAL, pin (2) | FLHTCUSE5, FLHTCUSE5 BLK |
| 15 | 73306-07 | COVER, amplifier cable | FLHTCUSE5, FLHTCUSE5 BLK |
| 16 | 74106-98BK | HOUSING, PIN, 6-way (black) (2) | FLHTCUSE5, FLHTCUSE5 BLK |
| 17 | 74109-98BK | HOUSING, PIN, 12-way (black) | FLHTCUSE5, FLHTCUSE5 BLK |
| 18 | 74119-98BK | HOUSING, socket, 12-way (black) | FLHTCUSE5, FLHTCUSE5 BLK |
| 19 | 74146-98 | SECONDARY LOCK, 6-way, pin (2) | FLHTCUSE5, FLHTCUSE5 BLK |
| 20 | 74149-98 | SECONDARY LOCK, 12-way, pin | FLHTCUSE5, FLHTCUSE5 BLK |
| 21 | 74159-98 | SECONDARY LOCK, 12-way, socket | FLHTCUSE5, FLHTCUSE5 BLK |
| 22 | 74190-98 | TERMINAL, pin, 16-20 AWG (24) | FLHTCUSE5, FLHTCUSE5 BLK |
| 23 | 74191-98 | SOCKET TERMINAL (11) | FLHTCUSE5, FLHTCUSE5 BLK |
| 24 | 74195-98 | SEAL PIN | FLHTCUSE5, FLHTCUSE5 BLK |
| 25 | 76266-98 | CAP ASSEMBLY, weather | FLHTCUSE5, FLHTCUSE5 BLK |
| 26 | 76319-08 | CABLE ASSEMBLY, C.B. antenna | FLHTCUSE5, FLHTCUSE5 BLK |
| Index No. | Part No. | Description | Model(s) |
| 70172-06 | CB/XM RADIO HARNESS | FLHTCUSE5, FLHTCUSE5 BLK | |
| NOTE: Includes the following parts. | |||
| 1 | 74109-98BK | HOUSING, 12-way pin (black) | FLHTCUSE5, FLHTCUSE5 BLK |
| 2 | 74119-98BK | HOUSING, 12-way socket (black) (2) | FLHTCUSE5, FLHTCUSE5 BLK |
| 3 | 74149-98 | SECONDARY LOCK, 12-way pin | FLHTCUSE5, FLHTCUSE5 BLK |
| 4 | 74159-98 | SECONDARY LOCK, 12-way socket (2) | FLHTCUSE5, FLHTCUSE5 BLK |
| 5 | 74190-98 | TERMINAL, pin, #16-20 AWG (11) | FLHTCUSE5, FLHTCUSE5 BLK |
| 6 | 74191-98 | TERMINAL, socket, #16-20 AWG (22) | FLHTCUSE5, FLHTCUSE5 BLK |
| 7 | 74195-98 | SEAL PIN (3) | FLHTCUSE5, FLHTCUSE5 BLK |
| Index No. | Part No. | Description | Model(s) |
| 1 | 9938 | TERMINAL, #14-18 AWG | FLHTCUSE5, FLHTCUSE5 BLK |
| 2 | 10065 | CABLE STRAP | FLHTCUSE5, FLHTCUSE5 BLK |
| 3 | 70174-06 | HARNESS ASSEMBLY, garage door opener | FLHTCUSE5, FLHTCUSE5 BLK |
| 4 | 72199-94 | ANCHOR, t-stud | FLHTCUSE5, FLHTCUSE5 BLK |
| 5 | 72449-01 | HOUSING, 2-way socket, (black) (2) | FLHTCUSE5, FLHTCUSE5 BLK |
| 6 | 72527-01 | SOCKET TERMINAL, #18-20 AWG (4) | FLHTCUSE5, FLHTCUSE5 BLK |
| 7 | 72633-02 | SEAL WIRE, #14-16 AWG (white) (4) | FLHTCUSE5, FLHTCUSE5 BLK |
| 8 | 74104-98BK | HOUSING, 4-way pin (black) | FLHTCUSE5, FLHTCUSE5 BLK |
| 9 | 74114-98BK | HOUSING, 4-way socket (black) | FLHTCUSE5, FLHTCUSE5 BLK |
| 10 | 74144-98 | SECONDARY LOCK, 4-way pin | FLHTCUSE5, FLHTCUSE5 BLK |
| 11 | 74154-98 | SECONDARY LOCK, 4-way socket | FLHTCUSE5, FLHTCUSE5 BLK |
| 12 | 74190-98 | TERMINAL, pin, #16-20 AWG (4) | FLHTCUSE5, FLHTCUSE5 BLK |
| 13 | 74191-98 | TERMINAL, socket, #16-20 AWG (4) | FLHTCUSE5, FLHTCUSE5 BLK |
| 14 | 91560-01 | RECEIVER ASSEMBLY | FLHTCUSE5, FLHTCUSE5 BLK |
| 15 | 91561-01A | TRANSMITTER ASSEMBLY | FLHTCUSE5, FLHTCUSE5 BLK |
| Index No. | Part No. | Description | Model(s) |
| 1 | 1106 | SCREW | FLHTCUSE5 BLK |
| 2 | 1107 | SCREW | FLHTCUSE5 BLK |
| 3 | 3164M | SCREW | FLHTCUSE5 BLK |
| 4 | 7686 | LOCKNUT (2) | FLHTCUSE5 BLK |
| 5 | 8404 | JAM NUT | FLHTCUSE5 BLK |
| 6 | 12410 | WASHER | FLHTCUSE5 BLK |
| 7 | 12900 | PLUG, adapter (Domestic) | FLHTCUSE5 BLK |
| 8 | 76575-10 | CABLE, speaker/audio | FLHTCUSE5 BLK |
| 9 | 76576-10 | PLUG, auxiliary jack | FLHTCUSE5 BLK |
| 10 | 92288-09 | WEATHER CAP | FLHTCUSE5 BLK |
| 11 | 92346-10 | MOUNT, GPS unit, fairing | FLHTCUSE5 BLK |
| 12 | 92466-10 | RETAINER, GPS unit, fairing | FLHTCUSE5 BLK |
| 13 | 25700008 | COVER PLUG | FLHTCUSE5 BLK |
| INTERNATIONAL MODELS ONLY | |||
| 14 | 12901 | PLUG, adapter (HDI) | FLHTCUSE5 BLK |
| 15 | 92492-10 | PLUG, adapter (England) | FLHTCUSE5 BLK |
| Index No. | Part No. | Description | Model(s) |
| 1 | 2478 | SCREW (2) | FLHTCUSE5, FLHTCUSE5 BLK |
| 2 | 3595 | SCREW (3) | FLHTCUSE5, FLHTCUSE5 BLK |
| 3 | 4630 | SCREW (2) | FLHTCUSE5, FLHTCUSE5 BLK |
| 4 | 4860 | SCREW | FLHTCUSE5, FLHTCUSE5 BLK |
| 5 | 6235 | WASHER | FLHTCUSE5, FLHTCUSE5 BLK |
| 6 | 6703 | WASHER (3) | FLHTCUSE5, FLHTCUSE5 BLK |
| 7 | 6970 | WASHER | FLHTCUSE5, FLHTCUSE5 BLK |
| 8 | 7128 | LOCKWASHER | FLHTCUSE5, FLHTCUSE5 BLK |
| 9 | 7586 | JAM NUT | FLHTCUSE5, FLHTCUSE5 BLK |
| 10 | 7624 | LOCKNUT | FLHTCUSE5, FLHTCUSE5 BLK |
| 11 | 7689W | JAM NUT (3) | FLHTCUSE5, FLHTCUSE5 BLK |
| 12 | 8500A | HINGE PIN KIT, w/ 3595 (2) | FLHTCUSE5, FLHTCUSE5 BLK |
| 13 | 10102 | CLIP, adhesive backed (3) | FLHTCUSE5, FLHTCUSE5 BLK |
| 14 | 53280-08A | LINER, Tour-Pak, top | FLHTCUSE5, FLHTCUSE5 BLK |
| 15 | 53314-06 | KIT, VELCRO, liner (2) | FLHTCUSE5, FLHTCUSE5 BLK |
| 16 | 53415-06 | GASKET, cover | FLHTCUSE5, FLHTCUSE5 BLK |
| 17 | 53426-87 | HINGE, cover, upper (2) | FLHTCUSE5, FLHTCUSE5 BLK |
| 18 | 53486-85 | PAD (2) | FLHTCUSE5, FLHTCUSE5 BLK |
| 19 | 53564-97 | TETHER, flexible | FLHTCUSE5, FLHTCUSE5 BLK |
| 20 | 53570-89 | BRACKET, cable mounting | FLHTCUSE5, FLHTCUSE5 BLK |
| 21 | 53575-08 | HARDWARE KIT, power lock | FLHTCUSE5, FLHTCUSE5 BLK |
| 22 | 53594-08A | LOCK, w/ 7128 & 7586 (specify key code) | FLHTCUSE5, FLHTCUSE5 BLK |
| 23 | 53597-07 | ACTUATOR, power lock, w/ 74191-98 | FLHTCUSE5, FLHTCUSE5 BLK |
| 24 | 53641-02 | WASHER | FLHTCUSE5, FLHTCUSE5 BLK |
| 25 | 54053-10 | TRIM, lid | FLHTCUSE5, FLHTCUSE5 BLK |
| 26 | 54332-04B | LIGHT, Tour-Pak, top | FLHTCUSE5, FLHTCUSE5 BLK |
| 27 | 58709-86 | RIVET, nylon (black) (2) | FLHTCUSE5, FLHTCUSE5 BLK |
| 28 | 66290-06 | STUD, luggage rack (3) | FLHTCUSE5, FLHTCUSE5 BLK |
| 29 | 74112-98BK | HOUSING, socket, 2-way | FLHTCUSE5, FLHTCUSE5 BLK |
| 30 | 74152-98 | LOCK, secondary, 2-way | FLHTCUSE5, FLHTCUSE5 BLK |
| 31 | 74191-98 | SOCKET TERMINAL (2) | FLHTCUSE5, FLHTCUSE5 BLK |
| 32 | 79042-06 | COVER, Tour-Pak (prime) | FLHTCUSE5, FLHTCUSE5 BLK |
| 79209-10BZN | COVER, Tour-Pak (Scarlet Red Pearl) | FLHTCUSE5 | |
| 79209-10DDZ | COVER, Tour-Pak (Riptide Blue) | FLHTCUSE5 | |
| 79209-10DEC | COVER, Tour-Pak (Burnt Amber) | FLHTCUSE5 | |
| 79209-10DEF | COVER, Tour-Pak (Crimson Mist Black) | FLHTCUSE5 BLK | |
| 33 | 79114-07 | GROMMET | FLHTCUSE5, FLHTCUSE5 BLK |
| 34 | 79135-08 | BRACKET, cable | FLHTCUSE5, FLHTCUSE5 BLK |
| 35 | 79145-07 | BASE, power lock system | FLHTCUSE5, FLHTCUSE5 BLK |
| 36 | 79146-07 | LID, power lock system | FLHTCUSE5, FLHTCUSE5 BLK |
| 37 | 79149-08 | CABLE ASSEMBLY, power lock | FLHTCUSE5, FLHTCUSE5 BLK |
| 38 | 79169-08 | POWER LOCK ASSEMBLY, tour-pak | FLHTCUSE5, FLHTCUSE5 BLK |
| 39 | 79171-08 | COVER, power lock | FLHTCUSE5, FLHTCUSE5 BLK |
| 40 | 79179-08 | RACK KIT, Tour-Pak, w/ 4860, 6235, 6703 & 90875-08 | FLHTCUSE5, FLHTCUSE5 BLK |
| 41 | 84850-92 | NUT | FLHTCUSE5, FLHTCUSE5 BLK |
| 42 | 90688-85 | BACKING PLATE (2) | FLHTCUSE5, FLHTCUSE5 BLK |
| 43 | 90705-97 | HASP, rivet (2) | FLHTCUSE5, FLHTCUSE5 BLK |
| 44 | 90821-74C | LABEL, load limit | FLHTCUSE5, FLHTCUSE5 BLK |
| 45 | 90875-08 | MOUNTING PAD & WASHER SET | FLHTCUSE5, FLHTCUSE5 BLK |
| 46 | 90964-63 | BACKING PLATE (4) | FLHTCUSE5, FLHTCUSE5 BLK |
| 47 | 90965-63 | RIVET (12) | FLHTCUSE5, FLHTCUSE5 BLK |
| Index No. | Part No. | Description | Model(s) |
| 1 | 932 | SCREW | FLHTCUSE5, FLHTCUSE5 BLK |
| 2 | 2551W | BOLT (4) | FLHTCUSE5, FLHTCUSE5 BLK |
| 3 | 2968 | SCREW (4) | FLHTCUSE5, FLHTCUSE5 BLK |
| 4 | 3595 | SCREW (3) | FLHTCUSE5, FLHTCUSE5 BLK |
| 5 | 3597 | SCREW (2) | FLHTCUSE5, FLHTCUSE5 BLK |
| 6 | 3598 | SCREW (2) | FLHTCUSE5, FLHTCUSE5 BLK |
| 7 | 3802W | BOLT (6) | FLHTCUSE5, FLHTCUSE5 BLK |
| 8 | 6029 | WASHER (2) | FLHTCUSE5, FLHTCUSE5 BLK |
| 9 | 6036 | WASHER (5) | FLHTCUSE5, FLHTCUSE5 BLK |
| 10 | 6970 | WASHER | FLHTCUSE5, FLHTCUSE5 BLK |
| 11 | 7036 | WASHER (4) | FLHTCUSE5, FLHTCUSE5 BLK |
| 12 | 7492 | NUT, w/ lockwasher | FLHTCUSE5, FLHTCUSE5 BLK |
| 13 | 7676 | NUT (4) | FLHTCUSE5, FLHTCUSE5 BLK |
| 14 | 7716 | LOCKNUT (6) | FLHTCUSE5, FLHTCUSE5 BLK |
| 15 | 8500A | HINGE PIN KIT, w/ 3595 (2) | FLHTCUSE5, FLHTCUSE5 BLK |
| 16 | 9864 | RING TERMINAL, insulated, 5/16 in | FLHTCUSE5, FLHTCUSE5 BLK |
| 17 | 10102 | CLIP, adhesive backed | FLHTCUSE5, FLHTCUSE5 BLK |
| 18 | 10103 | CLIP, adhesive backed (5) | FLHTCUSE5, FLHTCUSE5 BLK |
| 19 | 11486 | GROMMET | FLHTCUSE5, FLHTCUSE5 BLK |
| 20 | 11543 | GROMMET, split | FLHTCUSE5, FLHTCUSE5 BLK |
| 21 | 53314-06 | KIT, VELCRO, liner | FLHTCUSE5, FLHTCUSE5 BLK |
| 22 | 53221-10BZN | BOTTOM ASSEMBLY, w/ sidemarker lights, latches & hinges (Scarlet Red Pearl) (Domestic) | FLHTCUSE5 |
| 53221-10DDZ | BOTTOM ASSEMBLY, w/ sidemarker lights, latches & hinges (Riptide Blue) (Domestic) | FLHTCUSE5 | |
| 53221-10DEC | BOTTOM ASSEMBLY, w/ sidemarker lights, latches & hinges (Burnt Amber) (Domestic) | FLHTCUSE5 | |
| 53221-10DEF | BOTTOM ASSEMBLY, w/ sidemarker lights, latches & hinges (Crimson Mist Black) (Domestic) | FLHTCUSE5 BLK | |
| 53145-09 | BOTTOM, w/o lights, latches & hinges (prime) | FLHTCUSE5, FLHTCUSE5 BLK | |
| 23 | 53447-87 | HINGE, lower (2) | FLHTCUSE5, FLHTCUSE5 BLK |
| 24 | 53478-80 | BACKING PLATE, brace | FLHTCUSE5, FLHTCUSE5 BLK |
| 25 | 53563-82 | BRACKET, cable mounting | FLHTCUSE5, FLHTCUSE5 BLK |
| 26 | 53615-85A | SPACER (2) | FLHTCUSE5, FLHTCUSE5 BLK |
| 27 | 53629-10 | LINER, removable **RESTRICTED SALES PART** | FLHTCUSE5, FLHTCUSE5 BLK |
| 28 | 53788-06 | LIGHT, right-bottom, Tour-Pak, sidemarker, w/ 73152-96BK & 73191-96 (Domestic) | FLHTCUSE5, FLHTCUSE5 BLK |
| 53789-06 | LIGHT, left-bottom, Tour-Pak, sidemarker, w/ 73152-96BK & 73191-96 (Domestic) | FLHTCUSE5, FLHTCUSE5 BLK | |
| 29 | 54111-10 | LINER, molded, w/ pouch **RESTRICTED SALES PART** | FLHTCUSE5, FLHTCUSE5 BLK |
| 30 | 54333-04A | LIGHT ASSEMBLY, saddlebag, w/ nuts (2) | FLHTCUSE5, FLHTCUSE5 BLK |
| 31 | 57978-00 | GROMMET (Domestic) (2) | FLHTCUSE5, FLHTCUSE5 BLK |
| 32 | 70465-86A | GROUND CABLE, w/ 9864 | FLHTCUSE5, FLHTCUSE5 BLK |
| 33 | 73102-96BK | PIN HOUSING, 2-place | FLHTCUSE5, FLHTCUSE5 BLK |
| 34 | 73152-96BK | SOCKET HOUSING, 2-way (black) (Domestic) (2) | FLHTCUSE5, FLHTCUSE5 BLK |
| 35 | 73190-96 | TERMINAL, pin, 16-20 AWG (2) | FLHTCUSE5, FLHTCUSE5 BLK |
| 36 | 73191-96 | SOCKET TERMINAL (Domestic) (4) | FLHTCUSE5, FLHTCUSE5 BLK |
| 37 | 76258-86 | PLUG ASSEMBLY | FLHTCUSE5, FLHTCUSE5 BLK |
| 38 | 76259-86 | NUT | FLHTCUSE5, FLHTCUSE5 BLK |
| 39 | 76294-09 | CABLE EXTENSION, CB antenna (Domestic & HDI) | FLHTCUSE5, FLHTCUSE5 BLK |
| 40 | 79182-08A | CATCH, lower | FLHTCUSE5, FLHTCUSE5 BLK |
| 41 | 90649-07 | BODY, latch (2) | FLHTCUSE5, FLHTCUSE5 BLK |
| 42 | 90755-09 | PLATE, Tour-Pak reinforcing | FLHTCUSE5, FLHTCUSE5 BLK |
| 43 | 90763-79 | WASHER, REINFORCEMENT, antenna, left hand | FLHTCUSE5, FLHTCUSE5 BLK |
| Index No. | Part No. | Description | Model(s) |
| 44 | 90964-63 | BACKING PLATE (4) | FLHTCUSE5, FLHTCUSE5 BLK |
| 45 | 90965-63 | RIVET (12) | FLHTCUSE5, FLHTCUSE5 BLK |
| 46 | 91823-10 | POWER OUTLET, Tour-Pak, w/ 73102-96BK & 73190-96 | FLHTCUSE5, FLHTCUSE5 BLK |
| 47 | 99461-89 | COVER, owner manual | FLHTCUSE5, FLHTCUSE5 BLK |
| INTERNATIONAL MODELS ONLY | |||
| 48 | 53228-10BZN | BOTTOM ASSEMBLY, w/ trim, latches & hinges (Scarlet Red Pearl) (HDI) | FLHTCUSE5 |
| 53228-10DDZ | BOTTOM ASSEMBLY, w/ trim, latches & hinges (Riptide Blue) (HDI) | FLHTCUSE5 | |
| 53228-10DEC | BOTTOM ASSEMBLY, w/ trim, latches & hinges (Burnt Amber) (HDI) | FLHTCUSE5 | |
| 53228-10DEF | BOTTOM ASSEMBLY, w/ trim, latches & hinges (Crimson Mist Black) (HDI) | FLHTCUSE5 BLK | |
| 53305-10BZN | BOTTOM ASSEMBLY, w/ trim, latches & hinges (Scarlet Red Pearl) (Japan) | FLHTCUSE5 | |
| 53305-10DDZ | BOTTOM ASSEMBLY, w/ trim, latches & hinges (Riptide Blue) (Japan) | FLHTCUSE5 | |
| 53305-10DEC | BOTTOM ASSEMBLY, w/ trim, latches & hinges (Burnt Amber) (Japan) | FLHTCUSE5 | |
| 53305-10DEF | BOTTOM ASSEMBLY, w/ trim, latches & hinges (Crimson Mist Black) (Japan) | FLHTCUSE5 BLK | |
| 53145-09 | BOTTOM, w/o trim, latches & hinges (prime) | FLHTCUSE5, FLHTCUSE5 BLK | |
| 49 | 53734-06 | TRIM, left-bottom, Tour-Pak (chrome) (HDI, Japan) | FLHTCUSE5 |
| 54115-10 | TRIM, left-bottom, Tour-Pak (black) (HDI, Japan) | FLHTCUSE5 BLK | |
| 53735-06 | TRIM, right-bottom, Tour-Pak (chrome) (HDI, Japan) | FLHTCUSE5 | |
| 54116-10 | TRIM, right-bottom, Tour-Pak (black) (HDI, Japan) | FLHTCUSE5 BLK | |
| Index No. | Part No. | Description | Model(s) |
| 1 | 2244 | SCREW (4) | FLHTCUSE5, FLHTCUSE5 BLK |
| 2 | 3227 | SCREW | FLHTCUSE5, FLHTCUSE5 BLK |
| 3 | 6029 | WASHER (4) | FLHTCUSE5, FLHTCUSE5 BLK |
| 4 | 6036 | WASHER | FLHTCUSE5, FLHTCUSE5 BLK |
| 5 | 7355 | NUT (7) | FLHTCUSE5, FLHTCUSE5 BLK |
| 6 | 7492 | NUT, w/ lockwasher | FLHTCUSE5, FLHTCUSE5 BLK |
| 7 | 8230 | ADAPTER, antenna (2) | FLHTCUSE5, FLHTCUSE5 BLK |
| 8 | 54135-10 | LED ASSEMBLY, left, w/ 72169-07 (Domestic) | FLHTCUSE5, FLHTCUSE5 BLK |
| 9 | 54136-10 | LED ASSEMBLY, right, w/ 72169-07 (Domestic) | FLHTCUSE5, FLHTCUSE5 BLK |
| 10 | 54137-10 | LED ASSEMBLY, center, w/ 72169-07 (Domestic) | FLHTCUSE5, FLHTCUSE5 BLK |
| 11 | 68072-10BZN | HOUSING, lamp (Scarlet Red Pearl) | FLHTCUSE5 |
| 68072-10DDZ | HOUSING, lamp (Riptide Blue) | FLHTCUSE5 | |
| 68072-10DEC | HOUSING, lamp (Burnt Amber) | FLHTCUSE5 | |
| 68072-10DEF | HOUSING, lamp (Crimson Mist Black) | FLHTCUSE5 BLK | |
| 12 | 72168-07 | TERMINAL, socket, 18-20 AWG (domestic, HDI) (7) | FLHTCUSE5, FLHTCUSE5 BLK |
| 72168-07 | TERMINAL, socket, 18-20 AWG (HDI) (6) | FLHTCUSE5, FLHTCUSE5 BLK | |
| 13 | 72169-07 | TERMINAL, pin, 16-20 AWG (domestic, HDI) (7) | FLHTCUSE5, FLHTCUSE5 BLK |
| 72169-07 | TERMINAL, pin, 16-20 AWG (HDI) (6) | FLHTCUSE5, FLHTCUSE5 BLK | |
| 14 | 72473-07 | SEAL PIN (domestic, HDI) (2) | FLHTCUSE5, FLHTCUSE5 BLK |
| 72473-07 | SEAL PIN (Japan) (4) | FLHTCUSE5, FLHTCUSE5 BLK | |
| 15 | 72478-07BK | PIN HOUSING, 8-place | FLHTCUSE5, FLHTCUSE5 BLK |
| 16 | 72479-07BK | SOCKET HOUSING, 8-place | FLHTCUSE5, FLHTCUSE5 BLK |
| 17 | 72636-10 | WIRING HARNESS, luggage box, w/ 72168-07, 72473-07, 72479-07BK, 73102-96BK, 73103-96BK & 73190-96 (Domestic) | FLHTCUSE5, FLHTCUSE5 BLK |
| 18 | 73102-96BK | PIN HOUSING, 2-place (Domestic, HDI) (2) | FLHTCUSE5, FLHTCUSE5 BLK |
| 19 | 73103-96BK | PIN HOUSING, 3-place | FLHTCUSE5, FLHTCUSE5 BLK |
| 20 | 73190-96 | TERMINAL, pin, 16-20 AWG (domestic, HDI) (7) | FLHTCUSE5, FLHTCUSE5 BLK |
| 73190-96 | TERMINAL, pin, 16-20 AWG (Japan) (2) | FLHTCUSE5, FLHTCUSE5 BLK | |
| 21 | 76258-86 | PLUG ASSEMBLY | FLHTCUSE5, FLHTCUSE5 BLK |
| 22 | 76259-86 | NUT | FLHTCUSE5, FLHTCUSE5 BLK |
| 23 | 90763-79 | WASHER, reinforcement | FLHTCUSE5, FLHTCUSE5 BLK |
| INTERNATIONAL MODELS ONLY | |||
| 24 | 54093-10 | TRIM, LH LED cover (HDI) | FLHTCUSE5, FLHTCUSE5 BLK |
| 25 | 54094-10 | TRIM, RH LED cover (HDI) | FLHTCUSE5, FLHTCUSE5 BLK |
| 26 | 54135-10 | LED ASSEMBLY, left, w/ 72169-07 (HDI) | FLHTCUSE5, FLHTCUSE5 BLK |
| 54176-10 | LED ASSEMBLY, left, w/ 72169-07 (Japan) | FLHTCUSE5, FLHTCUSE5 BLK | |
| 27 | 54136-10 | LED ASSEMBLY, right, w/ 72169-07 (HDI) | FLHTCUSE5, FLHTCUSE5 BLK |
| 54194-10 | LED ASSEMBLY, right, w/ 72169-07 (Japan) | FLHTCUSE5, FLHTCUSE5 BLK | |
| 28 | 54137-10 | LED ASSEMBLY, center, w/ 72169-07 (HDI) | FLHTCUSE5, FLHTCUSE5 BLK |
| 54195-10 | LED ASSEMBLY, center, w/ 72169-07 (Japan) | FLHTCUSE5, FLHTCUSE5 BLK | |
| 29 | 72636-10 | WIRING HARNESS, luggage box, w/ 72168-07, 72473-07, 72479-07BK, 73102-96BK, 73103-96BK & 73190-96 (HDI) | FLHTCUSE5, FLHTCUSE5 BLK |
| 30 | 72645-10 | WIRING HARNESS, luggage box, w/ 72168-07, 72473-07, 72479-07BK, 73103-96BK & 73190-96 (Japan) | FLHTCUSE5, FLHTCUSE5 BLK |
| Index No. | Part No. | Description | Model(s) |
| 1 | 2478 | SCREW (2) | FLHTCUSE5, FLHTCUSE5 BLK |
| 2 | 2524B | SCREW (6) | FLHTCUSE5, FLHTCUSE5 BLK |
| 3 | 3592A | SCREW (4) | FLHTCUSE5, FLHTCUSE5 BLK |
| 4 | 3593 | SCREW (16) | FLHTCUSE5, FLHTCUSE5 BLK |
| 5 | 3595 | SCREW (10) | FLHTCUSE5, FLHTCUSE5 BLK |
| 6 | 3612 | SCREW (4) | FLHTCUSE5, FLHTCUSE5 BLK |
| 7 | 4616 | SCREW (4) | FLHTCUSE5, FLHTCUSE5 BLK |
| 8 | 4630 | SCREW (4) | FLHTCUSE5, FLHTCUSE5 BLK |
| 9 | 6229W | WASHER (4) | FLHTCUSE5, FLHTCUSE5 BLK |
| 10 | 7624 | LOCKNUT (2) | FLHTCUSE5, FLHTCUSE5 BLK |
| 10102 | CLIP, adhesive backed (not illustrated) (4) | FLHTCUSE5, FLHTCUSE5 BLK | |
| 11 | 10302 | E-CLIP (2) | FLHTCUSE5, FLHTCUSE5 BLK |
| 12 | 11468 | GROMMET (4) | FLHTCUSE5, FLHTCUSE5 BLK |
| 13 | 53482-93 | RUB BAR, left, rear (plastic) | FLHTCUSE5, FLHTCUSE5 BLK |
| 53483-93 | RUB BAR, right, rear (plastic) | FLHTCUSE5, FLHTCUSE5 BLK | |
| 14 | 53567-93 | CHECK STRAP (2) | FLHTCUSE5, FLHTCUSE5 BLK |
| 15 | 53597-07 | ACTUATOR, power lock (2) | FLHTCUSE5, FLHTCUSE5 BLK |
| 16 | 53986-07 | LOCK (specify key code) (2) | FLHTCUSE5, FLHTCUSE5 BLK |
| 17 | 54033-09 | LOCKSET COMPLETE, w/ key & fob assembly, ignition knob, tour-pak & saddlebag lock (Domestic) | FLHTCUSE5 |
| 76607-10 | LOCKSET COMPLETE, w/ key & fob assembly, ignition knob, tour-pak & saddlebag lock (Domestic) | FLHTCUSE5 BLK | |
| 18 | 68042-99 | SCREW (4) | FLHTCUSE5, FLHTCUSE5 BLK |
| 19 | 74112-98BK | HOUSING, 2-way socket (2) | FLHTCUSE5, FLHTCUSE5 BLK |
| 20 | 74152-98 | SECONDARY LOCK, 2-way socket (2) | FLHTCUSE5, FLHTCUSE5 BLK |
| 21 | 74191-98 | SOCKET TERMINAL (4) | FLHTCUSE5, FLHTCUSE5 BLK |
| 22 | 79113-07 | CABLE ASSEMBLY (2) | FLHTCUSE5, FLHTCUSE5 BLK |
| 23 | 79114-07 | GROMMET (2) | FLHTCUSE5, FLHTCUSE5 BLK |
| 24 | 79145-07 | BASE, power lock system, left | FLHTCUSE5, FLHTCUSE5 BLK |
| 79158-07 | BASE, power lock system, right | FLHTCUSE5, FLHTCUSE5 BLK | |
| 25 | 79146-07 | LID, power lock system, left | FLHTCUSE5, FLHTCUSE5 BLK |
| 79159-07 | LID, power lock system, right | FLHTCUSE5, FLHTCUSE5 BLK | |
| 26 | 79156-07 | POWER LOCK ASSEMBLY, right | FLHTCUSE5, FLHTCUSE5 BLK |
| 79163-07 | POWER LOCK ASSEMBLY, left | FLHTCUSE5, FLHTCUSE5 BLK | |
| 27 | 79157-07 | BOX & ACTUATOR ASSEMBLY, right | FLHTCUSE5, FLHTCUSE5 BLK |
| 79164-07 | BOX & ACTUATOR ASSEMBLY, left | FLHTCUSE5, FLHTCUSE5 BLK | |
| 28 | 79165-07 | ACTUATOR ASSEMBLY, cable (2) | FLHTCUSE5, FLHTCUSE5 BLK |
| 29 | 88275-10DDW | BOTTOM ASSEMBLY, saddlebag, left (Scarlet Red Pearl/Dark Slate) **RESTRICTED SALES PART** | FLHTCUSE5 |
| 88275-10DDY | BOTTOM ASSEMBLY, saddlebag, left (Riptide Blue/Titanium Dust) **RESTRICTED SALES PART** | FLHTCUSE5 | |
| 88275-10DEB | BOTTOM ASSEMBLY, saddlebag, left (Burnt Amber/Hot Citrus) **RESTRICTED SALES PART** | FLHTCUSE5 | |
| 88275-10DEE | BOTTOM ASSEMBLY, saddlebag, left (Crimson Mist Black/Dark Slate) **RESTRICTED SALES PART** | FLHTCUSE5 BLK | |
| 88277-10DDW | BOTTOM ASSEMBLY, saddlebag, right (Scarlet Red Pearl/Dark Slate) **RESTRICTED SALES PART** | FLHTCUSE5 | |
| 88277-10DDY | BOTTOM ASSEMBLY, saddlebag, right (Riptide Blue/Titanium Dust) **RESTRICTED SALES PART** | FLHTCUSE5 | |
| 88277-10DEB | BOTTOM ASSEMBLY, saddlebag, right (Burnt Amber/Hot Citrus) **RESTRICTED SALES PART** | FLHTCUSE5 | |
| 88277-10DEE | BOTTOM ASSEMBLY, saddlebag, right (Crimson Mist Black/Dark Slate) **RESTRICTED SALES PART** | FLHTCUSE5 BLK | |
| 30 | 88283-07 | POWER LOCK HARDWARE, w/ 4616, 10102, 10302, 74112-98BK, 74152-98, springs, cams & spacers (2) | FLHTCUSE5, FLHTCUSE5 BLK |
| 31 | 90115-04 | PROTECTOR, saddlebag (4) | FLHTCUSE5, FLHTCUSE5 BLK |
| 32 | 90400-00A | BAIL HEAD STUD (Bail must be removed for HDE and HDI) (4) | FLHTCUSE5, FLHTCUSE5 BLK |
| Index No. | Part No. | Description | Model(s) |
| 33 | 90635-10BZN | COVER ASSEMBLY, saddlebag, left (Scarlet Red Pearl) | FLHTCUSE5 |
| 90635-10DDZ | COVER ASSEMBLY, saddlebag, left (Riptide Blue) | FLHTCUSE5 | |
| 90635-10DEC | COVER ASSEMBLY, saddlebag, left (Burnt Amber) | FLHTCUSE5 | |
| 90635-10DEF | COVER ASSEMBLY, saddlebag, left (Crimson Mist Black) | FLHTCUSE5 BLK | |
| 90636-10BZN | COVER ASSEMBLY, saddlebag, right (Scarlet Red Pearl) | FLHTCUSE5 | |
| 90636-10DDZ | COVER ASSEMBLY, saddlebag, right (Riptide Blue) | FLHTCUSE5 | |
| 90636-10DEC | COVER ASSEMBLY, saddlebag, right (Burnt Amber) | FLHTCUSE5 | |
| 90636-10DEF | COVER ASSEMBLY, saddlebag, right (Crimson Mist Black) | FLHTCUSE5 BLK | |
| 34 | 90664-93 | LATCH ASSEMBLY, left, w/ 53482-93, also order 90981-09 | FLHTCUSE5, FLHTCUSE5 BLK |
| 90665-93 | LATCH ASSEMBLY, right, w/ 53483-93, also order 90980-09 | FLHTCUSE5, FLHTCUSE5 BLK | |
| 35 | 90674-09A | FACE PLATE, left | FLHTCUSE5 |
| 92281-10 | FACE PLATE, left | FLHTCUSE5 BLK | |
| 90680-09A | FACE PLATE, right | FLHTCUSE5 | |
| 92260-10 | FACE PLATE, right | FLHTCUSE5 BLK | |
| 36 | 90675-93A | GASKET, cover (2) | FLHTCUSE5, FLHTCUSE5 BLK |
| 37 | 90700-93 | BACKING PLATE (2) | FLHTCUSE5, FLHTCUSE5 BLK |
| 38 | 90756-93 | COVER, saddlebag, left (prime) | FLHTCUSE5, FLHTCUSE5 BLK |
| 90757-93 | COVER, saddlebag, right (prime) | FLHTCUSE5, FLHTCUSE5 BLK | |
| 39 | 90764-93 | CUSHION (4) | FLHTCUSE5, FLHTCUSE5 BLK |
| 40 | 90958-93 | MOUNTING BRACKET (4) | FLHTCUSE5, FLHTCUSE5 BLK |
| 41 | 90962-93 | WEARPLATE, cover (4) | FLHTCUSE5, FLHTCUSE5 BLK |
| 42 | 90980-09 | RUB BAR, right, front (plastic) | FLHTCUSE5, FLHTCUSE5 BLK |
| 90981-09 | RUB BAR, left, front (plastic) | FLHTCUSE5, FLHTCUSE5 BLK | |
| 43 | 91171-07 | BOTTOM, saddlebag, right (prime) | FLHTCUSE5, FLHTCUSE5 BLK |
| 91190-07 | BOTTOM, saddlebag, left (prime) | FLHTCUSE5, FLHTCUSE5 BLK | |
| 44 | 91586-07 | PLATE COVER, right | FLHTCUSE5, FLHTCUSE5 BLK |
| 91587-07 | PLATE COVER, left | FLHTCUSE5, FLHTCUSE5 BLK | |
| 45 | 91636-09 | COVER, indoor storage **RESTRICTED SALES PART** | FLHTCUSE5, FLHTCUSE5 BLK |
| 46 | 92142-10 | LINER, removable, w/ handles (2) **RESTRICTED SALES PART** | FLHTCUSE5, FLHTCUSE5 BLK |
| 88235-07 | LINER, right, black EVA foam (not illustrated) | FLHTCUSE5, FLHTCUSE5 BLK | |
| 88236-07 | LINER, left, black EVA foam (not illustrated) | FLHTCUSE5, FLHTCUSE5 BLK | |
| 92350-10DDW | SADDLEBAG ASSEMBLY, complete, w/o power lock, left (Scarlet Red Pearl/Dark Slate) **RESTRICTED SALES PART** | FLHTCUSE5 | |
| 92350-10DDY | SADDLEBAG ASSEMBLY, complete, w/o power lock, left (Riptide Blue/Titanium Dust) **RESTRICTED SALES PART** | FLHTCUSE5 | |
| 92350-10DEB | SADDLEBAG ASSEMBLY, complete, w/o power lock, left (Burnt Amber/Hot Citrus) **RESTRICTED SALES PART** | FLHTCUSE5 | |
| 92350-10DEE | SADDLEBAG ASSEMBLY, complete, w/o power lock, left (Crimson Mist Black/Dark Slate) **RESTRICTED SALES PART** | FLHTCUSE5 BLK | |
| 92351-10DDW | SADDLEBAG ASSEMBLY, complete, w/o power lock, right (Scarlet Red Pearl/Dark Slate) **RESTRICTED SALES PART** | FLHTCUSE5 | |
| 92351-10DDY | SADDLEBAG ASSEMBLY, complete, w/o power lock, right (Riptide Blue/Titanium Dust) **RESTRICTED SALES PART** | FLHTCUSE5 | |
| 92351-10DEB | SADDLEBAG ASSEMBLY, complete, w/o power lock, right (Burnt Amber/Hot Citrus) **RESTRICTED SALES PART** | FLHTCUSE5 | |
| 92351-10DEE | SADDLEBAG ASSEMBLY, complete, w/o power lock, right (Crimson Mist Black/Dark Slate) **RESTRICTED SALES PART** | FLHTCUSE5 BLK | |
| 94819-02 | TOOL KIT (not illustrated) | FLHTCUSE5, FLHTCUSE5 BLK | |
| INTERNATIONAL MODELS ONLY | |||
| 47 | 54033-09 | LOCKSET COMPLETE, w/ key & fob assembly, ignition knob, tour-pak & saddlebag lock (HDI) | FLHTCUSE5 |
| 76607-10 | LOCKSET COMPLETE, w/ key & fob assembly, ignition knob, tour-pak & saddlebag lock (HDI) | FLHTCUSE5 BLK | |
| 54034-09 | LOCKSET COMPLETE, w/ keys, ignition knob, tour-pak & saddlebag lock (Japan) | FLHTCUSE5 | |
| 76613-10 | LOCKSET COMPLETE, w/ keys, ignition knob, tour-pak & saddlebag lock (Japan) | FLHTCUSE5 BLK | |
| Index No. | Part No. | Description | Model(s) |
| 1 | 2238 | SCREW (black) (4) | FLHTCUSE5 BLK |
| 4924 | SCREW (4) | FLHTCUSE5 | |
| 2 | 3275 | SCREW (4) | FLHTCUSE5, FLHTCUSE5 BLK |
| 3 | 3601 | SCREW (2) | FLHTCUSE5, FLHTCUSE5 BLK |
| 4 | 3684 | SCREW (4) | FLHTCUSE5, FLHTCUSE5 BLK |
| 5 | 3787 | BOLT (2) | FLHTCUSE5, FLHTCUSE5 BLK |
| 6 | 6702 | WASHER (4) | FLHTCUSE5, FLHTCUSE5 BLK |
| 7 | 6703 | WASHER (2) | FLHTCUSE5, FLHTCUSE5 BLK |
| 8 | 7531 | LOCKNUT (4) | FLHTCUSE5, FLHTCUSE5 BLK |
| 9 | 7601 | LOCKNUT (2) | FLHTCUSE5, FLHTCUSE5 BLK |
| 10 | 7686 | LOCKNUT (2) | FLHTCUSE5, FLHTCUSE5 BLK |
| 14148-86 | ENGINE GUARD LABEL (not Illustrated) (2) | FLHTCUSE5 | |
| 11 | 47449-09 | BRACKET, saddlebag mounting, front (flat black) (2) | FLHTCUSE5, FLHTCUSE5 BLK |
| 12 | 49194-09A | SUPPORT, saddlebag, left | FLHTCUSE5, FLHTCUSE5 BLK |
| 90781-09A | SUPPORT, saddlebag, right | FLHTCUSE5, FLHTCUSE5 BLK | |
| 13 | 49176-09 | GUARD, right | FLHTCUSE5 |
| 49187-09 | GUARD, left | FLHTCUSE5 | |
| 49000002 | GUARD, left (black) | FLHTCUSE5 BLK | |
| 49000003 | GUARD, right (black) | FLHTCUSE5 BLK | |
| 14 | 59370-98 | REFLECTOR, right (red) | FLHTCUSE5, FLHTCUSE5 BLK |
| 59371-98 | REFLECTOR, left (red) | FLHTCUSE5, FLHTCUSE5 BLK | |
| 15 | 66069-10 | BUMPER, saddlebag bracket (2) | FLHTCUSE5, FLHTCUSE5 BLK |
| 16 | 70909-95 | RECEPTACLE (4) | FLHTCUSE5, FLHTCUSE5 BLK |
| 17 | 91638-10BZN | FILLER STRIP, saddlebag trim, left (Scarlet Red Pearl) (not shown) | FLHTCUSE5 |
| 91638-10DDZ | FILLER STRIP, saddlebag trim, left (Riptide Blue) (not shown) | FLHTCUSE5 | |
| 91638-10DEC | FILLER STRIP, saddlebag trim, left (Burnt Amber) (not shown) | FLHTCUSE5 | |
| 91638-10DEF | FILLER STRIP, saddlebag trim, left (Crimson Mist Black) (not shown) | FLHTCUSE5 BLK | |
| 91639-10BZN | FILLER STRIP, saddlebag trim right (Scarlet Red Pearl) | FLHTCUSE5 | |
| 91639-10DDZ | FILLER STRIP, saddlebag trim right (Riptide Blue) | FLHTCUSE5 | |
| 91639-10DEC | FILLER STRIP, saddlebag trim right (Burnt Amber) | FLHTCUSE5 | |
| 91639-10DEF | FILLER STRIP, saddlebag trim right (Crimson Mist Black) | FLHTCUSE5 BLK | |
| INTERNATIONAL MODELS ONLY | |||
| 18 | 73222-09 | REFLECTOR, right (amber) | FLHTCUSE5, FLHTCUSE5 BLK |
| 73223-09 | REFLECTOR, left (amber) | FLHTCUSE5, FLHTCUSE5 BLK | |
| Index No. | Part No. | Description | Model(s) |
| 1 | 13733-10 | EMISSIONS LABEL (French) (Canada) **RESTRICTED SALES PART** | FLHTCUSE5, FLHTCUSE5 BLK |
| 2 | 13846-10 | EMISSIONS LABEL (Domestic, Canada) **RESTRICTED SALES PART** | FLHTCUSE5, FLHTCUSE5 BLK |
| 13847-10 | EMISSIONS LABEL (California) **RESTRICTED SALES PART** | FLHTCUSE5, FLHTCUSE5 BLK | |
| 3 | 14148-86 | ENGINE GUARD LABEL | FLHTCUSE5 |
| 14151-02 | ENGINE GUARD LABEL | FLHTCUSE5 BLK | |
| 4 | 15342-06A | MIRROR WARNING LABEL | FLHTCUSE5, FLHTCUSE5 BLK |
| 5 | 15368-01A | BATTERY DISCONNECT LABEL | FLHTCUSE5, FLHTCUSE5 BLK |
| 6 | 29127-95B | AIR CLEANER WARNING LABEL (chrome) (Domestic, California) | FLHTCUSE5 |
| 29404-01A | AIR CLEANER WARNING LABEL (clear) (Domestic, California) | FLHTCUSE5 BLK | |
| 7 | 90820-93D | LABEL, saddlebag load limits (2) | FLHTCUSE5, FLHTCUSE5 BLK |
| 8 | 90821-74C | LABEL, Tour-Pak load limits | FLHTCUSE5, FLHTCUSE5 BLK |
| INTERNATIONAL MODELS ONLY | |||
| 9 | 14272-06 | LABEL, shift pattern (Japan only) | FLHTCUSE5, FLHTCUSE5 BLK |
| Part No. | Description |
| 1001 | SCREW 1/4-20 X 5/8 TORX button head, self-tapping (Grade 8) |
| 1039 | SCREW 5/16-18 X 2-1/2 hex flange head (Grade 8) |
| 1062 | SCREW 1/4-20 X 5/8 TORX head (Grade 8) |
| 1090A | SCREW 5/16-18 X 3-3/4 hex flange head with seal ring |
| 1095M | SCREW M6 x 1.0 X 22 SEMS socket head |
| 1106 | SCREW 1/4-20 X 2-1/4 TORX socket button head |
| 1107 | SCREW 1/4-20 X 2-3/4 TORX socket button head |
| 12400 | WASHER 17/64 X 1/2 X 1/16 stainless steel (black) |
| 12402 | WASHER 13/32 X 5/8 X 1/8 (black) |
| 12403 | WASHER 1/4 X 5/8 X 1/16 (black) |
| 12404 | WASHER 21/64 X 33/64 X 1/16 |
| 12410 | WASHER 8.4mm X 15.5mm X 1.6mm |
| 1332 | SCREW No. 5/16 X 2-1/4 socket button head with lock patch (Grade 8) |
| 1333 | SCREW No. 5/16 X 2-1/4 socket button head with lock patch (Grade 8) (black) |
| 1334 | SCREW 1/4-20 X 3/4 TORX socket button head, (Grade 8) (black) |
| 2225 | SCREW 1/4-20 X 5/8 socket flat countersink head |
| 2228 | SCREW M5 X 0.8 X 20.7 TORX pan head (Grade 9.8) |
| 2230 | SCREW 5/16-24 X 2-3/4 TORX button head (black) |
| 2231 | SCREW 5/16-18 X 3/4 socket head (Grade 8) (black) |
| 2232 | SCREW 5/16-18 X 7/8 TORX pan head, with lockpatch (Grade 8) (black) |
| 2234 | SCREW 5/16-18 X 1-1/4 TORX button head, self-tapping (black) |
| 2235 | SCREW 3/8-16 X 1-1/2 button socket head, with lockpatch (black) (Grade 8) |
| 2236 | SCREW 1/4-20 X 5/8 hex socket head full thread (Grade 8) (black) |
| 2238 | SCREW 3/8-16 X 7/8 TORX button head (Grade 5) (black) |
| 2239 | SCREW 1/4 X 5/8 self-tapping (black) |
| 2241 | SCREW 5/16-18 X 1.0 button socket head, with lockpatch (Grade 8) (black) |
| 2244 | SCREW No. 6-32 X 5/8 TORX pan head, self-tapping |
| 2445 | SCREW 1/4-20 X 9/16 button head |
| 2446 | SCREW 1/4-20 X 5/8 TORX socket button head |
| 2478 | SCREW No. 10-24 X 1/2 TORX button head |
| 2479 | SCREW 5/16-18 X 1-1/8 SEMS socket head |
| 2482 | SCREW 6-32 X 5/16 socket button head (stainless) |
| 2524B | SCREW No. 8-32 X 5/16 TORX button head |
| 2533 | SCREW No. 10-16 X 1/2 socket button head |
| 2551W | BOLT 1/4-20 X 1 hex head (Grade 5) |
| 2559 | SCREW No. 6-32 X 3/4 Phillips pan head, with lockwasher |
| 2563 | SCREW No. 10-24 X 5/8 TORX button head |
| 25700226 | GASKET KIT |
| 2590 | SCREW No. 8-32 X 5/8 Phillips head |
| 2625 | SCREW No. 8-32 X 5/8 Pozidriv pan head (Grade 2) |
| 2647B | SCREW No. 10-24 X 3/4 socket head, self-locking |
| 2692WB | SCREW No. 10-24 X 1/2 socket fillister head (Grade 8) |
| 2708A | SCREW 5/16-18 X 1 socket head |
| 2724 | SCREW No. 10-16 X 1/2 (Grade 2) (chrome) |
| 2731W | SCREW No. 10 X 3/8 Phillips truss head, self-tapping |
| 29269-83A | SCREW 15/16-18 X 5/8 hex button head, with lockpatch |
| 2934 | SCREW No. 10-24 X 3/4 socket head |
| 2952A | SCREW 1/4-20 X 1/2 SEMS truss head |
| 2955 | SCREW No. 6-32 X 1/4 Phillips pan head, with lockwasher |
| 2963 | SCREW No. 6-32 X 1-1/4 TORX pan head |
| 2965 | SCREW No. 10 X 2 pan head, self-tapping |
| 2968 | SCREW No. 8-32 X 3/4 TORX pan head |
| 2980 | SCREW M6 X 1 X 16mm hex flange head |
| 2995 | SCREW No. 10-16 X 3/4 pan head |
| 3022A | SCREW 1/4-20 X 5/8 socket fillister head, with lockpatch |
| 3048 | SCREW No. 10-24 X 3/8 hex button head |
| 3050 | SCREW No. 10-24 X 1-3/8 TORX head |
| 3057 | SCREW 7/16-14 X 1-1/4 hex head with washer, with lock patch |
| 3061 | SCREW 1/4-20 X 5/8 SEMS hex head |
| 3088 | SCREW 1/4-20 X 1-1/2 socket button head (chrome) |
| 3089 | SCREW 8-32 X 5/8 Phillips head (stainless) |
| 3164M | SCREW M4 X 10 socket button head |
| 3210A | SCREW 5/16-18 X 1-1/4 knurled head |
| 3227 | SCREW M5 (.08 pitch) X 35mm set |
| 3249 | SCREW 5/16-18 X 1-3/16 socket head (Grade 8) |
| 3275 | SCREW 5/16-18 X 3/4 socket head (Grade 8) |
| 3300 | SCREW 5/16-18 X 1-1/2 socket head, with lockpatch (Grade 8) |
| 3331 | SCREW 5/16-18 X 1 TORX button head, self-tapping (Grade 5) |
| 3337 | SCREW 5/16-18 X 1-1/4 TORX button head, self-tapping |
| 3341 | SET SCREW No. 10-24 X 1/2 hex head (stainless) |
| 3368 | SCREW 9/16-1/2 X 3 hex head (Grade 8) |
| 3387 | SCREW No. 10-16 X 1.0 TORX pan head, self-tapping |
| 3403 | LOCKNUT M8-1.25 X 12mm flange (zinc) |
| 3462 | BOLT 5/16-18 X 1-1/4 hex head (Grade 8) |
| 3514 | SCREW No. 8-32 X 1 fillister head (Grade 5) |
| 35241-06 | NUT 1-3/4-20 X .350 X 2-1/4 hex head |
| 35244-06 | SCREW 5/16-18 X 1-1/4 hex flange head |
| 35259-06 | SCREW No. 10-24 X 1/2 hex head (Grade 8) |
| 3529 | SCREW No. 10-32 X 1/4 hex slotted washer head, self-tapping |
| 3536 | BOLT 3/8-16 X 1-1/4 hex head (Grade 8) |
| 3537 | SCREW 1/4-28 X 1/2 flange head, with lockpatch |
| 3540 | SCREW 5/16-18 X 5/8 socket button head |
| 3546 | BOLT 5/16-18 X 5/8 hex flange head, with lockpatch |
| 3563 | SCREW 1/4-20 X 3/8 hex flange head (Grade 5) |
| 3574 | SCREW 1/4-20 X 3/4 flange |
| 3576 | SCREW 5/16-18 X 1/2 hex head, with washer. |
| 3588 | SCREW 1/4-20 X 1/2 hex flange head |
| 3592A | SCREW No. 8-32 X 1/2 TORX truss head with dogpoint lead (stainless) |
| 3593 | SCREW No. 8-32 X 5/16 TORX truss head |
| 3594 | SCREW 1/4-20 X 5/8 knurled head (Grade 8) |
| 3595 | SCREW No. 6-32 X 1/4 TORX head, with lockpatch |
| 3597 | SCREW No. 6-32 X 9/16 TORX pan head, thread-cutting |
| 3598 | SCREW No. 6-32 X 3/4 TORX pan head, thread-cutting |
| 3601 | SCREW 1/4-20 X 1-1/4 knurled head (Grade 8) |
| 3605 | BOLT 1/2-13 X 2-1/2 hex head (Grade 5) |
| 3607 | BOLT 1/2-13 X 2 hex head (Grade 5) |
| 3612 | SCREW No. 10-16 X 1/2 TORX pan head, self-tapping |
| 3634 | SCREW 5/16-18 X 1.0 self-tapping |
| 3643 | SCREW 1/4-20 X 1-1/4 hex head |
| 3652 | SCREW 1/4-20 X 3/8 button head (Grade 8) |
| 3655A | SCREW 5/16-18 X 7/8 TORX pan head, with lockpatch (Grade 8) |
| 3658 | SCREW No. 10-24 X 1/2 TORX head (Grade 5) |
| 3684 | SCREW 5/16-18 X 1 TORX pan head |
| 3692A | SCREW 5/16-18 X 1.0 hex head, with lockpatch |
| 3693A | SCREW 5/16-18 X 1-3/4 hex head, with lockpatch |
| 3699D | SCREW 3/8-16 X 2.0 hex flange head (Grade 8) |
| 3728 | SCREW 1/4-20 X 1/2 hex head |
| 3736A | SCREW 5/16-18 X 1-1/4 hex flange head, with lockpatch |
| 3746A | SCREW 1/4-20 X 2-1/4 hex flange head (Grade 8) |
| 3787 | BOLT 1/4-20 X 3/4 hex head (Grade 5) |
| 3802W | BOLT 1/4-20 X 7/8 hex head (Grade 5) |
| 3892 | SCREW 1/4 X 5/8 self-tapping |
| 3929 | SCREW 5/16-18 X 1/2 hex head |
| 3983 | SCREW 3/8-16 X 1-5/8 hex flange head, with washer (Grade 8) |
| 3987 | BOLT 5/16-18 X 3/4 hex head (Grade 5) |
| 3993 | BOLT 1/4-20 X 1-1/4 hex head (Grade 5) |
| 4016 | SCREW 5/16-18 X 1.0 socket button head |
| 4132 | SCREW 1/4-20 X 1-1/8 TORX button head (Grade 5) (black) |
| 4192 | SCREW 5/16-24 X 59/64 hex head |
| 4194 | SCREW No. 10-24 X 5/16 TORX pan head (Grade 5) |
| 4196 | SCREW 5/16-24 X 2-3/4 TORX button head |
| 4240 | SCREW No. 10-24 X 3/16 hex head, with washer |
| 4292 | SCREW No. 10-24 X 1/2 TORX button head |
| 4293 | SCREW 1/4-20 X 1-1/8 TORX button head |
| 4312C | SCREW M6 X 1.0 X 14mm, SEMS flange head (stainless) |
| 4313 | SCREW 3/8-16 X 1-1/4 socket head |
| 43567-92 | SCREW 3/8-16 X 1 TORX pan head, with lockpatch |
| 4400 | BOLT 1/4-20 X 1-11/16 hex head with Scotch grip (Grade 8) |
| 4419 | SCREW 5/16-18 X 1-3/4 SEMS hex head |
| 45279-00 | WASHER 11/32 X 5/8 X 1/32 Aluminum |
| 4569 | SCREW No. 10-32 x 1/4 hex socket head cap |
| 45718-60 | NUT 1-24 X 1.5 X 0.47 |
| 45727-08 | WASHER 1-1/32 X 2.0 X 1/16 |
| 4597M | SCREW M10 X 1.5 X 30 hex socket head |
| 4612 | SCREW 10-24 X 3/4 TORX pan head |
| 4617 | SCREW 1/4-20 X 5/8 hex socket head full thread (Grade 8) |
| 4626 | SCREW 5/16-18 X 1.5 button socket head, with lockpatch (Grade 8) |
| 4688 | SCREW 3/8-16 X 1-1/4 SEMS hex socket head, with lock patch |
| 4705 | SCREW 1/4-20 X 11/16 SEMS socket head, with lockpatch |
| 4718A | SCREW 1/4-20 X 1-1/2 knurled head, with lockpatch |
| 4721 | BOLT 3/8-16 X 1-1/2 hex head (Grade 5) |
| 4740A | SCREW 1/4-20 X 1-1/4 knurled head, with lockpatch (Grade 8) |
| 4741A | SCREW 1/4-20 X 1 socket head, with lockpatch |
| 4775 | SCREW 3/8-16 X 1-1/4 hex head (Grade 5) |
| 4790 | SCREW No. 10-16 X 3/4 TORX head, self-tapping |
| 4808 | SCREW 5/16-24 X 3/4 TORX button head with Scotch grip |
| 4813A | SCREW 1/4-20 X 1-3/8 knurled head, with lockpatch |
| 4826 | SCREW 1/4-20 X 2-1/2 socket head, with washer |
| 4838 | SCREW 7/16-14 X 2-1/2 hex socket head, with washer, with lockpatch |
| 4855 | SCREW 7/16-20 X 1-3/8 hex head (Grade 8) |
| 4856 | SCREW No. 10-24 X 1/2 socket head (stainless) |
| 4860 | SCREW 5/16-18 X 3/4 hex head, hollow with lockpatch |
| 4868 | SCREW 3/8-16 X 3-3/4 hex flange head, with washer, with lockpatch |
| 4924 | SCREW 3/8-16 X 7/8 TORX button head (zinc plate) (Grade 5) |
| 4976 | SCREW 1/4-20 X 3/4 TORX socket button head, stainless steel |
| 5416 | BOLT 3/8-16 X 1/8 carriage (Grade 5) |
| 5429 | BOLT 1/4-20 X 1-1/2 carriage (Grade 2) |
| 54321-85 | NUT No. 8-32 X 1/2 X 1/8 (brass) |
| 6012 | WASHER 1/2 X 1-3/16 X 1/16 |
| 6019 | WASHER 3/8 X 29/32 X 1/16 |
| 6029 | WASHER 5/32 X 3/8 X 1/32 |
| 6036 | WASHER 17/64 X 1 X 1/16 |
| 6099 | WASHER 1/4 X 7/16 X 1/16 |
| 6101 | WASHER 17/64 X 27/64 X 1/16 |
| 6109 | WASHER 5/16 X 11/16 X 1/8 |
| 6116 | WASHER 5/16 X 16/16 X 1/8 |
| 6119 | WASHER 1/4 X 9/16 X 1/16 |
| 6127 | WASHER 13/32 X 13/16 X 5/64 |
| 6150W | WASHER 3/16 X 3/8 X 1/16 |
| 6220W | WASHER 1/4 X 7/16 X 1/32 |
| 6229W | WASHER 5/16 X 1-1/16 X 3/64 |
| 6235 | WASHER 1/4 X 23/32 X 1/16 |
| 6294 | WASHER 3/8 X 1-1/8 X 7/32 |
| 6334 | WASHER 7/16 X 29/32 X 1/16 |
| 6383 | WASHER 17/64 X 1/2 X 1/16 stainless steel |
| 6421 | WASHER 21/64 X 1-1/2 X 1/16 offset 7/32 |
| 6462 | WASHER 13/32 X 5/8 X 1/8 |
| 6497HW | WASHER 29/64 X 1-1/8 X 1/16 |
| 6532 | WASHER 3/8 X 3/4 X 1/8 |
| 6594 | WASHER 5/8 X 1-1/8 X 3/32 |
| 6702 | WASHER 5/16 X 11/16 X 1/16 |
| 6703 | WASHER 1/4 X 5/8 X 1/16 |
| 6716 | WASHER No. 10 X 1/2 X 3/64 |
| 6717 | WASHER No. 6 X 3/8 X 3/64 |
| 6762B | WASHER 11/16 X 29/32 X 1/32 |
| 67718-60A | SCREW 8-14 x 1/2 phillips head self-tapping |
| 6771A | WASHER 5/16 X 1/2 X 1/16 |
| 67721-48 | SCREW 8-32 X 1/4 phillips head self-tapping |
| 68026-99 | SCREW No. 8-32 X 1 Phillips pan head (stainless) |
| 68042-99 | SCREW No. 8-32 X 3/8 TORX head |
| 68120-00 | SCREW No. 8-32 x 1-2 TORX head, self-tapping |
| 6837M | WASHER M6 regular |
| 6970 | WASHER 1/4 X 1/2 X 1/16 spring |
| 7036 | WASHER 1/4 X 31/64 X 1/16 |
| 7039 | LOCKWASHER 7/16 |
| 703B | SCREW 1/4-20 X 7/16 TORX socket button head |
| 7041 | LOCKWASHER 5/16 |
| 7042 | LOCKWASHER 5/16 high collar |
| 7068 | LOCKWASHER 1/2 |
| 7085 | LOCKWASHER 5/16 (black) |
| 7127 | LOCKWASHER 5/16 internal tooth |
| 7128 | LOCKWASHER 9/32 internal tooth |
| 7130W | LOCKWASHER 3/8 internal tooth |
| 7155 | LOCKWASHER 5/16 internal tooth (black) |
| 7326 | NUT 5/16-18 polished stainless steel |
| 7330 | ACORN NUT 5/16-24 (chrome) |
| 7331 | ACORN NUT 5/16-24 |
| 7352 | ACORN NUT 5/16-24 (black) |
| 7355 | NUT No. 10-24 X 7/32 flange |
| 7415A | WASHER 11/32 X 7/8 X 1/8 rubber |
| 7434 | WASHER 1/4 X 1-29/64 X 1/16 nylon |
| 7495 | NUT M6 X 1.0 flange lock |
| 7531 | LOCKNUT 5/16-18 X 9/32 X 1/2 flange |
| 7549A | ACORN NUT 5/16-18 X 9/16 X 1/2 |
| 7576 | NUT 5/16-18 UNC keps flange |
| 7586 | JAMNUT 9/32-28 X 1/4 |
| 7593 | NUT 5/16-24 flange |
| 7601 | LOCKNUT 3/8-16 flange |
| 7606 | LOCKNUT No. 8-32 X 1/4 X 1/4 hex (chrome) |
| 7624 | LOCKNUT No. 10-24 X 1/4 X 3/8 |
| 76259-86 | NUT 1/2-20 hex jam |
| 7667 | NUT 3/8-16 X 9/32 X 9/16 nylon insert |
| 7676 | NUT 1/4-28 X 7/32 X 7/16 (Grade 2) |
| 7686 | LOCKNUT 1/4-20 X 5/16 X 7/16 |
| 7688 | NUT 1/4-20 X 7/32 X 7/16 (Grade 2) |
| 7689W | JAMNUT 1/4-20 X 5/32 X 7/16 (Grade 2) |
| 7716 | LOCKNUT 1/4-20 X 7/16 flange |
| 7748W | NUT 5/16-18 X 1/4 X 1/2 (Grade 2) |
| 7783 | NUT 3/8-16 X 5/16 X 9/16 (Grade 2) |
| 7792 | NUT 1/4-20 X 1/4 (Grade 2) |
| 780 | SCREW 1/4-20 X 7/8 SEMS hex head (Grade 8) |
| 7813A | NUT 5/8-18 X 9/16 X 15/16 (Grade 2) |
| 7825 | LOCKNUT 7/16-20 X 7/16 X 5/8 |
| 7838 | NUT No. 10-24 keps |
| 786A | BOLT 5/16-18 X 2-1/4 hex head (Grade 5) |
| 7880 | NUT 1/2-13 X 7/16 X 3/4 (Grade 2) |
| 7904 | ACORN NUT 0.312-24 (stainless) |
| 791A | SCREW 3/8-18 X 2-1/4 hex flange head (Grade 5) |
| 8020 | NUT M24 X 2.0 X 15 |
| 8108 | SPEEDNUT 1/4-20 |
| 8146 | NUT CLIP |
| 8196 | ACORN NUT 5/16-24 (gloss black) |
| 8404 | JAMNUT M8 X 1 |
| 84850-92 | NUT 3/4-24 X 5/32 |
| 856A | SCREW 5/16-24 X 1 socket head (Grade 8) |
| 895 | SCREW 5/16-18 X 3.0 hex flange head (Grade 5) |
| 8972 | WASHER 1-1/4 X 1-53/64 X 1/8 |
| 90844-80 | ACORN NUT No. 10 X 3/8 flange (Grade 2) |
| 924 | SCREW 1/4-20 X 33/64 socket pan head |
| 932 | SCREW 1/4-20 X 1/2 truss head (chrome) |
| 942 | SCREW 1/4-20 X 3/4 TORX button head, with lockpatch (Grade 8) |
| 946 | SCREW 1/4-20 X 2-1/4 socket button head, with lockpatch (Grade 8) |
| Index No. | Part No. | Description | Model(s) |
| 1 | 19176-11 | ENGINE ASSEMBLY, complete, 110 cubic-inch (black) | FLHTCUSE5 BLK |
| 19838-11 | ENGINE ASSEMBLY, complete, 110 cubic-inch (granite) | FLHTCUSE5 |
| Index No. | Part No. | Description | Model(s) |
| 9 | 17257-07A | HEAD, cylinder, rear, w/ 18048-98A, 18161-08, 18168-08 & 18189-07 (black) | FLHTCUSE5 BLK |
| 17293-08A | HEAD, cylinder, front, w/ 18048-98A, 18161-08, 18168-08 & 18189-07 (black) | FLHTCUSE5 BLK | |
| 10 | 17349-07B | GASKET KIT, top-end | FLHTCUSE5, FLHTCUSE5 BLK |
| 17350-07B | GASKET KIT, engine overhaul | FLHTCUSE5, FLHTCUSE5 BLK | |
| 11 | 17285-07A | CYLINDER ASSEMBLY, w/ 16595-99A (black) (2) | FLHTCUSE5 BLK |
| 17454-08A | CYLINDER ASSEMBLY, w/ 16595-99A (granite) (2) | FLHTCUSE5 |
| Index No. | Part No. | Description | Model(s) |
| 6 | 4400 | BOLT (used w/ 17025-03A) (4) | FLHTCUSE5, FLHTCUSE5 BLK |
| 14 | 17025-03A | BREATHER ASSEMBLY KIT, w/ 4400 & 26500002 (replaces 17650-02) | FLHTCUSE5, FLHTCUSE5 BLK |
| 15 | 17045-99D | GASKET KIT, cam service | FLHTCUSE5, FLHTCUSE5 BLK |
| 38 | 26500002 | BREATHER, baffle assembly, w/ breather valve & filter (used w/ 17025-03A) | FLHTCUSE5, FLHTCUSE5 BLK |
| Index No. | Part No. | Description | Model(s) |
| 6 | 23729-07A | FLYWHEEL ASSEMBLY KIT | FLHTCUSE5, FLHTCUSE5 BLK |
| Index No. | Part No. | Description | Model(s) |
| 1 | 703B | SCREW (used w/ 24758-07A & 24760-08A) (2) | FLHTCUSE5, FLHTCUSE5 BLK |
| 23 | 24758-07 | CRANKCASE SET, w/ 765, 895, 1090A, 9215, 11140, 16574-99A, 16589-99A, 16595-99A, 22307-99, 24605-07, 35114-02 & 68042-99 (black) (use 24758-07A) | FLHTCUSE5 BLK |
| 24758-07A | CRANKCASE SET, w/ 703B, 765, 895, 1090A, 9215, 11140, 16574-99A, 16589-99A, 16595-99A, 22307-99, 24605-07, 35114-02 & 68042-99 (black) (replaces 24758-07) | FLHTCUSE5 BLK | |
| 24760-08A | CRANKCASE SET, w/ 703B, 765, 895, 1090A, 9215, 11140, 16574-99A, 16589-99A, 16595-99A, 22307-99, 24605-07, 35114-02 & 68042-99 (granite) (replaces 24760-08) | FLHTCUSE5 | |
| 31 | 63059-09 | ADAPTER ASSEMBLY, oil cooler w/ 924, 11290, 63066-07, 63084-07, 63533-41A & cover (black) | FLHTCUSE5 BLK |
| 33 | 63102-10 | COVER ASSEMBLY, oil cooler, w/ 11891 & 14448-94 (black) | FLHTCUSE5 BLK |
| 25700007 | COVER ASSEMBLY, oil cooler, w/ 11891 & 14448-94 (chrome) | FLHTCUSE5 |
| Index No. | Part No. | Description | Model(s) |
| 11 | 17045-99D | GASKET KIT, cam service | FLHTCUSE5, FLHTCUSE5 BLK |
| 14 | 25355-06A | CAM SUPPORT PLATE, w/ bypass valve, w/ 601, 8873, 26210-99 & 26400-82B | FLHTCUSE5, FLHTCUSE5 BLK |
| Index No. | Part No. | Description | Model(s) |
| 10 | 61208-10 | FUEL LINE KIT | FLHTCUSE5, FLHTCUSE5 BLK |
| 12 | 27200003 | INDUCTION MODULE KIT, w/ 27711-08 & 90383-98 | FLHTCUSE5, FLHTCUSE5 BLK |
| Index No. | Part No. | Description | Model(s) |
| 2 | 2533 | SCREW (2) | FLHTCUSE5 BLK |
| 3 | 10398 | CLIP, ACR connector retention | FLHTCUSE5, FLHTCUSE5 BLK |
| 4 | 28726-10 | COVER, air cleaner, w/ 29127-95B (chrome) | FLHTCUSE5 |
| 28745-10 | COVER, air cleaner, w/ 29404-01A (black) | FLHTCUSE5 BLK | |
| 29404-01A | WARNING LABEL, air cleaner (clear) (Domestic, California) | FLHTCUSE5 BLK | |
| 8 | 29502-08A | TUBE, breather (2) | FLHTCUSE5, FLHTCUSE5 BLK |
| 15 | 30075-10 | INSERT, air cleaner cover **RESTRICTED SALES PART** | FLHTCUSE5, FLHTCUSE5 BLK |
| Index No. | Part No. | Description | Model(s) |
| 5 | 30041-08 | ROTOR ASSEMBLY | FLHTCUSE5, FLHTCUSE5 BLK |
| 7 | 74505-09 | VOLTAGE REGULATOR, 45 AMP (black) | FLHTCUSE5 BLK |
| Index No. | Part No. | Description | Model(s) |
| 5 | 32013-09A | SPARK PLUG CABLE, front cylinder, w/ 10177 | FLHTCUSE5, FLHTCUSE5 BLK |
| 6 | 32014-09A | SPARK PLUG CABLE, rear cylinder, w/ 10177 | FLHTCUSE5, FLHTCUSE5 BLK |
| Index No. | Part No. | Description | Model(s) |
| 8 | 74438-99A | OIL PRESSURE SENDER | FLHTCUSE5, FLHTCUSE5 BLK |
| Index No. | Part No. | Description | Model(s) |
| 28 | 34853-08 | TRANSMISSION CASE SUBASSEMBLY, w/ 3594, 8963, 8967, 9701, 11161, 12074, 16574-99A, 35082-07, 35122-06, 35186-06, 35241-06, 35242-06, 37101-84B, 40659-06 & 66290-06 (granite) | FLHTCUSE5 |
| 35255-10 | GEAR PACK, FORKS & DRUM SUBASSEMBLY, w/ 11, 12, 13, 14, 15, 33, 34, 35, 36, 37, 38, 39, 40, 41, 7340, 35256-08, input shaft, countershaft & gears (granite) | FLHTCUSE5 |
| Index No. | Part No. | Description | Model(s) |
| 3 | 2230 | SCREW (2) | FLHTCUSE5 BLK |
| 4 | 2231 | SCREW (2) | FLHTCUSE5 BLK |
| 9 | 7326 | NUT (2) | FLHTCUSE5 BLK |
| 19 | 34018-08 | SHIFTER LINKAGE KIT, w/ 4192, 5826, 7326, 7904 & 33899-08 | FLHTCUSE5 BLK |
| 21 | 33899-08 | ROD END, self-aligning (polished stainless steel) (2) | FLHTCUSE5 BLK |
| 23 | 34022-08 | COVER, shifter rod (black) | FLHTCUSE5 BLK |
| 24 | 34600-10 | COVER, shifter peg (black) (2) | FLHTCUSE5 BLK |
| 26 | 34596-10 | LEVER, shifter toe (black) | FLHTCUSE5 BLK |
| 27 | 34597-10 | LEVER, shifter heel (black) | FLHTCUSE5 BLK |
| 28 | 34719-07B | TRANSMISSION CASE SUBASSEMBLY, w/ 3594, 8963, 8967, 9701, 11161, 12074, 16574-99A, 35082-07, 35122-06, 35186-06, 35241-06, 35242-06, 37101-84B, 40659-06 & 66290-06 (black) | FLHTCUSE5 BLK |
| 35246-10 | GEAR PACK, FORKS & DRUM SUBASSEMBLY, w/ 12, 13, 14, 15, 16, 33, 34, 35, 36, 37, 38, 39, 40, 41, 7340, 35260-06, input shaft, countershaft & gears (black) | FLHTCUSE5 BLK |
| Index No. | Part No. | Description | Model(s) |
| 33166-10 | TRANSMISSION REPLACEMENT, w/o cable, covers & sensors (chrome & black) | FLHTCUSE5 BLK | |
| 33203-10 | TRANSMISSION REPLACEMENT, w/o cable, covers & sensors (chrome & granite) | FLHTCUSE5 | |
| 35260-06 | BEARING HOUSING ASSEMBLY, w/ 221, 8970, 16583-00A & 35087-99A (black) | FLHTCUSE5 BLK | |
| 28 | 44613-02 | BLEEDER SCREW | FLHTCUSE5, FLHTCUSE5 BLK |
| Index No. | Part No. | Description | Model(s) |
| 62489-99A | OIL PAN ASSEMBLY, w/ 45893-99 & 60328-98B (black) | FLHTCUSE5 BLK | |
| 12 | 33166-10 | TRANSMISSION REPLACEMENT, w/o cable, covers & sensors (chrome & black) | FLHTCUSE5 BLK |
| 33203-10 | TRANSMISSION REPLACEMENT, w/o cable, covers & sensors (chrome & granite) | FLHTCUSE5 | |
| 15 | 34719-07B | TRANSMISSION CASE SUBASSEMBLY, w/ 3594, 8963, 8967, 9701, 11161, 12074, 16574-99A, 35082-07, 35122-06, 35186-06, 35241-06, 35242-06, 37101-84B, 40659-06 & 66290-06 (black) | FLHTCUSE5 BLK |
| 34853-08 | TRANSMISSION CASE SUBASSEMBLY, w/ 3594, 8963, 8967, 9701, 11161, 12074, 16574-99A, 35082-07, 35122-06, 35186-06, 35241-06, 35242-06, 37101-84B, 40659-06 & 66290-06 (granite) | FLHTCUSE5 | |
| 22 | 74402-05A | SPEED SENSOR, w/ 11289A | FLHTCUSE5, FLHTCUSE5 BLK |
| Index No. | Part No. | Description | Model(s) |
| 2 | 7340 | NUT (2) | FLHTCUSE5, FLHTCUSE5 BLK |
| 6 | 10991A | RETAINING RING (2) | FLHTCUSE5, FLHTCUSE5 BLK |
| 18 | 35201-10 | GUIDE HUB, dog ring | FLHTCUSE5, FLHTCUSE5 BLK |
| 35246-10 | GEAR PACK, FORKS & DRUM SUBASSEMBLY, w/ 1, 2, 3, 4, 7, 8, 9, 11, 16, 17, 18, 19, 20, 21, 22, 23, 24, 25, 26, 27, 35260-06, shifter cam & forks (black) | FLHTCUSE5 BLK | |
| 35255-10 | GEAR PACK, FORKS & DRUM SUBASSEMBLY, w/ 1, 2, 3, 4, 7, 8, 9, 11, 16, 17, 18, 19, 20, 21, 22, 23, 24, 25, 26, 27, 35256-08, shifter cam & forks (granite) | FLHTCUSE5 | |
| 21 | 35467-06B | INPUT SHAFT KIT, w/ 11061A, 34091-08 & 35201-10 | FLHTCUSE5, FLHTCUSE5 BLK |
| 22 | 35470-10 | COUNTER SHAFT ASSEMBLY | FLHTCUSE5, FLHTCUSE5 BLK |
| 23 | 35801-10 | GEAR, fifth input | FLHTCUSE5, FLHTCUSE5 BLK |
| Index No. | Part No. | Description | Model(s) |
| 10 | 37872-00 | SEAT, clutch spring | FLHTCUSE5, FLHTCUSE5 BLK |
| 17 | 37912-00 | PRESSURE PLATE, clutch | FLHTCUSE5, FLHTCUSE5 BLK |
| Index No. | Part No. | Description | Model(s) |
| 14 | 39929-06B | CHAIN TENSIONER ASSEMBLY | FLHTCUSE5, FLHTCUSE5 BLK |
| 17 | 60432-07A | INNER PRIMARY HOUSING, w/ 9231, 12052A, 16583-00A, 42642-00, 60328-98B & 60678-85 (black) | FLHTCUSE5 BLK |
| 20A | 25700226 | GASKET KIT, inner primary, w/ 1, 7, 8, 10, 13, 11150, 27444-00Y, 37909-90 | FLHTCUSE5, FLHTCUSE5 BLK |
| Index No. | Part No. | Description | Model(s) |
| 4 | 6557 | WASHER, thrust | FLHTCUSE5, FLHTCUSE5 BLK |
| 9 | 37810-08A | RETAINER, sprocket | FLHTCUSE5, FLHTCUSE5 BLK |
| 16 | 83935-09 | COMPENSATOR ASSEMBLY | FLHTCUSE5, FLHTCUSE5 BLK |
| 17 | 83936-09 | SPRING PACK | FLHTCUSE5, FLHTCUSE5 BLK |
| Index No. | Part No. | Description | Model(s) |
| 12 | 38969-10 | RETAINER, clutch line, upper | FLHTCUSE5 |
| 23 | 46322-06 | GASKET, cover | FLHTCUSE5 |
| Index No. | Part No. | Description | Model(s) |
| 8 | 11694 | RING, retaining (Late Model Year) | FLHTCUSE5 |
| 11 | 38969-10 | RETAINER, clutch line, upper | FLHTCUSE5 |
| 14 | 42101-10 | MASTER CYLINDER ASSEMBLY, clutch (chrome), w/ 3089, 11694, 42115-06, 42145-06, 45032-10 & 46322-06 (Late Model Year) | FLHTCUSE5 |
| 18 | 45032-10 | PIVOT PIN (polished) (Late Model Year) | FLHTCUSE5 |
| 19 | 45423-10 | BUSHING, hand lever (Late Model Year) | FLHTCUSE5 |
| 20 | 46115-10 | LEVER ASSEMBLY, hand, w/ 11694 & 45423-10 (chrome) (Late Model Year) | FLHTCUSE5 |
| 21 | 46322-06 | GASKET, cover | FLHTCUSE5 |
| Index No. | Part No. | Description | Model(s) |
| 2 | 2590 | SCREW (black) (2) | FLHTCUSE5 BLK |
| 3 | 4132 | SCREW (black) (2) | FLHTCUSE5 BLK |
| 4 | 5120 | PIVOT PIN (black) | FLHTCUSE5 BLK |
| 5 | 6101 | WASHER (black) (2) | FLHTCUSE5 BLK |
| 9 | 11694 | RING, retaining | FLHTCUSE5 BLK |
| 11 | 38969-10 | RETAINER, clutch line, upper | FLHTCUSE5 BLK |
| 12 | 38970-10 | LINE ASSEMBLY, hydraulic-clutch, w/ 11348 | FLHTCUSE5 BLK |
| 13 | 38990-10 | MASTER CYLINDER ASSEMBLY, clutch (black), w/ 2590, 5120, 11694, 42145-06 & 46324-06 | FLHTCUSE5 BLK |
| 14 | 38997-10 | LEVER ASSEMBLY, hand, w/ 11694 & 45423-10 (black) | FLHTCUSE5 BLK |
| 15 | 41750-06B | BOLT, banjo (black) | FLHTCUSE5 BLK |
| 18 | 45138-08A | HALF-CLAMP, master cylinder and clutch (black) | FLHTCUSE5 BLK |
| 19 | 45423-10 | BUSHING, hand lever | FLHTCUSE5 BLK |
| 20 | 46322-06 | GASKET, cover | FLHTCUSE5 BLK |
| 21 | 46324-06 | MASTER CYLINDER COVER KIT, w/ 46322-06 | FLHTCUSE5 BLK |
| Index No. | Part No. | Description | Model(s) |
| 1 | 4132 | SCREW (black) (2) | FLHTCUSE5 BLK |
| 6101 | WASHER (black) (2) | FLHTCUSE5 BLK | |
| 5 | 42102-08B | MASTER CYLINDER ASSEMBLY, front-dual (chrome), w/ 10, 11, 12, 13, 14 & 15 | FLHTCUSE5 |
| 44985-10 | MASTER CYLINDER ASSEMBLY, front-dual (black), w/ 6, 8, 9, 10, 11, 12, 13, 14 & 15 | FLHTCUSE5 BLK | |
| 45138-08A | HALF-CLAMP, master cylinder and clutch (black) | FLHTCUSE5 BLK | |
| 42855-06B | COVER KIT, master cylinder (black), w/ 42856-06, 42857-06A & 42858-06A | FLHTCUSE5 BLK | |
| 42276-06A | BRAKE LEVER ASSEMBLY, front, w/ 42105-06A (black) | FLHTCUSE5 BLK | |
| 14 | 42862-06B | PISTON SERVICE KIT, master cylinder | FLHTCUSE5, FLHTCUSE5 BLK |
| 42858-06A | SCREW KIT, cover | FLHTCUSE5 BLK |
| Index No. | Part No. | Description | Model(s) |
| 10 | 10340A | CLIP, brake hose (2) | FLHTCUSE5, FLHTCUSE5 BLK |
| 38131-10 | LEVER ASSEMBLY, foot-brake, w/ 515, 6334, 7825, 11364, 42644-00, 57217-02 & brake lever | FLHTCUSE5 BLK | |
| 48950-10 | COVER, brake pedal (black) | FLHTCUSE5 BLK | |
| 42858-06A | SCREW KIT, cover | FLHTCUSE5 BLK | |
| 27 | 42933-08A | PUSHROD KIT, master cylinder | FLHTCUSE5, FLHTCUSE5 BLK |
| 41763-08B | MASTER CYLINDER ASSEMBLY, w/ 11, 13, 22, 24, 25, 26, 27, 28 & 30 (black) | FLHTCUSE5 BLK | |
| 42937-08B | MASTER CYLINDER COVER KIT, rear, DOT4, w/ 11902 & 42858-06A (black) | FLHTCUSE5 BLK |
| Index No. | Part No. | Description | Model(s) |
| 5 | 10860A | CLIP, brakeline | FLHTCUSE5, FLHTCUSE5 BLK |
| 48999-10 | BRAKELINE, front, upper, ABS (black) | FLHTCUSE5 BLK | |
| 9 | 41783-08 | BOLT, BANJO, bleeder assembly, w/ 4890 (2) | FLHTCUSE5 BLK |
| 48998-10 | BRAKELINE, front, lower, ABS (black) | FLHTCUSE5 BLK |
| Index No. | Part No. | Description | Model(s) |
| 46368-10 | CALIPER ASSEMBLY, left (black) | FLHTCUSE5 BLK | |
| 46369-10 | CALIPER ASSEMBLY, right (black) | FLHTCUSE5 BLK |
| Index No. | Part No. | Description | Model(s) |
| 40984-10 | COVER, wheel speed sensor (black) | FLHTCUSE5 BLK | |
| 55065-10 | WHEEL KIT, Roulette, w/o bearings & sleeve (contrast chrome) | FLHTCUSE5 BLK | |
| 14 | 43109-09A | TIRE, black wall | FLHTCUSE5, FLHTCUSE5 BLK |
| 42199-10 | COVER KIT, axle nut left & right, w/ 3267 (black) (2) | FLHTCUSE5 BLK | |
| 11937 | SPACER (black) | FLHTCUSE5 BLK | |
| 44942-08A | BRAKE DISC KIT, front, w/ screws (replaces 44942-08) (2) | FLHTCUSE5 | |
| 44973-10 | BRAKE DISC KIT, front, w/ screws (2) | FLHTCUSE5 BLK | |
| 70493-08 | BRACKET, wheel speed sensor, ABS (black) | FLHTCUSE5 BLK | |
| 26 | 95594-84A | WEIGHT, 5 grams, cast wheels (black) (6) | FLHTCUSE5 BLK |
| 95595-84A | WEIGHT, 5 grams, cast wheels (silver) (6) | FLHTCUSE5 |
| Index No. | Part No. | Description | Model(s) |
| 14 | 41810-08A | BRAKE DISC | FLHTCUSE5, FLHTCUSE5 BLK |
| 55064-10 | WHEEL KIT, Roulette, w/o bearings & sleeve (contrast chrome) | FLHTCUSE5 BLK | |
| 25 | 95594-84A | WEIGHT, 5 grams, cast wheels (black) (6) | FLHTCUSE5 BLK |
| 95595-84A | WEIGHT, 5 grams, cast wheels (silver) (6) | FLHTCUSE5 |
| Index No. | Part No. | Description | Model(s) |
| 4 | 2239 | SCREW (black) (2) | FLHTCUSE5 BLK |
| 12403 | WASHER (black) (2) | FLHTCUSE5 BLK | |
| 10 | 45435-10 | BRACKET, upper fork | FLHTCUSE5, FLHTCUSE5 BLK |
| 49407-10 | COVER, fork bracket (black) | FLHTCUSE5 BLK | |
| 16 | 45591-02 | FORK SLIDER COVERS, pair (black) | FLHTCUSE5 BLK |
| Index No. | Part No. | Description | Model(s) |
| 46551-03 | SLIDER, fork (left-hand) (black) | FLHTCUSE5 BLK | |
| 46552-03 | SLIDER, fork (right-hand), w/ 45998-73 (black) | FLHTCUSE5 BLK | |
| 46550-03 | HOLDER, axle (right-hand) (black) | FLHTCUSE5 BLK | |
| 49414-10 | FORK ASSEMBLY, complete (left-hand) (black) | FLHTCUSE5 BLK | |
| 49413-10 | FORK ASSEMBLY, complete (right-hand) (black) | FLHTCUSE5 BLK | |
| 20 | 49377-09 | FORK REBUILD KIT | FLHTCUSE5, FLHTCUSE5 BLK |
| Index No. | Part No. | Description | Model(s) |
| 6 | 2238 | SCREW (black) (2) | FLHTCUSE5 BLK |
| 18 | 10394 | CLIP, conduit, rosebud mount | FLHTCUSE5, FLHTCUSE5 BLK |
| 22 | 38969-10 | RETAINER, clutch line, upper | FLHTCUSE5, FLHTCUSE5 BLK |
| 23 | 47900-10BHP | FRAME, main, w/ 48315-60 & 50972-75 | FLHTCUSE5, FLHTCUSE5 BLK |
| 49000001 | ENGINE GUARD, w/ 14151-02 | FLHTCUSE5 BLK | |
| 27 | 49725-07A | SPRING, jiffy stand | FLHTCUSE5, FLHTCUSE5 BLK |
| 66612-10DDW | SIDE COVER, left (Scarlet Red Pearl/Dark Slate), w/ 48420-04 & 66055-09 **RESTRICTED SALES PART** | FLHTCUSE5 | |
| 66612-10DDY | SIDE COVER, left (Riptide Blue/Titanium Dust), w/ 48420-04 & 66055-09 **RESTRICTED SALES PART** | FLHTCUSE5 | |
| 66612-10DEB | SIDE COVER, left (Burnt Amber/Hot Citrus), w/ 48420-04 & 66055-09 **RESTRICTED SALES PART** | FLHTCUSE5 | |
| 66612-10DEE | SIDE COVER, left (Crimson Mist Black/Dark Slate), w/ 48420-04 & 66055-09 **RESTRICTED SALES PART** | FLHTCUSE5 BLK | |
| 66613-10DDW | SIDE COVER, right (Scarlet Red Pearl/Dark Slate), w/ 48419-04 & 66055-09 **RESTRICTED SALES PART** | FLHTCUSE5 | |
| 66613-10DDY | SIDE COVER, right (Riptide Blue/Titanium Dust), w/ 48419-04 & 66055-09 **RESTRICTED SALES PART** | FLHTCUSE5 | |
| 66613-10DEB | SIDE COVER, right (Burnt Amber/Hot Citrus), w/ 48419-04 & 66055-09 **RESTRICTED SALES PART** | FLHTCUSE5 | |
| 66613-10DEE | SIDE COVER, right (Crimson Mist Black/Dark Slate), w/ 48419-04 & 66055-09 **RESTRICTED SALES PART** | FLHTCUSE5 BLK |
| Index No. | Part No. | Description | Model(s) |
| 49429-10 | COVER, right (black) | FLHTCUSE5 BLK | |
| 49428-10 | COVER, left (black) | FLHTCUSE5 BLK | |
| 17 | 50588-09A | BRACKET, rear fork, left | FLHTCUSE5, FLHTCUSE5 BLK |
| 54289-10 | LUGGAGE RACK (black) | FLHTCUSE5 BLK |
| Index No. | Part No. | Description | Model(s) |
| 11 | 10406 | SPRING | FLHTCUSE5, FLHTCUSE5 BLK |
| 14 | 54164-10 | KNOB, passenger backrest | FLHTCUSE5, FLHTCUSE5 BLK |
| 15 | 52186-10 | BACKREST KIT, passenger, w/ 7716, 52192-86A, 53515-86, 53517-86 & 54164-10 | FLHTCUSE5, FLHTCUSE5 BLK |
| 17 | 52344-10 | SEAT | FLHTCUSE5, FLHTCUSE5 BLK |
| 18 | 52567-93D | MOUNTING BRACKET, rider backrest | FLHTCUSE5, FLHTCUSE5 BLK |
| 20 | 52586-10 | RIDER BACKREST, w/ 3540 & 10406 | FLHTCUSE5, FLHTCUSE5 BLK |
| 21 | 52589-09A | MOUNTING HARDWARE KIT, seat, w/ 3546, 3574, 7531, 7716, 52567-93D, 52585-09 & 52590-09 | FLHTCUSE5, FLHTCUSE5 BLK |
| 22 | 52590-09 | MOUNTING BRACKET, rider backrest | FLHTCUSE5, FLHTCUSE5 BLK |
| 23 | 53364-10 | BACKREST PAD, passenger Tour-Pak | FLHTCUSE5, FLHTCUSE5 BLK |
| Index No. | Part No. | Description | Model(s) |
| 1 | 2237 | SCREW (black) (4) | FLHTCUSE5 BLK |
| 54138-10 | FOOTBOARD, left-hand, passenger (not illustrated) | FLHTCUSE5 BLK | |
| 54139-10 | FOOTBOARD, right-hand, passenger | FLHTCUSE5 BLK | |
| 54131-10 | BRACKET SUPPORT, footboard, rear left (black) | FLHTCUSE5 BLK | |
| 51068-08 | BOTTOM ASSEMBLY, right, w/ hinge (black) | FLHTCUSE5 BLK | |
| 51070-08 | BOTTOM ASSEMBLY, left, w/ hinge (black) | FLHTCUSE5 BLK | |
| 13 | 50933-86A | PIVOT PIN (4) | FLHTCUSE5, FLHTCUSE5 BLK |
| 51356-07A | ARM, rotating, right | FLHTCUSE5 BLK | |
| 51355-07A | ARM, rotating, left | FLHTCUSE5 BLK | |
| 51358-07A | SUPPORT, footboard (2) | FLHTCUSE5 BLK | |
| 51363-07A | ARM, main mounting assembly (2) | FLHTCUSE5 BLK | |
| 18 | 51498-09A | INSERT ASSEMBLY, left, rider | FLHTCUSE5 |
| 54119-10 | INSERT ASSEMBLY, left, rider (black) | FLHTCUSE5 BLK | |
| 19 | 51499-09A | INSERT ASSEMBLY, right, rider | FLHTCUSE5 |
| 54121-10 | INSERT ASSEMBLY, right, rider (black) | FLHTCUSE5 BLK | |
| 54140-10 | FOOTBOARD INSERT, passenger, left (not illustrated) | FLHTCUSE5 BLK | |
| 54142-10 | FOOTBOARD INSERT, passenger, right | FLHTCUSE5 BLK | |
| 54133-10 | MOUNTING BRACKET, front footboard (black) (2) | FLHTCUSE5 BLK | |
| 22 | 54151-10 | BRACKET, support footboard, rear right (chrome) | FLHTCUSE5 |
| 50518-09 | BRACKET, support footboard, rear right (black) | FLHTCUSE5 BLK |
| Index No. | Part No. | Description | Model(s) |
| 2 | 4016 | SCREW (2) | FLHTCUSE5 |
| 5 | 7042 | LOCKWASHER (2) | FLHTCUSE5 |
| Index No. | Part No. | Description | Model(s) |
| 1 | 2235 | SCREW (2) | FLHTCUSE5 BLK |
| 2 | 2236 | SCREW (4) | FLHTCUSE5 BLK |
| 3 | 2241 | SCREW (2) | FLHTCUSE5 BLK |
| 4 | 7348 | NUT, decorative | FLHTCUSE5 BLK |
| 5 | 10858 | MOUNT, footpeg (2) | FLHTCUSE5 BLK |
| 6 | 12402 | WASHER (2) | FLHTCUSE5 BLK |
| 9 | 54126-10 | MOUNT, footpeg (2) | FLHTCUSE5 BLK |
| 10 | 54130-10 | FOOTPEG BODY (2) | FLHTCUSE5 BLK |
| 11 | 50500001 | MOUNT, footpeg support (2) | FLHTCUSE5 BLK |
| Index No. | Part No. | Description | Model(s) |
| 56749-10 | HANDLEBAR KIT, w/ 11403A & 11642 (black) | FLHTCUSE5 BLK |
| Index No. | Part No. | Description | Model(s) |
| 3 | 3658 | SCREW (4) | FLHTCUSE5 BLK |
| 56173-10 | HOUSING, lower left, (black) | FLHTCUSE5 BLK | |
| 71595-08 | HOUSING, lower right, (black) | FLHTCUSE5 BLK | |
| 71564-96 | HOUSING, upper right, (black) | FLHTCUSE5 BLK | |
| 71567-96 | HOUSING, upper left, (black) | FLHTCUSE5 BLK | |
| 13 | 71621-08 | SWITCH KIT, stop lamp, w/ 10181 & 72266-94 | FLHTCUSE5, FLHTCUSE5 BLK |
| 14 | 71642-08 | SWITCH KIT, volume, w/ 10181 & 72266-94 | FLHTCUSE5, FLHTCUSE5 BLK |
| 15 | 71682-06A | SWITCH KIT, headlamp high/low & horn, w/ 10181 & 72266-94 | FLHTCUSE5, FLHTCUSE5 BLK |
| 16 | 71683-06A | SWITCH KIT, right turn signal, w/ 10181 & 72266-94 | FLHTCUSE5, FLHTCUSE5 BLK |
| 17 | 71684-06A | SWITCH KIT, engine start/off/run, w/ 10181 & 72266-94 | FLHTCUSE5, FLHTCUSE5 BLK |
| 18 | 71685-06A | SWITCH KIT, left turn signal, w/ 10181 & 72266-94 | FLHTCUSE5, FLHTCUSE5 BLK |
| 20 | 71735-08 | SWITCH KIT, PTT/SQ -/+, w/ 10181 & 72266-94 | FLHTCUSE5, FLHTCUSE5 BLK |
| 21 | 71787-08 | SWITCH KIT, mode select, w/ 10181 & 72266-94 | FLHTCUSE5, FLHTCUSE5 BLK |
| 22 | 71788-08 | SWITCH KIT, cruise control, set/resume, w/ 10181 & 72266-94 | FLHTCUSE5, FLHTCUSE5 BLK |
| Index No. | Part No. | Description | Model(s) |
| 12404 | WASHER (black) (2) | FLHTCUSE5 BLK | |
| 7155 | LOCKWASHER (black) (2) | FLHTCUSE5, FLHTCUSE5 BLK | |
| 3 | 7330 | ACORN NUT (2) | FLHTCUSE5 |
| 8196 | ACORN NUT (black) (2) | FLHTCUSE5 BLK | |
| 92437-10 | MIRROR, right (black) | FLHTCUSE5 BLK | |
| 92436-10 | MIRROR, left (black) | FLHTCUSE5 BLK | |
| 5 | 7331 | ACORN NUT (HDI) (2) | FLHTCUSE5 |
| 7352 | ACORN NUT (HDI) (2) | FLHTCUSE5 BLK | |
| 6 | 91840-03B | MIRROR KIT, right, short (chrome), w/ 7331 & washer (HDI) | FLHTCUSE5 |
| 92614-10 | MIRROR KIT, right, short (black), w/ 7155 & 7352 (HDI) | FLHTCUSE5 BLK | |
| 91845-03B | MIRROR KIT, left, short (chrome), w/ 7331 & washer (HDI) | FLHTCUSE5 | |
| 92615-10 | MIRROR KIT, left, short (black), w/ 7155 & 7352 (HDI) | FLHTCUSE5 BLK |
| Index No. | Part No. | Description | Model(s) |
| 3 | 55911-09A | HANDGRIP ASSEMBLY, left, w/ 72191-94 | FLHTCUSE5 |
| 56346-10 | HANDGRIP ASSEMBLY, left, w/ 72191-94 | FLHTCUSE5 BLK | |
| 56347-10 | HANDGRIP ASSEMBLY, right, w/ 56162-09 | FLHTCUSE5 BLK | |
| 56770-10 | ENDCAP (black) | FLHTCUSE5 BLK |
| Index No. | Part No. | Description | Model(s) |
| 4 | 4976 | SCREW (3) | FLHTCUSE5 |
| 1334 | SCREW (black) (3) | FLHTCUSE5 BLK | |
| 12400 | WASHER (3) | FLHTCUSE5 BLK | |
| 10 | 46559-03 | SKIRT, outer fairing | FLHTCUSE5 BLK |
| 11 | 54243-10 | TRIM ASSEMBLY, windshield, w/ 6566 (black) | FLHTCUSE5 BLK |
| 12 | 57185-05 | WIND DEFLECTOR, dark smoked | FLHTCUSE5 BLK |
| 15 | 58260-10DDW | FAIRING, outer, w/ 58247-96 & 62787-96 (Scarlet Red Pearl/Dark Slate) **RESTRICTED SALES PART** | FLHTCUSE5 |
| 58260-10DDY | FAIRING, outer, w/ 58247-96 & 62787-96 (Riptide Blue/Titanium Dust) **RESTRICTED SALES PART** | FLHTCUSE5 | |
| 58260-10DEB | FAIRING, outer, w/ 58247-96 & 62787-96 (Burnt Amber/Hot Citrus) **RESTRICTED SALES PART** | FLHTCUSE5 | |
| 58260-10DEE | FAIRING, outer, w/ 58247-96 & 62787-96 (Crimson Mist Black/Dark Slate) **RESTRICTED SALES PART** | FLHTCUSE5 BLK | |
| 24 | 67717-01 | BULB, high beam halogen (used w/ 67700032) | FLHTCUSE5, FLHTCUSE5 BLK |
| 31 | 72449-01 | HOUSING, 2-way socket (black) (used w/ 67700032) | FLHTCUSE5, FLHTCUSE5 BLK |
| 32 | 72450-01 | HOUSING, 2-way socket (grey) (used w/ 67700032) | FLHTCUSE5, FLHTCUSE5 BLK |
| 33 | 72527-01 | SOCKET TERMINAL, 18-20 AWG (used w/ 67700032) (4) | FLHTCUSE5, FLHTCUSE5 BLK |
| 34 | 72633-02 | SEAL, 14-16 AWG (white) (used w/ 67700032) (4) | FLHTCUSE5, FLHTCUSE5 BLK |
| 35 | 73271-11 | HEADLAMP, w/ 67717-01 & 68881-01 (used w/ 67700032) | FLHTCUSE5, FLHTCUSE5 BLK |
| 36 | 73272-11 | WIRE HARNESS, halogen bulb, interconnect, w/ 8, 31, 32, 33 & 34 (used w/ 67700032) | FLHTCUSE5, FLHTCUSE5 BLK |
| 37 | 67700032 | HALOGEN HEADLAMP KIT, 7 in., w/ 6717, 10006, 68124-04A, 73271-11 & 73272-11 (Domestic & Canada) (replaces 67894-04A) | FLHTCUSE5, FLHTCUSE5 BLK |
| Index No. | Part No. | Description | Model(s) |
| 40 | 57187-05 | WIND DEFLECTOR, clear (HDI) | FLHTCUSE5 BLK |
| Index No. | Part No. | Description | Model(s) |
| 16 | 57677-10BZN | INNER FAIRING ASSEMBLY, w/ 7688 & 58317-04 (Scarlet Red Pearl) | FLHTCUSE5 |
| 57677-10DDZ | INNER FAIRING ASSEMBLY, w/ 7688 & 58317-04 (Riptide Blue) | FLHTCUSE5 | |
| 57677-10DEC | INNER FAIRING ASSEMBLY, w/ 7688 & 58317-04 (Burnt Amber) | FLHTCUSE5 | |
| 57695-10DEF | INNER FAIRING ASSEMBLY, w/ 7688 & 58317-04 (Domestic) (Crimson Mist Black) | FLHTCUSE5 BLK | |
| 57885-10 | DASH PAD, leather-wrapped (Domestic) | FLHTCUSE5 BLK | |
| 19 | 58128-08A | AIR DEFLECTOR, right, smoked, w/ 57638-08 | FLHTCUSE5, FLHTCUSE5 BLK |
| 58129-08A | AIR DEFLECTOR, left, smoked, w/ 57638-08 | FLHTCUSE5, FLHTCUSE5 BLK | |
| 21 | 58478-96B | BRACKET, fairing support, left | FLHTCUSE5, FLHTCUSE5 BLK |
| 22 | 58479-96B | BRACKET, fairing support, right | FLHTCUSE5, FLHTCUSE5 BLK |
| 23 | 58545-10BZN | CAP, inner fairing (Scarlet Red Pearl) | FLHTCUSE5 |
| 58545-10DDZ | CAP, inner fairing (Riptide Blue) | FLHTCUSE5 | |
| 58545-10DEC | CAP, inner fairing (Burnt Amber) | FLHTCUSE5 | |
| 58533-10DEF | CAP, inner fairing (Crimson Mist Black) | FLHTCUSE5 BLK | |
| 24 | 58938-96C | SUPPORT, inner fairing, left | FLHTCUSE5, FLHTCUSE5 BLK |
| 25 | 58939-96C | SUPPORT, inner fairing, right | FLHTCUSE5, FLHTCUSE5 BLK |
| 39 | 11100009 | PAD, inner fairing | FLHTCUSE5 BLK |
| Index No. | Part No. | Description | Model(s) |
| 40 | 57677-10DEF | INNER FAIRING ASSEMBLY, w/ 7688 & 58317-04 (Japan) (Crimson Mist Black) | FLHTCUSE5 BLK |
| 57695-10DEF | INNER FAIRING ASSEMBLY, w/ 7688 & 58317-04 (HDI) (Crimson Mist Black) | FLHTCUSE5 BLK | |
| 57885-10 | DASH PAD, leather-wrapped (HDI) | FLHTCUSE5 BLK |
| Index No. | Part No. | Description | Model(s) |
| 74740-10 | TACHOMETER | FLHTCUSE5 BLK | |
| 70731-10 | SPEEDOMETER, mph | FLHTCUSE5 BLK | |
| 11 | 68382-07A | BEZEL ASSEMBLY, indicator lamp | FLHTCUSE5, FLHTCUSE5 BLK |
| 74727-10 | OIL PRESSURE GAUGE, w/ 67454-04 & 75044-96 | FLHTCUSE5 BLK | |
| 74741-10 | FUEL GAUGE, w/ 67454-04 & 75044-96 | FLHTCUSE5 BLK | |
| 74743-10 | VOLTMETER, w/ 67454-04 & 75044-96 | FLHTCUSE5 BLK | |
| 74742-10 | AIR TEMPERATURE GAUGE, w/ 67454-04 & 75044-96 | FLHTCUSE5 BLK | |
| 70732-10 | SPEEDOMETER, kph (Canada, HDI, Japan) | FLHTCUSE5 BLK | |
| 70733-10 | SPEEDOMETER, mph/kph (England) | FLHTCUSE5 BLK |
| Index No. | Part No. | Description | Model(s) |
| 2232 | SCREW (black) (2) | FLHTCUSE5 BLK | |
| 15 | 58491-10DDX | FAIRING LOWER CAP, left (Dark Slate) | FLHTCUSE5 |
| 58491-10DEA | FAIRING LOWER CAP, left (Titanium Dust) | FLHTCUSE5 | |
| 58491-10DED | FAIRING LOWER CAP, left (Hot Citrus) | FLHTCUSE5 | |
| 58491-10DEF | FAIRING LOWER CAP, left (Crimson Mist Black) | FLHTCUSE5 BLK | |
| 58491-10 | FAIRING LOWER CAP, left (unpainted) | FLHTCUSE5, FLHTCUSE5 BLK | |
| 58492-10DDX | FAIRING LOWER CAP, right (Dark Slate) | FLHTCUSE5 | |
| 58492-10DEA | FAIRING LOWER CAP, right (Titanium Dust) | FLHTCUSE5 | |
| 58492-10DED | FAIRING LOWER CAP, right (Hot Citrus) | FLHTCUSE5 | |
| 58492-10DEF | FAIRING LOWER CAP, right (Crimson Mist Black) | FLHTCUSE5 BLK | |
| 58492-10 | FAIRING LOWER CAP, right (unpainted) | FLHTCUSE5, FLHTCUSE5 BLK | |
| 17 | 58851-10DDX | FAIRING LOWER, left (Dark Slate) | FLHTCUSE5 |
| 58851-10DEA | FAIRING LOWER, left (Titanium Dust) | FLHTCUSE5 | |
| 58851-10DED | FAIRING LOWER, left (Hot Citrus) | FLHTCUSE5 | |
| 58851-10DEF | FAIRING LOWER, left (Crimson Mist Black) | FLHTCUSE5 BLK | |
| 58852-10DDX | FAIRING LOWER, right (Dark Slate) | FLHTCUSE5 | |
| 58852-10DEA | FAIRING LOWER, right (Titanium Dust) | FLHTCUSE5 | |
| 58852-10DED | FAIRING LOWER, right (Hot Citrus) | FLHTCUSE5 | |
| 58852-10DEF | FAIRING LOWER, right (Crimson Mist Black) | FLHTCUSE5 BLK |
| Index No. | Part No. | Description | Model(s) |
| 58972-10DDW | FENDER, front (Scarlet Red Pearl/Dark Slate) **RESTRICTED SALES PART** | FLHTCUSE5 | |
| 58972-10DDY | FENDER, front (Riptide Blue/Titanium Dust) **RESTRICTED SALES PART** | FLHTCUSE5 | |
| 58972-10DEB | FENDER, front (Burnt Amber/Hot Citrus) **RESTRICTED SALES PART** | FLHTCUSE5 | |
| 58972-10DEE | FENDER, front (Crimson Mist Black/Dark Slate) **RESTRICTED SALES PART** | FLHTCUSE5 BLK |
| Index No. | Part No. | Description | Model(s) |
| 48421-04 | PROTECTIVE TAPE, rear fender (not illustrated) | FLHTCUSE5, FLHTCUSE5 BLK | |
| 59583-10BZN | FENDER, rear (Scarlet Red Pearl) | FLHTCUSE5 | |
| 59583-10DDZ | FENDER, rear (Riptide Blue) | FLHTCUSE5 | |
| 59583-10DEC | FENDER, rear (Burnt Amber) | FLHTCUSE5 | |
| 59583-10DEF | FENDER, rear (Crimson Mist Black) | FLHTCUSE5 BLK | |
| 13 | 59424-10 | MEDALLION, rear fender (Domestic) **RESTRICTED SALES PART** | FLHTCUSE5, FLHTCUSE5 BLK |
| Index No. | Part No. | Description | Model(s) |
| 1 | 1332 | SCREW (2) | FLHTCUSE5 |
| 1333 | SCREW (black) (2) | FLHTCUSE5 BLK | |
| 2234 | SCREW (black) (4) | FLHTCUSE5 BLK | |
| 7085 | LOCKWASHER (black) (2) | FLHTCUSE5 BLK | |
| 12401 | WASHER (black) (4) | FLHTCUSE5 BLK | |
| 73333-10 | STAND-OFF (2) | FLHTCUSE5 BLK | |
| 69481-10 | BAR ASSEMBLY, left, w/ 69563-06 & bar | FLHTCUSE5 BLK | |
| 69485-10 | BAR ASSEMBLY, right, w/ 69563-06 & bar | FLHTCUSE5 BLK | |
| 18 | 69326-10 | TURN SIGNAL ASSEMBLY, front, w/ 69325-02 & 69331-02 (2) | FLHTCUSE5 |
| 73329-10 | TURN SIGNAL ASSEMBLY, front, w/ 69325-02 & 69331-02 (black) (2) | FLHTCUSE5 BLK | |
| 73340-10 | HOUSING, auxiliary lamp assembly w/ 72161-06, 72298-95 & 72356-95 (black) (2) | FLHTCUSE5 BLK | |
| 30 | 69322-10 | TURN SIGNAL ASSEMBLY, front (amber), w/ 68163-84 & 68973-00 (HDI) (2) | FLHTCUSE5 |
| 73335-10 | TURN SIGNAL ASSEMBLY, front (amber), w/ 68163-84 & 68973-00 (black) (HDI) (2) | FLHTCUSE5 BLK |
| Index No. | Part No. | Description | Model(s) |
| 73328-10 | BRACKET, rear turn signal bar (black) | FLHTCUSE5 BLK | |
| 73327-10 | LIGHT BAR ASSEMBLY, rear turn signal, w/ 3728, 7036, 57659-09, 68905-00, 69325-02, 69330-02, 73152-96BK, 73191-96 & 73328-10 (black) | FLHTCUSE5 BLK | |
| 73326-10 | BRACKET, rear turn signal bar (HDI) (black) | FLHTCUSE5 BLK | |
| 73325-10 | LAMP ASSEMBLY, rear turn signal, w/ 2482, 68163-84, 68973-00, 69378-09, 73152-96BK, 73191-96 & 73326-10 (HDI) (black) | FLHTCUSE5 BLK |
| Index No. | Part No. | Description | Model(s) |
| 70999-09 | COVER, tank bracket, left | FLHTCUSE5 BLK | |
| 70901-09 | COVER, tank bracket, right | FLHTCUSE5 BLK | |
| 7 | 27440-09 | TUBE, evaporative line (except California) | FLHTCUSE5, FLHTCUSE5 BLK |
| 61386-10DDW | FUEL TANK, w/ 62137-10 & 62138-10 (Scarlet Red Pearl/Dark Slate) **RESTRICTED SALES PART** | FLHTCUSE5 | |
| 61386-10DDY | FUEL TANK, w/ 62137-10 & 62138-10 (Riptide Blue/Titanium Dust) **RESTRICTED SALES PART** | FLHTCUSE5 | |
| 61386-10DEB | FUEL TANK, w/ 62137-10 & 62138-10 (Burnt Amber/Hot Citrus) **RESTRICTED SALES PART** | FLHTCUSE5 | |
| 61386-10DEE | FUEL TANK, w/ 62137-10 & 62138-10 (Crimson Mist Black/Dark Slate) **RESTRICTED SALES PART** | FLHTCUSE5 BLK | |
| 9 | 62137-10 | MEDALLION, fuel tank, left hand (chrome) **RESTRICTED SALES PART** | FLHTCUSE5, FLHTCUSE5 BLK |
| 62138-10 | MEDALLION, fuel tank, right hand (chrome) **RESTRICTED SALES PART** | FLHTCUSE5, FLHTCUSE5 BLK | |
| 11 | 62564-09 | SERVICE KIT, fuel tank mount (See Note) | FLHTCUSE5, FLHTCUSE5 BLK |
| Index No. | Part No. | Description | Model(s) |
| 17 | 75069-08B | TOP PLATE ASSEMBLY, w/ 3, 4, 5, 6, 8, 19 & 24 | FLHTCUSE5, FLHTCUSE5 BLK |
| 19 | 75147-08A | TOP PLATE | FLHTCUSE5, FLHTCUSE5 BLK |
| 24 | 75322-09 | HARNESS, ground, fuel pump module | FLHTCUSE5, FLHTCUSE5 BLK |
| Index No. | Part No. | Description | Model(s) |
| 10 | 61007-10 | MEDALLION, fuel door **RESTRICTED SALES PART** | FLHTCUSE5, FLHTCUSE5 BLK |
| 15 | 61293-08 | DOOR, console | FLHTCUSE5, FLHTCUSE5 BLK |
| 25 | 74729-10 | INSERT, console pod, CB intercom **RESTRICTED SALES PART** | FLHTCUSE5 |
| 74733-10 | INSERT, console pod, CB intercom, serialized **RESTRICTED SALES PART** | FLHTCUSE5 BLK |
| Index No. | Part No. | Description | Model(s) |
| 1A | 2225 | SCREW (6) | FLHTCUSE5, FLHTCUSE5 BLK |
| 7A | 8146 | NUT CLIP (6) | FLHTCUSE5, FLHTCUSE5 BLK |
| 10 | 11936 | GASKET, oxygen (O2) sensor (2) | FLHTCUSE5, FLHTCUSE5 BLK |
| 11 | 27729-10 | SENSOR, oxygen (O2), front, w/ 11936, 72344-10, 72444-07GY & 73307-10 | FLHTCUSE5, FLHTCUSE5 BLK |
| 12 | 27809-10 | SENSOR, oxygen (O2), rear, w/ 11936, 72177-07BK, 72344-10 & 73307-10 | FLHTCUSE5, FLHTCUSE5 BLK |
| 15 | 65184-02 | FLANGE, exhaust manifold (2) | FLHTCUSE5, FLHTCUSE5 BLK |
| 32 | 66855-10A | EXHAUST PIPE ASSEMBLY, catalytic (Domestic, Canada, California) (chrome) | FLHTCUSE5, FLHTCUSE5 BLK |
| 37 | 72177-07BK | HOUSING, 4-way, socket (black) | FLHTCUSE5, FLHTCUSE5 BLK |
| 38 | 72344-10 | TERMINAL, socket, 22 AWG (gold) (4) | FLHTCUSE5, FLHTCUSE5 BLK |
| 39 | 72444-07GY | HOUSING, 4-way, socket (gray) | FLHTCUSE5, FLHTCUSE5 BLK |
| 40 | 73307-10 | TERMINAL, socket, 22 AWG (4) | FLHTCUSE5, FLHTCUSE5 BLK |
| 44 | 66849-10 | EXHAUST PIPE ASSEMBLY, catalytic (chrome) (HDI) | FLHTCUSE5, FLHTCUSE5 BLK |
| 66855-10A | EXHAUST PIPE ASSEMBLY, catalytic (chrome) (Japan) | FLHTCUSE5, FLHTCUSE5 BLK |
| Index No. | Part No. | Description | Model(s) |
| 4 | 66761-09A | CABLE, contol, exhaust valve w/ 66767-07 (HDI except Japan) | FLHTCUSE5, FLHTCUSE5 BLK |
| Index No. | Part No. | Description | Model(s) |
| 5 | 10368A | RETENTION CLIP, battery box | FLHTCUSE5, FLHTCUSE5 BLK |
| 10 | 66281-09B | BATTERY TRAY | FLHTCUSE5, FLHTCUSE5 BLK |
| Index No. | Part No. | Description | Model(s) |
| 69050-08 | COVER, horn (black) | FLHTCUSE5 BLK | |
| 11 | 69060-90F | HORN ASSEMBLY | FLHTCUSE5, FLHTCUSE5 BLK |
| 69274-10 | BRACKET, horn (black) | FLHTCUSE5 BLK | |
| 14 | 69123-92A | MOUNT, horn, rubber | FLHTCUSE5, FLHTCUSE5 BLK |
| Index No. | Part No. | Description | Model(s) |
| 70232-10 | WIRING HARNESS, interconnect | FLHTCUSE5, FLHTCUSE5 BLK | |
| 38 | 72902-01BK | PIN HOUSING, 2-way (black) | FLHTCUSE5, FLHTCUSE5 BLK |
| 39 | 72912-01BK | SOCKET HOUSING, 2-way (black) | FLHTCUSE5, FLHTCUSE5 BLK |
| 40 | 72991-01 | SOCKET TERMINAL, 18-22 AWG (2) | FLHTCUSE5, FLHTCUSE5 BLK |
| Index No. | Part No. | Description | Model(s) |
| 7 | 11929 | SWITCH SPACER, ignition switch, bottom (Domestic) | FLHTCUSE5 BLK |
| 8 | 12202 | COLLAR, ignition switch, top (Domestic) | FLHTCUSE5 BLK |
| 76607-10 | LOCKSET COMPLETE, w/ key & fob assembly, ignition knob, tour-pak & saddlebag lock (Domestic) | FLHTCUSE5 BLK | |
| 13 | 68958-07C | SIREN (Domestic) | FLHTCUSE5, FLHTCUSE5 BLK |
| 14 | 69309-10 | BATTERY, siren | FLHTCUSE5, FLHTCUSE5 BLK |
| 18 | 71459-03 | SPRING, ignition knob | FLHTCUSE5, FLHTCUSE5 BLK |
| 32 | 72916-10GN | SOCKET HOUSING, 2-way (green) | FLHTCUSE5 BLK |
| 36 | 76608-10 | KNOB, ignition, power lock, w/ 76609-10 (Domestic) | FLHTCUSE5 BLK |
| 37 | 76609-10 | INSERT, ignition knob (Domestic) | FLHTCUSE5 BLK |
| 38 | 76611-10 | IGNITION SWITCH, w/ 11929, 12202 & 71660-03 (Domestic) | FLHTCUSE5 BLK |
| Index No. | Part No. | Description | Model(s) |
| 40 | 11929 | SWITCH SPACER, ignition switch, bottom (HDI) | FLHTCUSE5 BLK |
| 41 | 12202 | COLLAR, ignition switch, top (HDI) | FLHTCUSE5 BLK |
| 76607-10 | LOCKSET COMPLETE, w/ key & fob assembly, ignition knob, tour-pak & saddlebag lock (HDI) | FLHTCUSE5 BLK | |
| 76613-10 | LOCKSET COMPLETE, w/ keys, ignition knob, tour-pak & saddlebag lock (Japan) | FLHTCUSE5 BLK | |
| 46 | 68958-07C | SIREN (HDI, Japan) | FLHTCUSE5, FLHTCUSE5 BLK |
| 54 | 76608-10 | KNOB, ignition, power lock, w/ 76609-10 (HDI) | FLHTCUSE5 BLK |
| 55 | 76614-10 | KNOB, ignition switch, w/ 76615-10 (Japan) | FLHTCUSE5 BLK |
| 56 | 76609-10 | INSERT, ignition knob (HDI) | FLHTCUSE5 BLK |
| 57 | 76615-10 | INSERT, ignition switch knob (Japan) | FLHTCUSE5 BLK |
| 58 | 76610-10 | IGNITION SWITCH, w/ 11929, 12202 & 71660-03 (HDI) | FLHTCUSE5 BLK |
| Index No. | Part No. | Description | Model(s) |
| 70973-10 | MAIN WIRING HARNESS - ABS | FLHTCUSE5 | |
| 70973-10A | MAIN WIRING HARNESS - ABS | FLHTCUSE5 BLK | |
| 9 | 11321 | CABLE STRAP | FLHTCUSE5, FLHTCUSE5 BLK |
| 13 | 54305-98 | FUSE, 2 AMP (gray) | FLHTCUSE5 BLK |
| Index No. | Part No. | Description | Model(s) |
| 70973-10 | MAIN WIRING HARNESS - ABS | FLHTCUSE5 | |
| 70973-10A | MAIN WIRING HARNESS - ABS | FLHTCUSE5 BLK | |
| 27 | 72066-06A | SOCKET HOUSING, 4-way female (black) | FLHTCUSE5, FLHTCUSE5 BLK |
| 52 | 72175-07BK | PIN HOUSING, 4-way (black) | FLHTCUSE5, FLHTCUSE5 BLK |
| Index No. | Part No. | Description | Model(s) |
| 70973-10 | MAIN WIRING HARNESS - ABS | FLHTCUSE5 | |
| 70973-10A | MAIN WIRING HARNESS - ABS | FLHTCUSE5 BLK | |
| 81 | 72343-10 | PIN TERMINAL, 16-20 AWG (gold) (4) | FLHTCUSE5, FLHTCUSE5 BLK |
| Index No. | Part No. | Description | Model(s) |
| 70973-10 | MAIN WIRING HARNESS - ABS | FLHTCUSE5 | |
| 70973-10A | MAIN WIRING HARNESS - ABS | FLHTCUSE5 BLK | |
| 88 | 72406-07A | SOCKET HOUSING, 4-way | FLHTCUSE5, FLHTCUSE5 BLK |
| 93 | 72415-07GY | PIN HOUSING, 4-way (gray) | FLHTCUSE5, FLHTCUSE5 BLK |
| 112 | 72599-10 | CPA AXIAL LOCKING STRAP | FLHTCUSE5, FLHTCUSE5 BLK |
| Index No. | Part No. | Description | Model(s) |
| 70973-10 | MAIN WIRING HARNESS - ABS | FLHTCUSE5 | |
| 70973-10A | MAIN WIRING HARNESS - ABS | FLHTCUSE5 BLK | |
| 117 | 72612-06BK | SOCKET HOUSING, 2-way (black) | FLHTCUSE5, FLHTCUSE5 BLK |
| 119 | 72625-10 | WIRING HARNESS, audio amplifier overlay | FLHTCUSE5, FLHTCUSE5 BLK |
| 120 | 72635-10 | COVER ASSEMBLY, fuse block w/ graphics | FLHTCUSE5 |
| 72635-10A | COVER ASSEMBLY, fuse block w/ graphics | FLHTCUSE5 BLK | |
| 121 | 72652-06 | SECONDARY LOCK, socket, 2-way | FLHTCUSE5, FLHTCUSE5 BLK |
| 122 | 72694-06 | TERMINAL, socket, 12-14 AWG (2) | FLHTCUSE5, FLHTCUSE5 BLK |
| 123 | 72915-10GN | PIN HOUSING, 2-way (green) | FLHTCUSE5 BLK |
| 124 | 72990-01 | TERMINAL, pin, 18-22 AWG (2) | FLHTCUSE5 BLK |
| Index No. | Part No. | Description | Model(s) |
| 30 | 76192-06B | AMPLIFIER | FLHTCUSE5, FLHTCUSE5 BLK |
| 41 | 76529-10 | EAR PAD (domestic) (2) | FLHTCUSE5, FLHTCUSE5 BLK |
| 76529-10 | EAR PAD (HDI) (4) | FLHTCUSE5, FLHTCUSE5 BLK | |
| 45 | 77126-10 | WIND SOCK, microphone (domestic) | FLHTCUSE5, FLHTCUSE5 BLK |
| 77126-10 | WIND SOCK, microphone (HDI) (2) | FLHTCUSE5, FLHTCUSE5 BLK | |
| 46 | 77117-10 | HEADSET ASSEMBLY, w/ 76529-10, 77126-10 & 77148-10 | FLHTCUSE5, FLHTCUSE5 BLK |
| 47 | 77148-10 | COILED CORD, headset (domestic) | FLHTCUSE5, FLHTCUSE5 BLK |
| 77148-10 | COILED CORD, headset (HDI) (2) | FLHTCUSE5, FLHTCUSE5 BLK | |
| 48 | 77117-10 | HEADSET ASSEMBLY, w/ 76529-10, 77126-10 & 77148-10 (2) | FLHTCUSE5, FLHTCUSE5 BLK |
| Index No. | Part No. | Description | Model(s) |
| 72625-10 | WIRING HARNESS, audio-amplifier overlay | FLHTCUSE5, FLHTCUSE5 BLK | |
| 12 | 72602-06BK | PIN HOUSING, 2-way (black) | FLHTCUSE5, FLHTCUSE5 BLK |
| 13 | 72642-06 | SECONDARY LOCK, 2-way, pin | FLHTCUSE5, FLHTCUSE5 BLK |
| 14 | 72690-01 | TERMINAL, pin (2) | FLHTCUSE5, FLHTCUSE5 BLK |
| Index No. | Part No. | Description | Model(s) |
| 1 | 1106 | SCREW | FLHTCUSE5 BLK |
| 2 | 1107 | SCREW | FLHTCUSE5 BLK |
| 3 | 3164M | SCREW | FLHTCUSE5 BLK |
| 5 | 8404 | JAM NUT | FLHTCUSE5 BLK |
| 7 | 12900 | PLUG, adapter (Domestic) | FLHTCUSE5 BLK |
| 8 | 76575-10 | CABLE, speaker/audio | FLHTCUSE5 BLK |
| 9 | 76576-10 | PLUG, auxiliary jack | FLHTCUSE5 BLK |
| 10 | 92288-09 | WEATHER CAP | FLHTCUSE5 BLK |
| 11 | 92346-10 | MOUNT, GPS unit, fairing | FLHTCUSE5 BLK |
| 12 | 92466-10 | RETAINER, GPS unit, fairing | FLHTCUSE5 BLK |
| 13 | 25700008 | COVER PLUG | FLHTCUSE5 BLK |
| 14 | 12901 | PLUG, adapter (HDI) | FLHTCUSE5 BLK |
| 15 | 92492-10 | PLUG, adapter (England) | FLHTCUSE5 BLK |
| Index No. | Part No. | Description | Model(s) |
| 11 | 7689W | JAM NUT (3) | FLHTCUSE5, FLHTCUSE5 BLK |
| 25 | 54053-10 | TRIM, lid | FLHTCUSE5, FLHTCUSE5 BLK |
| 26 | 54332-04B | LIGHT, Tour-Pak, top | FLHTCUSE5, FLHTCUSE5 BLK |
| 79209-10BZN | COVER, Tour-Pak (Scarlet Red Pearl) | FLHTCUSE5 | |
| 79209-10DDZ | COVER, Tour-Pak (Riptide Blue) | FLHTCUSE5 | |
| 79209-10DEC | COVER, Tour-Pak (Burnt Amber) | FLHTCUSE5 | |
| 79209-10DEF | COVER, Tour-Pak (Crimson Mist Black) | FLHTCUSE5 BLK |
| Index No. | Part No. | Description | Model(s) |
| 7 | 3802W | BOLT (6) | FLHTCUSE5, FLHTCUSE5 BLK |
| 13 | 7676 | NUT (4) | FLHTCUSE5, FLHTCUSE5 BLK |
| 20 | 11543 | GROMMET, split | FLHTCUSE5, FLHTCUSE5 BLK |
| 22 | 53221-10BZN | BOTTOM ASSEMBLY, w/ sidemarker lights, latches & hinges (Scarlet Red Pearl) (Domestic) | FLHTCUSE5 |
| 53221-10DDZ | BOTTOM ASSEMBLY, w/ sidemarker lights, latches & hinges (Riptide Blue) (Domestic) | FLHTCUSE5 | |
| 53221-10DEC | BOTTOM ASSEMBLY, w/ sidemarker lights, latches & hinges (Burnt Amber) (Domestic) | FLHTCUSE5 | |
| 53221-10DEF | BOTTOM ASSEMBLY, w/ sidemarker lights, latches & hinges (Crimson Mist Black) (Domestic) | FLHTCUSE5 BLK | |
| 27 | 53629-10 | LINER, removable **RESTRICTED SALES PART** | FLHTCUSE5, FLHTCUSE5 BLK |
| 29 | 54111-10 | LINER, molded, w/ pouch **RESTRICTED SALES PART** | FLHTCUSE5, FLHTCUSE5 BLK |
| 30 | 54333-04A | LIGHT ASSEMBLY, saddlebag, w/ nuts (2) | FLHTCUSE5, FLHTCUSE5 BLK |
| 40 | 79182-08A | CATCH, lower | FLHTCUSE5, FLHTCUSE5 BLK |
| Index No. | Part No. | Description | Model(s) |
| 46 | 91823-10 | POWER OUTLET, Tour-Pak, w/ 73102-96BK & 73190-96 | FLHTCUSE5, FLHTCUSE5 BLK |
| 48 | 53228-10BZN | BOTTOM ASSEMBLY, w/ trim, latches & hinges (Scarlet Red Pearl) (HDI) | FLHTCUSE5 |
| 53228-10DDZ | BOTTOM ASSEMBLY, w/ trim, latches & hinges (Riptide Blue) (HDI) | FLHTCUSE5 | |
| 53228-10DEC | BOTTOM ASSEMBLY, w/ trim, latches & hinges (Burnt Amber) (HDI) | FLHTCUSE5 | |
| 53228-10DEF | BOTTOM ASSEMBLY, w/ trim, latches & hinges (Crimson Mist Black) (HDI) | FLHTCUSE5 BLK | |
| 53305-10BZN | BOTTOM ASSEMBLY, w/ trim, latches & hinges (Scarlet Red Pearl) (Japan) | FLHTCUSE5 | |
| 53305-10DDZ | BOTTOM ASSEMBLY, w/ trim, latches & hinges (Riptide Blue) (Japan) | FLHTCUSE5 | |
| 53305-10DEC | BOTTOM ASSEMBLY, w/ trim, latches & hinges (Burnt Amber) (Japan) | FLHTCUSE5 | |
| 53305-10DEF | BOTTOM ASSEMBLY, w/ trim, latches & hinges (Crimson Mist Black) (Japan) | FLHTCUSE5 BLK | |
| 54115-10 | TRIM, left-bottom, Tour-Pak (black) (HDI, Japan) | FLHTCUSE5 BLK | |
| 54116-10 | TRIM, right-bottom, Tour-Pak (black) (HDI, Japan) | FLHTCUSE5 BLK |
| Index No. | Part No. | Description | Model(s) |
| 7 | 8230 | ADAPTER, antenna (2) | FLHTCUSE5, FLHTCUSE5 BLK |
| 8 | 54135-10 | LED ASSEMBLY, left, w/ 72169-07 (Domestic) | FLHTCUSE5, FLHTCUSE5 BLK |
| 9 | 54136-10 | LED ASSEMBLY, right, w/ 72169-07 (Domestic) | FLHTCUSE5, FLHTCUSE5 BLK |
| 10 | 54137-10 | LED ASSEMBLY, center, w/ 72169-07 (Domestic) | FLHTCUSE5, FLHTCUSE5 BLK |
| 11 | 68072-10BZN | HOUSING, lamp (Scarlet Red Pearl) | FLHTCUSE5 |
| 68072-10DDZ | HOUSING, lamp (Riptide Blue) | FLHTCUSE5 | |
| 68072-10DEC | HOUSING, lamp (Burnt Amber) | FLHTCUSE5 | |
| 68072-10DEF | HOUSING, lamp (Crimson Mist Black) | FLHTCUSE5 BLK | |
| 15 | 72478-07BK | PIN HOUSING, 8-place | FLHTCUSE5, FLHTCUSE5 BLK |
| 16 | 72479-07BK | SOCKET HOUSING, 8-place | FLHTCUSE5, FLHTCUSE5 BLK |
| 17 | 72636-10 | WIRING HARNESS, luggage box, w/ 72168-07, 72473-07, 72479-07BK, 73102-96BK, 73103-96BK & 73190-96 (Domestic) | FLHTCUSE5, FLHTCUSE5 BLK |
| 24 | 54093-10 | TRIM, LH LED cover (HDI) | FLHTCUSE5, FLHTCUSE5 BLK |
| 25 | 54094-10 | TRIM, RH LED cover (HDI) | FLHTCUSE5, FLHTCUSE5 BLK |
| 26 | 54135-10 | LED ASSEMBLY, left, w/ 72169-07 (HDI) | FLHTCUSE5, FLHTCUSE5 BLK |
| 54176-10 | LED ASSEMBLY, left, w/ 72169-07 (Japan) | FLHTCUSE5, FLHTCUSE5 BLK | |
| 27 | 54136-10 | LED ASSEMBLY, right, w/ 72169-07 (HDI) | FLHTCUSE5, FLHTCUSE5 BLK |
| 54194-10 | LED ASSEMBLY, right, w/ 72169-07 (Japan) | FLHTCUSE5, FLHTCUSE5 BLK | |
| 28 | 54137-10 | LED ASSEMBLY, center, w/ 72169-07 (HDI) | FLHTCUSE5, FLHTCUSE5 BLK |
| 54195-10 | LED ASSEMBLY, center, w/ 72169-07 (Japan) | FLHTCUSE5, FLHTCUSE5 BLK | |
| 29 | 72636-10 | WIRING HARNESS, luggage box, w/ 72168-07, 72473-07, 72479-07BK, 73102-96BK, 73103-96BK & 73190-96 (HDI) | FLHTCUSE5, FLHTCUSE5 BLK |
| 30 | 72645-10 | WIRING HARNESS, luggage box, w/ 72168-07, 72473-07, 72479-07BK, 73103-96BK & 73190-96 (Japan) | FLHTCUSE5, FLHTCUSE5 BLK |
| Index No. | Part No. | Description | Model(s) |
| 76607-10 | LOCKSET COMPLETE, w/ key & fob assembly, ignition knob, tour-pak & saddlebag lock (Domestic) | FLHTCUSE5 BLK | |
| 29 | 88275-10DDW | BOTTOM ASSEMBLY, saddlebag, left (Scarlet Red Pearl/Dark Slate) **RESTRICTED SALES PART** | FLHTCUSE5 |
| 88275-10DDY | BOTTOM ASSEMBLY, saddlebag, left (Riptide Blue/Titanium Dust) **RESTRICTED SALES PART** | FLHTCUSE5 | |
| 88275-10DEB | BOTTOM ASSEMBLY, saddlebag, left (Burnt Amber/Hot Citrus) **RESTRICTED SALES PART** | FLHTCUSE5 | |
| 88275-10DEE | BOTTOM ASSEMBLY, saddlebag, left (Crimson Mist Black/Dark Slate) **RESTRICTED SALES PART** | FLHTCUSE5 BLK | |
| 88277-10DDW | BOTTOM ASSEMBLY, saddlebag, right (Scarlet Red Pearl/Dark Slate) **RESTRICTED SALES PART** | FLHTCUSE5 | |
| 88277-10DDY | BOTTOM ASSEMBLY, saddlebag, right (Riptide Blue/Titanium Dust) **RESTRICTED SALES PART** | FLHTCUSE5 | |
| 88277-10DEB | BOTTOM ASSEMBLY, saddlebag, right (Burnt Amber/Hot Citrus) **RESTRICTED SALES PART** | FLHTCUSE5 | |
| 88277-10DEE | BOTTOM ASSEMBLY, saddlebag, right (Crimson Mist Black/Dark Slate) **RESTRICTED SALES PART** | FLHTCUSE5 BLK | |
| 32 | 90400-00A | BAIL HEAD STUD (Bail must be removed for HDE and HDI) (4) | FLHTCUSE5, FLHTCUSE5 BLK |
| Index No. | Part No. | Description | Model(s) |
| 33 | 90635-10BZN | COVER ASSEMBLY, saddlebag, left (Scarlet Red Pearl) | FLHTCUSE5 |
| 90635-10DDZ | COVER ASSEMBLY, saddlebag, left (Riptide Blue) | FLHTCUSE5 | |
| 90635-10DEC | COVER ASSEMBLY, saddlebag, left (Burnt Amber) | FLHTCUSE5 | |
| 90635-10DEF | COVER ASSEMBLY, saddlebag, left (Crimson Mist Black) | FLHTCUSE5 BLK | |
| 90636-10BZN | COVER ASSEMBLY, saddlebag, right (Scarlet Red Pearl) | FLHTCUSE5 | |
| 90636-10DDZ | COVER ASSEMBLY, saddlebag, right (Riptide Blue) | FLHTCUSE5 | |
| 90636-10DEC | COVER ASSEMBLY, saddlebag, right (Burnt Amber) | FLHTCUSE5 | |
| 90636-10DEF | COVER ASSEMBLY, saddlebag, right (Crimson Mist Black) | FLHTCUSE5 BLK | |
| 92281-10 | FACE PLATE, left | FLHTCUSE5 BLK | |
| 92260-10 | FACE PLATE, right | FLHTCUSE5 BLK | |
| 46 | 92142-10 | LINER, removable, w/ handles (2) **RESTRICTED SALES PART** | FLHTCUSE5, FLHTCUSE5 BLK |
| 92350-10DDW | SADDLEBAG ASSEMBLY, complete, w/o power lock, left (Scarlet Red Pearl/Dark Slate) **RESTRICTED SALES PART** | FLHTCUSE5 | |
| 92350-10DDY | SADDLEBAG ASSEMBLY, complete, w/o power lock, left (Riptide Blue/Titanium Dust) **RESTRICTED SALES PART** | FLHTCUSE5 | |
| 92350-10DEB | SADDLEBAG ASSEMBLY, complete, w/o power lock, left (Burnt Amber/Hot Citrus) **RESTRICTED SALES PART** | FLHTCUSE5 | |
| 92350-10DEE | SADDLEBAG ASSEMBLY, complete, w/o power lock, left (Crimson Mist Black/Dark Slate) **RESTRICTED SALES PART** | FLHTCUSE5 BLK | |
| 92351-10DDW | SADDLEBAG ASSEMBLY, complete, w/o power lock, right (Scarlet Red Pearl/Dark Slate) **RESTRICTED SALES PART** | FLHTCUSE5 | |
| 92351-10DDY | SADDLEBAG ASSEMBLY, complete, w/o power lock, right (Riptide Blue/Titanium Dust) **RESTRICTED SALES PART** | FLHTCUSE5 | |
| 92351-10DEB | SADDLEBAG ASSEMBLY, complete, w/o power lock, right (Burnt Amber/Hot Citrus) **RESTRICTED SALES PART** | FLHTCUSE5 | |
| 92351-10DEE | SADDLEBAG ASSEMBLY, complete, w/o power lock, right (Crimson Mist Black/Dark Slate) **RESTRICTED SALES PART** | FLHTCUSE5 BLK | |
| 76607-10 | LOCKSET COMPLETE, w/ key & fob assembly, ignition knob, tour-pak & saddlebag lock (HDI) | FLHTCUSE5 BLK | |
| 76613-10 | LOCKSET COMPLETE, w/ keys, ignition knob, tour-pak & saddlebag lock (Japan) | FLHTCUSE5 BLK |
| Index No. | Part No. | Description | Model(s) |
| 1 | 2238 | SCREW (black) (4) | FLHTCUSE5 BLK |
| 12 | 49194-09A | SUPPORT, saddlebag, left | FLHTCUSE5, FLHTCUSE5 BLK |
| 90781-09A | SUPPORT, saddlebag, right | FLHTCUSE5, FLHTCUSE5 BLK | |
| 13 | 49176-09 | GUARD, right | FLHTCUSE5 |
| 49187-09 | GUARD, left | FLHTCUSE5 | |
| 49000002 | GUARD, left (black) | FLHTCUSE5 BLK | |
| 49000003 | GUARD, right (black) | FLHTCUSE5 BLK | |
| 15 | 66069-10 | BUMPER, saddlebag bracket (2) | FLHTCUSE5, FLHTCUSE5 BLK |
| 17 | 91638-10BZN | FILLER STRIP, saddlebag trim, left (Scarlet Red Pearl) (not shown) | FLHTCUSE5 |
| 91638-10DDZ | FILLER STRIP, saddlebag trim, left (Riptide Blue) (not shown) | FLHTCUSE5 | |
| 91638-10DEC | FILLER STRIP, saddlebag trim, left (Burnt Amber) (not shown) | FLHTCUSE5 | |
| 91638-10DEF | FILLER STRIP, saddlebag trim, left (Crimson Mist Black) (not shown) | FLHTCUSE5 BLK | |
| 91639-10BZN | FILLER STRIP, saddlebag trim right (Scarlet Red Pearl) | FLHTCUSE5 | |
| 91639-10DDZ | FILLER STRIP, saddlebag trim right (Riptide Blue) | FLHTCUSE5 | |
| 91639-10DEC | FILLER STRIP, saddlebag trim right (Burnt Amber) | FLHTCUSE5 | |
| 91639-10DEF | FILLER STRIP, saddlebag trim right (Crimson Mist Black) | FLHTCUSE5 BLK |
| Index No. | Part No. | Description | Model(s) |
| 1 | 13733-10 | EMISSIONS LABEL (French) (Canada) **RESTRICTED SALES PART** | FLHTCUSE5, FLHTCUSE5 BLK |
| 2 | 13846-10 | EMISSIONS LABEL (Domestic, Canada) **RESTRICTED SALES PART** | FLHTCUSE5, FLHTCUSE5 BLK |
| 13847-10 | EMISSIONS LABEL (California) **RESTRICTED SALES PART** | FLHTCUSE5, FLHTCUSE5 BLK | |
| 14151-02 | ENGINE GUARD LABEL | FLHTCUSE5 BLK | |
| 4 | 15342-06A | MIRROR WARNING LABEL | FLHTCUSE5, FLHTCUSE5 BLK |
| 29404-01A | AIR CLEANER WARNING LABEL (clear) (Domestic, California) | FLHTCUSE5 BLK |
| Part No. | Description |
| 10006 | |
| 1001 | |
| 10039 | |
| 10065 | |
| 10073 | |
| 10102 | |
| 10103 | |
| 10138 | |
| 10147 | |
| 10177 | |
| 10181 | |
| 10183 | |
| 10184 | |
| 10198 | |
| 10302 | |
| 10334 | |
| 10336 | |
| 10340A | |
| 10354 | |
| 10368A | |
| 1039 | |
| 10394 | |
| 10395 | |
| 10396 | |
| 10398 | |
| 10406 | |
| 1062 | |
| 10858 | |
| 10860A | |
| 1090A | |
| 10957 | |
| 1095M | |
| 10991A | |
| 1106 | |
| 11061A | |
| 1107 | |
| 11081A | |
| 11082 | |
| 11100009 | |
| 11105 | |
| 11120 | |
| 11132A | |
| 11140 | |
| 11143 | |
| 11145A | |
| 11150 | |
| 11161 | |
| 11177A | |
| 11201 | |
| 11207 | |
| 11270 | |
| 11289A | |
| 11290 | |
| 11293 | |
| 11301 | |
| 11321 | |
| 11348 | |
| 11364 | |
| 11389 | |
| 11403A | |
| 11445 | |
| 11461 | |
| 11468 | |
| 11486 | |
| 11488 | |
| 11492 | |
| 11543 | |
| 11575 | |
| 11599 | |
| 11642 | |
| 11650 | |
| 11663 | |
| 11686 | |
| 11694 | |
| 11779 | |
| 11843 | |
| 11848 | |
| 11852 | |
| 11853 | |
| 11891 | |
| 11902 | |
| 11904 | |
| 11907 | |
| 11929 | |
| 11936 | |
| 11937 | |
| 12052A | |
| 12068 | |
| 12074 | |
| 12077 | |
| 12102 | |
| 12202 | |
| 12400 | |
| 12401 | |
| 12402 | |
| 12403 | |
| 12404 | |
| 12410 | |
| 12900 | |
| 12901 | |
| 1332 | |
| 1333 | |
| 1334 | |
| 13733-10 | |
| 13846-10 | |
| 13847-10 | |
| 14148-86 | |
| 14151-02 | |
| 14272-06 | |
| 14448-94 | |
| 15342-06A | |
| 15368-01A | |
| 16207-09 | |
| 16219-09 | |
| 16316-08 | |
| 16321-08 | |
| 16478-85A | |
| 16480-92A | |
| 16574-99A | |
| 16583-00A | |
| 16585-96 | |
| 16589-99A | |
| 16595-99A | |
| 16699-06 | |
| 16715-83 | |
| 16719-99B | |
| 16801-07B | |
| 16834-99A | |
| 17025-03A | |
| 17045-99D | |
| 17162-03 | |
| 17257-07A | |
| 17285-07A | |
| 17293-08A | |
| 17331-08A | |
| 17337-08A | |
| 17349-07B | |
| 17350-07B | |
| 17360-83A | |
| 17369-06 | |
| 17375-83A | |
| 17386-99A | |
| 17429-91 | |
| 17454-08A | |
| 17572-99 | |
| 17573-99A | |
| 17594-99 | |
| 17611-83 | |
| 17650-02 | |
| 1780 | |
| 17922-99 | |
| 17923-99 | |
| 17939-99 | |
| 17945-36B | |
| 17947-36 | |
| 17948-99 | |
| 17964-99 | |
| 17966-99 | |
| 17968-99 | |
| 18048-98A | |
| 18067-09 | |
| 18083-09 | |
| 18161-08 | |
| 18168-08 | |
| 18183-03 | |
| 18187-07 | |
| 18189-07 | |
| 18270-00A | |
| 18271-00 | |
| 18272-00 | |
| 18280-07 | |
| 18535-99 | |
| 18538-99B | |
| 18635-99B | |
| 19176-11 | |
| 19838-11 | |
| 22097-99 | |
| 221 | |
| 2225 | |
| 22269-07 | |
| 2228 | |
| 22284-07 | |
| 22285-07 | |
| 22287-07 | |
| 22290-07 | |
| 2230 | |
| 22307-99 | |
| 2231 | |
| 2232 | |
| 2234 | |
| 2235 | |
| 2236 | |
| 2237 | |
| 2238 | |
| 2239 | |
| 2241 | |
| 2244 | |
| 23729-07A | |
| 24004-03A | |
| 24009-06 | |
| 2445 | |
| 2446 | |
| 24605-07 | |
| 24754-75A | |
| 24758-07 | |
| 24758-07A | |
| 24760-08 | |
| 24760-08A | |
| 2478 | |
| 2479 | |
| 2482 | |
| 25244-99A | |
| 2524B | |
| 2533 | |
| 25355-06A | |
| 25369-01B | |
| 2551W | |
| 25566-06 | |
| 25585-06 | |
| 2559 | |
| 2563 | |
| 25638-07 | |
| 25673-06 | |
| 25675-06 | |
| 25683-06 | |
| 25700007 | |
| 25700008 | |
| 25700226 | |
| 25728-06 | |
| 25729-06 | |
| 25731-06 | |
| 25734-06 | |
| 25736-06 | |
| 25737-06 | |
| 25738-06 | |
| 2590 | |
| 26037-06 | |
| 26041-05A | |
| 26077-99A | |
| 26166-08A | |
| 26210-99 | |
| 2625 | |
| 26278-06 | |
| 26281-06 | |
| 26282-06 | |
| 26400-82B | |
| 2647B | |
| 26500002 | |
| 26858-99 | |
| 2692WB | |
| 26993-06 | |
| 26995-86B | |
| 27048-84 | |
| 2708A | |
| 27200003 | |
| 2724 | |
| 27291-09 | |
| 27297-09 | |
| 27298-09 | |
| 2731W | |
| 27433-08 | |
| 27439-09 | |
| 27440-09 | |
| 27444-00Y | |
| 27609-01B | |
| 27711-08 | |
| 27712-08 | |
| 27715-07 | |
| 27721-08 | |
| 27729-10 | |
| 27809-10 | |
| 28726-10 | |
| 28745-10 | |
| 28861-07A | |
| 29127-95B | |
| 29269-83A | |
| 2934 | |
| 29404-01A | |
| 29465-08 | |
| 29502-08A | |
| 29517-07A | |
| 2952A | |
| 2955 | |
| 29584-01 | |
| 2963 | |
| 29630-08A | |
| 29633-08 | |
| 29644-08 | |
| 29645-08 | |
| 2965 | |
| 2968 | |
| 29718-08 | |
| 29764-08A | |
| 2980 | |
| 2995 | |
| 29987-06B | |
| 30041-08 | |
| 30075-10 | |
| 3022A | |
| 3048 | |
| 3050 | |
| 3057 | |
| 3061 | |
| 3088 | |
| 3089 | |
| 31586-07 | |
| 31595-09 | |
| 31604-06 | |
| 31619-06A | |
| 31633-07A | |
| 3164M | |
| 31696-07A | |
| 32013-09A | |
| 32014-09A | |
| 3210A | |
| 3227 | |
| 32306-08 | |
| 32310-08 | |
| 32319-07 | |
| 32362-04 | |
| 32446-99 | |
| 3249 | |
| 32578-07 | |
| 3267 | |
| 32707-01C | |
| 3275 | |
| 3300 | |
| 33166-10 | |
| 33203-10 | |
| 3331 | |
| 3337 | |
| 33389-07 | |
| 33409-06B | |
| 3341 | |
| 33413-06A | |
| 3368 | |
| 33709-82A | |
| 33718-82B | |
| 33819-98A | |
| 33849-97 | |
| 3387 | |
| 33888-99 | |
| 33889-99 | |
| 33890-99A | |
| 33899-08 | |
| 33926-06B | |
| 33960-09 | |
| 33961-09 | |
| 34018-08 | |
| 34022-08 | |
| 3403 | |
| 34064-00C | |
| 34091-08 | |
| 34246-08A | |
| 34469-06B | |
| 34532-00B | |
| 34568-00B | |
| 34596-10 | |
| 34597-10 | |
| 34600-10 | |
| 3462 | |
| 34719-07B | |
| 34853-08 | |
| 34901-07 | |
| 34917-06 | |
| 34948-08 | |
| 34987-06 | |
| 35081-06 | |
| 35082-07 | |
| 35087-99A | |
| 35114-02 | |
| 35122-06 | |
| 35124-06 | |
| 35126-06 | |
| 3514 | |
| 35186-06 | |
| 35187-06 | |
| 35201-10 | |
| 35202-06 | |
| 35204-06 | |
| 35210-06 | |
| 35217-06 | |
| 35222-06 | |
| 35223-06 | |
| 35241-06 | |
| 35242-06 | |
| 35243-06 | |
| 35244-06 | |
| 35246-10 | |
| 35249-06 | |
| 35255-10 | |
| 35256-08 | |
| 35259-06 | |
| 35260-06 | |
| 3529 | |
| 3536 | |
| 3537 | |
| 3540 | |
| 3546 | |
| 35467-06B | |
| 35470-10 | |
| 35607-06 | |
| 3563 | |
| 35654-06 | |
| 3574 | |
| 3576 | |
| 35801-10 | |
| 35805-06A | |
| 35807-06 | |
| 35811-06 | |
| 35814-06 | |
| 3588 | |
| 3592A | |
| 3593 | |
| 3594 | |
| 3595 | |
| 3597 | |
| 3598 | |
| 3601 | |
| 3605 | |
| 3607 | |
| 3612 | |
| 3634 | |
| 3643 | |
| 3652 | |
| 3655A | |
| 3658 | |
| 36731-91 | |
| 36805-06 | |
| 36819-07 | |
| 36822-04 | |
| 3684 | |
| 3692A | |
| 3693A | |
| 3699D | |
| 37065-06 | |
| 37101-84B | |
| 37137-07 | |
| 3728 | |
| 3736A | |
| 3746A | |
| 37496-90A | |
| 37554-06A | |
| 37807-03 | |
| 37810-08A | |
| 37817-07 | |
| 3787 | |
| 37872-00 | |
| 37883-98 | |
| 37884-98 | |
| 37904-90 | |
| 37905-00 | |
| 37906-90 | |
| 37909-90 | |
| 37912-00 | |
| 37913-98 | |
| 37932-98 | |
| 3802W | |
| 38131-10 | |
| 38774-08 | |
| 38881-08A | |
| 3892 | |
| 38937-09 | |
| 38938-09 | |
| 38969-10 | |
| 38970-10 | |
| 38990-10 | |
| 38997-10 | |
| 3929 | |
| 3983 | |
| 3987 | |
| 39929-06B | |
| 3993 | |
| 39968-06 | |
| 39969-06 | |
| 40024-09 | |
| 40037-07 | |
| 4016 | |
| 40217-09 | |
| 40278-09 | |
| 40323-00 | |
| 40603-08 | |
| 40610-09 | |
| 40611-09 | |
| 40614-08 | |
| 40615-08 | |
| 40628-08 | |
| 40649-08 | |
| 40659-06 | |
| 40786-08 | |
| 40901-05 | |
| 40984-10 | |
| 41056-09 | |
| 41139-02 | |
| 41148-98 | |
| 4132 | |
| 41349-07 | |
| 41547-07A | |
| 41750-06B | |
| 41751-06A | |
| 41763-08B | |
| 41783-08 | |
| 41810-08A | |
| 41819-02 | |
| 41852-08A | |
| 41854-08 | |
| 41900-08 | |
| 4192 | |
| 4194 | |
| 4196 | |
| 42010-06A | |
| 42054-05 | |
| 42101-09 | |
| 42101-10 | |
| 42102-08B | |
| 42105-06A | |
| 42115-06 | |
| 42119-08 | |
| 42123-08 | |
| 42145-06 | |
| 42170-09 | |
| 42171-09 | |
| 42199-10 | |
| 42271-06A | |
| 42276-06A | |
| 42388-09 | |
| 4240 | |
| 42460-80B | |
| 42551-08 | |
| 42638-08A | |
| 42642-00 | |
| 42644-00 | |
| 42684-09 | |
| 42733-09 | |
| 42849-08 | |
| 42852-06A | |
| 42853-06 | |
| 42854-06 | |
| 42855-06B | |
| 42856-06 | |
| 42857-06A | |
| 42858-06A | |
| 42861-06B | |
| 42862-06B | |
| 42863-06 | |
| 42865-06B | |
| 42867-06A | |
| 42882-06 | |
| 42889-06 | |
| 4292 | |
| 4293 | |
| 42932-08 | |
| 42933-08A | |
| 42934-08 | |
| 42937-08B | |
| 42938-08 | |
| 42939-08 | |
| 43109-09A | |
| 4312C | |
| 4313 | |
| 43157-83A | |
| 43329-09 | |
| 43475-08 | |
| 43567-92 | |
| 43817-02 | |
| 4400 | |
| 44080-08B | |
| 44089-08 | |
| 44160-00 | |
| 4419 | |
| 44430-04 | |
| 44583-08 | |
| 44613-02 | |
| 44935-06 | |
| 44942-08 | |
| 44942-08A | |
| 44973-10 | |
| 44985-10 | |
| 45032-10 | |
| 45032-82 | |
| 45138-08A | |
| 45279-00 | |
| 45419-80 | |
| 45423-10 | |
| 45423-92 | |
| 45435-10 | |
| 45442-86 | |
| 45446-09 | |
| 45591-02 | |
| 4569 | |
| 45718-60 | |
| 45727-08 | |
| 45733-48 | |
| 45780-03 | |
| 45803-97 | |
| 45838-77 | |
| 45858-77 | |
| 45893-99 | |
| 45933-86 | |
| 45963-97 | |
| 45972-09 | |
| 4597M | |
| 45998-73 | |
| 46115-10 | |
| 4612 | |
| 4616 | |
| 4617 | |
| 46209-09 | |
| 46244-01 | |
| 46246-01 | |
| 4626 | |
| 4630 | |
| 4631 | |
| 46322-06 | |
| 46324-06 | |
| 46368-10 | |
| 46369-10 | |
| 46422-09 | |
| 46459-08A | |
| 46463-08 | |
| 46473-00B | |
| 46474-00C | |
| 46550-03 | |
| 46551-03 | |
| 46552-03 | |
| 46559-03 | |
| 46658-07 | |
| 4688 | |
| 4705 | |
| 47159-09BHP | |
| 4718A | |
| 4721 | |
| 4740A | |
| 4741A | |
| 47449-09 | |
| 47460-09BHP | |
| 47491-02A | |
| 47505-02 | |
| 47522-09 | |
| 47526-09 | |
| 47549-09 | |
| 47584-09 | |
| 47606-09 | |
| 4775 | |
| 4790 | |
| 47900-10BHP | |
| 48079-09BHP | |
| 4808 | |
| 4813A | |
| 4826 | |
| 48300-60 | |
| 48315-60 | |
| 48333-80 | |
| 48343-09 | |
| 48361-80 | |
| 48365-48A | |
| 4838 | |
| 48419-04 | |
| 48420-04 | |
| 48421-04 | |
| 48487-02 | |
| 48489-02 | |
| 4855 | |
| 4856 | |
| 4860 | |
| 4868 | |
| 48787-09 | |
| 48789-09 | |
| 48790-09 | |
| 4890 | |
| 48950-10 | |
| 48998-10 | |
| 48999-10 | |
| 49000001 | |
| 49000002 | |
| 49000003 | |
| 49176-09 | |
| 49184-09 | |
| 49187-09 | |
| 49194-09A | |
| 4924 | |
| 49377-09 | |
| 49407-10 | |
| 49413-10 | |
| 49414-10 | |
| 49428-10 | |
| 49429-10 | |
| 49725-07A | |
| 4976 | |
| 50015-74A | |
| 50075-07 | |
| 50096-09 | |
| 50126-08A | |
| 50245-07 | |
| 50351-03 | |
| 50500001 | |
| 50518-09 | |
| 50588-09A | |
| 50635-82A | |
| 50673-09 | |
| 50683-04 | |
| 50688-04 | |
| 50700-04 | |
| 50701-04 | |
| 50784-97 | |
| 50912-72 | |
| 50933-86A | |
| 50972-75 | |
| 50988-02A | |
| 50998-07 | |
| 51006-07 | |
| 51007-07 | |
| 51008-07 | |
| 51009-02A | |
| 51023-07 | |
| 51068-08 | |
| 51070-08 | |
| 5120 | |
| 51355-07A | |
| 51356-07A | |
| 51358-07A | |
| 51363-07A | |
| 51453-09 | |
| 51459-09 | |
| 51498-09A | |
| 51499-09A | |
| 515 | |
| 51501-07 | |
| 51502-09 | |
| 51510-09 | |
| 51577-09 | |
| 51690-09 | |
| 51697-09 | |
| 5210 | |
| 5211 | |
| 52186-10 | |
| 52192-86A | |
| 52344-10 | |
| 52567-93D | |
| 52585-09 | |
| 52586-10 | |
| 52589-09A | |
| 52590-09 | |
| 53145-09 | |
| 53221-10BZN | |
| 53221-10DDZ | |
| 53221-10DEC | |
| 53221-10DEF | |
| 53228-10BZN | |
| 53228-10DDZ | |
| 53228-10DEC | |
| 53228-10DEF | |
| 53280-08A | |
| 53305-10BZN | |
| 53305-10DDZ | |
| 53305-10DEC | |
| 53305-10DEF | |
| 53314-06 | |
| 53364-10 | |
| 53411-09 | |
| 53415-06 | |
| 53426-87 | |
| 53436-97 | |
| 53447-87 | |
| 53478-80 | |
| 53482-93 | |
| 53483-93 | |
| 53486-85 | |
| 53515-86 | |
| 53517-86 | |
| 53563-82 | |
| 53564-97 | |
| 53567-93 | |
| 53570-89 | |
| 53575-08 | |
| 53594-08A | |
| 53597-07 | |
| 53615-85A | |
| 53629-10 | |
| 53641-02 | |
| 53734-06 | |
| 53735-06 | |
| 53788-06 | |
| 53789-06 | |
| 53919-04A | |
| 53986-07 | |
| 54033-09 | |
| 54034-09 | |
| 54053-10 | |
| 54093-10 | |
| 54094-10 | |
| 54111-10 | |
| 54115-10 | |
| 54116-10 | |
| 54119-10 | |
| 54121-10 | |
| 54126-10 | |
| 54130-10 | |
| 54131-10 | |
| 54133-10 | |
| 54135-10 | |
| 54136-10 | |
| 54137-10 | |
| 54138-10 | |
| 54139-10 | |
| 54140-10 | |
| 54142-10 | |
| 54151-10 | |
| 5416 | |
| 54164-10 | |
| 54176-10 | |
| 54194-10 | |
| 54195-10 | |
| 54243-10 | |
| 54289-10 | |
| 5429 | |
| 54305-98 | |
| 54320-97 | |
| 54321-85 | |
| 54323-85A | |
| 54332-04B | |
| 54333-04A | |
| 54354-94A | |
| 54357-03 | |
| 54536-09 | |
| 54565-09 | |
| 5464 | |
| 55064-10 | |
| 55065-10 | |
| 55911-09A | |
| 55913-09 | |
| 55918-08 | |
| 55928-08 | |
| 56036-08 | |
| 56149-88B | |
| 56151-88B | |
| 56159-73 | |
| 56161-83A | |
| 56162-09 | |
| 56163-93 | |
| 56173-10 | |
| 56346-10 | |
| 56347-10 | |
| 56749-10 | |
| 56770-10 | |
| 56866-06A | |
| 57185-05 | |
| 57187-05 | |
| 57217-02 | |
| 57638-08 | |
| 57659-09 | |
| 57677-10BZN | |
| 57677-10DDZ | |
| 57677-10DEC | |
| 57677-10DEF | |
| 57695-10DEF | |
| 57842-06 | |
| 57860-06 | |
| 57885-10 | |
| 57920-04 | |
| 57978-00 | |
| 58010-98 | |
| 58104-05 | |
| 58105-05 | |
| 58128-08A | |
| 58129-08A | |
| 58167-09 | |
| 58169-09 | |
| 5817 | |
| 58173-05 | |
| 58208-96A | |
| 58236-96 | |
| 58247-96 | |
| 5826 | |
| 58260-10DDW | |
| 58260-10DDY | |
| 58260-10DEB | |
| 58260-10DEE | |
| 58303-96 | |
| 58317-04 | |
| 58324-97 | |
| 5837A | |
| 58478-96B | |
| 58479-96B | |
| 58491-10 | |
| 58491-10DDX | |
| 58491-10DEA | |
| 58491-10DED | |
| 58491-10DEF | |
| 58492-10 | |
| 58492-10DDX | |
| 58492-10DEA | |
| 58492-10DED | |
| 58492-10DEF | |
| 58533-10DEF | |
| 58545-10BZN | |
| 58545-10DDZ | |
| 58545-10DEC | |
| 58679-05 | |
| 58681-05 | |
| 58702-09 | |
| 58709-86 | |
| 58816-05A | |
| 58817-05A | |
| 58851-10DDX | |
| 58851-10DEA | |
| 58851-10DED | |
| 58851-10DEF | |
| 58852-10DDX | |
| 58852-10DEA | |
| 58852-10DED | |
| 58852-10DEF | |
| 58863-06 | |
| 58864-06 | |
| 58889-05 | |
| 58890-05 | |
| 58891-05 | |
| 58893-05 | |
| 58901-05 | |
| 58903-05 | |
| 58938-96C | |
| 58939-96C | |
| 58949-96 | |
| 58972-10DDW | |
| 58972-10DDY | |
| 58972-10DEB | |
| 58972-10DEE | |
| 59045-00B | |
| 59166-80 | |
| 59174-99 | |
| 59259-90 | |
| 59261-09 | |
| 59280-02 | |
| 59292-94 | |
| 59359-06 | |
| 59370-98 | |
| 59371-98 | |
| 59424-10 | |
| 59481-00 | |
| 59482-00 | |
| 59581-05 | |
| 59583-10BZN | |
| 59583-10DDZ | |
| 59583-10DEC | |
| 59583-10DEF | |
| 59699-06 | |
| 59768-97 | |
| 59786-01 | |
| 59788-01 | |
| 601 | |
| 6012 | |
| 60188-08 | |
| 6019 | |
| 6029 | |
| 60328-98B | |
| 6036 | |
| 60386-09 | |
| 60432-07A | |
| 60553-07 | |
| 60678-85 | |
| 60766-06 | |
| 608 | |
| 60818-07 | |
| 60850-08A | |
| 60909-09 | |
| 6099 | |
| 61007-10 | |
| 6101 | |
| 61011-04A | |
| 61012-04A | |
| 61015-04A | |
| 61081-92 | |
| 6109 | |
| 61109-85D | |
| 61112-08 | |
| 6116 | |
| 6119 | |
| 61208-10 | |
| 61213-04A | |
| 6127 | |
| 61270-08 | |
| 61274-92 | |
| 61293-08 | |
| 61313-88 | |
| 61356-08 | |
| 61386-10DDW | |
| 61386-10DDY | |
| 61386-10DEB | |
| 61386-10DEE | |
| 61402-08 | |
| 6150W | |
| 62108-09 | |
| 62137-10 | |
| 62138-10 | |
| 6220W | |
| 62228-08A | |
| 62229-08A | |
| 6229W | |
| 6235 | |
| 62372-09 | |
| 62489-99A | |
| 62564-09 | |
| 62629-09 | |
| 62641-09 | |
| 62693-07A | |
| 62775-08 | |
| 62786-96 | |
| 62787-96 | |
| 62905-08 | |
| 62908-08 | |
| 6294 | |
| 63059-09 | |
| 63066-07 | |
| 63068-09 | |
| 63076-09 | |
| 63084-07 | |
| 63102-10 | |
| 6334 | |
| 63533-41A | |
| 63798-99A | |
| 63815-99 | |
| 6383 | |
| 6421 | |
| 6462 | |
| 64768-09 | |
| 64769-09 | |
| 6497HW | |
| 65184-02 | |
| 65296-95A | |
| 6532 | |
| 65324-83B | |
| 65325-83A | |
| 6557 | |
| 65634-09 | |
| 65636-09 | |
| 6566 | |
| 65678-09 | |
| 65723-85 | |
| 65724-85 | |
| 65742-05 | |
| 65743-05 | |
| 65748-09 | |
| 65863-09 | |
| 6594 | |
| 65949-09 | |
| 65951-09 | |
| 65952-09 | |
| 66010-97C | |
| 66047-05 | |
| 66048-09 | |
| 66051-08 | |
| 66055-09 | |
| 66069-10 | |
| 66078-06 | |
| 66079-06 | |
| 66200-09 | |
| 66219-06 | |
| 66220-06 | |
| 66250-09 | |
| 66281-09B | |
| 66290-06 | |
| 66612-10DDW | |
| 66612-10DDY | |
| 66612-10DEB | |
| 66612-10DEE | |
| 66613-10DDW | |
| 66613-10DDY | |
| 66613-10DEB | |
| 66613-10DEE | |
| 66761-09A | |
| 66767-07 | |
| 66813-09 | |
| 66849-10 | |
| 66855-10A | |
| 66858-09 | |
| 66859-09 | |
| 66861-09A | |
| 66881-09 | |
| 67001-08 | |
| 6702 | |
| 6703 | |
| 67043-96 | |
| 6716 | |
| 6717 | |
| 67266-94 | |
| 67352-96A | |
| 67356-00 | |
| 67454-04 | |
| 67493-08 | |
| 67516-09 | |
| 67519-09 | |
| 67522-09 | |
| 67581-09 | |
| 6762B | |
| 67668-05 | |
| 67689-04 | |
| 67700032 | |
| 67712-83A | |
| 67716-60B | |
| 67717-01 | |
| 67718-60A | |
| 6771A | |
| 67721-48 | |
| 67724-71 | |
| 67726-08 | |
| 67728-02A | |
| 67732-08 | |
| 67778-60A | |
| 67780-60A | |
| 67782-60A | |
| 67854-98 | |
| 67864-04A | |
| 67865-89 | |
| 67880-94 | |
| 68026-99 | |
| 68042-99 | |
| 68066-99A | |
| 68072-10BZN | |
| 68072-10DDZ | |
| 68072-10DEC | |
| 68072-10DEF | |
| 68096-04 | |
| 68120-00 | |
| 68124-04A | |
| 68140-04 | |
| 68142-04 | |
| 68163-84 | |
| 68167-04 | |
| 68296-99A | |
| 68329-03 | |
| 68331-02 | |
| 68344-05 | |
| 68345-05 | |
| 68359-05 | |
| 68369-03 | |
| 68370-03A | |
| 6837M | |
| 68380-05 | |
| 68382-07A | |
| 68414-05 | |
| 68446-00 | |
| 68453-05 | |
| 68550-09 | |
| 68558-03 | |
| 68629-05 | |
| 68653-05 | |
| 68725-62A | |
| 68772-09 | |
| 68789-96A | |
| 68821-00 | |
| 68830-99A | |
| 68836-04A | |
| 68837-04A | |
| 68847-09 | |
| 68881-01 | |
| 68905-00 | |
| 68922-07 | |
| 68924-07 | |
| 68926-07 | |
| 68939-00 | |
| 68956-07 | |
| 68958-07C | |
| 68973-00 | |
| 68997-09 | |
| 69012-93A | |
| 69050-08 | |
| 69060-90F | |
| 69062-91A | |
| 69120-91 | |
| 69123-92A | |
| 69187-03A | |
| 69241-08 | |
| 69274-10 | |
| 69309-10 | |
| 69318-02 | |
| 69322-10 | |
| 69325-02 | |
| 69326-10 | |
| 69330-02 | |
| 69331-02 | |
| 69378-09 | |
| 69380-09BHP | |
| 69481-10 | |
| 69485-10 | |
| 69563-06 | |
| 69567-06 | |
| 6970 | |
| 69824-09 | |
| 70142-94 | |
| 70172-06 | |
| 70174-06 | |
| 70232-10 | |
| 70267-09 | |
| 70290-07 | |
| 70308-07 | |
| 70344-09 | |
| 70348-09 | |
| 7036 | |
| 70369-08 | |
| 70373-96 | |
| 70375-96 | |
| 70377-09 | |
| 7039 | |
| 703B | |
| 7041 | |
| 7042 | |
| 70465-86A | |
| 70493-08 | |
| 70494-08 | |
| 70522-06A | |
| 70578-89 | |
| 70598-99 | |
| 70617-07 | |
| 70631-08 | |
| 70674-08 | |
| 7068 | |
| 70681-09 | |
| 70731-10 | |
| 70732-10 | |
| 70733-10 | |
| 7085 | |
| 70901-09 | |
| 70909-95 | |
| 70973-10 | |
| 70973-10A | |
| 70980-09 | |
| 70981-09 | |
| 70991-07 | |
| 70999-09 | |
| 71019-07 | |
| 71031-04 | |
| 7127 | |
| 7128 | |
| 71294-08 | |
| 7130W | |
| 71422-03 | |
| 71434-96A | |
| 71452-91A | |
| 71459-03 | |
| 71466-03 | |
| 71530-03B | |
| 71532-03 | |
| 71535-96 | |
| 7155 | |
| 71564-96 | |
| 71567-96 | |
| 71572-06 | |
| 71587-04 | |
| 71595-08 | |
| 71612-96 | |
| 71614-96 | |
| 71615-96 | |
| 71621-08 | |
| 71638-03 | |
| 71642-08 | |
| 71660-03 | |
| 71661-03 | |
| 71682-06A | |
| 71683-06A | |
| 71684-06A | |
| 71685-06A | |
| 71699-07 | |
| 71735-08 | |
| 71764-07 | |
| 71765-07 | |
| 71772-07 | |
| 71787-08 | |
| 71788-08 | |
| 71814-98 | |
| 71820-98 | |
| 71822-98 | |
| 71823-98 | |
| 71824-98 | |
| 71825-96A | |
| 71834-98 | |
| 72006-05 | |
| 72007-05 | |
| 72009-05 | |
| 72011-05 | |
| 72012-07 | |
| 72014-07 | |
| 72023-51D | |
| 72024-08 | |
| 72056-92 | |
| 72063-06 | |
| 72066-06A | |
| 72079-08 | |
| 72094-06 | |
| 72096-06 | |
| 72100-04 | |
| 72102-94BK | |
| 72103-94BK | |
| 72104-94BK | |
| 72106-94BK | |
| 72111-06 | |
| 72112-94BK | |
| 72113-94BK | |
| 72114-94BK | |
| 72115-08 | |
| 72116-94BK | |
| 72124-94GY | |
| 72130-04 | |
| 72131-04 | |
| 72135-06 | |
| 72138-94GY | |
| 72139-94GY | |
| 72142-94 | |
| 72143-94 | |
| 72144-94 | |
| 72146-94 | |
| 72152-94 | |
| 72153-94 | |
| 72154-94 | |
| 72155-08 | |
| 72156-94 | |
| 72157-08 | |
| 72158-94 | |
| 72159-94 | |
| 72161-06 | |
| 72164-94A | |
| 72166-07BK | |
| 72167-07BK | |
| 72168-07 | |
| 72169-07 | |
| 72172-94 | |
| 72173-94 | |
| 72175-07BK | |
| 72177-07BK | |
| 72179-94 | |
| 72188-07BK | |
| 72189-04 | |
| 72190-94 | |
| 72191-94 | |
| 72194-94 | |
| 72195-94 | |
| 72199-94 | |
| 72200-94A | |
| 72203-96 | |
| 72204-04 | |
| 72205-94 | |
| 72206-94 | |
| 72207-94 | |
| 72208-94 | |
| 72210-94 | |
| 72213-94 | |
| 72214-94 | |
| 72232-96 | |
| 72241-94A | |
| 72242-94 | |
| 72249-94 | |
| 72251-07 | |
| 72252-01 | |
| 72253-94 | |
| 72260-04 | |
| 72265-04 | |
| 72266-94 | |
| 72272-07 | |
| 72279-04 | |
| 72282-09 | |
| 72283-09 | |
| 72286-04 | |
| 72289-04 | |
| 72290-94 | |
| 72291-94 | |
| 72294-94 | |
| 72295-94 | |
| 72298-95 | |
| 72309-04 | |
| 72314-01 | |
| 72330-95 | |
| 72331-95 | |
| 72343-10 | |
| 72344-10 | |
| 72355-97 | |
| 72356-95 | |
| 72359-05 | |
| 72364-06 | |
| 72381-98 | |
| 72382-98BK | |
| 72384-06BK | |
| 72397-98 | |
| 72400-99 | |
| 72402-07 | |
| 72403-99 | |
| 72405-98BK | |
| 72406-07A | |
| 72407-07 | |
| 72408-07 | |
| 72413-07 | |
| 72414-07BK | |
| 72415-07GY | |
| 72416-01 | |
| 72440-08 | |
| 72444-07GY | |
| 72449-01 | |
| 72450-01 | |
| 72473-07 | |
| 72478-07BK | |
| 72479-07BK | |
| 72483-08BK | |
| 72484-08 | |
| 72485-07 | |
| 72486-08 | |
| 72487-07BK | |
| 72488-07BK | |
| 72489-07GY | |
| 72490-07GY | |
| 72491-07GY | |
| 72492-07GY | |
| 72493-07 | |
| 72494-07 | |
| 72495-08 | |
| 72500-07ABK | |
| 72511-07BK | |
| 72512-07BK | |
| 72518-01 | |
| 72519-09BK | |
| 72527-01 | |
| 72533-06 | |
| 72539-06 | |
| 72543-07BK | |
| 72544-07 | |
| 72547-08 | |
| 72549-07 | |
| 72556-08 | |
| 72557-07 | |
| 72599-10 | |
| 72602-06BK | |
| 72605-08 | |
| 72606-08 | |
| 72607-08 | |
| 72608-08 | |
| 72609-08 | |
| 72610-08 | |
| 72612-06BK | |
| 72620-08 | |
| 72625-10 | |
| 72633-02 | |
| 72635-10 | |
| 72635-10A | |
| 72636-10 | |
| 72642-06 | |
| 72645-10 | |
| 72652-06 | |
| 72690-01 | |
| 72694-06 | |
| 72720-07 | |
| 72721-07 | |
| 72902-01BK | |
| 72912-01BK | |
| 72915-10GN | |
| 72916-10GN | |
| 72990-01 | |
| 72991-01 | |
| 73102-96BK | |
| 73103-96BK | |
| 73104-96BK | |
| 73108-96BK | |
| 73110-96BK | |
| 73112-96BK | |
| 73152-96BK | |
| 73153-96BK | |
| 73154-96BK | |
| 73156-96BK | |
| 73158-96BK | |
| 73160-96BK | |
| 73162-96BK | |
| 73190-96 | |
| 73191-96 | |
| 73196-96 | |
| 73198-96 | |
| 73212-07 | |
| 73213-07 | |
| 73222-09 | |
| 73223-09 | |
| 7326 | |
| 73271-11 | |
| 73272-11 | |
| 7330 | |
| 73301-04 | |
| 73303-04 | |
| 73304-04 | |
| 73305-04 | |
| 73306-07 | |
| 73307-10 | |
| 7331 | |
| 73325-10 | |
| 73326-10 | |
| 73327-10 | |
| 73328-10 | |
| 73329-10 | |
| 73333-10 | |
| 73335-10 | |
| 73340-10 | |
| 7340 | |
| 7348 | |
| 7352 | |
| 7355 | |
| 74102-98BK | |
| 74104-98BK | |
| 74106-98BK | |
| 74109-98BK | |
| 74112-98BK | |
| 74114-98BK | |
| 74115-06 | |
| 74116-98BK | |
| 74119-98BK | |
| 74142-98 | |
| 74144-98 | |
| 74146-98 | |
| 74149-98 | |
| 74152-98 | |
| 74154-98 | |
| 74156-98 | |
| 74159-98 | |
| 7415A | |
| 74190-98 | |
| 74191-98 | |
| 74194-98 | |
| 74195-98 | |
| 74196-04 | |
| 74197-04 | |
| 7434 | |
| 74402-05A | |
| 74419-96A | |
| 74438-99A | |
| 74505-09 | |
| 74622-09 | |
| 74707-09 | |
| 74708-09 | |
| 74709-09 | |
| 74715-09 | |
| 74727-10 | |
| 74729-10 | |
| 74733-10 | |
| 74740-10 | |
| 74741-10 | |
| 74742-10 | |
| 74743-10 | |
| 7492 | |
| 7495 | |
| 75044-96 | |
| 75069-08B | |
| 75089-08 | |
| 75147-08A | |
| 75205-08 | |
| 75229-08 | |
| 75254-04A | |
| 75269-08 | |
| 7531 | |
| 75322-09 | |
| 7549A | |
| 7576 | |
| 7586 | |
| 7593 | |
| 7601 | |
| 7606 | |
| 76129-98 | |
| 76130-98 | |
| 76160-06 | |
| 76165-06A | |
| 76167-06A | |
| 76192-06B | |
| 7624 | |
| 76248-86 | |
| 76250-09 | |
| 76258-86 | |
| 76259-86 | |
| 76265-98 | |
| 76266-98 | |
| 76284-08A | |
| 76294-09 | |
| 76301-08A | |
| 76307-98 | |
| 76319-08 | |
| 76337-06A | |
| 76338-06A | |
| 76403-06 | |
| 76416-06C | |
| 76455-06 | |
| 76456-06 | |
| 76472-06A | |
| 765 | |
| 76503-08 | |
| 76524-08 | |
| 76525-08 | |
| 76529-10 | |
| 76537-08 | |
| 76540-09 | |
| 76575-10 | |
| 76576-10 | |
| 76607-10 | |
| 76608-10 | |
| 76609-10 | |
| 76610-10 | |
| 76611-10 | |
| 76613-10 | |
| 76614-10 | |
| 76615-10 | |
| 7667 | |
| 7676 | |
| 7686 | |
| 7688 | |
| 7689W | |
| 77029-06 | |
| 77047-98 | |
| 77092-98 | |
| 77117-10 | |
| 77121-08 | |
| 77126-10 | |
| 77148-10 | |
| 77153-08 | |
| 7716 | |
| 77177-08 | |
| 77188-08 | |
| 7748W | |
| 7783 | |
| 7792 | |
| 780 | |
| 7813A | |
| 7825 | |
| 7838 | |
| 786A | |
| 7880 | |
| 7904 | |
| 79042-06 | |
| 79113-07 | |
| 79114-07 | |
| 79135-08 | |
| 79145-07 | |
| 79146-07 | |
| 79149-08 | |
| 79156-07 | |
| 79157-07 | |
| 79158-07 | |
| 79159-07 | |
| 79163-07 | |
| 79164-07 | |
| 79165-07 | |
| 79169-08 | |
| 79171-08 | |
| 79179-08 | |
| 79182-08A | |
| 791A | |
| 79209-10BZN | |
| 79209-10DDZ | |
| 79209-10DEC | |
| 79209-10DEF | |
| 7964 | |
| 8020 | |
| 8026K | |
| 8041 | |
| 8042 | |
| 8075 | |
| 8108 | |
| 8142 | |
| 8146 | |
| 8174 | |
| 8175 | |
| 8194 | |
| 8196 | |
| 8230 | |
| 83935-09 | |
| 83936-09 | |
| 8404 | |
| 8483A | |
| 84850-92 | |
| 8500A | |
| 856A | |
| 88235-07 | |
| 88236-07 | |
| 88275-10DDW | |
| 88275-10DDY | |
| 88275-10DEB | |
| 88275-10DEE | |
| 88277-10DDW | |
| 88277-10DDY | |
| 88277-10DEB | |
| 88277-10DEE | |
| 88283-07 | |
| 8861 | |
| 8873 | |
| 8885 | |
| 895 | |
| 89584-07 | |
| 8963 | |
| 8967 | |
| 8970 | |
| 8972 | |
| 90115-04 | |
| 90383-98 | |
| 90400-00A | |
| 90469-94 | |
| 90493-83 | |
| 90520-07 | |
| 90635-10BZN | |
| 90635-10DDZ | |
| 90635-10DEC | |
| 90635-10DEF | |
| 90636-10BZN | |
| 90636-10DDZ | |
| 90636-10DEC | |
| 90636-10DEF | |
| 90649-07 | |
| 90664-93 | |
| 90665-93 | |
| 90674-09A | |
| 90675-93A | |
| 90680-09A | |
| 90688-85 | |
| 90700-93 | |
| 90705-97 | |
| 90755-09 | |
| 90756-93 | |
| 90757-93 | |
| 90763-79 | |
| 90764-93 | |
| 90781-09A | |
| 90820-93D | |
| 90821-74C | |
| 90844-80 | |
| 90875-08 | |
| 90958-93 | |
| 90962-93 | |
| 90964-63 | |
| 90965-63 | |
| 90980-09 | |
| 90981-09 | |
| 91140-09 | |
| 91171-07 | |
| 91190-07 | |
| 91560-01 | |
| 91561-01A | |
| 91586-07 | |
| 91587-07 | |
| 91636-09 | |
| 91638-10BZN | |
| 91638-10DDZ | |
| 91638-10DEC | |
| 91638-10DEF | |
| 91639-10BZN | |
| 91639-10DDZ | |
| 91639-10DEC | |
| 91639-10DEF | |
| 91808-89 | |
| 91812-89A | |
| 91823-10 | |
| 91840-03B | |
| 91845-03B | |
| 9208 | |
| 92142-10 | |
| 9215 | |
| 92260-10 | |
| 92281-10 | |
| 92288-09 | |
| 9231 | |
| 92341-09 | |
| 92342-09 | |
| 92346-10 | |
| 92350-10DDW | |
| 92350-10DDY | |
| 92350-10DEB | |
| 92350-10DEE | |
| 92351-10DDW | |
| 92351-10DDY | |
| 92351-10DEB | |
| 92351-10DEE | |
| 924 | |
| 92436-10 | |
| 92437-10 | |
| 92466-10 | |
| 92492-10 | |
| 9252 | |
| 92614-10 | |
| 92615-10 | |
| 9276 | |
| 932 | |
| 942 | |
| 946 | |
| 94634-99 | |
| 94819-02 | |
| 95594-84A | |
| 95595-84A | |
| 9701 | |
| 9819 | |
| 9838 | |
| 9839 | |
| 9847 | |
| 9848 | |
| 9864 | |
| 9898 | |
| 9907 | |
| 9937 | |
| 9938 | |
| 99461-89 | |
| 9955 | |
| 9956 |
| Part No. | Description |
| 101A1 - Generic Nuts | |
| 7586 | Unknown |
| 33889-99 | 1999 |
| 8142 | Unknown |
| 7576 | 1990 |
| 7838 | Unknown |
| 7624 | Unknown |
| 7792 | 2012 |
| 7813A | 2007 |
| 7689W | Unknown |
| 76259-86 | 1986 |
| 8075 | Unknown |
| 7676 | 2006 |
| 7904 | 1998 |
| 67043-96 | 1996 |
| 7748W | Unknown |
| 7825 | Unknown |
| 3403 | Unknown |
| 5210 | 1991 |
| 5211 | Unknown |
| 8196 | 2007 |
| 84850-92 | 1992 |
| 7355 | 2010 |
| 11663 | Unknown |
| 7495 | 1994 |
| 8404 | 2010 |
| 7492 | 1993 |
| 7340 | Unknown |
| 7326 | Unknown |
| 7880 | Unknown |
| 7330 | Unknown |
| 71660-03 | 2003 |
| 7331 | Unknown |
| 7964 | Unknown |
| 42199-10 | 2010 |
| 90844-80 | 1980 |
| 8020 | 2002 |
| 8108 | Unknown |
| 58949-96 | 1996 |
| 7593 | 1991 |
| 7549A | Unknown |
| 7601 | 1990 |
| 102A1 - Generic Screws | |
| 2446 | Unknown |
| 3536 | Unknown |
| 3802W | 2009 |
| 1001 | Unknown |
| 2225 | Unknown |
| 3983 | 2005 |
| 2228 | Unknown |
| 3987 | Unknown |
| 42882-06 | 2006 |
| 44613-02 | 2002 |
| 3048 | 2016 |
| 3546 | 2013 |
| 4826 | Unknown |
| 68026-99 | 1999 |
| 2563 | 2009 |
| 4741A | 1994 |
| 1090A | Unknown |
| 3050 | Unknown |
| 786A | Unknown |
| 2692WB | Unknown |
| 3655A | Unknown |
| 67718-60A | 2009 |
| 3692A | Unknown |
| 4976 | Unknown |
| 3634 | Unknown |
| 5416 | Unknown |
| 3057 | Unknown |
| 3249 | Unknown |
| 2934 | 1995 |
| 4688 | Unknown |
| 4718A | 1994 |
| 4838 | Unknown |
| 2955 | 1996 |
| 2479 | Unknown |
| 2478 | 2007 |
| 35259-06 | 2006 |
| 3022A | Unknown |
| 43567-92 | 1992 |
| 2559 | 1996 |
| 3514 | Unknown |
| 2482 | Unknown |
| 4313 | Unknown |
| 4597M | Unknown |
| 791A | 2007 |
| 942 | 1992 |
| 3643 | 2003 |
| 4808 | Unknown |
| 3612 | 2012 |
| 2980 | Unknown |
| 3275 | 2002 |
| 3693A | Unknown |
| 3592A | Unknown |
| 895 | Unknown |
| 4890 | Unknown |
| 5429 | 2005 |
| 4705 | 2005 |
| 4132 | Unknown |
| 4740A | 1994 |
| 3658 | Unknown |
| 2551W | 2009 |
| 3267 | 1999 |
| 3529 | Unknown |
| 932 | Unknown |
| 2965 | 1997 |
| 4240 | Unknown |
| 2963 | Unknown |
| 2625 | 1971 |
| 3607 | 2009 |
| 3652 | Unknown |
| 43817-02 | 2002 |
| 3605 | 2009 |
| 2731W | Unknown |
| 1095M | Unknown |
| 2952A | 2003 |
| 3331 | 2003 |
| 2968 | Unknown |
| 3601 | Unknown |
| 2647B | Unknown |
| 68120-00 | 2000 |
| 3061 | Unknown |
| 4721 | 2009 |
| 4400 | 2011 |
| 4924 | Unknown |
| 3576 | 2013 |
| 3089 | Unknown |
| 3594 | 1992 |
| 3088 | Unknown |
| 4856 | Unknown |
| 45838-77 | 1977 |
| 4855 | Unknown |
| 3164M | Unknown |
| 3593 | Unknown |
| 4292 | Unknown |
| 2995 | 2018 |
| 2708A | Unknown |
| 3598 | 1993 |
| 3595 | 1993 |
| 4293 | Unknown |
| 3597 | 1993 |
| 4616 | Unknown |
| 924 | Unknown |
| 68042-99 | 1999 |
| 3728 | 2014 |
| 3746A | 2004 |
| 3993 | Unknown |
| 4419 | Unknown |
| 1039 | Unknown |
| 4612 | Unknown |
| 3227 | 1994 |
| 3699D | 2006 |
| 3929 | 2009 |
| 2724 | Unknown |
| 3300 | Unknown |
| 4617 | Unknown |
| 4860 | Unknown |
| 45858-77 | 1977 |
| 3588 | 1990 |
| 35244-06 | 2014 |
| 3387 | Unknown |
| 3563 | 1999 |
| 4016 | Unknown |
| 780 | Unknown |
| 29269-83A | 1983 |
| 67721-48 | 1948 |
| 4631 | Unknown |
| 1780 | Unknown |
| 2524B | Unknown |
| 2533 | Unknown |
| 3210A | Unknown |
| 50635-82A | 1982 |
| 4868 | Unknown |
| 4630 | Unknown |
| 67724-71 | 1971 |
| 8175 | 2004 |
| 3574 | Unknown |
| 4569 | Unknown |
| 946 | Unknown |
| 4626 | Unknown |
| 3684 | Unknown |
| 4312C | Unknown |
| 3787 | Unknown |
| 16478-85A | 1985 |
| 856A | 1990 |
| 1062 | Unknown |
| 4813A | 1990 |
| 3462 | Unknown |
| 3368 | Unknown |
| 703B | Unknown |
| 2244 | 2010 |
| 3736A | 2005 |
| 4790 | Unknown |
| 1332 | 2010 |
| 4194 | Unknown |
| 1333 | 2010 |
| 4196 | Unknown |
| 1334 | 2010 |
| 1106 | 2010 |
| 42858-06A | 2006 |
| 1107 | 2010 |
| 3540 | Unknown |
| 3892 | Unknown |
| 4192 | 1998 |
| 2590 | 2005 |
| 3337 | 2004 |
| 4775 | 2000 |
| 16480-92A | 1992 |
| 2445 | Unknown |
| 3537 | Unknown |
| 3341 | Unknown |
| 103A1 - Generic Washers | |
| 6717 | Unknown |
| 6019 | Unknown |
| 6566 | 2009 |
| 7415A | Unknown |
| 11891 | Unknown |
| 6012 | Unknown |
| 56159-73 | 1973 |
| 7130W | Unknown |
| 6497HW | 2010 |
| 6771A | Unknown |
| 7085 | Unknown |
| 7434 | 1999 |
| 57920-04 | 2004 |
| 6220W | Unknown |
| 6294 | 2010 |
| 6837M | Unknown |
| 8972 | Unknown |
| 6116 | Unknown |
| 53641-02 | 2002 |
| 59788-01 | 2001 |
| 6334 | Unknown |
| 6150W | Unknown |
| 6099 | 2011 |
| 6109 | 1980 |
| 6101 | 2011 |
| 58173-05 | 2005 |
| 6594 | Unknown |
| 6383 | Unknown |
| 7128 | Unknown |
| 12410 | 2010 |
| 11207 | 2000 |
| 6029 | Unknown |
| 6127 | Unknown |
| 90763-79 | 1979 |
| 6532 | 2000 |
| 6036 | Unknown |
| 45727-08 | 2008 |
| 6421 | 1996 |
| 11852 | Unknown |
| 7068 | Unknown |
| 90875-08 | 2008 |
| 7039 | Unknown |
| 6762B | Unknown |
| 6229W | Unknown |
| 7042 | Unknown |
| 7041 | 1958 |
| 6703 | 1970 |
| 6702 | Unknown |
| 6235 | Unknown |
| 6462 | Unknown |
| 6970 | Unknown |
| 58105-05 | 2005 |
| 45279-00 | 2000 |
| 6716 | Unknown |
| 104A1 - Custom Nuts | |
| 8146 | Unknown |
| 7348 | 2010 |
| 7352 | 2010 |
| 54321-85 | 1985 |
| 7606 | 1983 |
| 47606-09 | 2009 |
| 105A1 - Custom Screws | |
| 2232 | 2010 |
| 2231 | 2010 |
| 2230 | 2010 |
| 2241 | 2010 |
| 2234 | 2010 |
| 2235 | 2010 |
| 2236 | 2010 |
| 2237 | 2010 |
| 2238 | 2010 |
| 2239 | 2010 |
| 106A1 - Custom Washers | |
| 6557 | Unknown |
| 108A1 - Hose Clamps | |
| 27048-84 | 1984 |
| 10354 | Unknown |
| 10198 | Unknown |
| 55918-08 | 2008 |
| 66861-09A | 2009 |
| 42119-08 | 2008 |
| 66047-05 | 2005 |
| 69563-06 | 2006 |
| 10340A | Unknown |
| 9956 | 1972 |
| 9955 | Unknown |
| 108B1 - P Clamps | |
| 51009-02A | 2002 |
| 109A1 - Studs | |
| 66290-06 | 2006 |
| 90400-00A | 2000 |
| 16715-83 | 1983 |
| 10184 | Unknown |
| 45998-73 | 1973 |
| 70909-95 | 1995 |
| 16834-99A | 1999 |
| 110B1 - Plain Bushings | |
| 42642-00 | 2000 |
| 42644-00 | 2000 |
| 58010-98 | 1998 |
| 8967 | 2005 |
| 9252 | 2019 |
| 17429-91 | 1991 |
| 46246-01 | 2001 |
| 9701 | 2006 |
| 12077 | Unknown |
| 67266-94 | 1994 |
| 57217-02 | 2002 |
| 40628-08 | 2008 |
| 8885 | Unknown |
| 9208 | Unknown |
| 110C1 - Radial Shaft Seals | |
| 37101-84B | 1984 |
| 12068 | Unknown |
| 12074 | Unknown |
| 12052A | 2003 |
| 110D1 - Rolling Element Bearings | |
| 9215 | Unknown |
| 8042 | Unknown |
| 8963 | Unknown |
| 8970 | 2004 |
| 9231 | Unknown |
| 24605-07 | 2007 |
| 9276 | 2007 |
| 111A1 - Adhesive | |
| 73304-04 | 2004 |
| 58247-96 | 1996 |
| 72194-94 | 1994 |
| 9819 | Unknown |
| 72690-01 | 2001 |
| 9907 | Unknown |
| 72527-01 | 2001 |
| 72253-94 | 1994 |
| 72990-01 | 2001 |
| 9838 | Unknown |
| 74196-04 | 2004 |
| 72252-01 | 2001 |
| 72694-06 | 2006 |
| 111B1 - Tape | |
| 48419-04 | 2004 |
| 48420-04 | 2004 |
| 111D1 - Isolating Tape | |
| 44430-04 | 2004 |
| 111F1 - Protective Tape | |
| 66055-09 | 2009 |
| 59699-06 | 2006 |
| 11100009 | 2010 |
| 48421-04 | 2004 |
| 116A1 - Banjo Bolts | |
| 41750-06B | 2006 |
| 41783-08 | 2008 |
| 42010-06A | 2006 |
| 5464 | Unknown |
| 117A1 - Coil Springs | |
| 51501-07 | 2007 |
| 10406 | Unknown |
| 119A1 - O-Rings | |
| 11270 | Unknown |
| 11686 | Unknown |
| 11105 | Unknown |
| 10957 | 2006 |
| 11145A | 2007 |
| 11348 | 2002 |
| 11140 | 1982 |
| 11289A | Unknown |
| 11201 | Unknown |
| 11120 | Unknown |
| 11132A | 2007 |
| 11293 | 1996 |
| 11290 | 1998 |
| 11301 | Unknown |
| 11364 | 2002 |
| 27444-00Y | 2000 |
| 11907 | Unknown |
| 120A1 - Pins | |
| 16583-00A | 2000 |
| 601 | Unknown |
| 608 | Unknown |
| 50933-86A | 1986 |
| 221 | Unknown |
| 16574-99A | 1999 |
| 16589-99A | 1999 |
| 42460-80B | 1980 |
| 515 | Unknown |
| 24754-75A | 1975 |
| 16595-99A | 1999 |
| 121A1 - Grommets | |
| 40603-08 | 2008 |
| 11445 | Unknown |
| 11403A | Unknown |
| 11488 | 1996 |
| 11486 | Unknown |
| 11492 | 1996 |
| 79114-07 | 2007 |
| 57978-00 | 2000 |
| 11543 | Unknown |
| 11650 | 2010 |
| 121B1 - Press-Fit Plugs | |
| 67865-89 | 1989 |
| 55928-08 | 2008 |
| 68446-00 | 2000 |
| 765 | 1997 |
| 90383-98 | 1998 |
| 72164-94A | 1994 |
| 90520-07 | 2007 |
| 121C1 - Threaded Plugs | |
| 12901 | 2010 |
| 12900 | 2010 |
| 122A1 - Retaining Rings | |
| 72599-10 | 2010 |
| 11694 | 2010 |
| 17945-36B | 1936 |
| 10368A | 2010 |
| 35114-02 | 2002 |
| 65325-83A | 1983 |
| 35087-99A | 1999 |
| 10183 | 1996 |
| 10103 | Unknown |
| 10860A | 2010 |
| 61012-04A | 2004 |
| 11150 | 1984 |
| 41139-02 | 2002 |
| 66078-06 | 2006 |
| 11061A | 2008 |
| 11143 | Unknown |
| 10398 | Unknown |
| 10395 | Unknown |
| 10396 | Unknown |
| 10394 | 2010 |
| 10991A | Unknown |
| 37905-00 | 2000 |
| 10336 | 2010 |
| 61213-04A | 2004 |
| 11177A | 1996 |
| 11389 | Unknown |
| 8174 | Unknown |
| 16699-06 | 2006 |
| 11082 | 2016 |
| 11081A | 2008 |
| 60678-85 | 1985 |
| 10147 | 2018 |
| 11461 | Unknown |
| 11575 | Unknown |
| 11161 | 1984 |
| 123A1 - Sealing Washers | |
| 41751-06A | 2006 |
| 123B1 - Spring Washers | |
| 7127 | Unknown |
| 7155 | Unknown |
| 124A1 - Spacers | |
| 11599 | Unknown |
| 41900-08 | 2008 |
| 11929 | 2010 |
| 11937 | 2010 |
| 5826 | Unknown |
| 11853 | Unknown |
| 5837A | Unknown |
| 53615-85A | 1985 |
| 11848 | Unknown |
| 125A1 - Tie Straps | |
| 10065 | 1985 |
| 11321 | 2000 |
| 10039 | 1981 |
| 10177 | 1996 |
| 10181 | 1996 |
| 10006 | 1960 |
| 10073 | 1985 |
| 126A1 - Miscellaneous Hardware | |
| 10302 | 1996 |
| 8861 | Unknown |
| 50972-75 | 1975 |
| 8041 | Unknown |
| 68331-02 | 2002 |
| 27711-08 | 2008 |
| 53426-87 | 1987 |
| 59292-94 | 1994 |
| 8500A | 1993 |
| 90493-83 | 1983 |
| 88283-07 | 2007 |
| 89584-07 | 2007 |
| 54320-97 | 1997 |
| 56161-83A | 1983 |
| 53447-87 | 1987 |
| 71459-03 | 2003 |
| 16585-96 | 1996 |
| 26041-05A | 2005 |
| 58104-05 | 2005 |
| 8873 | 1984 |
| 57638-08 | 2008 |
| 11468 | 2002 |
| 126B1 - Rivets Fasteners | |
| 58709-86 | 1986 |
| 11779 | 2008 |
| 8483A | Unknown |
| 11642 | Unknown |
| 127A1 - Miscellaneous, Non-System-Specific Component | |
| 92288-09 | 2009 |
| 127B1 - Generic Mounting Bracket | |
| 79135-08 | 2008 |
| 54131-10 | 2010 |
| 54133-10 | 2010 |
| 140A1 - Battery Warning Label | |
| 15368-01A | 2001 |
| 140A2 - General Warning Label | |
| 14148-86 | 1986 |
| 90821-74C | 1974 |
| 14151-02 | 2002 |
| 140A3 - Other Special Warning Label | |
| 15342-06A | 2006 |
| 90820-93D | 1993 |
| 140G2 - EPA Label | |
| 13846-10 | 2010 |
| 13847-10 | 2010 |
| 29404-01A | 2001 |
| 13733-10 | 2010 |
| 29127-95B | 1995 |
| 140M2 - Shift Pattern Label | |
| 14272-06 | 2006 |
| 141A1 - Medallion | |
| 71466-03 | 2003 |
| 76609-10 | 2010 |
| 67668-05 | 2005 |
| 76615-10 | 2010 |
| 62137-10 | 2010 |
| 61007-10 | 2010 |
| 14448-94 | 1994 |
| 59424-10 | 2010 |
| 42856-06 | 2006 |
| 62138-10 | 2010 |
| 149A1 - Tool | |
| 94819-02 | 2002 |
| 162D1 - Engine Assembly | |
| 19838-11 | 2011 |
| 19176-11 | 2011 |
| 163B1 - Engine Isolator Mount | |
| 47460-09BHP | 2009 |
| 16207-09 | 2009 |
| 164A1 - Engine Mount Bracket | |
| 27712-08 | 2008 |
| 47159-09BHP | 2009 |
| 16321-08 | 2008 |
| 164B1 - Engine Mount Bracket sub-component | |
| 7716 | 1990 |
| 7783 | Unknown |
| 7531 | 1980 |
| 7667 | Unknown |
| 7688 | 2000 |
| 7686 | Unknown |
| 16219-09 | 2009 |
| 8194 | Unknown |
| 8230 | 2010 |
| 165A1 - Cylinder Head | |
| 18280-07 | 2007 |
| 17337-08A | 2008 |
| 17293-08A | 2008 |
| 17257-07A | 2007 |
| 17331-08A | 2008 |
| 94634-99 | 1999 |
| 165B1 - Cylinder Head and Base Gaskets | |
| 16801-07B | 2007 |
| 17349-07B | 2011 |
| 17369-06 | 2006 |
| 17350-07B | 2011 |
| 167A1 - PT Assembly Miscellaneous Component | |
| 33899-08 | 2008 |
| 36731-91 | 1991 |
| 168A1 - Cylinder | |
| 17285-07A | 2011 |
| 17454-08A | 2011 |
| 173B1 - Rocker Arm Shaft | |
| 17594-99 | 1999 |
| 179A1 - Lifters | |
| 18538-99B | 1999 |
| 179B1 - Push Rod | |
| 17922-99 | 1999 |
| 36819-07 | 2007 |
| 17923-99 | 1999 |
| 179C1 - Lifter Anti-Rotation Device | |
| 18535-99 | 1999 |
| 181B1 - Valve Seals | |
| 18067-09 | 2009 |
| 18271-00 | 2000 |
| 18161-08 | 2008 |
| 18187-07 | 2007 |
| 18183-03 | 2003 |
| 18168-08 | 2008 |
| 18189-07 | 2007 |
| 18048-98A | 1998 |
| 181C1 - Valve Collars | |
| 18270-00A | 2000 |
| 18272-00 | 2000 |
| 17947-36 | 1936 |
| 17968-99 | 1999 |
| 184A1 - PT Camdrive and Valvetrain Miscellaneous Component | |
| 18083-09 | 2009 |
| 221A1 - Piston Pin | |
| 22097-99 | 1999 |
| 239A1 - PT Lower End Miscellaneous Component | |
| 48365-48A | 1981 |
| 8026K | Unknown |
| 241A1 - Flywheel | |
| 24004-03A | 2007 |
| 23729-07A | 2009 |
| 244A1 - Crankcase | |
| 24760-08A | 2011 |
| 24758-07A | 2011 |
| 24760-08 | 2008 |
| 24758-07 | 2007 |
| 244B1 - Crankcase Gasket | |
| 35607-06 | 2006 |
| 244D1 - Crankcase sub-component | |
| 22307-99 | 1999 |
| 25355-06A | 2006 |
| 24009-06 | 2006 |
| 244E1 - Transmission Access Door | |
| 35256-08 | 2001 |
| 244F1 - Oil Pan | |
| 62489-99A | 1999 |
| 26166-08A | 2009 |
| 254A1 - Camdrive Gear | |
| 25566-06 | 2006 |
| 254B1 - Camshaft | |
| 25638-07 | 2007 |
| 25675-06 | 2006 |
| 25673-06 | 2006 |
| 25728-06 | 2006 |
| 254D1 - Camshaft Support | |
| 41819-02 | 2002 |
| 255A1 - Camdrive Chain | |
| 25683-06 | 2006 |
| 255C1 - Camdrive Chain Tensioner | |
| 39969-06 | 2006 |
| 39929-06B | 2008 |
| 257A1 - Cam Cover | |
| 25369-01B | 2001 |
| 257B1 - Clutch Cover | |
| 60766-06 | 2006 |
| 257E1 - Cover Gaskets | |
| 36805-06 | 2006 |
| 61402-08 | 2008 |
| 33890-99A | 1999 |
| 65324-83B | 2009 |
| 90675-93A | 2000 |
| 35654-06 | 2006 |
| 71294-08 | 2008 |
| 61109-85D | 1985 |
| 16719-99B | 1999 |
| 17045-99D | 2011 |
| 34901-07 | 2007 |
| 11936 | Unknown |
| 25244-99A | 1999 |
| 17162-03 | 2003 |
| 42857-06A | 2006 |
| 34948-08 | 2008 |
| 45733-48 | 1948 |
| 25700226 | 2012 |
| 18635-99B | 1999 |
| 26077-99A | 1999 |
| 34917-06 | 2006 |
| 17386-99A | 1999 |
| 11902 | Unknown |
| 257F1 - Cover Plug | |
| 25700008 | 2010 |
| 257G1 - Ignition Cover | |
| 32578-07 | 2007 |
| 257K1 - Oil Screen Cover | |
| 25700007 | 2010 |
| 257L1 - Primary Cover | |
| 60553-07 | 2007 |
| 25585-06 | 2006 |
| 37137-07 | 2007 |
| 60432-07A | 2008 |
| 60850-08A | 2008 |
| 257M1 - Push Rod Cover | |
| 17948-99 | 1999 |
| 17939-99 | 1999 |
| 257N1 - Rocker-Arm / Valve Cover | |
| 17375-83A | 1983 |
| 17611-83 | 1983 |
| 17573-99A | 1999 |
| 17360-83A | 1983 |
| 17572-99 | 1999 |
| 257P1 - Tappet Cover | |
| 17964-99 | 1999 |
| 17966-99 | 1999 |
| 258A1 - PT Covers Miscellaneous Component | |
| 34600-10 | 2010 |
| 34469-06B | 2008 |
| 60818-07 | 2007 |
| 265A1 - Vent / Breather Line | |
| 17025-03A | 2011 |
| 58890-05 | 2005 |
| 17650-02 | 2002 |
| 58889-05 | 2005 |
| 26500002 | 2011 |
| 29502-08A | 2011 |
| 270A1 - Carburetor | |
| 36822-04 | 2004 |
| 22284-07 | 2007 |
| 22269-07 | 2007 |
| 22287-07 | 2007 |
| 22290-07 | 2007 |
| 22285-07 | 2007 |
| 272B1 - Throttle Body / Intake Manifold | |
| 27200003 | 2011 |
| 273A2 - Intake Manifold to Cylinder Head Seal | |
| 26993-06 | 2006 |
| 273G1 - Throttle Body | |
| 29517-07A | 2007 |
| 273K1 - Throttle Body to Manifold Seal | |
| 26995-86B | 1986 |
| 273M1 - Throttle Cable Bracket | |
| 38969-10 | 2010 |
| 274B1 - Fuel Rail | |
| 27721-08 | 2008 |
| 274C1 - Fuel Injector | |
| 27609-01B | 2001 |
| 290A1 - Airbox Baseplate | |
| 29764-08A | 2008 |
| 29630-08A | 2008 |
| 290C1 - Airbox Baseplate sub-component | |
| 29584-01 | 2001 |
| 290D1 - Airbox Seal | |
| 29718-08 | 2008 |
| 29645-08 | 2008 |
| 294A1 - Air Filter Element | |
| 63815-99 | 1999 |
| 29633-08 | 2008 |
| 294B1 - Breather Bolt | |
| 29465-08 | 2008 |
| 294F1 - Engine Breather Valve | |
| 26858-99 | 1999 |
| 299B1 - Charging Rotor Assembly | |
| 30041-08 | 2008 |
| 299F1 - Stator Assembly | |
| 29987-06B | 2008 |
| 314E1 - Starter Friction Clutch | |
| 31633-07A | 2010 |
| 314F1 - Starter Motor | |
| 31619-06A | 2006 |
| 314H1 - Starter Solenoid | |
| 28861-07A | 2007 |
| 27715-07 | 2007 |
| 31604-06 | 2006 |
| 316A1 - Ignition Coil | |
| 31696-07A | 2008 |
| 316B1 - Spark Plug Cable | |
| 32013-09A | 2011 |
| 32014-09A | 2011 |
| 316C1 - Spark Plug | |
| 32362-04 | 2004 |
| 327B1 - Chemical / Gas Sensor | |
| 27729-10 | 2010 |
| 27809-10 | 2010 |
| 327C1 - Pressure Sensor | |
| 40615-08 | 2008 |
| 40614-08 | 2008 |
| 74727-10 | 2010 |
| 327D1 - Proximity Sensor | |
| 50126-08A | 2008 |
| 74402-05A | 2005 |
| 32707-01C | 2007 |
| 327E1 - Temperature Sensor | |
| 32319-07 | 2007 |
| 74419-96A | 1996 |
| 74742-10 | 2010 |
| 32446-99 | 1999 |
| 327G1 - Police Radar | |
| 38970-10 | 2010 |
| 336A1 - Shift Linkage Rod Assembly | |
| 5817 | 2000 |
| 33819-98A | 2001 |
| 33888-99 | 1999 |
| 336D1 - Shift Pedal | |
| 33960-09 | 2009 |
| 33849-97 | 1997 |
| 34532-00B | 2000 |
| 339A1 - Shift Lever | |
| 34568-00B | 2000 |
| 33718-82B | 1982 |
| 34596-10 | 2010 |
| 34597-10 | 2010 |
| 34022-08 | 2008 |
| 34018-08 | 2008 |
| 339D1 - Shifter Fork | |
| 35222-06 | 2014 |
| 35217-06 | 2006 |
| 35223-06 | 2014 |
| 35210-06 | 2006 |
| 35187-06 | 2006 |
| 339E1 - Shifter Fork Shaft | |
| 33709-82A | 1982 |
| 339H1 - Shifter Mechanism Components (internal) | |
| 34064-00C | 2000 |
| 35243-06 | 2014 |
| 33389-07 | 2014 |
| 33961-09 | 2009 |
| 34091-08 | 2008 |
| 34987-06 | 2006 |
| 35186-06 | 2006 |
| 35249-06 | 2006 |
| 35081-06 | 2006 |
| 33413-06A | 2006 |
| 33409-06B | 2006 |
| 35082-07 | 2007 |
| 347A1 - Transmission Assembly | |
| 33166-10 | 2010 |
| 33203-10 | 2010 |
| 348A1 - Transmission Output Sprocket Cover | |
| 34853-08 | 2008 |
| 34719-07B | 2007 |
| 350A1 - Transmission Output Sprocket | |
| 40659-06 | 2006 |
| 350E1 - Transmission Gear | |
| 35801-10 | 2010 |
| 35255-10 | 2010 |
| 35246-10 | 2010 |
| 35122-06 | 2006 |
| 350F1 - Transmission Mainshaft | |
| 35467-06B | 2008 |
| 350G1 - Transmission Shim / Spacer | |
| 25736-06 | 2006 |
| 25731-06 | 2006 |
| 25729-06 | 2006 |
| 25738-06 | 2006 |
| 25737-06 | 2006 |
| 25734-06 | 2006 |
| 356A1 - Transmission Countershaft | |
| 35807-06 | 2006 |
| 35814-06 | 2006 |
| 35811-06 | 2006 |
| 35805-06A | 2006 |
| 35470-10 | 2010 |
| 356B1 - Transmission Dog Ring | |
| 35204-06 | 2006 |
| 35126-06 | 2006 |
| 356C1 - Transmission Dog Ring Guide Hub | |
| 35202-06 | 2006 |
| 35201-10 | 2010 |
| 35124-06 | 2006 |
| 363A1 - PT Driveline Miscellaneous Component | |
| 40901-05 | 2005 |
| 35241-06 | 2006 |
| 35242-06 | 2006 |
| 35260-06 | 2008 |
| 365A1 - Primary Chain | |
| 40037-07 | 2007 |
| 365B1 - Primary Chain Tensioner | |
| 39968-06 | 2006 |
| 365C1 - Primary Drive Assembly | |
| 83935-09 | 2009 |
| 83936-09 | 2009 |
| 37810-08A | 2008 |
| 40323-00 | 2000 |
| 367A1 - Clutch Lever | |
| 46115-10 | 2010 |
| 38774-08 | 2008 |
| 38997-10 | 2010 |
| 367B1 - Clutch Lever Master Cylinder | |
| 38990-10 | 2010 |
| 44985-10 | 2010 |
| 42101-10 | 2010 |
| 367G1 - Clutch Lever Pivot Bolt | |
| 45423-10 | 2010 |
| 5120 | 2010 |
| 45032-10 | 2010 |
| 367H1 - Clutch Lever sub-component | |
| 37807-03 | 2003 |
| 37904-90 | 1990 |
| 37906-90 | 1990 |
| 37909-90 | 1990 |
| 37872-00 | 2000 |
| 370A1 - Clutch Assembly | |
| 37817-07 | 2007 |
| 37496-90A | 1990 |
| 370B1 - Clutch Friction Plate | |
| 37932-98 | 1998 |
| 37913-98 | 1998 |
| 370C1 - Clutch Hub | |
| 37554-06A | 2008 |
| 370F1 - Clutch Pressure Plate | |
| 37912-00 | 2000 |
| 370F3 - Clutch Diaphragm Spring | |
| 37883-98 | 1998 |
| 37884-98 | 1998 |
| 372D1 - Clutch Cable | |
| 38938-09 | 2009 |
| 372G1 - Clutch Hose | |
| 38881-08A | 2008 |
| 400A1 - Drive-Belt | |
| 40024-09 | 2009 |
| 410D1 - Electronic Control Module (ECM) | |
| 34246-08A | 2009 |
| 410G1 - Security System Control Module | |
| 68924-07 | 2007 |
| 68922-07 | 2007 |
| 70617-07 | 2007 |
| 411A1 - ABS Control Unit | |
| 48343-09 | 2009 |
| 40786-08 | 2008 |
| 411A2 - ABS Electrical Control Unit | |
| 40649-08 | 2008 |
| 413A1 - Brake Caliper | |
| 44080-08B | 2009 |
| 42939-08 | 2008 |
| 44160-00 | 2000 |
| 46368-10 | 2010 |
| 46369-10 | 2010 |
| 42938-08 | 2008 |
| 413B1 - Brake Bleeder Screw | |
| 42853-06 | 2006 |
| 413C1 - Brake Caliper sub-component | |
| 42054-05 | 2005 |
| 12102 | Unknown |
| 48361-80 | 1980 |
| 413D1 - Brake Pad | |
| 42867-06A | 2006 |
| 41854-08 | 2008 |
| 413E1 - Brake Pad Pin | |
| 42865-06B | 2006 |
| 42849-08 | 2008 |
| 415B1 - Brake Rotor | |
| 44973-10 | 2010 |
| 44942-08 | 2008 |
| 44942-08A | 2011 |
| 41810-08A | 2008 |
| 416A1 - Brakes Miscellaneous Component | |
| 41852-08A | 2009 |
| 44935-06 | 2006 |
| 42852-06A | 2006 |
| 42934-08 | 2008 |
| 42551-08 | 2008 |
| 42863-06 | 2006 |
| 72023-51D | 2004 |
| 44089-08 | 2008 |
| 417A1 - Brake Master Cylinder Assembly | |
| 42123-08 | 2008 |
| 42102-08B | 2010 |
| 46463-08 | 2008 |
| 42115-06 | 2006 |
| 41763-08B | 2010 |
| 46322-06 | 2006 |
| 42101-09 | 2009 |
| 417B1 - Brake Master Cylinder | |
| 46244-01 | 2001 |
| 42889-06 | 2006 |
| 417C1 - Brake Master Cylinder Piston Set | |
| 42861-06B | 2006 |
| 42932-08 | 2008 |
| 46459-08A | 2008 |
| 42933-08A | 2008 |
| 417D1 - Brake Master Cylinder sub-Component | |
| 45032-82 | 1982 |
| 42862-06B | 2010 |
| 45423-92 | 1992 |
| 42855-06B | 2006 |
| 46324-06 | 2006 |
| 42937-08B | 2010 |
| 417G1 - Front Brake Lever | |
| 42276-06A | 2006 |
| 42638-08A | 2008 |
| 42105-06A | 2006 |
| 38131-10 | 2010 |
| 42271-06A | 2007 |
| 417H1 - Front Brake Master Cylinder Mount Clamp | |
| 45138-08A | 2008 |
| 418B1 - Brake Line | |
| 40610-09 | 2009 |
| 38937-09 | 2009 |
| 48999-10 | 2010 |
| 40611-09 | 2009 |
| 42388-09 | 2009 |
| 48998-10 | 2010 |
| 420A1 - Wheel Rim | |
| 42171-09 | 2009 |
| 55065-10 | 2010 |
| 55064-10 | 2010 |
| 42170-09 | 2009 |
| 422B1 - Wheel Sprocket | |
| 40217-09 | 2009 |
| 422C1 - Wheel Sprocket Compensating Cushion | |
| 40278-09 | 2009 |
| 423G1 - Valve Stem | |
| 43157-83A | 1983 |
| 423H1 - Valve Stem Cap | |
| 54323-85A | 1985 |
| 423K1 - Wheel Weights | |
| 95595-84A | 2019 |
| 95594-84A | 2010 |
| 424A1 - Wheels, Tires and Final Drive Miscellaneous Component | |
| 40984-10 | 2010 |
| 430D1 - Front Axle | |
| 41547-07A | 2007 |
| 430E1 - Rear Axle | |
| 41056-09 | 2009 |
| 431A1 - Front Tire | |
| 43109-09A | 2009 |
| 432A1 - Rear Tire | |
| 43329-09 | 2009 |
| 433B1 - Front Wheel Bearing Spacer | |
| 56163-93 | 1993 |
| 44583-08 | 2008 |
| 50784-97 | 1997 |
| 48489-02 | 2002 |
| 11843 | 2009 |
| 41349-07 | 2007 |
| 454A1 - Front Telescopic Fork | |
| 48790-09 | 2009 |
| 46473-00B | 2007 |
| 49407-10 | 2010 |
| 47549-09 | 2009 |
| 48789-09 | 2009 |
| 46552-03 | 2003 |
| 49414-10 | 2010 |
| 45963-97 | 1997 |
| 49377-09 | 2009 |
| 46551-03 | 2003 |
| 49413-10 | 2010 |
| 46474-00C | 2007 |
| 454B1 - Springer Fork | |
| 48787-09 | 2009 |
| 455A1 - Front Telescopic Fork Slider | |
| 46550-03 | 2003 |
| 455C1 - Front Telescopic Fork sub-component | |
| 45803-97 | 1997 |
| 46658-07 | 2007 |
| 45419-80 | 1980 |
| 45442-86 | 1986 |
| 45972-09 | 2009 |
| 45933-86 | 1986 |
| 456A1 - Fork Protector | |
| 45591-02 | 2002 |
| 457E1 - Steering Stem Bearing Insert Cup | |
| 48315-60 | 1960 |
| 48300-60 | 1960 |
| 457F1 - Steering Stem Nut | |
| 45718-60 | 1960 |
| 458A1 - Front Suspension and Steering Miscellaneous Component | |
| 45780-03 | 2003 |
| 48333-80 | 1980 |
| 458B1 - Front Suspension and Steering Mounting Bracket | |
| 45435-10 | 2010 |
| 45446-09 | 2009 |
| 470A1 - Frame | |
| 47900-10BHP | 2010 |
| 48079-09BHP | 2009 |
| 472A1 - Frame sub-component | |
| 12401 | 2010 |
| 12402 | 2010 |
| 12403 | 2010 |
| 12404 | 2010 |
| 12400 | 2010 |
| 47522-09 | 2009 |
| 47526-09 | 2009 |
| 49428-10 | 2010 |
| 7036 | Unknown |
| 49429-10 | 2010 |
| 472C1 - Front Fairing Support Bracket | |
| 62787-96 | 1996 |
| 472C2 - Fairing Lower Support Bracket | |
| 58939-96C | 2010 |
| 58938-96C | 2010 |
| 472D1 - Chassis Structure Miscellaneous Component | |
| 90781-09A | 2010 |
| 51023-07 | 2007 |
| 472D2 - Chassis Structure Mounting Bracket | |
| 70674-08 | 2008 |
| 76525-08 | 2008 |
| 68629-05 | 2005 |
| 57659-09 | 2009 |
| 53570-89 | 1989 |
| 91140-09 | 2009 |
| 29644-08 | 2008 |
| 53563-82 | 1982 |
| 76130-98 | 1998 |
| 474E1 - Swingarm Assembly sub-component | |
| 47491-02A | 2002 |
| 47584-09 | 2009 |
| 474F1 - Swingarm Bearing Spacer | |
| 48487-02 | 2002 |
| 475B1 - Swingarm Pivot Shaft | |
| 47505-02 | 2002 |
| 490C1 - Engine Guard | |
| 49184-09 | 2009 |
| 49000003 | 2010 |
| 49000002 | 2010 |
| 49000001 | 2010 |
| 49187-09 | 2009 |
| 500B1 - Sidestand Bracket | |
| 50096-09 | 2009 |
| 500C1 - Sidestand Bracket sub-component | |
| 49725-07A | 2007 |
| 500D1 - Sidestand Leg | |
| 50075-07 | 2007 |
| 500E1 - Sidestand Leg sub-component | |
| 50015-74A | 1974 |
| 50245-07 | 2007 |
| 505A1 - Footboard | |
| 54142-10 | 2010 |
| 51008-07 | 2007 |
| 51355-07A | 2007 |
| 54139-10 | 2010 |
| 51068-08 | 2008 |
| 50688-04 | 2004 |
| 50701-04 | 2004 |
| 51007-07 | 2007 |
| 50673-09 | 2009 |
| 54138-10 | 2010 |
| 54119-10 | 2010 |
| 51356-07A | 2007 |
| 51498-09A | 2009 |
| 51510-09 | 2009 |
| 50683-04 | 2004 |
| 51499-09A | 2009 |
| 51006-07 | 2007 |
| 51070-08 | 2008 |
| 51697-09 | 2009 |
| 51502-09 | 2009 |
| 54121-10 | 2010 |
| 50998-07 | 2007 |
| 54140-10 | 2010 |
| 50700-04 | 2004 |
| 505B1 - Footpeg Mount Bracket | |
| 51453-09 | 2009 |
| 50500001 | 2010 |
| 50518-09 | 2009 |
| 54126-10 | 2010 |
| 50988-02A | 2002 |
| 54151-10 | 2010 |
| 50588-09A | 2009 |
| 50351-03 | 2009 |
| 51363-07A | 2007 |
| 51358-07A | 2007 |
| 10858 | 2010 |
| 505G1 - Rider or Common Footpeg | |
| 54130-10 | 2010 |
| 505H1 - Footpeg Insert | |
| 51459-09 | 2009 |
| 506A1 - Brake Pedal | |
| 50912-72 | 1972 |
| 48950-10 | 2010 |
| 42733-09 | 2009 |
| 42684-09 | 2009 |
| 520A1 - Rider Seat or Full Seat | |
| 52344-10 | 2010 |
| 521C1 - Seat Suspension Damper | |
| 46422-09 | 2009 |
| 46209-09 | 2009 |
| 523B1 - Back Rest Pad | |
| 52186-10 | 2010 |
| 52586-10 | 2010 |
| 54164-10 | 2010 |
| 523C1 - Back Rest Support Structure | |
| 52192-86A | 1986 |
| 52589-09A | 2010 |
| 52585-09 | 2009 |
| 52590-09 | 2009 |
| 52567-93D | 2010 |
| 53517-86 | 1986 |
| 524A1 - Passenger Grab Handle | |
| 51690-09 | 2009 |
| 51577-09 | 2009 |
| 530A1 - Tour Pak | |
| 79042-06 | 2006 |
| 79149-08 | 2008 |
| 53364-10 | 2010 |
| 79171-08 | 2008 |
| 53145-09 | 2009 |
| 53594-08A | 2008 |
| 530B1 - Tour Pak sub-component | |
| 53415-06 | 2006 |
| 79209-10BZN | 2010 |
| 53228-10BZN | 2010 |
| 79146-07 | 2007 |
| 68072-10DEF | 2010 |
| 53280-08A | 2008 |
| 79182-08A | 2008 |
| 53515-86 | 1986 |
| 53411-09 | 2009 |
| 53221-10BZN | 2010 |
| 54111-10 | 2010 |
| 53478-80 | 1980 |
| 53305-10DDZ | 2010 |
| 79209-10DEF | 2010 |
| 79209-10DEC | 2010 |
| 53305-10DEC | 2010 |
| 53305-10DEF | 2010 |
| 79209-10DDZ | 2010 |
| 53564-97 | 1997 |
| 53629-10 | 2010 |
| 53228-10DDZ | 2010 |
| 53228-10DEF | 2010 |
| 53228-10DEC | 2010 |
| 79159-07 | 2007 |
| 90755-09 | 2009 |
| 90964-63 | 1963 |
| 53221-10DEC | 2010 |
| 53221-10DEF | 2010 |
| 53221-10DDZ | 2010 |
| 53486-85 | 1985 |
| 90688-85 | 1985 |
| 53305-10BZN | 2010 |
| 530C2 - Case Latch | |
| 90705-97 | 1997 |
| 90665-93 | 1993 |
| 90649-07 | 2007 |
| 90981-09 | 2009 |
| 90980-09 | 2009 |
| 530E1 - Tour-Pak Luggage Rack | |
| 54289-10 | 2010 |
| 79179-08 | 2008 |
| 540B1 - Rear Shock | |
| 54565-09 | 2009 |
| 540E1 - Rear Shock sub-component | |
| 54536-09 | 2009 |
| 54357-03 | 2003 |
| 558A1 - Handlebar | |
| 56749-10 | 2010 |
| 41148-98 | 1998 |
| 56036-08 | 2008 |
| 56173-10 | 2010 |
| 559D1 - Lower Handlebar Clamp | |
| 56151-88B | 1988 |
| 56149-88B | 1988 |
| 560A1 - Mirror | |
| 91840-03B | 2003 |
| 92437-10 | 2010 |
| 92341-09 | 2009 |
| 92615-10 | 2010 |
| 92342-09 | 2009 |
| 92614-10 | 2010 |
| 91845-03B | 2003 |
| 92436-10 | 2010 |
| 561B1 - Left Hand Grip | |
| 56346-10 | 2010 |
| 55913-09 | 2009 |
| 55911-09A | 2010 |
| 56347-10 | 2010 |
| 561F1 - Grip Kit | |
| 32310-08 | 2008 |
| 56770-10 | 2010 |
| 570A1 - Front Fairing | |
| 57842-06 | 2006 |
| 58478-96B | 1996 |
| 58260-10DEB | 2010 |
| 58479-96B | 1996 |
| 58236-96 | 1996 |
| 58260-10DDW | 2010 |
| 58260-10DDY | 2010 |
| 46559-03 | 2003 |
| 58260-10DEE | 2010 |
| 57860-06 | 2006 |
| 570C1 - Inner Fairing | |
| 58545-10DDZ | 2010 |
| 58545-10DEC | 2010 |
| 57695-10DEF | 2010 |
| 58545-10BZN | 2010 |
| 58864-06 | 2006 |
| 57677-10DEF | 2010 |
| 57677-10DEC | 2010 |
| 58863-06 | 2006 |
| 57677-10DDZ | 2010 |
| 57677-10BZN | 2010 |
| 571A1 - Fairing Lower | |
| 58817-05A | 2005 |
| 58851-10DDX | 2010 |
| 58852-10DEA | 2010 |
| 58852-10DED | 2010 |
| 58851-10DED | 2010 |
| 58851-10DEF | 2010 |
| 58851-10DEA | 2010 |
| 58852-10DEF | 2010 |
| 58816-05A | 2005 |
| 58852-10DDX | 2010 |
| 571B1 - Fairing Lower sub-component | |
| 58208-96A | 1996 |
| 58679-05 | 2005 |
| 58681-05 | 2005 |
| 58492-10 | 2010 |
| 58491-10 | 2010 |
| 58317-04 | 2004 |
| 58533-10DEF | 2010 |
| 58903-05 | 2005 |
| 58492-10DEF | 2010 |
| 58492-10DED | 2010 |
| 58492-10DDX | 2010 |
| 58492-10DEA | 2010 |
| 58901-05 | 2005 |
| 58491-10DEF | 2010 |
| 58491-10DED | 2010 |
| 58491-10DEA | 2010 |
| 58491-10DDX | 2010 |
| 58893-05 | 2005 |
| 572C1 - Chin Spoiler Side | |
| 58128-08A | 2011 |
| 58129-08A | 2011 |
| 572D1 - Engine Shroud | |
| 58167-09 | 2009 |
| 58169-09 | 2009 |
| 572E1 - Side Cover | |
| 32306-08 | 2008 |
| 66613-10DDY | 2010 |
| 66613-10DDW | 2010 |
| 66613-10DEB | 2010 |
| 66048-09 | 2009 |
| 66613-10DEE | 2010 |
| 66612-10DEE | 2010 |
| 66612-10DEB | 2010 |
| 66612-10DDY | 2010 |
| 66612-10DDW | 2010 |
| 66250-09 | 2009 |
| 573A1 - Bodywork Miscellaneous Component | |
| 54115-10 | 2010 |
| 68072-10BZN | 2010 |
| 53919-04A | 2004 |
| 57885-10 | 2010 |
| 54116-10 | 2010 |
| 58891-05 | 2005 |
| 573B1 - Bodywork Mounting Bracket | |
| 59786-01 | 2001 |
| 574B1 - Windscreen / Windshield | |
| 57187-05 | 2005 |
| 58303-96 | 1996 |
| 58324-97 | 1997 |
| 59261-09 | 2009 |
| 57185-05 | 2005 |
| 589A1 - Front Fender | |
| 58972-10DDW | 2010 |
| 58972-10DDY | 2010 |
| 58972-10DEE | 2010 |
| 58972-10DEB | 2010 |
| 59045-00B | 2012 |
| 595D1 - Rear Fender | |
| 58702-09 | 2009 |
| 75069-08B | 2008 |
| 59583-10DDZ | 2010 |
| 59583-10BZN | 2010 |
| 59583-10DEC | 2010 |
| 59583-10DEF | 2010 |
| 59768-97 | 1997 |
| 59174-99 | 1999 |
| 596B1 - Fender Tip | |
| 59581-05 | 2005 |
| 59280-02 | 2002 |
| 603B1 - Belt / Chain Guard | |
| 60386-09 | 2009 |
| 608A1 - Carbon Canister | |
| 27433-08 | 2008 |
| 608B1 - Carbon Canister Hose | |
| 27297-09 | 2009 |
| 27291-09 | 2009 |
| 27439-09 | 2009 |
| 27298-09 | 2009 |
| 609A1 - Fuel Miscellaneous Component | |
| 70999-09 | 2009 |
| 6119 | 2016 |
| 61112-08 | 2008 |
| 75147-08A | 2008 |
| 75254-04A | 2004 |
| 75269-08 | 2008 |
| 609B1 - Fuel and Intake Mounting Bracket | |
| 70901-09 | 2009 |
| 610A1 - Fuel Tank | |
| 61386-10DDY | 2010 |
| 61386-10DDW | 2010 |
| 61356-08 | 2008 |
| 61386-10DEE | 2010 |
| 61386-10DEB | 2010 |
| 611B1 - Fuel Cap | |
| 61274-92 | 1992 |
| 10334 | 2014 |
| 611F1 - Fuel Tank Vapor Vent Hose | |
| 27440-09 | 2009 |
| 69241-08 | 2008 |
| 612A1 - Fuel Filter | |
| 61011-04A | 2004 |
| 62229-08A | 2008 |
| 612B1 - Fuel Level Sensor | |
| 75205-08 | 2008 |
| 74741-10 | 2010 |
| 612B2 - Fuel Valve | |
| 61015-04A | 2004 |
| 612C1 - Fuel Line | |
| 62905-08 | 2008 |
| 61208-10 | 2010 |
| 612F1 - Fuel Pump | |
| 62908-08 | 2008 |
| 613A1 - Trim Panel | |
| 30075-10 | 2010 |
| 62775-08 | 2008 |
| 54243-10 | 2010 |
| 613B1 - Horn Cover | |
| 69012-93A | 1993 |
| 613C1 - Intake / Fuel Tank Cover | |
| 61293-08 | 2008 |
| 613D1 - Intake / Fuel Tank Cover Trim | |
| 61313-88 | 1988 |
| 74729-10 | 2010 |
| 613K1 - Airbox Cover | |
| 28745-10 | 2010 |
| 28726-10 | 2010 |
| 613M1 - Headlight Cover | |
| 68072-10DEC | 2010 |
| 68072-10DDZ | 2010 |
| 614A1 - Headlight Bezel | |
| 67001-08 | 2008 |
| 614C1 - Trim | |
| 54053-10 | 2010 |
| 43475-08 | 2008 |
| 62786-96 | 1996 |
| 54093-10 | 2010 |
| 53735-06 | 2006 |
| 53734-06 | 2006 |
| 54094-10 | 2010 |
| 624A1 - Oil Pump Assembly | |
| 26037-06 | 2006 |
| 624B1 - Oil Pump Assembly sub-component | |
| 26210-99 | 1999 |
| 26278-06 | 2006 |
| 26282-06 | 2006 |
| 26281-06 | 2006 |
| 26400-82B | 1982 |
| 627A1 - Oil Cooler | |
| 63068-09 | 2009 |
| 63102-10 | 2010 |
| 627B1 - Oil Drain Plug | |
| 45893-99 | 1999 |
| 60328-98B | 1998 |
| 627C1 - Oil Drain Plug Gasket | |
| 63066-07 | 2007 |
| 63084-07 | 2007 |
| 627E1 - Oil Filler Plug / Dipstick | |
| 62693-07A | 2007 |
| 37065-06 | 2006 |
| 627E2 - Sight Glass | |
| 42854-06 | 2006 |
| 42145-06 | 2006 |
| 627F1 - Oil Filter | |
| 63798-99A | 1999 |
| 627H1 - Oil Line | |
| 62641-09 | 2009 |
| 62629-09 | 2009 |
| 62372-09 | 2009 |
| 627K1 - Oil Line Fitting | |
| 63533-41A | 1941 |
| 627M1 - Oil Pressure Regulator Valve | |
| 62228-08A | 2008 |
| 628A1 - PT Lubrication and Cooling Miscellaneous Component | |
| 63059-09 | 2009 |
| 63076-09 | 2009 |
| 628B1 - PT Lubrication and Cooling Mounting Bracket | |
| 62108-09 | 2009 |
| 648K1 - Exhaust Miscellaneous Component | |
| 70991-07 | 2007 |
| 66855-10A | 2011 |
| 649A1 - Muffler | |
| 65748-09 | 2009 |
| 65949-09 | 2009 |
| 64768-09 | 2009 |
| 65863-09 | 2009 |
| 64769-09 | 2009 |
| 650B1 - Active Exhaust Valve sub-components | |
| 66767-07 | 2007 |
| 651A1 - Muffler End-Cap / Outlet Finisher | |
| 66079-06 | 2006 |
| 56162-09 | 2009 |
| 654A1 - Exhaust Shield | |
| 65743-05 | 2005 |
| 65636-09 | 2009 |
| 66220-06 | 2006 |
| 65951-09 | 2009 |
| 65742-05 | 2005 |
| 66219-06 | 2006 |
| 65634-09 | 2009 |
| 65952-09 | 2009 |
| 655A1 - Muffler Mount | |
| 65723-85 | 1985 |
| 65724-85 | 1985 |
| 655C1 - Exhaust Mounting Bracket | |
| 65678-09 | 2009 |
| 66881-09 | 2009 |
| 656E1 - Header Pipe | |
| 66849-10 | 2010 |
| 66858-09 | 2009 |
| 659A1 - Exhaust Clamp | |
| 65296-95A | 1995 |
| 66859-09 | 2009 |
| 659B1 - Exhaust Flange | |
| 65184-02 | 2002 |
| 659C1 - Exhaust Gasket | |
| 66813-09 | 2009 |
| 660A1 - Battery | |
| 66010-97C | 1997 |
| 660C1 - Battery Pan | |
| 66281-09B | 2009 |
| 660D1 - Battery Strap | |
| 66051-08 | 2008 |
| 660E1 - Ground Strap | |
| 75322-09 | 2009 |
| 660F1 - Negative Battery Cable | |
| 70267-09 | 2009 |
| 70377-09 | 2009 |
| 670A1 - Tachometer | |
| 74740-10 | 2010 |
| 67356-00 | 2000 |
| 67522-09 | 2009 |
| 677A1 - Headlight | |
| 69331-02 | 2002 |
| 67778-60A | 1960 |
| 67782-60A | 1960 |
| 67732-08 | 2008 |
| 68096-04 | 2004 |
| 69330-02 | 2002 |
| 67700032 | 2011 |
| 73271-11 | 2011 |
| 69325-02 | 2002 |
| 67864-04A | 2005 |
| 67728-02A | 2002 |
| 67716-60B | 1960 |
| 68725-62A | 1962 |
| 67780-60A | 1960 |
| 67712-83A | 1983 |
| 67726-08 | 2008 |
| 677B1 - Headlight sub-component | |
| 68380-05 | 2005 |
| 67717-01 | 2001 |
| 67880-94 | 1994 |
| 678A1 - Taillight | |
| 68558-03 | 2003 |
| 68066-99A | 2004 |
| 69187-03A | 2003 |
| 68369-03 | 2003 |
| 68142-04 | 2004 |
| 68830-99A | 1999 |
| 68296-99A | 2004 |
| 68140-04 | 2004 |
| 68370-03A | 2003 |
| 678D1 - Turnsignal | |
| 73326-10 | 2010 |
| 73329-10 | 2010 |
| 68550-09 | 2009 |
| 73335-10 | 2010 |
| 68997-09 | 2009 |
| 69326-10 | 2010 |
| 69322-10 | 2010 |
| 69824-09 | 2009 |
| 69567-06 | 2006 |
| 68821-00 | 2000 |
| 678E1 - Turnsignal Lens | |
| 68973-00 | 2000 |
| 69378-09 | 2009 |
| 679B1 - Reflector | |
| 68345-05 | 2005 |
| 59371-98 | 1998 |
| 59359-06 | 2006 |
| 59259-90 | 1990 |
| 59482-00 | 2000 |
| 59481-00 | 2000 |
| 73222-09 | 2009 |
| 68344-05 | 2005 |
| 59370-98 | 1998 |
| 73223-09 | 2009 |
| 60188-08 | 2008 |
| 679D1 - License Plate Bracket | |
| 59166-80 | 1980 |
| 69380-09BHP | 2009 |
| 60909-09 | 2009 |
| 680A1 - Decorative Light | |
| 53789-06 | 2006 |
| 54137-10 | 2010 |
| 53788-06 | 2006 |
| 54135-10 | 2010 |
| 54136-10 | 2010 |
| 54194-10 | 2010 |
| 54195-10 | 2010 |
| 54176-10 | 2010 |
| 68414-05 | 2005 |
| 680C1 - Incandescent Bulb | |
| 68881-01 | 2001 |
| 68453-05 | 2005 |
| 53436-97 | 1997 |
| 68847-09 | 2009 |
| 68163-84 | 1984 |
| 68329-03 | 2003 |
| 68167-04 | 2004 |
| 690A1 - Emergency Siren | |
| 68958-07C | 2010 |
| 690B1 - Emergency Siren sub-component | |
| 69309-10 | 2010 |
| 690D1 - Horn Bracket | |
| 16316-08 | 2008 |
| 69274-10 | 2010 |
| 692C1 - Electrical Miscellaneous Component | |
| 72547-08 | 2008 |
| 91823-10 | 2010 |
| 91561-01A | 2002 |
| 91808-89 | 1989 |
| 72232-96 | 1996 |
| 53597-07 | 2007 |
| 74115-06 | 2006 |
| 79165-07 | 2007 |
| 73327-10 | 2010 |
| 73328-10 | 2010 |
| 69485-10 | 2010 |
| 70348-09 | 2009 |
| 70981-09 | 2009 |
| 72915-10GN | 2010 |
| 73325-10 | 2010 |
| 90469-94 | 1994 |
| 72916-10GN | 2010 |
| 73333-10 | 2010 |
| 68789-96A | 1996 |
| 70344-09 | 2009 |
| 68382-07A | 2010 |
| 69481-10 | 2010 |
| 91812-89A | 1989 |
| 72189-04 | 2004 |
| 70980-09 | 2009 |
| 73306-07 | 2007 |
| 68124-04A | 2004 |
| 73340-10 | 2010 |
| 68837-04A | 2004 |
| 68836-04A | 2004 |
| 11904 | Unknown |
| 692C2 - Electrical Mounting Bracket | |
| 66200-09 | 2009 |
| 70493-08 | 2008 |
| 69123-92A | 1992 |
| 71019-07 | 2007 |
| 69120-91 | 1991 |
| 67689-04 | 2004 |
| 69060-90F | 2010 |
| 76265-98 | 1998 |
| 67352-96A | 1996 |
| 69050-08 | 2008 |
| 69062-91A | 1991 |
| 692D1 - Fuse | |
| 72314-01 | 2001 |
| 54305-98 | 1998 |
| 72330-95 | 1995 |
| 72331-95 | 1995 |
| 72539-06 | 2006 |
| 692E1 - Fuse / Relay Block | |
| 31595-09 | 2009 |
| 31586-07 | 2007 |
| 72204-04 | 2004 |
| 72635-10A | 2010 |
| 72635-10 | 2010 |
| 692E2 - Fuse / Relay Block Cover | |
| 72620-08 | 2008 |
| 692F1 - Wire Harness | |
| 70174-06 | 2006 |
| 70142-94 | 1994 |
| 70465-86A | 1986 |
| 73272-11 | 2011 |
| 68359-05 | 2005 |
| 70308-07 | 2007 |
| 76319-08 | 2008 |
| 54332-04B | 2009 |
| 72625-10 | 2010 |
| 76248-86 | 1986 |
| 72636-10 | 2010 |
| 70973-10A | 2010 |
| 70232-10 | 2010 |
| 70290-07 | 2007 |
| 72152-94 | 1994 |
| 76294-09 | 2009 |
| 70973-10 | 2010 |
| 72645-10 | 2010 |
| 68772-09 | 2009 |
| 70369-08 | 2008 |
| 77121-08 | 2008 |
| 70172-06 | 2006 |
| 692G1 - Conduit / Sheathing / Sleeving | |
| 54354-94A | 1994 |
| 72249-94 | 1994 |
| 70522-06A | 2009 |
| 72266-94 | 1994 |
| 692G2 - Wire Guide | |
| 66761-09A | 2009 |
| 72298-95 | 1995 |
| 692H1 - Connector | |
| 73152-96BK | 1996 |
| 74149-98 | 1998 |
| 75044-96 | 1996 |
| 72612-06BK | 2006 |
| 72519-09BK | 2009 |
| 72114-94BK | 1994 |
| 72206-94 | 1994 |
| 74104-98BK | 1998 |
| 72159-94 | 1994 |
| 72116-94BK | 1994 |
| 72144-94 | 1994 |
| 72138-94GY | 1994 |
| 72384-06BK | 2006 |
| 72063-06 | 2006 |
| 72100-04 | 2004 |
| 72157-08 | 2008 |
| 72161-06 | 2006 |
| 74142-98 | 1998 |
| 72111-06 | 2006 |
| 72179-94 | 1994 |
| 72124-94GY | 1994 |
| 72416-01 | 2001 |
| 76266-98 | 1998 |
| 9848 | Unknown |
| 9847 | Unknown |
| 74146-98 | 1998 |
| 72444-07GY | 2007 |
| 72113-94BK | 1994 |
| 72102-94BK | 1994 |
| 72260-04 | 2004 |
| 72009-05 | 2005 |
| 72156-94 | 1994 |
| 72139-94GY | 1994 |
| 72007-05 | 2005 |
| 72172-94 | 1994 |
| 76258-86 | 1986 |
| 72155-08 | 2008 |
| 72131-04 | 2004 |
| 72602-06BK | 2006 |
| 72205-94 | 1994 |
| 73301-04 | 2004 |
| 73198-96 | 1996 |
| 72518-01 | 2001 |
| 72533-06 | 2006 |
| 72130-04 | 2004 |
| 72199-94 | 1994 |
| 72153-94 | 1994 |
| 73212-07 | 2007 |
| 692H2 - Terminal | |
| 72343-10 | 2010 |
| 72286-04 | 2004 |
| 72364-06 | 2006 |
| 72272-07 | 2007 |
| 72356-95 | 1995 |
| 72549-07 | 2007 |
| 72400-99 | 1999 |
| 72289-04 | 2004 |
| 72605-08 | 2008 |
| 72608-08 | 2008 |
| 72413-07 | 2007 |
| 72213-94 | 1994 |
| 9898 | Unknown |
| 72484-08 | 2008 |
| 72407-07 | 2007 |
| 72210-94 | 1994 |
| 72115-08 | 2008 |
| 72024-08 | 2008 |
| 72493-07 | 2007 |
| 72309-04 | 2004 |
| 72344-10 | 2010 |
| 72721-07 | 2007 |
| 72290-94 | 1994 |
| 72381-98 | 1998 |
| 72169-07 | 2007 |
| 72242-94 | 1994 |
| 72279-04 | 2004 |
| 72355-97 | 1997 |
| 72208-94 | 1994 |
| 72168-07 | 2007 |
| 72291-94 | 1994 |
| 9839 | 1996 |
| 73307-10 | 2010 |
| 72495-08 | 2008 |
| 9938 | Unknown |
| 9937 | Unknown |
| 72294-94 | 1994 |
| 9864 | 1986 |
| 72094-06 | 2006 |
| 72241-94A | 1994 |
| 72207-94 | 1994 |
| 72991-01 | 2001 |
| 74190-98 | 1998 |
| 72359-05 | 2005 |
| 74194-98 | 1998 |
| 72283-09 | 2009 |
| 692K1 - Connector / Terminal Seal | |
| 72265-04 | 2004 |
| 74156-98 | 1998 |
| 72142-94 | 1994 |
| 72403-99 | 1999 |
| 73303-04 | 2004 |
| 72006-05 | 2005 |
| 74116-98BK | 1998 |
| 74144-98 | 1998 |
| 72912-01BK | 2001 |
| 72173-94 | 1994 |
| 72112-94BK | 1994 |
| 72449-01 | 2001 |
| 72154-94 | 1994 |
| 74197-04 | 2004 |
| 68905-00 | 2000 |
| 72652-06 | 2006 |
| 68653-05 | 2005 |
| 72642-06 | 2006 |
| 72104-94BK | 1994 |
| 72450-01 | 2001 |
| 692L1 - Wire Harness sub-component | |
| 74191-98 | 1998 |
| 73162-96BK | 1996 |
| 72606-08 | 2008 |
| 73213-07 | 2007 |
| 74106-98BK | 1998 |
| 72487-07BK | 2007 |
| 72282-09 | 2009 |
| 72512-07BK | 2007 |
| 72488-07BK | 2007 |
| 75229-08 | 2008 |
| 74152-98 | 1998 |
| 72195-94 | 1994 |
| 72415-07GY | 2007 |
| 72633-02 | 2002 |
| 72402-07 | 2007 |
| 72175-07BK | 2007 |
| 72902-01BK | 2001 |
| 72473-07 | 2007 |
| 72214-94 | 1994 |
| 72491-07GY | 2007 |
| 73190-96 | 1996 |
| 72511-07BK | 2007 |
| 72200-94A | 1994 |
| 72177-07BK | 2007 |
| 10102 | Unknown |
| 73103-96BK | 1996 |
| 73156-96BK | 1996 |
| 70598-99 | 1999 |
| 72479-07BK | 2007 |
| 73112-96BK | 1996 |
| 72557-07 | 2007 |
| 74109-98BK | 1998 |
| 72486-08 | 2008 |
| 72408-07 | 2007 |
| 74195-98 | 1998 |
| 72251-07 | 2007 |
| 72397-98 | 1998 |
| 74102-98BK | 1998 |
| 72167-07BK | 2007 |
| 72166-07BK | 2007 |
| 73153-96BK | 1996 |
| 72556-08 | 2008 |
| 72492-07GY | 2007 |
| 73158-96BK | 1996 |
| 72478-07BK | 2007 |
| 72720-07 | 2007 |
| 72143-94 | 1994 |
| 70494-08 | 2008 |
| 72203-96 | 1996 |
| 70681-09 | 2009 |
| 72011-05 | 2005 |
| 72106-94BK | 1994 |
| 73110-96BK | 1996 |
| 73160-96BK | 1996 |
| 72405-98BK | 1998 |
| 72103-94BK | 1994 |
| 72066-06A | 2006 |
| 72500-07ABK | 2007 |
| 73191-96 | 1996 |
| 72146-94 | 1994 |
| 72489-07GY | 2007 |
| 74159-98 | 1998 |
| 72190-94 | 1994 |
| 72096-06 | 2006 |
| 72609-08 | 2008 |
| 10138 | Unknown |
| 72188-07BK | 2007 |
| 72483-08BK | 2008 |
| 72543-07BK | 2007 |
| 74119-98BK | 1998 |
| 73104-96BK | 1996 |
| 73196-96 | 1996 |
| 73305-04 | 2004 |
| 72607-08 | 2008 |
| 69318-02 | 2002 |
| 72544-07 | 2007 |
| 74154-98 | 1998 |
| 73102-96BK | 1996 |
| 72079-08 | 2008 |
| 72014-07 | 2007 |
| 72485-07 | 2007 |
| 72056-92 | 1992 |
| 72295-94 | 1994 |
| 70578-89 | 1989 |
| 72191-94 | 1994 |
| 70631-08 | 2008 |
| 72406-07A | 2007 |
| 72490-07GY | 2007 |
| 72494-07 | 2007 |
| 74112-98BK | 1998 |
| 74114-98BK | 1998 |
| 72440-08 | 2008 |
| 72158-94 | 1994 |
| 72012-07 | 2007 |
| 73154-96BK | 1996 |
| 72414-07BK | 2007 |
| 73108-96BK | 1996 |
| 72135-06 | 2006 |
| 72610-08 | 2008 |
| 72382-98BK | 1998 |
| 709A1 - Dash Panel | |
| 70731-10 | 2010 |
| 70733-10 | 2010 |
| 70732-10 | 2010 |
| 709B1 - Instrument Cluster or Speedometer | |
| 67581-09 | 2009 |
| 67516-09 | 2009 |
| 74709-09 | 2009 |
| 67454-04 | 2004 |
| 67519-09 | 2009 |
| 709B2 - Fuel Gauge | |
| 74707-09 | 2009 |
| 74708-09 | 2009 |
| 74715-09 | 2009 |
| 709E1 - Tank Console | |
| 61270-08 | 2008 |
| 74733-10 | 2010 |
| 714A1 - Ignition Switch | |
| 71572-06 | 2006 |
| 76610-10 | 2010 |
| 76614-10 | 2010 |
| 71530-03B | 2007 |
| 76608-10 | 2010 |
| 12202 | 2010 |
| 76611-10 | 2010 |
| 71422-03 | 2003 |
| 714B1 - Mechanical Switch | |
| 33926-06B | 2006 |
| 714C1 - Pressure Switch | |
| 71764-07 | 2007 |
| 71814-98 | 1998 |
| 71772-07 | 2007 |
| 74438-99A | 2010 |
| 71765-07 | 2007 |
| 715A1 - Hand Control | |
| 71684-06A | 2006 |
| 71788-08 | 2008 |
| 71787-08 | 2008 |
| 71825-96A | 1996 |
| 67854-98 | 1998 |
| 70375-96 | 1996 |
| 71614-96 | 1996 |
| 76129-98 | 1998 |
| 70373-96 | 1996 |
| 71615-96 | 1996 |
| 71587-04 | 2004 |
| 71834-98 | 1998 |
| 71638-03 | 2003 |
| 71532-03 | 2003 |
| 56866-06A | 2006 |
| 71824-98 | 1998 |
| 71642-08 | 2008 |
| 71595-08 | 2008 |
| 71823-98 | 1998 |
| 71612-96 | 1996 |
| 71434-96A | 1996 |
| 71822-98 | 1998 |
| 71683-06A | 2006 |
| 71564-96 | 1996 |
| 71661-03 | 2003 |
| 67493-08 | 2008 |
| 71685-06A | 2006 |
| 71820-98 | 1998 |
| 71682-06A | 2006 |
| 71535-96 | 1996 |
| 71699-07 | 2007 |
| 71567-96 | 1996 |
| 71621-08 | 2008 |
| 71735-08 | 2008 |
| 747A1 - Voltage Regulator | |
| 74743-10 | 2010 |
| 74622-09 | 2009 |
| 74505-09 | 2009 |
| 760A1 - GPS Unit | |
| 76167-06A | 2006 |
| 92492-10 | 2010 |
| 760B1 - Antenna | |
| 76503-08 | 2008 |
| 68956-07 | 2007 |
| 76337-06A | 2006 |
| 76455-06 | 2006 |
| 76338-06A | 2006 |
| 76456-06 | 2006 |
| 76250-09 | 2009 |
| 760C1 - Audio System Amplifier | |
| 76192-06B | 2011 |
| 760C2 - Audio System Speaker | |
| 76301-08A | 2008 |
| 76307-98 | 1998 |
| 76284-08A | 2008 |
| 77047-98 | 1998 |
| 77029-06 | 2006 |
| 760C3 - Radio Receiver | |
| 76576-10 | 2010 |
| 76160-06 | 2006 |
| 91560-01 | 2001 |
| 76575-10 | 2010 |
| 76165-06A | 2006 |
| 760C4 - Rider-Passenger Communication System | |
| 77117-10 | 2010 |
| 77153-08 | 2008 |
| 77148-10 | 2010 |
| 76529-10 | 2010 |
| 77126-10 | 2010 |
| 760D1 - Infotainment Mount | |
| 77188-08 | 2008 |
| 92466-10 | 2010 |
| 92346-10 | 2010 |
| 76540-09 | 2009 |
| 77177-08 | 2008 |
| 760D2 - Infotainment Mount sub-component | |
| 77092-98 | 1998 |
| 76416-06C | 2006 |
| 76524-08 | 2008 |
| 76472-06A | 2006 |
| 79113-07 | 2007 |
| 76403-06 | 2006 |
| 902A1 - Saddlebag | |
| 91171-07 | 2007 |
| 88235-07 | 2007 |
| 90115-04 | 2004 |
| 92351-10DEE | 2010 |
| 92351-10DEB | 2010 |
| 91190-07 | 2007 |
| 92351-10DDW | 2010 |
| 92351-10DDY | 2010 |
| 92350-10DDW | 2010 |
| 92350-10DDY | 2010 |
| 92350-10DEB | 2010 |
| 92350-10DEE | 2010 |
| 88236-07 | 2007 |
| 902B1 - Saddlebag Cover | |
| 90635-10DDZ | 2010 |
| 90635-10DEC | 2010 |
| 90636-10DEC | 2010 |
| 90636-10DEF | 2010 |
| 90635-10DEF | 2010 |
| 90636-10DDZ | 2010 |
| 91586-07 | 2007 |
| 90636-10BZN | 2010 |
| 90756-93 | 1993 |
| 90635-10BZN | 2010 |
| 90664-93 | 1993 |
| 92281-10 | 2010 |
| 92260-10 | 2010 |
| 90680-09A | 2009 |
| 90674-09A | 2009 |
| 90757-93 | 1993 |
| 90958-93 | 1993 |
| 902E1 - Saddlebag Bottom | |
| 92142-10 | 2010 |
| 91639-10DDZ | 2010 |
| 91639-10DEC | 2010 |
| 90962-93 | 1993 |
| 91587-07 | 2007 |
| 79158-07 | 2007 |
| 79145-07 | 2007 |
| 53482-93 | 1993 |
| 47449-09 | 2009 |
| 53567-93 | 1993 |
| 49194-09A | 2010 |
| 79164-07 | 2007 |
| 90965-63 | 1963 |
| 53986-07 | 2007 |
| 90700-93 | 1993 |
| 66069-10 | 2010 |
| 88275-10DDY | 2010 |
| 91639-10BZN | 2010 |
| 88275-10DDW | 2010 |
| 88275-10DEB | 2010 |
| 90764-93 | 1993 |
| 88275-10DEE | 2010 |
| 53483-93 | 1993 |
| 79157-07 | 2007 |
| 75089-08 | 2008 |
| 54333-04A | 2009 |
| 88277-10DEE | 2010 |
| 88277-10DEB | 2010 |
| 88277-10DDY | 2010 |
| 88277-10DDW | 2010 |
| 902F1 - Saddlebag Guard | |
| 49176-09 | 2009 |
| 902G1 - Saddlebag Filler Strip | |
| 91639-10DEF | 2010 |
| 91638-10BZN | 2010 |
| 91638-10DEF | 2010 |
| 91638-10DEC | 2010 |
| 91638-10DDZ | 2010 |
| 903A1 - Lockset | |
| 76613-10 | 2010 |
| 79163-07 | 2007 |
| 76607-10 | 2010 |
| 53575-08 | 2008 |
| 54034-09 | 2009 |
| 79169-08 | 2008 |
| 54033-09 | 2009 |
| 79156-07 | 2007 |
| 903B1 - Key or Key-set | |
| 71452-91A | 1991 |
| 61081-92 | 1992 |
| 71031-04 | 2004 |
| 903C1 - Key Transponder | |
| 68926-07 | 2007 |
| 76537-08 | 2008 |
| 68939-00 | 2000 |
| 915A1 - Recall Kit | |
| 62564-09 | 2010 |
| 931A1 - Protective / Storage Cover | |
| 91636-09 | 2009 |
| 940A1 - Owner's Kit | |
| 53314-06 | 2006 |
| 940A2 - Owner's Manual | |
| 99461-89 | 1989 |
| Part No. | Description | Part and Model(s) |
|---|---|---|
| 67880-94 | BOOT | INSTRUMENTS: |
| Part No. | Description | Part and Model(s) |
|---|---|---|
| 90764-93 | CUSHION | SADDLEBAGS (2 OF 2): |
| 90962-93 | WEARPLATE | SADDLEBAGS (2 OF 2): |
| Part No. | Description | Part and Model(s) |
|---|---|---|
| 10102 | CLIP | TOUR-PAK (COVER): TOUR-PAK (BOTTOM) (1 OF 2): SADDLEBAGS (1 OF 2): |
| 1062 | SCREW | PRIMARY HOUSING: |
| 11105 | O-RING | TRANSMISSION HOUSING, TOP COVER & OIL PAN: PRIMARY HOUSING: |
| 11132A | O-RING | ROCKER ARM ASSEMBLY & PUSH RODS - TWIN CAM 110™: TRANSMISSION BEARINGS & COVERS: |
| 11143 | RING | CLUTCH: CLUTCH CONTROL - FLHTCUSE5 (1 OF 2): |
| 11145A | O-RING | ROCKER ARM ASSEMBLY & PUSH RODS - TWIN CAM 110™: |
| 11150 | RING | GEAR SHIFTER - FLHTCUSE5: GEAR SHIFTER - FLHTCUSE5-BLK: |
| 11270 | O-RING | ROCKER ARM ASSEMBLY & PUSH RODS - TWIN CAM 110™: |
| 11293 | O-RING | ROCKER ARM ASSEMBLY & PUSH RODS - TWIN CAM 110™: CAMSHAFTS & CAM COVER - TWIN CAM 110™: |
| 11301 | O-RING | CAMSHAFTS & CAM COVER - TWIN CAM 110™: |
| 12052A | SEAL | PRIMARY HOUSING: |
| 12074 | SEAL | TRANSMISSION BEARINGS & COVERS: |
| 16585-96 | INSERT | WINDSHIELD, FAIRING & HEADLAMP (1 OF 2): |
| 16715-83 | STUD | CYLINDERS, HEADS & VALVES - TWIN CAM 110™: |
| 16719-99B | GASKET | ROCKER ARM ASSEMBLY & PUSH RODS - TWIN CAM 110™: |
| 17045-99D | GASKET KIT | ROCKER ARM ASSEMBLY & PUSH RODS - TWIN CAM 110™: CAMSHAFTS & CAM COVER - TWIN CAM 110™: |
| 17369-06 | GASKET SERVICE KIT (1K, 5K, 10K) | PRIMARY HOUSING: |
| 17386-99A | GASKET | ROCKER ARM ASSEMBLY & PUSH RODS - TWIN CAM 110™: |
| 18635-99B | GASKET | ROCKER ARM ASSEMBLY & PUSH RODS - TWIN CAM 110™: |
| 2445 | SCREW | INNER FAIRING (1 OF 2): |
| 2446 | SCREW | WINDSHIELD, FAIRING & HEADLAMP (1 OF 2): INNER FAIRING (1 OF 2): |
| 25244-99A | GASKET | CAMSHAFTS & CAM COVER - TWIN CAM 110™: |
| 2563 | SCREW | INNER FAIRING (1 OF 2): SOUND SYSTEM (1 OF 2): |
| 25700226 | GASKET KIT | PRIMARY HOUSING: |
| 26995-86B | SEAL | FUEL INDUCTION MODULE: |
| 27444-00Y | O-RING | STARTER MOTOR: |
| 2952A | SCREW | SEAT & BACKREST: REAR FENDER: |
| 2995 | SCREW | FAIRING LOWERS: |
| 3050 | SCREW | ALTERNATOR & REGULATOR: |
| 3275 | SCREW | FUEL INDUCTION MODULE: GEAR SHIFTER - FLHTCUSE5: SADDLEBAG GUARDS: |
| 3368 | SCREW | BELTS, CHAINS & SPROCKETS: |
| 34091-08 | BEARING | TRANSMISSION GEARS: |
| 34901-07 | GASKET | PRIMARY HOUSING: |
| 34917-06 | GASKET | TRANSMISSION HOUSING, TOP COVER & OIL PAN: |
| 35654-06 | GASKET | TRANSMISSION BEARINGS & COVERS: |
| 3592A | SCREW | SADDLEBAGS (1 OF 2): |
| 3595 | SCREW | TOUR-PAK (COVER): TOUR-PAK (BOTTOM) (1 OF 2): SADDLEBAGS (1 OF 2): |
| 3597 | SCREW | TOUR-PAK (BOTTOM) (1 OF 2): |
| 3655A | SCREW | FRONT WHEEL: FAIRING LOWERS: |
| 3658 | SCREW | HANDLEBAR SWITCHES: |
| 36805-06 | GASKET | TRANSMISSION BEARINGS & COVERS: |
| 4132 | SCREW | CLUTCH CONTROL - FLHTCUSE5-BLK: FRONT BRAKE CONTROL: |
| 41751-06A | GASKET | CLUTCH CONTROL - FLHTCUSE5 (1 OF 2): CLUTCH CONTROL - FLHTCUSE5 (2 OF 2): CLUTCH CONTROL - FLHTCUSE5-BLK: FRONT BRAKE CONTROL: REAR BRAKE CONTROL: FRONT BRAKE LINES - ABS: REAR BRAKE LINES & MODULE - ABS: |
| 43567-92 | SCREW | REAR WHEEL: |
| 45279-00 | WASHER | FRONT FENDER: |
| 45733-48 | OIL SEAL | FRONT FORK - TUBE ASSEMBLIES & SLIDERS: |
| 45858-77 | SCREW | FRONT FORK - TUBE ASSEMBLIES & SLIDERS: |
| 4740A | SCREW | CAMSHAFTS & CAM COVER - TWIN CAM 110™: CAMSHAFTS & CAM COVER - TWIN CAM 110™: |
| 48300-60 | BEARING KIT | FRONT FORK - BRACKETS: |
| 5210 | WELL NUT | SOUND SYSTEM (1 OF 2): |
| 59768-97 | NUT KIT | SEAT & BACKREST: REAR FENDER: |
| 60678-85 | RETAINING RING | PRIMARY HOUSING: |
| 6229W | WASHER | SADDLEBAGS (1 OF 2): |
| 65324-83B | GASKET | EXHAUST SYSTEM: |
| 65325-83A | RETAINING RING | EXHAUST SYSTEM: |
| 6702 | WASHER | FRONT FORK - TUBE ASSEMBLIES & SLIDERS: SADDLEBAG GUARDS: |
| 7041 | LOCKWASHER | FRONT FORK - TUBE ASSEMBLIES & SLIDERS: FRAME & JIFFY STAND (1 OF 2): PASSING LAMPS & FRONT TURN SIGNALS: EXHAUST SYSTEM: |
| 70909-95 | RECEPTACLE | SADDLEBAG GUARDS: |
| 7586 | JAM NUT | TOUR-PAK (COVER): |
| 7593 | NUT | EXHAUST SYSTEM: |
| 7716 | LOCKNUT | CRANKCASE & ENGINE - OIL FILTER & COOLER - TWIN CAM 110™: ALTERNATOR & REGULATOR: SEAT & BACKREST: FOOTBOARDS: FAIRING LOWERS: TOUR-PAK (BOTTOM) (1 OF 2): |
| 786A | BOLT | PRIMARY HOUSING: |
| 856A | SCREW | GEAR SHIFTER - FLHTCUSE5: GEAR SHIFTER - FLHTCUSE5-BLK: |
| 9252 | BALL BEARING | FRONT WHEEL: REAR WHEEL: |
| 9955 | CLAMP | EXHAUST SYSTEM: |
| Part No. | Description | Part and Model(s) |
|---|---|---|
| 41854-08 | PAD & PIN KIT | FRONT BRAKE CALIPER: |
| Part No. | Description | Part and Model(s) |
|---|---|---|
| 49725-07A | SPRING | FRAME & JIFFY STAND (1 OF 2): |
| 50245-07 | BUMPER | FRAME & JIFFY STAND (1 OF 2): |
| 58938-96C | SUPPORT | INNER FAIRING (1 OF 2): |
| 58939-96C | SUPPORT | INNER FAIRING (1 OF 2): |
| 59166-80 | PLATE | FRONT FENDER: |
| Part No. | Description | Part and Model(s) |
|---|---|---|
| 61274-92 | FUEL FILLER CAP | FUEL TANK CONSOLE: |
| Part No. | Description | Part and Model(s) |
|---|---|---|
| 71621-08 | SWITCH KIT | HANDLEBAR SWITCHES: |
| 72330-95 | FUSE | MAIN WIRING HARNESS - ABS BRAKES (3 OF 5): |
| 91808-89 | ELEMENT | INNER FAIRING (1 OF 2): |
| Part No. | Description | Part and Model(s) |
|---|---|---|
| 17025-03A | BREATHER ASSEMBLY KIT | ROCKER ARM ASSEMBLY & PUSH RODS - TWIN CAM 110™: |
| 33709-82A | SHAFT | GEAR SHIFTER - FLHTCUSE5: GEAR SHIFTER - FLHTCUSE5-BLK: |
| 37909-90 | RING | CLUTCH: |
| 37913-98 | PLATE | CLUTCH: |
| Part No. | Description | Part and Model(s) |
|---|---|---|
| 29633-08 | ELEMENT | AIR CLEANER: |
| 61011-04A | FUEL FILTER KIT | FUEL PUMP: |
| 65296-95A | MUFFLER CLAMP | EXHAUST SYSTEM: |
| 65724-85 | MOUNT | EXHAUST SYSTEM: |
| Part No. | Description | Part and Model(s) |
|---|---|---|
| 68329-03 | BULB | WINDSHIELD, FAIRING & HEADLAMP (2 OF 2): |
| 68973-00 | LENS | PASSING LAMPS & FRONT TURN SIGNALS: REAR TURN SIGNALS & LICENSE PLATE BRACKET: |
| Part No. | Description | Part and Model(s) |
|---|---|---|
| 32362-04 | SPARK PLUG | ELECTRONIC CONTROL MODULE (ECM) & COIL: |
| 63798-99A | FILTER | CRANKCASE & ENGINE - OIL FILTER & COOLER - TWIN CAM 110™: |
| 66010-97C | BATTERY | BATTERY, TRAY & CABLES: |
| 95594-84A | WEIGHT | FRONT WHEEL: REAR WHEEL: |
| 95595-84A | WEIGHT | FRONT WHEEL: REAR WHEEL: |
| Part No. | Description | Part and Model(s) |
|---|---|---|
| 68926-07 | REMOTE CONTROL FOB | SWITCHES & CIRCUIT BREAKERS (1 OF 2): SWITCHES & CIRCUIT BREAKERS (2 OF 2): |
| Part No. | Description | Part and Model(s) |
|---|---|---|
| 43109-09A | TIRE | FRONT WHEEL: |
| 43157-83A | STEM ASSEMBLY | FRONT WHEEL: REAR WHEEL: |