Name | Document 99457-08A | |
Occupation | Dealership | |
Street | Department | |
City | State | Zip |
POSITION | DESCRIPTION | POSSIBLE VALUES |
|---|---|---|
1 | Market designation | 1=Originally manufactured for sale within the United States 5=Originally manufactured for sale outside the United States |
2 | Manufacturer | HD=Harley-Davidson |
3 | Motorcycle type | 1=Heavyweight motorcycle (901 cc and larger) |
4 | Model | HD=VRSCD Night Rod™ HF=VRSCAW V-Rod® HH=VRSCDX Night Rod Special™ HK=VRSCAWA V-Rod® with ABS HL=VRSCDA Night Rod™ with ABS HM=VRSCDXA Night Rod Special™ with ABS |
5 | Engine type | H=Revolution®, 1250 cc liquid-cooled, fuel injected J=Revolution®, 1250 cc liquid-cooled, fuel injected 105 HP HDI only |
6 | Introduction date | 1=Regular 2=Mid-year 3=California/regular 4=Cosmetic changes and/or special introductory date 5=California/cosmetic changes and/or special introductory date 6=California/mid-year |
7 | V.I.N. check digit | Can be 0-9 or X |
8 | Model year | 8=2008 |
9 | Assembly plant | K=Kansas City, MO U.S.A. |
10 | Sequential number | varies |
| Index No. | Part No. | Description | Model(s) |
| 1 | 19556-08K | ENGINE ASSEMBLY (chrome/platinum) | VRSCAW, VRSCAWA |
| 19558-08K | ENGINE ASSEMBLY (black/polished) | VRSCD, VRSCDA | |
| 19569-08K | ENGINE ASSEMBLY (black/gloss black) | VRSCDX, VRSCDXA | |
| 19590-08K | ENGINE ASSEMBLY (black/chrome)(optional) | VRSCD, VRSCDA |
| Index No. | Part No. | Description | Model(s) |
| 1 | 769MA | PLUG, expansion (4) | ALL |
| 2 | 966M | SCREW (2) | ALL |
| 3 | 984M | BOLT (8) | ALL |
| 4 | 1014M | SCREW (16) | ALL |
| 5 | 1017M | SCREW (4) | ALL |
| 6 | 1031M | SCREW (8) | ALL |
| 7 | 1043MA | SCREW | ALL |
| 8 | 6215M | WASHER | ALL |
| 9 | 11391K | O-RING | ALL |
| 10 | 16448-01KA | STUD (4) | ALL |
| 11 | 17125-08K | CYLINDER HEAD ASSEMBLY, front (black) | VRSCD, VRSCDA, VRSCDX, VRSCDXA |
| 17126-08K | CYLINDER HEAD ASSEMBLY, rear - not shown (black) | VRSCD, VRSCDA, VRSCDX, VRSCDXA | |
| 17122-08K | CYLINDER HEAD ASSEMBLY, front (silver) | VRSCAW, VRSCAWA | |
| 17123-08K | CYLINDER HEAD ASSEMBLY, rear - not shown (silver) | VRSCAW, VRSCAWA | |
| 12 | 17431-05K | CAMSHAFT ASSEMBLY, intake (2) | ALL |
| 13 | 17421-08K | CAMSHAFT ASSEMBLY, exhaust (2) | ALL |
| 14 | 17423-01K | SPROCKET, camshaft (4) | ALL |
| 17617-01K | OIL JET, front cylinder only (not illustrated) | ALL | |
| 15 | 17691-08K | GASKET, cylinder head - front | ALL |
| 17692-08K | GASKET, cylinder head - rear - not shown | ALL | |
| 16 | 18052-01K | VALVE SPRING, inner valve (8) | ALL |
| 17 | 18055-01K | VALVE SPRING, outer valve (8) | ALL |
| 18 | 18057-01K | COLLET, valve (8) | ALL |
| 19 | 18181-01K | TAPPET (8) | ALL |
| 20 | 18661-01K | COLLAR, valve spring - lower (8) | ALL |
| 21 | 18662-01K | COLLAR, valve spring - upper (8) | ALL |
| 22 | 18663-01K | EXHAUST VALVE (4) | ALL |
| 23 | 18688-06K | INTAKE VALVE (4) | ALL |
| 24 | 18665-01K | VALVE GUIDE (8) | ALL |
| 25 | 18687-01K | SEAL, valve (8) | ALL |
| 27043-02KA | CYLINDER HEAD KIT, front | ALL | |
| 26 | 29601-05K | TUBE ASSEMBLY, front breather, w/ 11391K | ALL |
| Index No. | Part No. | Description | Model(s) |
| 27 | 18696-01K | SHIM, 1.825 mm | ALL |
| 18697-01K | SHIM, 1.850 mm | ALL | |
| 18698-01K | SHIM, 1.875 mm | ALL | |
| 18699-01K | SHIM, 1.900 mm | ALL | |
| 18700-01K | SHIM, 1.925 mm | ALL | |
| 18701-01K | SHIM, 1.950 mm | ALL | |
| 18702-01K | SHIM, 1.975 mm | ALL | |
| 18666-01K | SHIM, 2.000 mm | ALL | |
| 18624-01K | SHIM, 2.025 mm | ALL | |
| 18667-01K | SHIM, 2.050 mm | ALL | |
| 18625-01K | SHIM, 2.075 mm | ALL | |
| 18668-01K | SHIM, 2.100 mm | ALL | |
| 18626-01K | SHIM, 2.125 mm | ALL | |
| 18669-01K | SHIM, 2.150 mm | ALL | |
| 18627-01K | SHIM, 2.175 mm | ALL | |
| 18670-01K | SHIM, 2.200 mm | ALL | |
| 18628-01K | SHIM, 2.225 mm | ALL | |
| 18671-01K | SHIM, 2.250 mm | ALL | |
| 18629-01K | SHIM, 2.275 mm | ALL | |
| 18672-01K | SHIM, 2.300 mm | ALL | |
| 18630-01K | SHIM, 2.325 mm | ALL | |
| 18673-01K | SHIM, 2.350 mm | ALL | |
| 18631-01K | SHIM, 2.375 mm | ALL | |
| 18674-01K | SHIM, 2.400 mm | ALL | |
| 18632-01K | SHIM, 2.425 mm | ALL | |
| 18675-01K | SHIM, 2.450 mm | ALL | |
| 18638-01K | SHIM, 2.475 mm | ALL | |
| 18676-01K | SHIM, 2.500 mm | ALL | |
| 18639-01K | SHIM, 2.525 mm | ALL | |
| 18677-01K | SHIM, 2.550 mm | ALL | |
| 18655-01K | SHIM, 2.575 mm | ALL | |
| 18678-01K | SHIM, 2.600 mm | ALL | |
| 18656-01K | SHIM, 2.625 mm | ALL | |
| 18679-01K | SHIM, 2.650 mm | ALL | |
| 18657-01K | SHIM, 2.675 mm | ALL | |
| 18680-01K | SHIM, 2.700 mm | ALL | |
| 18658-01K | SHIM, 2.725 mm | ALL | |
| 18681-01K | SHIM, 2.750 mm | ALL | |
| 18659-01K | SHIM, 2.775 mm | ALL | |
| 18682-01K | SHIM, 2.800 mm | ALL | |
| 18692-01K | SHIM, 2.825 mm | ALL | |
| 18683-01K | SHIM, 2.850 mm | ALL | |
| 18693-01K | SHIM, 2.875 mm | ALL | |
| 18684-01K | SHIM, 2.900 mm | ALL | |
| 18694-01K | SHIM, 2.925 mm | ALL | |
| 18685-01K | SHIM, 2.950 mm | ALL | |
| 18695-01K | SHIM, 2.975 mm | ALL | |
| 18686-01K | SHIM, 3.000 mm | ALL | |
| SHIMS 1.825 mm - 3.000 mm LISTED BELOW | |||
| Index No. | Part No. | Description | Model(s) |
| 1 | 409K | PIN (2) | ALL |
| 2 | 485K | PIN | ALL |
| 3 | 966M | SCREW (2) | ALL |
| 4 | 1007M | SCREW | ALL |
| 5 | 17406-01KA | CHAIN, primary cam drive | ALL |
| 6 | 17407-01KA | CHAIN, secondary cam drive (2) | ALL |
| 7 | 17629-01K | TENSIONER ASSEMBLY, primary, w/ guide, shaft, clips, & dowel | ALL |
| 8 | 17632-01K | TENSIONER ASSEMBLY, secondary (2) | ALL |
| 9 | 17637-01K | GUIDE TENSIONER, primary - front | ALL |
| 10 | 17638-01K | GUIDE TENSIONER, secondary - front | ALL |
| 11 | 17639-01K | GUIDE TENSIONER, secondary - rear | ALL |
| 12 | 17640-01K | GUIDE TENSIONER, secondary (2) | ALL |
| 13 | 25800-01K | SPROCKET, triple | ALL |
| 14 | 40095-01K | SHIM, tensioner | ALL |
| Index No. | Part No. | Description | Model(s) |
| 1 | 978M | SCREW (7) | ALL |
| 2 | 1030M | SCREW (2) | ALL |
| 3 | 1023M | SCREW | ALL |
| 4 | 11312K | O-RING (4) | ALL |
| 5 | 11366K | O-RING (2) | ALL |
| 6 | 25911-01K | WASHER | ALL |
| 7 | 26582-01K | SHAFT, intermediate | ALL |
| 8 | 26737-01K | TUBE, thermostat (2) | ALL |
| 9 | 26740-01K | THERMOSTAT ASSEMBLY | VRSCAW, VRSCAWA |
| 26769-04K | THERMOSTAT ASSEMBLY (black) | VRSCD, VRSCDA, VRSCDX, VRSCDXA | |
| 10 | 25295-04K | COVER, water pump (polished) | VRSCD, VRSCDA |
| 26748-01K | COVER, water pump (chrome) (optional HD) | VRSCAW, VRSCAWA, VRSCD, VRSCDA | |
| 26821-07K | COVER, water pump (gloss black) | VRSCDX, VRSCDXA | |
| 11 | 26749-01K | GASKET OUTER, water pump | ALL |
| 12 | 26750-01K | HOUSING, water pump assembly, w/ 11366K (platinum) | VRSCAW, VRSCAWA |
| 26759-04K | HOUSING, water pump assembly, w/ 11366K (black) | VRSCD, VRSCDA, VRSCDX, VRSCDXA | |
| 13 | 26752-01K | GASKET, water pump | ALL |
| 14 | 26765-01K | GASKET, thermostat | ALL |
| 15 | 32315-01 | SENSOR, engine coolant temperature | ALL |
| Index No. | Part No. | Description | Model(s) |
| 1 | 978M | SCREW (6) | ALL |
| 2 | 1004M | SCREW (16) | ALL |
| 3 | 3716M | SCREW (4) | ALL |
| 4 | 11392K | O-RING | ALL |
| 5 | 17010-01K | GASKET KIT, cam cover | ALL |
| 6 | 17416-01KA | CAM COVER GASKET, outer (2) | ALL |
| 7 | 17418-01K | CAM COVER GASKET, inner (2) | ALL |
| 8 | 17641-01K | SECONDARY TOP GUIDE (2) | ALL |
| 9 | 17661-01K | CAM COVER, lower front (chrome) (optional HD) | VRSCAW, VRSCAWA, VRSCD, VRSCDA |
| 17679-04K | CAM COVER, lower front (polished) | VRSCD, VRSCDA | |
| 17699-07K | CAM COVER, lower front (gloss black) | VRSCDX, VRSCDXA | |
| 10 | 17664-01K | CAM COVER, upper (chrome) (2) (optional HD) | VRSCAW, VRSCAWA, VRSCD, VRSCDA |
| 17680-04K | CAM COVER, upper (polished) (2) | VRSCD, VRSCDA | |
| 17705-07K | CAM COVER, upper (gloss black) (2) | VRSCDX, VRSCDXA | |
| 11 | 17666-01K | CAM COVER GASKET, upper (2) | ALL |
| 12 | 17689-04K | COVER ASSEMBLY KIT, lower rear cam, w/ 11392K (polished) | VRSCD, VRSCDA |
| 17690-04K | COVER ASSEMBLY KIT, lower rear cam, w/ 11392K (chrome) (optional HD) | VRSCAW, VRSCAWA, VRSCD, VRSCDA | |
| 17701-07K | CAM COVER, lower rear (gloss black) | VRSCDX, VRSCDXA | |
| 13 | 63654-04K | FITTING ASSEMBLY, breather, w/ 11392K | VRSCAW, VRSCAWA, VRSCD, VRSCDA |
| Index No. | Part No. | Description | Model(s) |
| 1 | 983M | BOLT (6) | ALL |
| 2 | 11314K | O-RING, cylinder liner (4) | ALL |
| 3 | 11329K | KEY (2) | ALL |
| 4 | 22919-05K | PISTON RINGS | ALL |
| 5 | 22953-08K | PISTON PIN (2) | ALL |
| 6 | 22121-01K | RETAINING RING (4) | ALL |
| 7 | 22928-05KA | PISTON/LINER ASSEMBLY, w/ 2, 5, & 6 (2) | ALL |
| 8 | 22934-08K | PISTON ASSEMBLY KIT, w/ pistons, rings, & pins (2) | ALL |
| 9 | 23712-01K | PRIMARY CRANK GEAR | ALL |
| 10 | 23725-01K | CRANK ASSEMBLY, w/ 11329K | ALL |
| 11 | 24307-01K | CONNECTING ROD ASSEMBLY, w/ 24311-01K (2) | ALL |
| 12 | 24311-01K | BOLT, connecting rod (4) | ALL |
| 13 | 24312-01K | BEARING, thrust (2) | ALL |
| 14 | 24409-01K | MAIN BEARING SHELL (red) (2) | ALL |
| 24410-01K | MAIN BEARING SHELL (green) (2) | ALL | |
| 24411-01K | MAIN BEARING SHELL (blue) (2) | ALL | |
| 15 | 24412-01K | ROD BEARING SHELL (red) (2) | ALL |
| 24413-01K | ROD BEARING SHELL (blue) (2) | ALL |
| Index No. | Part No. | Description | Model(s) |
| 1 | 409K | PIN (2) | ALL |
| 2 | 482K | DOWEL (4) | ALL |
| 3 | 485K | PIN | ALL |
| 4 | 486K | PIN | ALL |
| 5 | 487K | PIN (4) | ALL |
| 6 | 488K | DOWEL RING (2) | ALL |
| 7 | 965M | SCREW | ALL |
| 8 | 968M | SCREW (4) | ALL |
| 9 | 970M | SCREW (7) | ALL |
| 10 | 972M | SCREW | ALL |
| 11 | 973M | SCREW (3) | ALL |
| 12 | 1025M | SCREW (4) | ALL |
| 13 | 1034M | PLUG | ALL |
| 14 | 6137K | WASHER | ALL |
| 15 | 6298M | WASHER | ALL |
| 35420-01K | BUSHING (not illustrated) | ALL | |
| 35442-01K | BUSHING (not illustrated) | ALL | |
| 16 | 24465-08K | CRANKCASE SET KIT (platinum) | VRSCAW, VRSCAWA |
| 24467-08K | CRANKCASE SET KIT (black) | VRSCD, VRSCDA, VRSCDX, VRSCDXA |
| Index No. | Part No. | Description | Model(s) |
| 1 | 1033M | BOLT | ALL |
| 2 | 11335K | E-CLIP (3) | ALL |
| 3 | 14794-01K | BEARING, left | ALL |
| 4 | 14795-01K | BEARING, right | ALL |
| 5 | 14791-01K | BALANCE SHAFT | ALL |
| 6 | 14758-01K | GEAR, balance shaft | ALL |
| Index No. | Part No. | Description | Model(s) |
| 1 | 978M | SCREW (3) | ALL |
| 2 | 1010M | SCREW (6) | ALL |
| 3 | 11312K | O-RING | ALL |
| 4 | 11331K | O-RING | ALL |
| 5 | 26534-01K | SPRING, oil pump | ALL |
| 6 | 26022-02K | ROTOR ASSEMBLY INNER/OUTER, oil pump | ALL |
| 7 | 26575-01K | OIL PUMP ASSEMBLY | ALL |
| 8 | 26578-01K | COVER, oil pump | ALL |
| 9 | 26738-01K | VALVE PISTON | ALL |
| 10 | 26739-01K | PLUG, screw | ALL |
| Index No. | Part No. | Description | Model(s) |
| 1 | 3701M | SCREW (6) | ALL |
| 2 | 3703M | SCREW | ALL |
| 3 | 3704M | STUD, dual threaded (2) | ALL |
| 4 | 3966M | SCREW, set | ALL |
| 5 | 3919M | SCREW (1) | VRSCD, VRSCDA |
| 3919M | SCREW (2) | VRSCAW, VRSCAWA, VRSCDX, VRSCDXA | |
| 6 | 3920M | SCREW | ALL |
| 7 | 6839M | WASHER (8) | ALL |
| 8 | 7427M | NUT, locking (4) | ALL |
| 9 | 16298-05 | ENGINE MOUNT, rear (2) | ALL |
| 10 | 16299-01 | BRACKET, engine mount rear | VRSCAW, VRSCAWA, VRSCDX, VRSCDXA |
| 11 | 16300-06 | BRACKET, engine mount rear | VRSCD, VRSCDA |
| 12 | 16306-04 | STABLILIZER LINK | ALL |
| 13 | 16307-05 | ENGINE MOUNT, front | ALL |
| 14 | 16308-01 | BRACKET, front engine mount | ALL |
| 15 | 16311-05 | BRACKET, front mount - frame | ALL |
| 16 | 16312-04 | SPACER | ALL |
| 17 | 94756-01 | WASHER | ALL |
| Index No. | Part No. | Description | Model(s) |
| 1 | 964 | STUD | ALL |
| 2 | 1114M | SCREW (6) | ALL |
| 3 | 10232K | HOSE CLAMP (2) | ALL |
| 4 | 27225-01 | SCREW (3) | ALL |
| 5 | 27408-01 | FUEL PRESSURE REGULATOR | ALL |
| 6 | 27628-01 | IDLE AIR CONTROL MOTOR KIT, w/ o-ring, screw, & motor | ALL |
| 7 | 27657-01 | THROTTLE BODY ASSEMBLY, w/ 6, 11, 12, 13, & 15 | ALL |
| 8 | 27662-01B | FUEL RAIL ASSEMBLY, w/ 5, 9, &14, | ALL |
| 9 | 27665-01A | INJECTOR, w/ o-rings | ALL |
| 10 | 27669-01K | RUBBER BOOT (2) | ALL |
| 11 | 27975-01 | THROTTLE POSITION SENSOR KIT, w/ screws for sensor, plate t.p.s., & throttle position sensor | ALL |
| 12 | 27977-01 | CAM LEVER KIT, w/ bushing, clip, spring cam, shim roller, cam roller assembly, & cam lever | ALL |
| 13 | 27982-01 | LINKAGE ROD KIT, w/ bushing, clip, linkage rod assembly, nut, & rod end | ALL |
| 27990-01 | FUEL TUBE KIT (not illustrated) | ALL | |
| 14 | 27993-01 | CHECK VALVE BODY ASSEMBLY, w/ washers | ALL |
| 15 | 27995-01 | HARDWARE KIT, throttle body, w/ shim, cable bracket, washer shaft purge tube cap, clip, spring, screws, & o-ring | ALL |
| 16 | 28002-01 | FUEL RAIL HARDWARE KIT, w/ o-rings, washer, & pressure regulator plate | ALL |
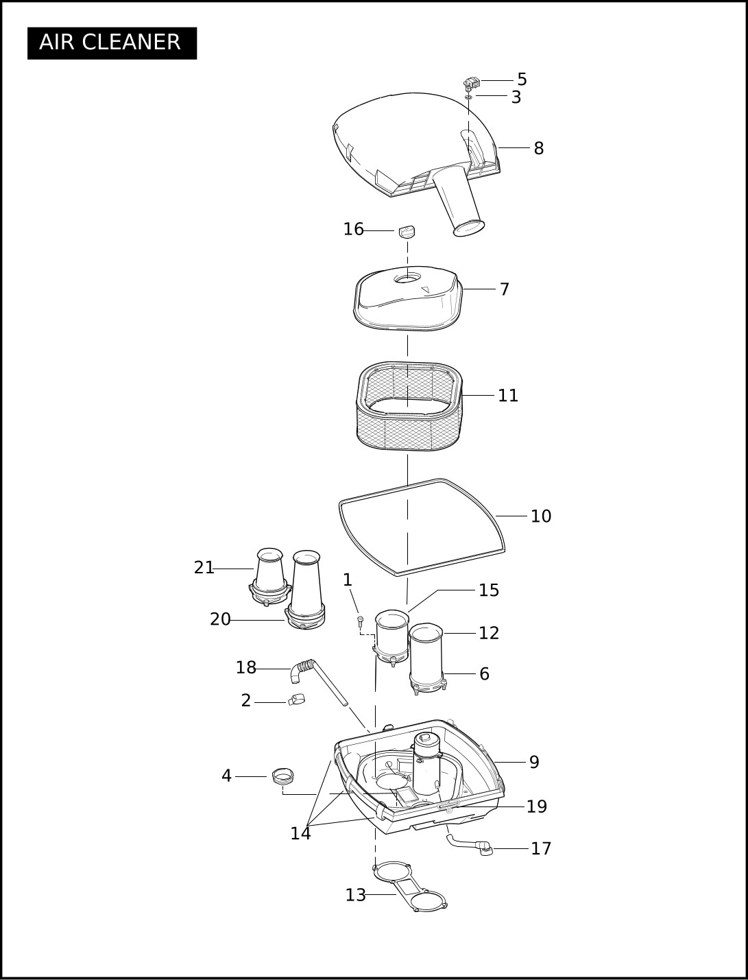
| Index No. | Part No. | Description | Model(s) |
| 1 | 3729M | SCREW (6) | ALL |
| 2 | 9998 | CLAMP | ALL |
| 3 | 11361 | O-RING | ALL |
| 4 | 24927-01 | PLUG | ALL |
| 5 | 27388-01 | SENSOR, intake air temperature, w/11361 | ALL |
| 6 | 28862-01 | O-RING (2) | ALL |
| 7 | 28863-01 | CAP, filter element | ALL |
| 8 | 29434-03 | COVER, air cleaner w/ 29647-01 | ALL |
| 9 | 29435-05 | BOTTOM, air cleaner, w/ 29504-05 & 29505-05 | ALL |
| 10 | 29436-01 | GASKET | ALL |
| 11 | 29437-01 | FILTER ELEMENT | ALL |
| 12 | 29438-01 | VELOCITY STACK, front - 115 H.P. | ALL |
| 13 | 29439-01 | GASKET, throttle body | ALL |
| 14 | 29519-01 | CLIP (7) | ALL |
| 15 | 29521-01 | VELOCITY STACK, rear - 115 H.P. | ALL |
| 16 | 29522-01 | WING NUT | ALL |
| 17 | 29504-05A | BREATHER TUBE, front | ALL |
| 18 | 29505-05 | BREATHER TUBE, rear | ALL |
| 19 | 29647-01 | CLIP | ALL |
| INTERNATIONAL MODELS ONLY | |||
| 20 | 29566-06 | VELOCITY STACK, front - 105 H.P. (HDI) | ALL |
| 21 | 29568-06 | VELOCITY STACK, rear - 105 H.P. (HDI) | ALL |
| Index No. | Part No. | Description | Model(s) |
| 1 | 965M | SCREW | ALL |
| 2 | 966M | SCREW | ALL |
| 3 | 978M | SCREW (3) | ALL |
| 4 | 1035M | SCREW | ALL |
| 5 | 1027M | SCREW | ALL |
| 6 | 6176MA | WASHER | ALL |
| 7 | 8002K | NEEDLE ROLLER & CAGE ASSEMBLY | ALL |
| 8 | 10006 | CABLE STRAP | ALL |
| 9 | 10108 | CLIP | ALL |
| 10 | 11328M | RETAINING CLIP | ALL |
| 11 | 25895-04K | ALTERNATOR COVER (chrome) (optional HD) | VRSCAW, VRSCAWA, VRSCD, VRSCDA |
| 25311-04K | ALTERNATOR COVER (polished) | VRSCD, VRSCDA | |
| 25899-07K | ALTERNATOR COVER (gloss black) | VRSCDX, VRSCDXA | |
| 12 | 30731-01K | ROTOR ASSEMBLY, w/ ball catch assembly | ALL |
| 13 | 30734-08K | STATOR ASSEMBLY, w/ plug assembly stator | ALL |
| 14 | 31301-01K | GEAR, ball clutch | ALL |
| 15 | 31303-01K | LIMITER ASSEMBLY | ALL |
| 16 | 74440-08 | VOLTAGE REGULATOR | ALL |
| Index No. | Part No. | Description | Model(s) |
| 1 | 1004M | SCREW (2) | ALL |
| 2 | 1024M | SCREW (2) | ALL |
| 3 | 31651-01 | COIL BOOT (2) | ALL |
| 4 | 32335-04 | SPARK PLUG (2) | ALL |
| 5 | 32477-01 | COIL ASSEMBLY, w/31651-01 (2) | ALL |
| 6 | 32534-05C | ECM, base level -115/105 H.P. (DOM/HDI) Requires digital tech programing | ALL |
| 7 | 70394-07 | ELECTRICAL CADDY | ALL |
| Index No. | Part No. | Description | Model(s) |
| 1 | 965M | SCREW | ALL |
| 2 | 1009M | SCREW (2) | ALL |
| 3 | 6298M | WASHER, throttle plug assembly | ALL |
| 4 | 11289A | O-RING (2) | ALL |
| 5 | 11290 | O-RING | ALL |
| 6 | 11291 | SEAL | ALL |
| 7 | 11362K | O-RING | ALL |
| 8 | 24986-01K | THROTTLE PLUG ASSEMBLY, w/ 11362K | ALL |
| 9 | 26561-99 | SWITCH, oil pressure | ALL |
| 10 | 27667-01K | BRACKET, map sensor | ALL |
| 11 | 32313-01A | SENSOR, crankshaft position, w/ 11289A, 74194-98 | ALL |
| 12 | 32316-99 | MAP SENSOR, w/11291, 32424-98 | ALL |
| 13 | 32424-98 | SENSOR BODY | ALL |
| 14 | 33902-98A | SWITCH, neutral gear, w/11290 | ALL |
| 15 | 74194-98 | TERMINAL (2) | ALL |
| 16 | 74402-05 | SPEED SENSOR, w/ 11289A | ALL |
| Index No. | Part No. | Description | Model(s) |
| 1 | 1004M | SCREW (2) | ALL |
| 2 | 7495 | NUT (3) | ALL |
| 3 | 10110 | CLIP | ALL |
| 4 | 11346K | O-RING | ALL |
| 5 | 31717-01K | STARTER MOTOR ASSEMBLY, w/11346K | VRSCAW, VRSCAWA |
| 31718-07K | STARTER MOTOR ASSEMBLY, w/11346K | VRSCD, VRSCDA, VRSCDX, VRSCDXA | |
| 6 | 70018-07 | BOOT, solenoid cover | ALL |
| 7 | 70106-07 | CABLE, solenoid to battery | ALL |
| 8 | 70108-07 | CABLE ASSEMBLY, solenoid to starter, w/ 70578-89 | ALL |
| 9 | 70578-89 | BOOT, starter | ALL |
| 10 | 71474-07 | SOLENOID, w/ 73152-96BK & 73191-96 | ALL |
| 11 | 73152-96BK | HOUSING SOCKET, 2-way | ALL |
| 12 | 73191-96 | SOCKET CONTACT (2) | ALL |
| Index No. | Part No. | Description | Model(s) |
| 1 | 3708M | SCREW | ALL |
| 2 | 4793M | SCREW (2) | ALL |
| 3 | 11356K | SNAP RING - silver | ALL |
| 4 | 11355K | SNAP RING - black | ALL |
| 5 | 12071K | SHAFT SEAL | ALL |
| 6 | 33757-01A | SHIFTER LEVER ASSEMBLY, w/ 42569-03 | VRSCAW, VRSCAWA, VRSCDX, VRSCDXA |
| 7 | 33758-01 | SHIFTER ROD | VRSCAW, VRSCAWA, VRSCDX, VRSCDXA |
| 8 | 33785-06 | SHIFTER ROD | VRSCD, VRSCDA |
| 9 | 34567-01 | LEVER, shift rod | ALL |
| 10 | 34611-65A | SHIFTER KIT, w/ peg & rubber | ALL |
| 11 | 34686-06 | SHIFTER LEVER ASSEMBLY, w/ 42443-80A | VRSCD, VRSCDA |
| 12 | 35017-01K | SHIFT ACTUATOR KIT | ALL |
| 13 | 35427-01K | DRUM SHIFTER ASSEMBLY | ALL |
| 14 | 35428-01K | SHIFTER FORK, 1st & 3rd gears | ALL |
| 15 | 35429-01K | SHIFTER FORK, 2nd gear | ALL |
| 16 | 35430-01KA | SHIFTER FORK, 4th & 5th gears | ALL |
| 17 | 35432-01K | SHIFT SHAFT | ALL |
| 18 | 35434-01K | SHIFTER FORK | ALL |
| 19 | 35441-01K | SHIFT DRUM AXIS | ALL |
| 20 | 35443-01K | SPRING | ALL |
| 21 | 35445-01K | SPRING | ALL |
| 22 | 42443-80A | BUSHING | VRSCD, VRSCDA |
| 23 | 42569-03 | BUSHING | VRSCAW, VRSCAWA, VRSCDX, VRSCDXA |
| INTERNATIONAL MODELS ONLY | |||
| 24 | 33738-04 | SHIFTER ROD (Japan) | VRSCAW, VRSCAWA, VRSCDX, VRSCDXA |
| 25 | 34647-04 | SPACER, peg assembly (Japan) | VRSCAW, VRSCAWA, VRSCDX, VRSCDXA |
| 26 | 34696-04 | PEG, sift lever (Japan) | VRSCAW, VRSCAWA, VRSCDX, VRSCDXA |
| Index No. | Part No. | Description | Model(s) |
| 1 | 1021M | SCREW (8) | ALL |
| 2 | 7910M | NUT COLLAR | ALL |
| 3 | 8026K | BEARING (3) | ALL |
| 4 | 8027K | BEARING | ALL |
| 5 | 8028K | BEARING | ALL |
| 6 | 8029K | BEARING (2) | ALL |
| 7 | 11200K | RING (2) | ALL |
| 8 | 11353K | O-RING | ALL |
| 9 | 11354K | O-RING | ALL |
| 10 | 12072K | SEAL | ALL |
| 11 | 34007-01K | CAP, thread | ALL |
| 12 | 35001-01K | BEARING RETAINER, upper - outer | ALL |
| 13 | 35002-01K | BEARING RETAINER, upper - inner | ALL |
| 14 | 35003-01K | BEARING RETAINER, lower - outer | ALL |
| 15 | 35004-01K | BEARING RETAINER, lower - inner | ALL |
| 16 | 35423-04K | FLANGE OUTPUT | ALL |
| 17 | 35433-01K | SEAL CARRIER ASSEMBLY, w/ 11353K & 12072K | ALL |
| 18 | 35451-01K | LOCKING PLATE | ALL |
| 19 | 35454-01KA | INPUT SHAFT ASSEMBLY | ALL |
| 20 | 35455-01KA | OUTPUT SHAFT ASSEMBLY | ALL |
| Index No. | Part No. | Description | Model(s) |
| 1 | 1009M | SCREW (3) | ALL |
| 2 | 8008M | NUT | ALL |
| 3 | 8885 | BEARING | ALL |
| 4 | 11347K | O-RING | ALL |
| 5 | 11363K | RETAINING RING | ALL |
| 6 | 36699-01KA | CLUTCH SHELL | ALL |
| 7 | 36701-08K | CLUTCH HUB | ALL |
| 8 | 36702-08K | CLUTCH PLATE (7) | ALL |
| 9 | 36704-08K | CLUTCH PRESSURE PLATE | ALL |
| 10 | 36705-08K | SPRING, pressure plate (4) | ALL |
| 11 | 36706-08K | BOLT (4) | ALL |
| 12 | 36707-01K | COLLAR, distance | ALL |
| 13 | 36709-01K | THRUST WASHER | ALL |
| 14 | 36710-08K | LIFTER PLATE | ALL |
| 15 | 36711-08K | SEAT, spring | ALL |
| 16 | 36712-08K | SPRING | ALL |
| 17 | 36713-01K | FRICTION CLUTCH (2) | ALL |
| 18 | 36714-01K | RETAINING CLIP | ALL |
| 19 | 36720-08K | FRICTION CLUTCH (7) | ALL |
| 20 | 36731-91 | RELEASE PLATE ASSEMBLY, w/ 8885 | ALL |
| 21 | 36757-05K | BLEEDER SCREW, w/ o-ring | ALL |
| 22 | 36779-05K | SECONDARY CLUTCH ACTUATOR | ALL |
| 36781-01K | SECONDARY CLUTCH ACTUATOR, repair kit (chrome) w/36779-05K, & cover (optional HD) | VRSCAW, VRSCAWA, VRSCD, VRSCDA | |
| 36782-04K | SECONDARY CLUTCH ACTUATOR, repair kit (polished) w/36779-05K, & cover | VRSCD, VRSCDA | |
| 23 | 36780-01K | CONTACT BUTTON | ALL |
| 24 | 37909-90 | RETAINING RING | ALL |
| 25 | 37938-08K | CLUTCH KIT | ALL |
| 26 | 38841-08K | CLUTCH PLATE | ALL |
| 27 | 38842-08K | SEAT, spring (4) | ALL |
| Index No. | Part No. | Description | Model(s) |
| 1 | 1004M | SCREW (48) | ALL |
| 2 | 1009M | SCREW (5) | ALL |
| 3 | 3729M | SCREW (3) | ALL |
| 4 | 7124 | LOCKWASHER | ALL |
| 5 | 10994K | O-RING (2) | ALL |
| 6 | 11130K | O-RING | ALL |
| 7 | 11140 | O-RING (2) | ALL |
| 8 | 11312K | O-RING (2) | ALL |
| 9 | 11341K | O-RING | ALL |
| 10 | 11347K | O-RING | ALL |
| 11 | 11384K | RETAINER WIRE CLIP (2) | ALL |
| 12 | 17011-01KA | ENGINE GASKET KIT | ALL |
| 13 | 25080-01K | GASKET, cover alternator | ALL |
| 14 | 25878-07K | COVER, derby (polished) | VRSCDX, VRSCDXA |
| 25941-08K | COVER, derby (chrome) (optional HD) | VRSCAW, VRSCAWA, VRSCD, VRSCDA | |
| 25943-08K | COVER, derby (polished) | VRSCD, VRSCDA | |
| 15 | 25732-01K | COVER, clutch (chrome) (optional HD) | VRSCAW, VRSCAWA, VRSCD, VRSCDA |
| 25294-04K | COVER, clutch (polished) | VRSCD, VRSCDA | |
| 25894-07K | COVER, clutch (gloss black) | VRSCDX, VRSCDXA | |
| 16 | 25895-04K | COVER, alternator (chrome) (optional HD) | VRSCAW, VRSCAWA, VRSCD, VRSCDA |
| 25311-04K | COVER, alternator (polished) | VRSCD, VRSCDA | |
| 25899-07K | COVER, alternator (gloss black) | VRSCDX, VRSCDXA | |
| 17 | 25891-01K | GASKET, clutch cover | ALL |
| 18 | 26034-01K | GASKET, baffle plate | ALL |
| 19 | 26103-01K | OIL PAN | VRSCAW, VRSCAWA |
| 26107-04K | OIL PAN (black) | VRSCD, VRSCDA, VRSCDX, VRSCDXA | |
| 20 | 26393-01K | OIL PICKUP ASSEMBLY, w/ 11312K & oil pickup | ALL |
| 21 | 26399-01K | OIL FILTER ADAPER | ALL |
| 22 | 26539-01K | OIL FILTER MOUNT (platinum) | VRSCAW, VRSCAWA |
| 26762-04K | OIL FILTER MOUNT (black) | VRSCD, VRSCDA, VRSCDX, VRSCDXA | |
| 23 | 26541-01K | OIL FILL PLUG ASSEMBLY, w/ 11341K & dipstick | VRSCAW, VRSCAWA |
| 26778-04K | OIL FILL PLUG ASSEMBLY, w/ 11341K & dipstick | VRSCD, VRSCDA, VRSCDX, VRSCDXA | |
| 24 | 26542-01K | PLUG, oil drain, w/ magnet | ALL |
| 25 | 34783-05 | COVER, secondary clutch actuator (chrome) (optional HD) | VRSCAW, VRSCAWA, VRSCD, VRSCDA |
| 34878-07 | COVER, secondary clutch actuator (gloss black) | VRSCDX, VRSCDXA | |
| 34927-05 | COVER, secondary clutch actuator (polished) | VRSCD, VRSCDA | |
| 26 | 34877-07 | EMBLEM, cover secondary clutch actuator | VRSCDX, VRSCDXA |
| 34918-08 | EMBLEM, cover secondary clutch actuator | VRSCAW, VRSCAWA, VRSCD, VRSCDA | |
| 34949-08 | EMBLEM, cover secondary clutch actuator | VRSCAW, VRSCAWA | |
| 27 | 36757-05K | SCREW, bleeder, w/ o-ring | ALL |
| 28 | 36779-05K | SECONDARY CLUTCH ACTUATOR | ALL |
| 36781-01K | SECONDARY CLUTCH ACTUATOR, repair kit (chrome) w/36779-05K, & cover (optional HD) | VRSCAW, VRSCAWA, VRSCD, VRSCDA | |
| 36782-04K | SECONDARY CLUTCH ACTUATOR, repair kit (polished) w/36779-05K, & cover | VRSCD, VRSCDA | |
| 29 | 63650-04K | CONNECTOR ASSEMBLY, w/ 10994K, 11140, 11384K, & fitting (2) | ALL |
| 30 | 63793-01K | ENGINE OIL FILTER | ALL |
| 31 | 70441-01 | CABLE, engine ground to chassis, w/ 70578-89 | ALL |
| 32 | 70578-89 | BOOT, cable assembly | ALL |
| Index No. | Part No. | Description | Model(s) |
| 1 | 966M | SCREW (3) | ALL |
| 2 | 4543 | SCREW (3) | ALL |
| 3 | 6110 | WASHER (3) | VRSCAW, VRSCAWA, VRSCD, VRSCDA |
| 4 | 6859M | WASHER (3) | ALL |
| 5 | 7910M | NUT | ALL |
| 6 | 9254 | BEARING | ALL |
| 7 | 11354K | SPACER, rubber seal | ALL |
| 8 | 11542 | BUSHING (6) | ALL |
| 9 | 26812-07 | SPACER (3) | ALL |
| 10 | 34007-01K | CAP, plastic | ALL |
| 11 | 34985-08 | COVER ASSEMBLY, sprocket, w/ 4543, 6110, & 76231-08 (chrome) | VRSCAW, VRSCAWA, VRSCD, VRSCDA |
| 37124-08 | COVER ASSEMBLY, sprocket, w/ 4543, 6110, & 73231-06 (polished) | VRSCD, VRSCDA | |
| 37156-07 | COVER ASSEMBLY, sprocket, w/ 4543, 6110, 37157-07, & cover (gloss black) | VRSCDX, VRSCDXA | |
| 12 | 35423-04K | FLANGE, output | ALL |
| 13 | 35451-01K | LOCKING PLATE | ALL |
| 40014-04K | CONVERSION KIT - 28T | ALL | |
| 14 | 40144-07 | REAR BELT - 151T (Domestic, California, Canada) | ALL |
| 15 | 40656-06A | SPROCKET, transmission 28T (Domestic, California, Canada) | ALL |
| 16 | 40399-01M | SCREW (3) | ALL |
| 17 | 40564-07 | SPROCKET ASSEMBLY - 72T, w/ sprocket (silver) | VRSCAW, VRSCAWA |
| 40590-07 | SPROCKET ASSEMBLY - 72T, w/ sprocket (black) | VRSCD, VRSCDA, VRSCDX, VRSCDXA | |
| 18 | 76231-08 | INSERT, cover (not shown) | VRSCAW, VRSCAWA, VRSCD, VRSCDA |
| 37157-07 | INSERT, cover | VRSCDX, VRSCDXA | |
| INTERNATIONAL MODELS ONLY | |||
| 19 | 40145-07 | REAR BELT - 152T (HDI) | ALL |
| 20 | 40657-06A | SPROCKET, transmission 30T (HDI) | ALL |
| Index No. | Part No. | Description | Model(s) |
| 1 | 3725M | NUT (2) | ALL |
| 2 | 5235 | PLUG | ALL |
| 3 | 5236M | SCREW (2) | ALL |
| 4 | 5237M | SCREW (8) | ALL |
| 5 | 5238M | LOCKNUT (4) | ALL |
| 6 | 6838M | WASHER, front (2) | ALL |
| 7 | 10065 | CABLE STRAP (3) | ALL |
| 8 | 11101 | O-RING (2) | ALL |
| 9 | 11568 | BUSHING (2) | ALL |
| 10 | 26722-04 | RADIATOR | ALL |
| 11 | 26723-04 | OIL COOLER ASSEMBLY | ALL |
| 12 | 26724-04 | FAN ASSEMBLY | ALL |
| 13 | 26757-01 | GROMMET (4) | ALL |
| 14 | 26758-01 | SPACER (2) | ALL |
| 15 | 26772-04 | BRACKET | ALL |
| 16 | 62909-04 | CAP | ALL |
| 17 | 62940-04 | OIL LINE, oil cooler - inlet | ALL |
| 18 | 62941-04 | OIL LINE, oil cooler - outlet | ALL |
| 19 | 62953-08 | HOSE DRAIN | ALL |
| 20 | 73152-96BK | SOCKET HOUSING, 2-place (2) | ALL |
| 21 | 73191-96 | CONTACT SOCKET (4) | ALL |
| Index No. | Part No. | Description | Model(s) |
| 1 | 965M | SCREW | ALL |
| 2 | 5234 | PLUG, w/ seal | ALL |
| 3 | 7036 | WASHER | ALL |
| 4 | 9830 | CLAMP | ALL |
| 5 | 10014 | CLAMP | ALL |
| 6 | 11519 | GROMMET (2) | ALL |
| 7 | 26730-01 | CLAMP, bright (3) | ALL |
| 8 | 26733-01 | CAP, pressure | ALL |
| 9 | 26753-01 | HOSE COOLANT, engine | ALL |
| 10 | 26754-01 | HOSE COOLANT | ALL |
| 11 | 26755-01 | HOSE COOLANT, engine in - front | ALL |
| 12 | 26756-01 | HOSE COOLANT, engine in - rear | ALL |
| 13 | 26767-01 | PIPE COOLANT, engine out | ALL |
| 14 | 26768-01A | PIPE COOLANT, engine in | ALL |
| 15 | 26770-01 | CLAMP, shrink (4) | ALL |
| 16 | 26777-01 | CLAMP | ALL |
| 17 | 26780-05A | CAP | ALL |
| 18 | 26782-01A | COVER, hose (chrome) | VRSCAW, VRSCAWA, VRSCD, VRSCDA |
| 66306-07DH | COVER, hose (vivid black) | VRSCDX, VRSCDXA | |
| 66306-07BYM | COVER, hose (denim black) | VRSCDX, VRSCDXA | |
| 19 | 26790-01 | CLAMP, black (3) | ALL |
| 20 | 26803-07A | COOLANT BOTTLE & CAP ASSEMBLY, w/ 26780-05A & bottle | ALL |
| 21 | 26834-08 | HOSE, drain | ALL |
| 22 | 26835-08 | SLEEVE, hose | ALL |
| 23 | 62943-01 | CLAMP, drain hose (2) | ALL |
| 24 | 62953-08 | HOSE, drain coolant bottle to ground | ALL |
| Index No. | Part No. | Description | Model(s) |
| 1 | 2590 | SCREW | ALL |
| 2 | 4132 | SCREW (2) | ALL |
| 3 | 6101 | WASHER (2) | ALL |
| 4 | 7127 | LOCKWASHER | ALL |
| 5 | 10006 | CABLE STRAP | ALL |
| 6 | 10116 | CLIP | VRSCD, VRSCDA |
| 7 | 11143 | RETAINING RING (2) | ALL |
| 8 | 38744-06A | MASTER CYLINDER ASSEMBLY, clutch (black) | ALL |
| 9 | 38658-01B | LINE ASSEMBLY, clutch | VRSCAW, VRSCAWA |
| 38692-04C | LINE ASSEMBLY, clutch | VRSCD, VRSCDA, VRSCDX, VRSCDXA | |
| 10 | 41750-06A | BOLT, banjo | ALL |
| 11 | 41751-06A | GASKET, brake line (2) | ALL |
| 12 | 42145-06 | SIGHT GLASS KIT | ALL |
| 13 | 42876-06A | CLUTCH LEVER KIT, w/ 11143 | ALL |
| 14 | 45044-96A | CLAMP, master cylinder clutch (black) | ALL |
| 15 | 45050-06 | PIVOT PIN KIT | ALL |
| 16 | 46244-01 | REPAIR KIT, master cylinder, w/ 11143 & 41731-01 | ALL |
| 17 | 46246-01 | BUSHING & ROLLER KIT | ALL |
| 18 | 46322-06 | GASKET COVER | ALL |
| 19 | 46324-06 | COVER MASTER CYLINDER ASSEMBLY, w/ 46322-06 | ALL |
| 20 | 56073-83 | RETAINER, clutch line | VRSCAW, VRSCAWA |
| 70345-84 | RETAINER, clutch line | VRSCDX, VRSCDXA | |
| 21 | 91848-03A | MIRROR, kit - left | VRSCAW, VRSCAWA |
| 91910-03A | MIRROR, kit - left | VRSCD, VRSCDA, VRSCDX, VRSCDXA |
| Index No. | Part No. | Description | Model(s) |
| 1 | 4741A | SCREW | ALL |
| 2 | 4132 | SCREW (2) | ALL |
| 3 | 4700 | BLEEDER SCREW (2) | ALL |
| 4 | 10965 | O-RING (2) | ALL |
| 5 | 6101 | WASHER (2) | ALL |
| 6 | 7127 | LOCKWASHER | ALL |
| 8 | 41750-06A | BANJO BOLT | ALL |
| 9 | 41751-06A | GASKET (3) | ALL |
| 10 | 41783-08 | BANJO BOLT BLEEDER ASSEMBLY, w/ 4700, & 5441 (2) | ALL |
| 11 | 42853-06 | CAP (2) | ALL |
| 12 | 42854-06 | SIGHT GLASS KIT | ALL |
| 13 | 42855-06A | COVER KIT, w/ 42857-06, & 42858-06 (black) | ALL |
| 14 | 42857-06A | GASKET, cover | ALL |
| 15 | 42858-06 | SCREW (2) | ALL |
| 16 | 42859-06B | HAND LEVER, front brake control w/ 42860-06B | ALL |
| 17 | 42860-06B | PIVOT PIN, w/ 11615 | ALL |
| 18 | 42861-06A | PUSHROD KIT | ALL |
| 19 | 42862-06A | REPAIR KIT, master cylinder (11/16 in. diameter) | ALL |
| 20 | 44551-08 | MASTER CYLINDER ASSEMBLY, front, (black) | ALL |
| 21 | 44735-06 | BRAKE LINE, non ABS | VRSCAW |
| 44736-06 | BRAKE LINE, non ABS | VRSCD | |
| 46957-07 | BRAKE LINE, non ABS | VRSCDX | |
| 22 | 45138-08 | CLAMP, master cylinder front brake (black) | ALL |
| 23 | 91846-03A | MIRROR, kit - right | VRSCAW, VRSCAWA |
| 91909-03A | MIRROR, kit - right | VRSCD, VRSCDA, VRSCDX, VRSCDXA | |
| Index number 7 is not used in this illustration. | |||
| Index No. | Part No. | Description | Model(s) |
| 1 | 515 | COTTER PIN | VRSCAW, VRSCAWA, VRSCDX, VRSCDXA |
| 2 | 3731M | SCREW | VRSCAW, VRSCAWA, VRSCDX, VRSCDXA |
| 3 | 4240 | SCREW (5) | VRSCAW, VRSCAWA, VRSCDX, VRSCDXA |
| 4 | 7951 | JAM NUT | VRSCAW, VRSCAWA, VRSCDX, VRSCDXA |
| 5 | 10006 | CABLE STRAP (2) | VRSCAW, VRSCAWA, VRSCDX, VRSCDXA |
| 6 | 10231 | CLIP (5) | VRSCAW, VRSCAWA, VRSCDX, VRSCDXA |
| 7 | 11608 | CLAMP (2) | VRSCAW, VRSCAWA, VRSCDX, VRSCDXA |
| 8 | 41751-06A | GASKET (4) | VRSCAW, VRSCAWA, VRSCDX, VRSCDXA |
| 9 | 41750-06A | BOLT (2) | VRSCAW, VRSCAWA, VRSCDX, VRSCDXA |
| 10 | 41967-07A | BRAKE LINE ASSEMBLY, rear | VRSCAW, VRSCDX |
| 11 | 42375-87 | SCREW (2) | VRSCAW, VRSCAWA, VRSCDX, VRSCDXA |
| 12 | 42460-80B | CLEVIS PIN | VRSCAW, VRSCAWA, VRSCDX, VRSCDXA |
| 13 | 42569-03 | BUSHING, brake pedal | VRSCAW, VRSCAWA, VRSCDX, VRSCDXA |
| 14 | 42586-06 | RESERVOIR ASSEMBLY, master cylinder | VRSCAW, VRSCAWA, VRSCDX, VRSCDXA |
| 15 | 42883-06A | MASTER CYLINDER REPAIR KIT | VRSCAW, VRSCAWA, VRSCDX, VRSCDXA |
| 16 | 42884-06 | MASTER CYLINDER PUSHROD KIT | VRSCAW, VRSCAWA, VRSCDX, VRSCDXA |
| 17 | 42885-06 | BOOT, pushrod | VRSCAW, VRSCAWA, VRSCDX, VRSCDXA |
| 18 | 42886-06 | SPRING | VRSCAW, VRSCAWA, VRSCDX, VRSCDXA |
| 19 | 42887-06 | RESERVOIR PORT KIT | VRSCAW, VRSCAWA, VRSCDX, VRSCDXA |
| 20 | 42888-06 | HOSE, reservoir | VRSCAW, VRSCAWA, VRSCDX, VRSCDXA |
| 21 | 42889-06 | SPRING RETENTION KIT | VRSCAW, VRSCAWA, VRSCDX, VRSCDXA |
| 22 | 43914-06 | RESERVOIR, body | VRSCAW, VRSCAWA, VRSCDX, VRSCDXA |
| 23 | 43915-06 | COVER, reservoir | VRSCAW, VRSCAWA, VRSCDX, VRSCDXA |
| 24 | 43917-01 | GASKET, master cylinder reservoir | VRSCAW, VRSCAWA, VRSCDX, VRSCDXA |
| 25 | 44738-06 | BRAKE PEDAL ASSEMBLY, w/ 42569-03 | VRSCAW, VRSCAWA, VRSCDX, VRSCDXA |
| 26 | 44740-06 | MASTER CYLINDER ASSEMBLY, w/ 7, 17, 18, 19, 20, 21, 22, & 24 | VRSCAW, VRSCAWA, VRSCDX, VRSCDXA |
| 27 | 70634-08 | WIRE RETAINER, brakeline (2) | VRSCAW, VRSCAWA, VRSCDX, VRSCDXA |
| 28 | 72023-51D | STOPLIGHT SWITCH, rear, w/ 9898 | VRSCAW, VRSCAWA, VRSCDX, VRSCDXA |
| INTERNATIONAL MODELS ONLY | |||
| 29 | 44741-06 | BRAKE PEDAL ASSEMBLY, w/ 42569-03 (Japan) | VRSCAW, VRSCAWA, VRSCDX, VRSCDXA |
| Index No. | Part No. | Description | Model(s) |
| 1 | 4240 | SCREW (5) | VRSCD, VRSCDA |
| 2 | 1009M | SCREW (2) | VRSCD, VRSCDA |
| 3 | 10006 | CABLE STRAP (3) | VRSCD, VRSCDA |
| 4 | 10116 | CLIP | VRSCD, VRSCDA |
| 5 | 10231 | CLIP (5) | VRSCD, VRSCDA |
| 6 | 11608 | CLAMP (2) | VRSCD, VRSCDA |
| 7 | 11607 | CLIP, retaining | VRSCD, VRSCDA |
| 8 | 41538-06 | SPRING RETENTION KIT, w/ 11605 | VRSCD, VRSCDA |
| 9 | 41968-07 | BRAKE LINE ASSEMBLY, rear | VRSCD |
| 10 | 41669-06 | HOSE, master cylinder rear w/conduit | VRSCD, VRSCDA |
| 11 | 41751-06A | GASKET (4) | VRSCD, VRSCDA |
| 12 | 41750-06A | BOLT | VRSCD, VRSCDA |
| 13 | 42375-87 | SCREW (2) | VRSCD, VRSCDA |
| 14 | 42586-06 | RESERVOIR ASSEMBLY, master cylinder, w/ 13, 24, 25, & 26 | VRSCD, VRSCDA |
| 15 | 42704-06 | BRAKE PEDAL ASSEMBLY, w/ 11607 & 42569-03 | VRSCD, VRSCDA |
| 16 | 42819-06 | SET SCREW | VRSCD, VRSCDA |
| 17 | 42868-06 | MASTER CYLINDER KIT | VRSCD, VRSCDA |
| 18 | 42869-06A | PUSHROD KIT | VRSCD, VRSCDA |
| 19 | 42870-06 | BOOT, pushrod | VRSCD, VRSCDA |
| 20 | 42871-06 | SPRING, pedal return | VRSCD, VRSCDA |
| 21 | 42872-06 | RESERVOIR PORT KIT | VRSCD, VRSCDA |
| 22 | 42873-06 | PEDAL MOUNT KIT, w/ 42819-06 | VRSCD, VRSCDA |
| 23 | 42569-03 | BUSHING, brake pedal | VRSCD, VRSCDA |
| 24 | 43914-06 | RESERVOIR, body | VRSCD, VRSCDA |
| 25 | 43915-06 | COVER, reservoir | VRSCD, VRSCDA |
| 26 | 43917-01 | GASKET, master cylinder reservoir | VRSCD, VRSCDA |
| 27 | 44571-06A | MASTER CYLINDER ASSEMBLY | VRSCD, VRSCDA |
| 28 | 70634-08 | WIRE RETAINER, brakeline (2) | VRSCD, VRSCDA |
| 29 | 72025-06 | BRAKE SWITCH, banjo bolt | VRSCD, VRSCDA |
| Index No. | Part No. | Description | Model(s) |
| 1 | 3707M | SCREW (5) | VRSCAWA, VRSCDA, VRSCDXA |
| 2 | 4240 | SCREW (5) | VRSCAWA, VRSCDA, VRSCDXA |
| 3 | 4700 | BLEEDER SCREW (2) | VRSCAWA, VRSCDA, VRSCDXA |
| 4 | 4741A | SCREW | VRSCAWA, VRSCDA, VRSCDXA |
| 5 | 10965 | O-RING (2) | VRSCAWA, VRSCDA, VRSCDXA |
| 6 | 6859M | WASHER | VRSCAWA, VRSCDA, VRSCDXA |
| 7 | 7495 | NUT | VRSCAWA, VRSCDA, VRSCDXA |
| 8 | 9907 | WIRE TERMINAL (2) | VRSCAWA, VRSCDA, VRSCDXA |
| 9 | 10006 | CABLE STRAP (2) | VRSCAWA, VRSCDA, VRSCDXA |
| 10 | 10231 | CLAMP (5) | VRSCAWA, VRSCDA, VRSCDXA |
| 11 | 40689-08 | ABS MODULE KIT | VRSCAWA, VRSCDA, VRSCDXA |
| 12 | 41750-06A | BOLT (6) | VRSCAWA, VRSCDA, VRSCDXA |
| 13 | 41751-06A | GASKET (11) | VRSCAWA, VRSCDA, VRSCDXA |
| 14 | 41783-08 | BANJO BOLT BLEEDER ASSEMBLY, w/ 4700, & 10965 (2) | VRSCAWA, VRSCDA, VRSCDXA |
| 15 | 41855-08 | BRACKET, ABS mount - top | VRSCAWA, VRSCDA, VRSCDXA |
| 16 | 41861-08 | BRACKET, ABS mount - left | VRSCAWA, VRSCDA, VRSCDXA |
| 17 | 42264-08 | BRAKE LINE, front master cylinder to ABS module | VRSCDA |
| 42265-08 | BRAKE LINE, front master cylinder to ABS module | VRSCDXA | |
| 44722-08 | BRAKE LINE, front master cylinder to ABS module | VRSCAWA | |
| 18 | 42268-08 | BRAKE LINE, ABS module to rear master cylinder | VRSCDA |
| 44724-08 | BRAKE LINE, ABS module to rear master cylinder | VRSCAWA, VRSCDXA | |
| 19 | 42285-08 | BRAKE LINE, ABS module to rear brake caliper | VRSCDA |
| 44725-08 | BRAKE LINE, ABS module to rear brake caliper | VRSCAWA, VRSCDXA | |
| 20 | 42294-08 | BRAKE LINE, ABS module to front brake caliper | VRSCDA, VRSCDXA |
| 44723-08 | BRAKE LINE, ABS module to front brake caliper | VRSCAWA | |
| 21 | 42853-06 | CAP (2) | VRSCAWA, VRSCDA, VRSCDXA |
| 22 | 66208-08 | COVER, ABS module | VRSCAWA, VRSCDA, VRSCDXA |
| 23 | 66494-01 | PAD | VRSCAWA, VRSCDA, VRSCDXA |
| 24 | 70634-08 | RETAINER, wire (2) | VRSCAWA, VRSCDA, VRSCDXA |
| 25 | 70631-08 | CLIP, conduit - front (3) | VRSCAWA |
| 26 | 70635-08 | CLIP, conduit (front) (3) | VRSCDA, VRSCDXA |
| 70635-08 | CLIP, conduit (rear) (4) | VRSCAWA, VRSCDA, VRSCDXA | |
| 27 | 72023-51D | STOPLIGHT SWITCH, rear w/ 9907 | VRSCAWA, VRSCDA, VRSCDXA |
| Index No. | Part No. | Description | Model(s) |
| 1 | 4700 | BLEEDER SCREW (2) | ALL |
| 2 | 10965 | O-RING (2) | ALL |
| 3 | 41783-08 | BANJO BOLT BLEEDER ASSEMBLY, w/ 4700, & 10965 (2) | ALL |
| 4 | 42849-08 | PIN BRAKE PAD, w/ clip (2) | ALL |
| 5 | 42897-08 | BRAKE PAD KIT, w/ 42849-06 (2) | ALL |
| 6 | 42851-06 | COVER (2) | ALL |
| 7 | 42852-06A | SPRING PAD (2) | ALL |
| 8 | 44160-00 | BOLT, caliper mounting (4) | ALL |
| 9 | 44505-08 | CALIPER ASSEMBLY, right - not shown (silver) | VRSCAW, VRSCAWA |
| 44731-08 | CALIPER ASSEMBLY, right - not shown (black) | VRSCD, VRSCDA, VRSCDX, VRSCDXA | |
| 44506-08 | CALIPER ASSEMBLY, left (silver) | VRSCAW, VRSCAWA | |
| 44732-08 | CALIPER ASSEMBLY, left (black) | VRSCD, VRSCDA, VRSCDX, VRSCDXA | |
| 10 | 70493-08 | BRACKET - ABS, wire clip speed sensor | VRSCAWA, VRSCDA, VRSCDXA |
| 11 | 70494-08 | WIRE CLIP - ABS, speed sensor | VRSCAWA, VRSCDA, VRSCDXA |
| Index No. | Part No. | Description | Model(s) |
| 1 | 4700 | SCREW, bleeder | ALL |
| 2 | 4597M | SCREW (2) | ALL |
| 3 | 42850-06B | BRAKE PAD KIT, w/ 42865-06A | ALL |
| 4 | 42853-06 | CAP, bleeder screw | ALL |
| 5 | 42863-06 | BUMPER | ALL |
| 6 | 42865-06A | PIN BRAKE PAD, w/ clip | ALL |
| 7 | 42866-06 | COVER | ALL |
| 8 | 42867-06A | SPRING PAD KIT | ALL |
| 9 | 43050-08 | CALIPER ASSEMBLY (black) | VRSCD, VRSCDA, VRSCDX, VRSCDXA |
| 43045-08 | CALIPER ASSEMBLY (silver) | VRSCAW, VRSCAWA | |
| 10 | 43214-08 | BRACKET, caliper (silver) | VRSCAW, VRSCAWA |
| 44089-08 | BRACKET, caliper (black) | VRSCD, VRSCDA, VRSCDX, VRSCDXA |
| Index No. | Part No. | Description | Model(s) |
| 1 | 3762M | BOLT (10) | VRSCD, VRSCDA, VRSCDX, VRSCDXA |
| 3655A | SCREW (10) | VRSCAW, VRSCAWA | |
| 2 | 6655 | WASHER | ALL |
| 3 | 6966M | WASHER (10) | VRSCD, VRSCDA, VRSCDX, VRSCDXA |
| 4 | 7813A | NUT | ALL |
| 5 | 9252 | BEARING, ABS - left | VRSCAWA, VRSCDA, VRSCDXA |
| 6 | 9276 | BEARING (ABS - right) (1) | ALL |
| 9276 | BEARING (Non ABS - right & left) (2) | ALL | |
| 7 | 10147 | CLIP, connector - ABS | VRSCAWA, VRSCDA, VRSCDXA |
| 8 | 11804 | SPACER (1) | VRSCAWA, VRSCDA, VRSCDXA |
| 11804 | SPACER (2) | VRSCAW, VRSCD, VRSCDX | |
| 9 | 40648-08 | SENSOR, wheel - ABS | VRSCAWA, VRSCDA, VRSCDXA |
| 10 | 40761-05 | SPOKE & NIPPLE KIT, 19 in. rim - short (20) | VRSCAW, VRSCAWA |
| 11 | 40762-05 | SPOKE & NIPPLE KIT, 19 in. rim - long (20) | VRSCAW, VRSCAWA |
| 12 | 40999-87 | VALVE STEM | VRSCD, VRSCDA |
| 13 | 41007-07 | INNER TUBE | VRSCAW, VRSCAWA |
| 14 | 41123-79 | VALVE CAP | ALL |
| 15 | 41469-08 | WHEEL ASSEMBLY, w/o bearings & sleeve | VRSCDX, VRSCDXA |
| 16 | 41628-08 | AXLE, front | ALL |
| 17 | 41748-08 | SLEEVE | ALL |
| 18 | 41996-07 | RIM FLAP | VRSCAW, VRSCAWA |
| 19 | 43380-08 | WHEEL ASSEMBLY, w/o bearings & sleeve | VRSCD, VRSCDA |
| 20 | 43157-83A | VALVE STEM, w/ 54321-85 | VRSCD, VRSCDA, VRSCDX, VRSCDXA |
| 21 | 43172-01B | TIRE | ALL |
| 22 | 43212-01 | PLUG (solid disc only) (10) | VRSCDX, VRSCDXA |
| 23 | 43507-07 | RIM 19 in. | VRSCAW, VRSCAWA |
| 24 | 43534-08 | WHEEL ASSEMBLY, w/o bearings & sleeve | VRSCAW, VRSCAWA |
| 25 | 44405-07 | BRAKE DISC (2) | VRSCAW, VRSCAWA |
| 26 | 44553-06A | BRAKE DISC (2) | VRSCD, VRSCDA, VRSCDX, VRSCDXA |
| 27 | 54321-85 | NUT, valve stem | VRSCAW, VRSCAWA, VRSCDX, VRSCDXA |
| 28 | 70631-08 | CLIP, conduit - ABS (3) | VRSCAWA |
| 70635-08 | CLIP, conduit - ABS (3) | VRSCDA, VRSCDXA | |
| 29 | 72607-08 | PIN HOUSING, 2-way - ABS | VRSCAWA, VRSCDA, VRSCDXA |
| 30 | 72608-08 | TERMINAL, pin 16-20 awg - ABS | VRSCAWA, VRSCDA, VRSCDXA |
| 31 | 72609-08 | SECONDARY LOCK, 2-way - ABS | VRSCAWA, VRSCDA, VRSCDXA |
| 32 | 72610-08 | CABLE SEAL, 18-20 awg - ABS | VRSCAWA, VRSCDA, VRSCDXA |
| 33 | 95578-41 | WEIGHT | VRSCAW, VRSCAWA |
| 95581-47 | WEIGHT 3/4 oz. | VRSCAW, VRSCAWA | |
| 95582-47 | WEIGHT 1 oz. | VRSCAW, VRSCAWA | |
| 34 | 95594-84 | WEIGHT 1/4 oz. (black) (4) | VRSCD, VRSCDA, VRSCDX, VRSCDXA |
| Index No. | Part No. | Description | Model(s) |
| 1 | 4552 | SCREW (5) | ALL |
| 2 | 7039 | LOCKWASHER (5) | ALL |
| 3 | 8020 | NUT | ALL |
| 4 | 9252 | BEARING, ABS - right | VRSCAWA, VRSCDA, VRSCDXA |
| 5 | 9254 | BEARING | ALL |
| 6 | 9276 | BEARING, ABS - left | ALL |
| 9276 | BEARING, left and right (NON-ABS) (2) | ALL | |
| 7 | 10147 | CLIP, connector - ABS | VRSCAWA, VRSCDA, VRSCDXA |
| 8 | 40434-01 | CUSHION, compensator | ALL |
| 9 | 40564-07 | SPROCKET ASSEMBLY - 72T, w/ sprocket (silver) | VRSCAW, VRSCAWA |
| 40590-07 | SPROCKET ASSEMBLY - 72T, w/ sprocket (black) | VRSCD, VRSCDA, VRSCDX, VRSCDXA | |
| 10 | 40652-08 | SENSOR, wheel - ABS | VRSCAWA, VRSCDA, VRSCDXA |
| 11 | 40668-07 | SPACER | ALL |
| 12 | 40669-07 | COMPENSATOR BOWL | ALL |
| 13 | 41123-79 | VALVE CAP | ALL |
| 14 | 41139-02 | E-CLIP | ALL |
| 15 | 41242-08 | SPACER, wheel bearing | VRSCAW, VRSCD, VRSCDX |
| 16 | 41471-08 | WHEEL ASSEMBLY 18 in., slot, w/ plugs, w/o bearings & sleeve (black w/ stripe) | VRSCDX, VRSCDXA |
| 17 | 41473-06 | TIRE | VRSCAW, VRSCAWA, VRSCDX, VRSCDXA |
| 43173-01 | TIRE | VRSCD, VRSCDA | |
| 18 | 41529-08 | WHEEL ASSEMBLY 18 in., slot, w/ plugs, w/o bearings & sleeve (silver) | VRSCAW, VRSCAWA |
| 19 | 41544-08 | AXLE, rear, w/ 8019 | ALL |
| 20 | 41550-08 | SPACER, left | ALL |
| 21 | 41667-06 | DISC, brake | ALL |
| 22 | 41714-05 | REAR AXLE ADJUSTER | ALL |
| 23 | 43509-08 | WHEEL ASSEMBLY 18 in., 5 spoke, w/o bearings & sleeve (black) | VRSCD, VRSCDA |
| 24 | 43157-83A | VALVE STEM ASSEMBLY, w/ 54321-85 | VRSCAW, VRSCAWA, VRSCDX, VRSCDXA |
| 40999-87 | VALVE STEM | VRSCD, VRSCDA | |
| 25 | 43567-92 | SCREW (5) | ALL |
| 26 | 43704-08 | SLEEVE BEARING | ALL |
| 27 | 43708-01 | PLUG (solid disc only) (5) | VRSCAW, VRSCAWA, VRSCDX, VRSCDXA |
| 28 | 54321-85 | NUT | VRSCAW, VRSCAWA, VRSCDX, VRSCDXA |
| 29 | 70635-08 | CLIP, conduit - ABS (4) | VRSCAWA, VRSCDA, VRSCDXA |
| 30 | 72607-08 | PIN HOUSING, 2-way - ABS | VRSCAWA, VRSCDA, VRSCDXA |
| 31 | 72608-08 | TERMINAL, pin 16-20 awg - ABS | VRSCAWA, VRSCDA, VRSCDXA |
| 32 | 72609-08 | SECONDARY LOCK, 2-way - ABS | VRSCAWA, VRSCDA, VRSCDXA |
| 33 | 72610-08 | CABLE SEAL, 18-20 awg - ABS | VRSCAWA, VRSCDA, VRSCDXA |
| 34 | 95594-84 | WEIGHT, 1/4 oz. (black) (4) | VRSCAWA, VRSCD, VRSCDX, VRSCDXA |
| 95595-84 | WEIGHT, 1/4 oz. (silver) (4) | VRSCAW, VRSCAWA |
| Index No. | Part No. | Description | Model(s) |
| 1 | 4042 | SCREW, right (2) | ALL |
| 2 | 4534M | SCREW (4) | ALL |
| 3 | 45069-01 | HOLDER AXLE, right | VRSCAW, VRSCAWA, VRSCD, VRSCDA |
| 46849-07 | HOLDER AXLE, right | VRSCDX, VRSCDXA | |
| 4 | 45070-01 | COVER, slider (2) | VRSCAW, VRSCAWA, VRSCD, VRSCDA |
| 46691-07 | COVER, slider, (gloss black) (2) | VRSCDX, VRSCDXA | |
| 5 | 45611-86 | RETAINING RING | ALL |
| 6 | 45670-80A | CAP, fork stem | VRSCAW, VRSCAWA, VRSCD, VRSCDA |
| 45701-07A | CAP, fork stem | VRSCDX, VRSCDXA | |
| 7 | 45727-08 | WASHER, fork stem nut | ALL |
| 8 | 45718-60 | NUT, fork stem | ALL |
| 9 | 46504-07 | SLIDER TUBE, w/ 46080-01 (2) | ALL |
| 10 | 46505-01 | SLIDER, right | VRSCAW, VRSCAWA, VRSCD, VRSCDA |
| 46764-07 | SLIDER, right | VRSCDX, VRSCDXA | |
| 11 | 46506-01A | SLIDER, left | VRSCAW, VRSCAWA, VRSCD, VRSCDA |
| 46798-07A | SLIDER, left | VRSCDX, VRSCDXA | |
| 12 | 46507-01 | CAP, slider tube (2) | VRSCDX, VRSCDXA |
| 46612-06 | CAP, slider tube (2) | VRSCAW, VRSCAWA, VRSCD, VRSCDA | |
| 13 | 46508-01 | O-RING (2) | ALL |
| 14 | 46509-01 | WASHER, left | ALL |
| 15 | 46510-07 | COLLAR, spring (2) | ALL |
| 16 | 46511-07 | SPRING (2) | ALL |
| 17 | 46512-01 | DUST COVER (2) | ALL |
| 18 | 46513-01 | RING, stopper (2) | ALL |
| 19 | 46514-01 | OIL SEAL (2) | ALL |
| 20 | 46515-01 | SPACER, seal (2) | ALL |
| 21 | 46516-01 | BUSHING GUIDE (2) | ALL |
| 22 | 46517-01 | SPRING (2) | ALL |
| 23 | 46518-01 | SEAT PIPE (2) | VRSCDX, VRSCDXA |
| 46635-07 | SEAT PIPE (2) | VRSCAW, VRSCAWA, VRSCD, VRSCDA | |
| 24 | 46519-01 | STOP OIL LOCK PIECE (2) | ALL |
| 25 | 45405-75A | SCREW | VRSCAW, VRSCAWA, VRSCD, VRSCDA |
| 26 | 46788-06A | STEM & BRACKET, w/ bearing & shield | VRSCAW, VRSCAWA, VRSCD, VRSCDA |
| 46855-07A | STEM & BRACKET, w/ bearing & shield | VRSCDX, VRSCDXA | |
| 27 | 46787-06 | BRACKET UPPER | VRSCAW, VRSCAWA, VRSCD, VRSCDA |
| 46859-07 | BRACKET UPPER | VRSCDX, VRSCDXA | |
| 28 | 46756-07 | FORK ASSEMBLY, right | VRSCAW, VRSCAWA, VRSCD, VRSCDA |
| 46762-07 | FORK ASSEMBLY, right | VRSCDX, VRSCDXA | |
| 29 | 46757-07 | FORK ASSEMBLY, left | VRSCAW, VRSCAWA, VRSCD, VRSCDA |
| 46763-07 | FORK ASSEMBLY, left | VRSCDX, VRSCDXA | |
| 30 | 46080-01 | BUSHING, slider (2) | ALL |
| 31 | 48184-01 | SEAL (2) | ALL |
| 32 | 48300-60 | ROLLER BEARING, w/ cup | ALL |
| 33 | 48315-60 | BEARING CUP (2) | ALL |
| 34 | 48324-00 | SEAT UPPER HEAD CONE | ALL |
| 35 | 59481-00 | REFLECTOR, amber -right hand | VRSCAW, VRSCAWA, VRSCD, VRSCDA |
| 69861-07 | REFLECTOR, amber w/black base - right hand | VRSCDX, VRSCDXA | |
| 36 | 59482-00 | REFLECTOR, amber - left hand | VRSCAW, VRSCAWA, VRSCD, VRSCDA |
| 69862-07 | REFLECTOR, amber w/black base - left hand | VRSCDX, VRSCDXA |
| Index No. | Part No. | Description | Model(s) |
| 1 | 3074M | SCREW (3) | ALL |
| 2 | 4603M | SCREW | ALL |
| 3 | 7433M | LOCKNUT, right | ALL |
| 4 | 54556-84 | BUSHING, damper (2) | VRSCDX, VRSCDXA |
| 5 | 54582-07 | SHOCK ASSEMBLY, rear, w/ 54715-96 (2) | VRSCAW, VRSCAWA |
| 54583-07 | SHOCK ASSEMBLY, rear, w/ 54473-79, 54474-79, 54475-79, & 54710-84 (2) | VRSCD, VRSCDA | |
| 54667-07 | SHOCK ASSEMBLY, rear, w/ 54473-79, 54474-79, 54475-79, & 54556-84 (2) | VRSCDX, VRSCDXA | |
| 6 | 54715-96 | BUSHING, damper (2) | VRSCAW, VRSCAWA |
| 7 | 59018-98 | WASHER (2) | ALL |
| Index No. | Part No. | Description | Model(s) |
| 1 | 554A | COTTER PIN | ALL |
| 2 | 755 | PLUG (1) | VRSCD, VRSCDA |
| 755 | PLUG (3) | VRSCAW, VRSCAWA, VRSCDX, VRSCDXA | |
| 3 | 3292MA | SCREW (2) | ALL |
| 4 | 3755M | SCREW (2) | ALL |
| 5 | 3718M | ANCHOR | ALL |
| 6 | 4530M | SCREW (8) | ALL |
| 7 | 6302 | WASHER (2) | ALL |
| 8 | 6876M | WASHER (2) | ALL |
| 9 | 10065 | CABLE STRAP | ALL |
| 10 | 45804-01 | FORK LOCK, w/ 10065, 71452-91A, & 71578-01 | ALL |
| 11 | 48517-07 | SEAT PAN | VRSCD, VRSCDA |
| 48523-07 | SEAT PAN | VRSCAW, VRSCAWA, VRSCDX, VRSCDXA | |
| 12 | 47765-08 | FRAME ASSEMBLY UPPER (leafy aluminum) | VRSCAW, VRSCAWA |
| 47764-08 | FRAME ASSEMBLY UPPER (black) | VRSCD, VRSCDA, VRSCDX, VRSCDXA | |
| 47959-07BK | FRAME ASSEMBLY UPPER (black) | VRSCAW, VRSCAWA | |
| 13 | 47987-07BGO | FRAME LOWER, left (leafy aluminum) | VRSCAW, VRSCAWA |
| 47987-07BK | FRAME LOWER, left (black) | VRSCAW, VRSCAWA, VRSCD, VRSCDA, VRSCDX, VRSCDXA | |
| 14 | 47988-08BGO | FRAME LOWER, right (leafy aluminum) | VRSCAW, VRSCAWA |
| 47988-08BK | FRAME LOWER, right (black) | VRSCAW, VRSCAWA, VRSCDX, VRSCDXA | |
| 48067-08BK | FRAME LOWER, right (black) | VRSCD, VRSCDA | |
| 15 | 48086-01 | CROSS MEMBER, front | ALL |
| 16 | 48315-60 | BEARING CUP, steering head (2) | ALL |
| 17 | 48486-07 | NUT, shock mount (2) | ALL |
| 18 | 49733-07BGO | LEG, jiffy stand (leafy aluminum) | VRSCAW, VRSCAWA |
| 49733-07BK | LEG, jiffy stand (black) | VRSCAW, VRSCAWA, VRSCD, VRSCDA, VRSCDX, VRSCDXA | |
| 19 | 50003-89B | PIN | ALL |
| 20 | 50005-85A | SPRING | ALL |
| 21 | 53158-98 | BUSHING, jiffy stand (2) | ALL |
| 22 | 62107-01 | BUMPER | ALL |
| 23 | 71452-91A | KEY (specify key code) | ALL |
| 61081-92 | COVER, key head set (not illustrated) (2) | ALL | |
| 24 | 71578-01 | PLUNGER FORK LOCK | ALL |
| 25 | 90520-07 | PLUG | ALL |
| INTERNATIONAL MODELS ONLY | |||
| 26 | 3731M | SCREW (HDI, England, H105) | ALL |
| 27 | 50277-08 | SENSOR, jiffy stand (HDI, England, H105) | ALL |
| 28 | 72169-07 | TERMINAL, pin (HDI, England, H105) (3) | ALL |
| 29 | 72511-07BK | HOUSING, 3-way (HDI, England, H105) | ALL |
| Index No. | Part No. | Description | Model(s) |
| 1 | 3729M | SCREW | ALL |
| 2 | 3755M | SCREW (3) | ALL |
| 3 | 6703 | WASHER | ALL |
| 4 | 6838M | WASHER (3) | ALL |
| 5 | 6864 | PLUG, small (6) | ALL |
| 6 | 10040 | CLIP (2) | ALL |
| 7 | 7460M | LOCKNUT | ALL |
| 8 | 9208 | BEARING | ALL |
| 9 | 10950 | RETAINING RING, internal | ALL |
| 10 | 48606-07 | REAR FORK ASSEMBLY, w/ 48389-01, 48712-07, & pin axle adjuster (polished) | VRSCAW, VRSCAWA, VRSCD, VRSCDA |
| 48612-07 | REAR FORK ASSEMBLY, w/ 48389-01, 48712-07, & pin axle adjuster (black) | VRSCDX, VRSCDXA | |
| 11 | 48386-05 | SPACER, left | ALL |
| 12 | 48389-01 | BUSHING, pivot - right | ALL |
| 13 | 48392-05 | PIVOT SHAFT ASSEMBLY | ALL |
| 14 | 48712-07 | BEARING KIT, w/ 10950, & 9208 | ALL |
| 15 | 60473-07A | DEBRIS DEFLECTOR | ALL |
| 16 | 60474-07 | BELT GUARD | ALL |
| 17 | 67621-94 | BUSHING (3) | ALL |
| Index No. | Part No. | Description | Model(s) |
| 1 | 3108M | SCREW (2) | ALL |
| 2 | 3540 | SCREW | ALL |
| 3 | 6302 | WASHER | ALL |
| 4 | 6838M | WASHER (2) | ALL |
| 5 | 6859M | WASHER | ALL |
| 6 | 7041 | LOCKWASHER | ALL |
| 7 | 7495 | NUT | ALL |
| 8 | 51547-07 | SEAT, rider | VRSCDX, VRSCDXA |
| 9 | 51574-07 | SEAT, passenger | VRSCDX, VRSCDXA |
| 10 | 51952-07 | NUT, seat retention | ALL |
| 11 | 52041-82 | SLEEVE | ALL |
| 12 | 52326-07 | SEAT, rider | VRSCD, VRSCDA |
| 13 | 52371-07 | SEAT, passenger | VRSCD, VRSCDA |
| 14 | 52383-07 | SEAT, rider | VRSCAW, VRSCAWA |
| 51836-08 | SEAT, rider | VRSCAW, VRSCAWA | |
| 15 | 52386-07 | STRAP, seat | ALL |
| 16 | 52387-07 | SEAT, passenger | VRSCAW, VRSCAWA |
| 51864-08 | SEAT, passenger | VRSCAW, VRSCAWA | |
| 17 | 52402-01 | LANYARD, seat | ALL |
| 18 | 52410-07 | SEAT POST | ALL |
| Index No. | Part No. | Description | Model(s) |
| 1 | 3703M | SCREW (4) | VRSCAW, VRSCAWA |
| 2 | 3729M | SCREW (2) | VRSCAW, VRSCAWA |
| 3 | 11304 | RING, retaining (4) | VRSCAW, VRSCAWA |
| 4 | 33048-72 | FOOTREST, w/ 33189-63 (4) | VRSCAW, VRSCAWA |
| 5 | 33189-63 | COVER (black) (4) | VRSCAW, VRSCAWA |
| 6 | 42584-01 | CLEVIS, footrest (2) | VRSCAW, VRSCAWA |
| 7 | 45041-01A | PIN, clevis (4) | VRSCAW, VRSCAWA |
| 8 | 50912-72 | SPRING WASHER (4) | VRSCAW, VRSCAWA |
| 9 | 51180-07 | FOOTREST SUPPORT, passenger - right | VRSCAW, VRSCAWA |
| 10 | 51723-07 | FOOTREST SUPPORT, passenger - left | VRSCAW, VRSCAWA |
| INTERNATIONAL MODELS ONLY | |||
| 11 | 50272-02 | CLEVIS, footrest - right (Japan) | VRSCAW, VRSCAWA |
| 12 | 50274-02 | CLEVIS, footrest - left (Japan) | VRSCAW, VRSCAWA |
| Index No. | Part No. | Description | Model(s) |
| 1 | 3703M | SCREW (4) | VRSCD, VRSCDA, VRSCDX, VRSCDXA |
| 2 | 3729M | SCREW (2) | VRSCDX, VRSCDXA |
| 3 | 3815M | SCREW (2) | VRSCD, VRSCDA |
| 4 | 4250M | SCREW (2) | VRSCD, VRSCDA |
| 5 | 4470M | SCREW | VRSCD, VRSCDA |
| 6 | 4471M | SCREW | VRSCD, VRSCDA |
| 7 | 6874 | WASHER (2) | VRSCD, VRSCDA |
| 8 | 11304 | RING, retaining (4) | VRSCDX, VRSCDXA |
| 11304 | RING, retaining (6) | VRSCD, VRSCDA | |
| 9 | 33084-06 | HEELREST, rider, right | VRSCD, VRSCDA |
| 10 | 33129-06 | WEAR PEG (2) | VRSCDX, VRSCDXA |
| 33129-06 | WEAR PEG (4) | VRSCD, VRSCDA | |
| 11 | 33133-06 | COVER, 4 | VRSCDX, VRSCDXA |
| 33133-06 | COVER (6) | VRSCD, VRSCDA | |
| 12 | 33134-07CAZ | FOOTPEG ASSEMBLY, right, w/ 33133-06 (black) (2) | VRSCDX, VRSCDXA |
| 33134-07CAZ | FOOTPEG ASSEMBLY, right, w/ 33133-06 (black) (3) | VRSCD, VRSCDA | |
| 13 | 33135-07CAZ | FOOTPEG ASSEMBLY, left, w/ 33133-06 (black) (2) | VRSCDX, VRSCDXA |
| 33135-07CAZ | FOOTPEG ASSEMBLY, left, w/ 33133-06 (black) (3) | VRSCD, VRSCDA | |
| 14 | 42584-01 | CLEVIS, footrest (not shown) (2) | VRSCDX, VRSCDXA |
| 15 | 45041-01A | PIN, clevis (4) | VRSCD, VRSCDA, VRSCDX, VRSCDXA |
| 16 | 45065-06 | SPRING (2) | VRSCD, VRSCDA |
| 17 | 45067-06 | PIN (2) | VRSCD, VRSCDA |
| 18 | 49135-06 | FOOTREST SUPPORT HIGHWAY PEGS (2) | VRSCD, VRSCDA |
| 19 | 50912-72 | SPRING WASHER (4) | VRSCD, VRSCDA, VRSCDX, VRSCDXA |
| 20 | 51089-06BK | CLEVIS RIDER, front, right | VRSCD, VRSCDA |
| 21 | 51097-06 | CLEVIS RIDER, front, left | VRSCD, VRSCDA |
| 22 | 51091-06BK | FOOTPEG MOUNTING RIDER, left (black) | VRSCD, VRSCDA |
| 23 | 90520-07 | PLUG (2) | VRSCDX, VRSCDXA |
| 23 | 90520-07 | PLUG (4) | VRSCD, VRSCDA |
| 24 | 51723-07 | FOOTREST SUPPORT PASSENGER, left | VRSCD, VRSCDA, VRSCDX, VRSCDXA |
| 25 | 51722-07 | FOOTREST SUPPORT PASSENGER, right | VRSCD, VRSCDA, VRSCDX, VRSCDXA |
| INTERNATIONAL MODELS ONLY | |||
| 26 | 50272-02 | CLEVIS, footrest - right (Japan) (not shown) | VRSCDX, VRSCDXA |
| 50274-02 | CLEVIS, footrest - left (Japan) (not shown) | VRSCDX, VRSCDXA | |
| Index No. | Part No. | Description | Model(s) |
| 1 | 3385M | SCREW (4) | VRSCD, VRSCDA, VRSCDX, VRSCDXA |
| 2 | 3726M | SCREW (2) | ALL |
| 3 | 11155 | SNAP RING | ALL |
| 4 | 11271 | RETAINING RING, idle control | ALL |
| 5 | 11272 | RETAINING RING, throttle control | ALL |
| 6 | 38653-01 | BOOT, throttle cable | ALL |
| 7 | 55988-04 | HANDLEBAR | VRSCD, VRSCDA |
| 8 | 55999-06 | RISER HANDLEBAR (black) | VRSCD, VRSCDA, VRSCDX, VRSCDXA |
| 9 | 56046-01 | HANDLEBAR | VRSCAW, VRSCAWA |
| 10 | 56206-96 | GRIP, left | VRSCAW, VRSCAWA |
| 11 | 56220-94A | GRIP & SLEEVE, throttle - right | VRSCAW, VRSCAWA |
| 12 | 56284-06 | CLAMP HANDLEBAR (black) | VRSCD, VRSCDA, VRSCDX, VRSCDXA |
| 13 | 56365-01 | THROTTLE CONTROL ASM, w/ 11272, 38653-01, & 56508-76 | VRSCAW, VRSCAWA |
| 56593-04 | THROTTLE CONTROL ASM, w/ 11272, 38653-01, & 56508-76 | VRSCD, VRSCDA | |
| 56984-07 | THROTTLE CONTROL ASSEMBLY, w/ 11272, & 38653-01 | VRSCDX, VRSCDXA | |
| 14 | 56367-01 | IDLE CONTROL ASSEMBLY, w/ 11271 & 56508-76 | VRSCAW, VRSCAWA |
| 56594-04 | IDLE CONTROL ASSEMBLY, w/ 11271 & 56508-76 | VRSCD, VRSCDA | |
| 56985-07 | IDLE CONTROL ASSEMBLY, w/ 11271 & 38653-01 | VRSCDX, VRSCDXA | |
| 15 | 56394-74 | SPRING, adjusting screw | ALL |
| 16 | 56396-74A | FRICTION SPRING, throttle | ALL |
| 17 | 56402-83A | ADJUSTING SCREW | ALL |
| 18 | 56508-76 | FERRULE, control wire (2) | ALL |
| 19 | 56666-04 | GRIP & SLEEVE, throttle - right | VRSCD, VRSCDA, VRSCDX, VRSCDXA |
| 20 | 56667-04 | GRIP, left | VRSCD, VRSCDA, VRSCDX, VRSCDXA |
| 21 | 56953-07 | HANDLEBAR | VRSCDX, VRSCDXA |
| 22 | 70345-84 | RETAINER (2) | VRSCAW, VRSCAWA |
| 70345-84 | RETAINER (4) | VRSCD, VRSCDA | |
| 23 | 70504-81 | CLIP, throttle cables | ALL |
| Index No. | Part No. | Description | Model(s) |
| 1 | 2955 | SCREW (4) | ALL |
| 2 | 3658 | SCREW (4) | ALL |
| 3 | 10181 | CABLE STRAP (as required) | ALL |
| 4 | 70010-03 | CONDUIT, 3/8 in. I.D. (25' length) (silver) | ALL |
| 5 | 70345-84 | RETAINER (2) | VRSCAW, VRSCAWA, VRSCDX, VRSCDXA |
| 70345-84 | RETAINER (4) | VRSCD, VRSCDA | |
| 6 | 71509-00 | CLIP | ALL |
| 7 | 71589-96B | SWITCH ASSEMBLY, engine stop/start, w/ 10181 & 72266-94 | ALL |
| 8 | 71590-96A | STOPLAMP & CLUTCH SWITCH w/10181 & 72266-94 (2) | ALL |
| 9 | 71591-00 | SWITCH ASSEMBLY, right turn signal, w/ 10181 & 72266-94 | ALL |
| 10 | 71597-96B | SWITCH ASSEMBLY, dimmer & horn, w/ 10181 & 72266-94 | ALL |
| 11 | 71598-00 | SWITCH ASSEMBLY, left turn signal, w/ 10181 | ALL |
| 12 | 71568-96A | HOUSING, lower - left (black) | ALL |
| 13 | 71567-96 | HOUSING, upper - left (black) | ALL |
| 14 | 71563-96 | HOUSING, lower - right (black) | ALL |
| 15 | 71564-96 | HOUSING, upper - right (black) | ALL |
| 16 | 72188-07BK | HOUSING, 6-way - right (black) | ALL |
| 17 | 72447-07GY | HOUSING, 8-way - left (gray) | ALL |
| 18 | 72169-07 | TERMINAL, socket (14) | ALL |
| 19 | 72266-94 | HEAT SHRINK TUBE, dual wall, .3 x 2 in. (as required) | ALL |
| Index No. | Part No. | Description | Model(s) |
| 1 | 3385M | SCREW (2) | VRSCD, VRSCDA, VRSCDX, VRSCDXA |
| 2 | 3514 | SCREW | VRSCD, VRSCDA, VRSCDX, VRSCDXA |
| 3 | 3709M | SCREW (2) | VRSCAW, VRSCAWA |
| 4 | 3753M | SCREW (2) | VRSCAW, VRSCAWA |
| 5 | 3832M | SCREW (2) | VRSCAW, VRSCAWA |
| 6 | 6839M | WASHER | VRSCD, VRSCDA, VRSCDX, VRSCDXA |
| 7 | 3853M | SCREW (6) | VRSCAW, VRSCAWA |
| 8 | 3919M | SCREW | VRSCD, VRSCDA, VRSCDX, VRSCDXA |
| 9 | 4363 | SCREW (4) | VRSCD, VRSCDA, VRSCDX, VRSCDXA |
| 10 | 6424 | WASHER (4) | VRSCD, VRSCDA, VRSCDX, VRSCDXA |
| 11 | 7427M | NUT | VRSCD, VRSCDA, VRSCDX, VRSCDXA |
| 12 | 7606 | LOCKNUT | VRSCD, VRSCDA, VRSCDX, VRSCDXA |
| 13 | 9847 | CONNECTOR, right hand, spade female | VRSCD, VRSCDA, VRSCDX, VRSCDXA |
| 14 | 9848 | CONNECTOR, left hand, spade female (2) | VRSCD, VRSCDA, VRSCDX, VRSCDXA |
| 15 | 10065 | CABLE STRAP | VRSCAW, VRSCAWA |
| 16 | 67657-05 | HARNESS HEADLAMP | VRSCAW, VRSCAWA |
| 17 | 67717-01 | BULB - high beam | VRSCAW, VRSCAWA |
| 18 | 67667-05 | MEDALLION | VRSCD, VRSCDA, VRSCDX, VRSCDXA |
| 19 | 67790-93A | BEZEL | VRSCD, VRSCDA, VRSCDX, VRSCDXA |
| 20 | 67883-04A | RING, lamp adaptor | VRSCD, VRSCDA, VRSCDX, VRSCDXA |
| 21 | 68134-97 | SEAL | VRSCD, VRSCDA, VRSCDX, VRSCDXA |
| 22 | 68297-05 | LAMP ASSEMBLY 5-3/4 in. | VRSCD, VRSCDA, VRSCDX, VRSCDXA |
| 23 | 68329-03 | BULB HB2/H4 | VRSCD, VRSCDA, VRSCDX, VRSCDXA |
| 24 | 68380-05 | BOOT HB2/H4 | VRSCD, VRSCDA, VRSCDX, VRSCDXA |
| 25 | 68807-01 | BRACKET, reflector mounting (2) | VRSCAW, VRSCAWA |
| 26 | 68254-01 | REFLECTOR ASSEMBLY, headlamp, w/ 3853M & 68807-01 | VRSCAW, VRSCAWA |
| 27 | 68880-01 | HEADLAMP ASSEMBLY (Domestic/ California/ Canada), silver | VRSCAW, VRSCAWA |
| 69873-07 | HEADLAMP ASSEMBLY (black) | VRSCAW | |
| 28 | 68881-01 | BULB - low beam | VRSCAW, VRSCAWA |
| 29 | 68884-01 | BRACKET, headlamp mounting (chrome) | VRSCAW, VRSCAWA |
| Index No. | Part No. | Description | Model(s) |
| 30 | 68971-98B | VISOR KIT - primed | VRSCD, VRSCDA, VRSCDX, VRSCDXA |
| 31 | 69271-06 | BRACKET, headlamp assembly | VRSCD, VRSCDA, VRSCDX, VRSCDXA |
| 32 | 69356-06 | HEADLAMP BUCKET | VRSCD, VRSCDA, VRSCDX, VRSCDXA |
| 33 | 72056-92 | HOUSING TERMINAL, female - 3-way | VRSCD, VRSCDA, VRSCDX, VRSCDXA |
| 34 | 72449-01 | HOUSING SOCKET - 2-way (black) | VRSCAW, VRSCAWA |
| 35 | 72450-01 | HOUSING SOCKET - 2-way (gray) | VRSCAW, VRSCAWA |
| 36 | 72527-01 | SOCKET TERMINAL, #18-20 AWG. (4) | VRSCAW, VRSCAWA |
| 37 | 72633-02 | SEAL WIRE, 14-16 AWG. (white) (4) | VRSCAW, VRSCAWA |
| 38 | 73154-96BK | SOCKET HOUSING - 4-way | ALL |
| 39 | 73191-96 | SOCKET CONTACT 20-16 gauge (as required) | ALL |
| 40 | 90339-06 | BRACKET, headlamp visor | VRSCD, VRSCDA, VRSCDX, VRSCDXA |
| INTERNATIONAL MODELS ONLY | |||
| 41 | 9898 | TERMINAL (2) (HDI) | VRSCD, VRSCDA, VRSCDX, VRSCDXA |
| 42 | 53436-97 | BULB, position lamp (HDI) | VRSCAW, VRSCAWA |
| 43 | 53438-92 | BULB, position lamp (HDI) | VRSCD, VRSCDA, VRSCDX, VRSCDXA |
| 44 | 67658-05 | HARNESS HEADLAMP (HDI) | VRSCAW, VRSCAWA |
| 45 | 68255-01 | REFLECTOR ASSEMBLY, headlamp - right dip (HDI) | VRSCAW, VRSCAWA |
| 68256-01 | REFLECTOR ASSEMBLY, headlamp - left dip (HDI) | VRSCAW, VRSCAWA | |
| 46 | 68335-05 | LAMP ASSEMBLY 5-3/4 in. - left dip (England, Australia, Japan) | VRSCD, VRSCDA, VRSCDX, VRSCDXA |
| 68341-05 | LAMP ASSEMBLY 5-3/4 in. - right dip (HDI) | VRSCD, VRSCDA, VRSCDX, VRSCDXA | |
| 47 | 68650-92 | SOCKET, bulb (HDI) | VRSCD, VRSCDA, VRSCDX, VRSCDXA |
| 48 | 68882-01A | HEADLAMP ASSEMBLY - left dip (England, Australia, Japan) | VRSCAW, VRSCAWA |
| 69874-07 | HEADLAMP ASSEMBLY - right dip (black) | VRSCAW | |
| 69875-07 | HEADLAMP ASSEMBLY - left dip (black) | VRSCAW | |
| 68883-01A | HEADLAMP ASSEMBLY - right dip (HDI) | VRSCAW, VRSCAWA | |
| 49 | 69356-06 | HEADLAMP BUCKET (HDI, England, Australia, Japan) | VRSCD, VRSCDA, VRSCDX, VRSCDXA |
| Index No. | Part No. | Description | Model(s) |
| 1 | 3709M | SCREW (4) | ALL |
| 2 | 3731M | SCREW (4) | ALL |
| 3 | 7495 | NUT (4) | ALL |
| 4 | 59020-01A | BRACKET FENDER, front | VRSCAW, VRSCAWA, VRSCD, VRSCDA |
| 59447-07 | BRACKET FENDER, front | VRSCDX, VRSCDXA | |
| 5 | 59789-07BEO | FENDER, front (prime) | ALL |
| NOTE: For fender color part numbers see Service Section of h-dnet.com | |||
| Index No. | Part No. | Description | Model(s) |
| 1 | 3108M | SCREW (6) | ALL |
| 2 | 6838M | WASHER (6) | ALL |
| 3 | 59605-07BEO | FENDER REAR, outer (prime) | VRSCD, VRSCDA |
| 59823-07BEO | FENDER REAR, outer (prime) | VRSCAW, VRSCAWA, VRSCDX, VRSCDXA | |
| 4 | 59690-07 | MUDFLAP | ALL |
| 5 | 69490-07 | REFLECTOR, rear fender (2) | VRSCD, VRSCDA |
| NOTE: For fender color part numbers see Service Section of h-dnet.com | |||
| Index No. | Part No. | Description | Model(s) |
| 1 | 7127 | LOCKWASHER (2) | ALL |
| 2 | 7744 | JAM NUT (2) | ALL |
| 3 | 67822-88 | BALL STUD (2) | ALL |
| 4 | 67827-88A | CLAMP, ball stud (2) | ALL |
| 5 | 67831-03 | RETAINER (2) | ALL |
| 6 | 68168-89A | BULB, front turn signals (2) | VRSCAW, VRSCAWA, VRSCD, VRSCDA |
| 69331-02 | BULB, front turn signals (2) | VRSCDX, VRSCDXA | |
| 7 | 68904-00 | SOCKET ASSEMBLY (2) | ALL |
| 8 | 68972-00 | TURN SIGNAL SUBASSEMBLY, w/ 6, 7, & 9 (2) | VRSCAW, VRSCAWA |
| 68804-06 | TURN SIGNAL SUBASSEMBLY, w/ 6, 7, & 9 (2) | VRSCD, VRSCDA | |
| 69587-07 | TURN SIGNAL SUBASSEMBLY, w/ 6, 7, & 9 (2) | VRSCDX, VRSCDXA | |
| 9 | 68973-00 | LENS (2) | VRSCAW, VRSCAWA, VRSCD, VRSCDA |
| 69325-02 | LENS (2) | VRSCDX, VRSCDXA | |
| 10 | 73156-96BK | SOCKET HOUSING, 6-place | ALL |
| 11 | 73191-96 | SOCKET CONTACT, 16-20 gauge (6) | ALL |
| INTERNATIONAL MODELS ONLY | |||
| 12 | 68163-84 | BULB, P21W (HDI) (2) | ALL |
| 13 | 68906-00 | SOCKET ASSEMBLY (HDI) (2) | ALL |
| 14 | 68975-00 | TURN SIGNAL, w/ 12, 13, & 15 (HDI) (2) | VRSCAW, VRSCAWA |
| 68838-06 | TURN SIGNAL, w/ 12, 13, & 15 (HDI) (2) | VRSCD, VRSCDA, VRSCDX, VRSCDXA | |
| 15 | 68976-00 | LENS (HDI) (2) | ALL |
| Index No. | Part No. | Description | Model(s) |
| 1 | 4593M | SCREW (4) | ALL |
| 2 | 7495 | NUT (4) | ALL |
| 3 | 53436-97 | BULB, license plate illumination (2) | ALL |
| 4 | 59407-01 | REFLECTOR, side - left/right (2) | VRSCAW, VRSCAWA, VRSCDX, VRSCDXA |
| 4A | 59464-06 | STUD PLATE (2) | ALL |
| 5 | 59557-07A | SHROUD, tail lamp | ALL |
| 6 | 59988-72A | REFLECTOR | ALL |
| 7 | 68163-84 | BULB, turn signal (2) | VRSCAW, VRSCAWA, VRSCD, VRSCDA |
| 69330-02 | BULB, turn signal (2) | VRSCDX, VRSCDXA | |
| 8 | 68168-89A | BULB, tail lamp | ALL |
| 9 | 68205-07 | LAMP ASM, license plate illum., w/ 53436-97, &73191-96 | ALL |
| 10 | 68324-01 | BULB SOCKET ASSEMBLY | ALL |
| 11 | 68326-01A | ENVELOPE ASSEMBLY, tail lamp | ALL |
| 12 | 68340-01 | BRACKET, reflector rear, w/ 59988-72A | ALL |
| 13 | 68876-07 | TAIL LAMP ASSEMBLY, w/ 68168-89A, 68324-01, & 68326-01A | ALL |
| 14 | 69051-07A | LICENSE PLATE BRACKET, rear lighting (not shown) | VRSCD, VRSCDA |
| 69086-07A | LICENSE PLATE BRACKET, rear lighting | VRSCAW, VRSCAWA, VRSCDX, VRSCDXA | |
| 15 | 69066-01A | SOCKET ASSEMBLY, turn signal (2) | ALL |
| 16 | 69110-01 | LENS, turn signal (2) | VRSCAW, VRSCAWA, VRSCD, VRSCDA |
| 69323-02 | LENS, turn signal (2) | VRSCDX, VRSCDXA | |
| 17 | 69148-01 | SUPPORT PLATE (2) | VRSCD, VRSCDA |
| 69190-07 | SUPPORT PLATE (2) | VRSCAW, VRSCAWA, VRSCDX, VRSCDXA | |
| 18 | 69581-07 | TURN SIGNAL ASSEMBLY, w/ 68163-84, 69066-01A, 69110-01, & 73191-96 (2) | VRSCAW, VRSCAWA, VRSCD, VRSCDA |
| 69584-07 | TURN SIGNAL ASSEMBLY, w/ 69066-01A, 69323-02, 69330-02 & 73191-96 (2) | VRSCDX, VRSCDXA | |
| 19 | 72412-97 | CABLE SEAL (3) | ALL |
| 20 | 73154-96BK | HOUSING SOCKET, 4-way (black) | ALL |
| 21 | 73156-96BK | HOUSING SOCKET, 6-way (black) | ALL |
| 22 | 73191-96 | TERMINAL (as required) | ALL |
| INTERNATIONAL MODELS ONLY | |||
| 23 | 53436-97 | BULB, license plate illumination (HDI) (2) | ALL |
| 24 | 59259-90 | REFLECTOR (HDI) | ALL |
| 25 | 59407-01 | REFLECTOR, side - right/left (HDI) (2) | VRSCAW, VRSCAWA, VRSCDX, VRSCDXA |
| 26 | 60119-03 | BRACKET, reflector (HDI) | ALL |
| 27 | 68163-84 | BULB, turn signal (HDI) (2) | ALL |
| 28 | 68169-90A | BULB, tail lamp (HDI) | ALL |
| 29 | 68205-07 | LAMP ASM, license plate illum., w/ 53436-97, 73191-96 (HDI) | ALL |
| 30 | 68325-07 | BULB SOCKET ASSEMBLY (HDI) | ALL |
| 31 | 68327-01A | ENVELOPE ASSEMBLY, tail lamp (HDI) | ALL |
| 32 | 68879-07 | TAIL LAMP ASSEMBLY, w/ 68169-90A, 68325-07, & 68327-01A (HDI) | ALL |
| 33 | 68985-07 | TURN SIGNAL ASSEMBLY (HDI) (2) | VRSCD, VRSCDA |
| 69583-07 | TURN SIGNAL ASSEMBLY, w/ 68163-84, 69068-01A, 69110-01, & 73191-96 (HDI) (2) | VRSCAW, VRSCAWA, VRSCDX, VRSCDXA | |
| 34 | 69051-07A | LICENSE PLATE BRACKET, rear lighting (not shown) (HDI) | VRSCD, VRSCDA |
| 69086-07A | LICENSE PLATE BRACKET, rear lighting (HDI) | VRSCAW, VRSCAWA, VRSCDX, VRSCDXA | |
| 35 | 69068-01A | SOCKET ASSEMBLY, turn signal (HDI) (2) | ALL |
| 36 | 69110-01 | LENS, turn signal (HDI) (2) | ALL |
| Index No. | Part No. | Description | Model(s) |
| 1 | 3700MA | SCREW (2) | ALL |
| 2 | 4484M | SCREW (6) | ALL |
| 3 | 6856M | WASHER (2) | ALL |
| 4 | 10108 | CLIP | ALL |
| 5 | 10297 | CLAMP (2) | ALL |
| 6 | 11570 | O-RING | ALL |
| 7 | 11630 | O-RING (2) | ALL |
| 8 | 11632 | SNAP RING | ALL |
| 9 | 27431-07A | TUBE ASSEMBLY, tank to vapor valve | ALL |
| 10 | 60970-07 | BRACKET, fuel tank | ALL |
| 11 | 61109-85D | GASKET, filler cap | ALL |
| 12 | 61274-92 | FILLER CAP, w/ 61109-85D | ALL |
| 13 | 61284-06 | CLAMP RING | ALL |
| 14 | 61285-06 | PAD | ALL |
| 15 | 61504-07 | FUEL LINE, pressure | ALL |
| 16 | 61505-07 | FUEL LINE, return | ALL |
| 17 | 62109-07 | FUEL PUMP | ALL |
| 18 | 62113-07 | HOSE, filter to fuel | ALL |
| 19 | 62921-07 | FUEL TANK ASSEMBLY, w/ 61285-06 | ALL |
| 20 | 72169-07 | TERMINAL PIN (3) | ALL |
| 21 | 72506-07 | CONNECTOR, 4-way | ALL |
| 22 | 72541-07BN | HOUSING, 3-way (brown) | ALL |
| 23 | 75169-07 | FILTER, pressure side | ALL |
| 24 | 75210-07A | SENSOR, fuel level w/ 11630, 72169-07, & 72541-07BN | ALL |
| 25 | 75254-04A | STRAINER, fuel pump inlet | ALL |
| 26 | 75272-07 | FLANGE, fuel module | ALL |
| 27 | 75274-07 | ELECTRICAL HARNESS | ALL |
| 28 | 75310-07 | FUEL MODULE ASSEMBLY | ALL |
| Index No. | Part No. | Description | Model(s) |
| 1 | 3709M | SCREW (7) | VRSCAW, VRSCAWA |
| 2 | 4608M | SCREW (5) | VRSCAW, VRSCAWA |
| 3 | 6302 | WASHER (7) | VRSCAW, VRSCAWA |
| 4 | 7432M | NUT (5) | VRSCAW, VRSCAWA |
| 5 | 7495 | NUT | VRSCAW, VRSCAWA |
| 6 | 8070M | NUT (5) | VRSCAW, VRSCAWA |
| 7 | 9954 | CLAMP (6) | VRSCAW, VRSCAWA |
| 8 | 27703-08 | OXYGEN SENSOR, w/ 27714-06, 72009-05, & 72011-05 (2) | VRSCAW, VRSCAWA |
| 9 | 27714-06 | SEAL RING (2) | VRSCAW, VRSCAWA |
| 10 | 64751-08 | EXHAUST PIPE, front (chrome) | VRSCAW, VRSCAWA |
| 11 | 64752-08 | EXHAUST PIPE, rear (chrome) | VRSCAW, VRSCAWA |
| 12 | 64930-01 | PIN | VRSCAW, VRSCAWA |
| 13 | 65043-01A | CLAMP, exhaust | VRSCAW, VRSCAWA |
| 14 | 65045-01 | RETAINING RING (2) | VRSCAW, VRSCAWA |
| 15 | 65046-01 | SHIELD, lower exhaust (chrome) | VRSCAW, VRSCAWA |
| 16 | 65102-01 | FLANGE, exhaust (2) | VRSCAW, VRSCAWA |
| 17 | 65106-01 | SUPPORT BAR | VRSCAW, VRSCAWA |
| 18 | 65107-01 | ISOLATOR MOUNT | VRSCAW, VRSCAWA |
| 19 | 65108-01 | CLAMP, exhaust (2) | VRSCAW, VRSCAWA |
| 20 | 65109-01 | SEAL, exhaust (2) | VRSCAW, VRSCAWA |
| 21 | 65110-01 | SHIELD EXHAUST ASSEMBLY, front (chrome) | VRSCAW, VRSCAWA |
| 22 | 65111-01A | SHIELD EXHAUST ASSEMBLY, rear (chrome) | VRSCAW, VRSCAWA |
| 23 | 65112-01 | SHIELD, upper exhaust (chrome) | VRSCAW, VRSCAWA |
| 24 | 65113-07 | EXHAUST SUPPORT | VRSCAW, VRSCAWA |
| 25 | 65151-01B | AUXILIARY VOLUME (Domestic, California, Canada) | VRSCAW, VRSCAWA |
| 26 | 65152-01A | MUFFLER, rear (Domestic, California, Canada, HDI, Australia, England) | VRSCAW, VRSCAWA |
| 27 | 65153-01A | MUFFLER, front (Domestic, California, Canada, HDI, Australia, England) | VRSCAW, VRSCAWA |
| 28 | 65165-01 | BRACKET, exhaust support | VRSCAW, VRSCAWA |
| 29 | 65200-01 | RUBBER ISOLATOR (2) | VRSCAW, VRSCAWA |
| 30 | 70580-08 | BRACKET, oxygen sensor - rear | VRSCAW, VRSCAWA |
| 31 | 72009-05 | PIN HOUSING, 2-way (2) | VRSCAW, VRSCAWA |
| 32 | 72011-05 | WIRE SEAL, 16-20 AWG (yellow) (4) | VRSCAW, VRSCAWA |
| INTERNATIONAL MODELS ONLY | |||
| 33 | 64929-08 | AUXILIARY VOLUME (HDI, Australia, England, 105 H.P.) | VRSCAW, VRSCAWA |
| 64908-04A | AUXILIARY VOLUME (Japan) | VRSCAW, VRSCAWA | |
| 34 | 64909-04 | MUFFLER, rear (Japan) | VRSCAW, VRSCAWA |
| 35 | 64911-04 | MUFFLER, front (Japan) | VRSCAW, VRSCAWA |
| Index No. | Part No. | Description | Model(s) |
| 1 | 3709M | SCREW (5) | VRSCD, VRSCDA |
| 2 | 4608M | SCREW (6) | VRSCD, VRSCDA |
| 3 | 4250M | SCREW | VRSCD, VRSCDA |
| 4 | 4485M | SCREW (2) | VRSCD, VRSCDA |
| 5 | 6302 | WASHER (8) | VRSCD, VRSCDA |
| 6 | 7432M | NUT (4) | VRSCD, VRSCDA |
| 7 | 7495 | NUT | VRSCD, VRSCDA |
| 8 | 8070M | NUT (6) | VRSCD, VRSCDA |
| 9 | 9954 | CLAMP (6) | VRSCD, VRSCDA |
| 10 | 27703-08 | OXYGEN SENSOR, w/ 27714-06, 72009-05, & 72011-05 (2) | VRSCD, VRSCDA |
| 11 | 27714-06 | SEAL RING (2) | VRSCD, VRSCDA |
| 12 | 64751-08 | EXHAUST PIPE, front (chrome) | VRSCD, VRSCDA |
| 13 | 64752-08 | EXHAUST PIPE, rear (chrome) | VRSCD, VRSCDA |
| 14 | 65043-01A | CLAMP, exhaust | VRSCD, VRSCDA |
| 15 | 65045-01 | RETAINING RING (2) | VRSCD, VRSCDA |
| 16 | 65102-01 | FLANGE, exhaust (2) | VRSCD, VRSCDA |
| 17 | 65108-01 | CLAMP, exhaust (2) | VRSCD, VRSCDA |
| 18 | 65109-01 | SEAL, exhaust (2) | VRSCD, VRSCDA |
| 19 | 65110-01 | SHIELD EXHAUST ASSEMBLY, front (chrome) | VRSCD, VRSCDA |
| 20 | 65111-01A | SHIELD EXHAUST ASSEMBLY, rear (chrome) | VRSCD, VRSCDA |
| 21 | 65204-06 | SHIELD, upper exhaust (chrome) | VRSCD, VRSCDA |
| 22 | 65205-06 | SHIELD, lower exhaust (chrome) | VRSCD, VRSCDA |
| 23 | 65206-06A | AUXILIARY VOLUME (Domestic, California, Canada) | VRSCD, VRSCDA |
| 24 | 65215-06A | MUFFLER, top (Domestic, Cal., Canada, HDI, Australia, England, 105) | VRSCD, VRSCDA |
| 25 | 65226-06A | MUFFLER, bottom (Domestic, Cal., Canada, HDI, Australia, England, 105) | VRSCD, VRSCDA |
| 26 | 66777-07 | SUPPORT ASSEMBLY EXHAUST | VRSCD, VRSCDA |
| 27 | 65633-06 | STRAP | VRSCD, VRSCDA |
| 28 | 66820-06 | SHIELD, pipe lower | VRSCD, VRSCDA |
| 29 | 70580-08 | BRACKET, oxygen sensor - rear | VRSCD, VRSCDA |
| 30 | 72009-05 | PIN HOUSING, 2-way (2) | VRSCD, VRSCDA |
| 31 | 72011-05 | WIRE SEAL, 16-20 AWG (yellow) (4) | VRSCD, VRSCDA |
| INTERNATIONAL MODELS ONLY | |||
| 32 | 65211-08 | AUXILIARY VOLUME (HDI, Australia, England, 105) | VRSCD, VRSCDA |
| 65246-06A | AUXILIARY VOLUME (Japan) | VRSCD, VRSCDA | |
| 33 | 65428-06A | MUFFLER, top (Japan) | VRSCD, VRSCDA |
| 34 | 65429-06A | MUFFLER, bottom (Japan) | VRSCD, VRSCDA |
| Index No. | Part No. | Description | Model(s) |
| 1 | 3709M | SCREW (5) | VRSCDX, VRSCDXA |
| 2 | 4250M | SCREW | VRSCDX, VRSCDXA |
| 3 | 4485M | SCREW (2) | VRSCDX, VRSCDXA |
| 4 | 4560M | SCREW (4) | VRSCDX, VRSCDXA |
| 5 | 4561M | SCREW (6) | VRSCDX, VRSCDXA |
| 6 | 4608M | SCREW (6) | VRSCDX, VRSCDXA |
| 7 | 6302 | WASHER (8) | VRSCDX, VRSCDXA |
| 8 | 6454 | WASHER (6) | VRSCDX, VRSCDXA |
| 9 | 6917M | WASHER (6) | VRSCDX, VRSCDXA |
| 10 | 7081 | LOCKWASHER (6) | VRSCDX, VRSCDXA |
| 11 | 7432M | NUT (4) | VRSCDX, VRSCDXA |
| 12 | 7495 | NUT | VRSCDX, VRSCDXA |
| 13 | 8006 | NUT (4) | VRSCDX, VRSCDXA |
| 14 | 8070M | NUT (6) | VRSCDX, VRSCDXA |
| 15 | 9954 | CLAMP (6) | VRSCDX, VRSCDXA |
| 16 | 27703-08 | OXYGEN SENSOR, w/ 27714-06, 72009-05, & 72011-05 (2) | VRSCDX, VRSCDXA |
| 17 | 27714-06 | SEAL RING (2) | VRSCDX, VRSCDXA |
| 18 | 64751-08 | EXHAUST PIPE, front (chrome) | VRSCDX, VRSCDXA |
| 19 | 64752-08 | EXHAUST PIPE, rear (chrome) | VRSCDX, VRSCDXA |
| 20 | 64801-07A | SHIELD EXHAUST ASSEMBLY, rear (black) | VRSCDX, VRSCDXA |
| 21 | 64802-07 | SHIELD EXHAUST ASSEMBLY, front (black) | VRSCDX, VRSCDXA |
| 22 | 64803-07 | SHIELD, lower exhaust (black) | VRSCDX, VRSCDXA |
| 23 | 64810-07 | SHIELD, upper exhaust (black) | VRSCDX, VRSCDXA |
| 24 | 64813-07 | AUXILIARY VOLUME (Domestic, California, Canada) | VRSCDX, VRSCDXA |
| 25 | 65043-01A | CLAMP, exhaust | VRSCDX, VRSCDXA |
| 26 | 65045-01 | RETAINING RING (2) | VRSCDX, VRSCDXA |
| 27 | 65089-05A | MUFFLER, top (Domestic, Cal., Canada, HDI, Australia, England, 105) | VRSCDX, VRSCDXA |
| 28 | 65096-05A | MUFFLER, bottom (Domestic, Cal., Canada, HDI, Australia, England, 105) | VRSCDX, VRSCDXA |
| 29 | 65102-01 | FLANGE, exhaust (2) | VRSCDX, VRSCDXA |
| 30 | 65108-01 | CLAMP, exhaust (2) | VRSCDX, VRSCDXA |
| 31 | 65109-01 | SEAL, exhaust (2) | VRSCDX, VRSCDXA |
| 32 | 65341-07 | ENDCAP, muffler inlet (black) (2) | VRSCDX, VRSCDXA |
| 33 | 65342-07 | ENDCAP, muffler outlet (black) (2) | VRSCDX, VRSCDXA |
| 34 | 66777-07 | SUPPORT ASSEMBLY EXHAUST | VRSCDX, VRSCDXA |
| 35 | 70580-08 | BRACKET, oxygen sensor - rear | VRSCDX, VRSCDXA |
| 36 | 72009-05 | PIN HOUSING, 2-way (2) | VRSCDX, VRSCDXA |
| 37 | 72011-05 | WIRE SEAL, 16-20 AWG (yellow) (4) | VRSCDX, VRSCDXA |
| INTERNATIONAL MODELS ONLY | |||
| 38 | 64814-08 | AUXILIARY VOLUME (HDI, Australia, England, 105) | VRSCDX, VRSCDXA |
| 64815-07 | AUXILIARY VOLUME (Japan) | VRSCDX, VRSCDXA | |
| 39 | 64816-07A | MUFFLER, bottom (Japan) | VRSCDX, VRSCDXA |
| 40 | 64817-07A | MUFFLER, top (Japan) | VRSCDX, VRSCDXA |
| Index No. | Part No. | Description | Model(s) |
| 1 | 965M | SCREW | ALL |
| 2 | 4312B | SCREW (2) | ALL |
| 3 | 4576M | SCREW (2) | ALL |
| 4 | 7495 | NUT (4) | ALL |
| 5 | 10006 | CABLE STRAP | ALL |
| 6 | 65989-97B | BATTERY, w/ 4312B | ALL |
| 7 | 66017-01 | BATTERY STRAP | ALL |
| 8 | 66056-00 | ADAPTER KIT, w/ 7495 | ALL |
| 9 | 66494-01 | PAD, battery (1) | ALL |
| 10 | 70003-04 | COVER, battery terminal | ALL |
| 11 | 70106-07 | CABLE, battery to solenoid w/ 10065, & 70003-04 | ALL |
| 12 | 70393-07 | BATTERY TRAY | ALL |
| 13 | 70110-07 | CABLE ASSEMBLY, battery - negative to engine | ALL |
| 14 | 70441-01 | CABLE ASSEMBLY, engine to chassis guard, w/ boot 70578-89 | ALL |
| 15 | 70473-07 | BATTERY CADDY, left | ALL |
| 16 | 70475-07 | BATTERY CADDY, right | ALL |
| 17 | 70578-89 | BOOT | ALL |
| Index No. | Part No. | Description | Model(s) |
| 1 | 3386 | SCREW (4) | VRSCD, VRSCDA, VRSCDX, VRSCDXA |
| 2 | 3707M | SCREW (2) | VRSCAW, VRSCAWA |
| 3 | 3759M | SCREW (2) | VRSCAW, VRSCAWA |
| 4 | 3798M | SCREW (2) | VRSCD, VRSCDA, VRSCDX, VRSCDXA |
| 5 | 46095-04BGO | COVER HANDLEBAR, bottom | VRSCAW, VRSCAWA |
| 46095-08BK | COVER HANDLEBAR, bottom | VRSCAW, VRSCAWA | |
| 6 | 46096-04BGO | COVER HANDLEBAR, top | VRSCAW, VRSCAWA |
| 46096-08BK | COVER HANDLEBAR, top | VRSCAW, VRSCAWA | |
| 7 | 46383-06 | INSTRUMENT HOUSING (gloss black) | VRSCD, VRSCDA, VRSCDX, VRSCDXA |
| 8 | 67392-07A | INSTRUMENT CLUSTER, mph, w/ 67854-98, & 67880-94 (Domestic, California) | VRSCAW, VRSCAWA |
| 9 | 67399-01 | BEZEL, instrument housing | VRSCAW, VRSCAWA |
| 10 | 67453-07A | INSTRUMENT CLUSTER, mph, w/ 67854-98 & 67880-94 (Domestic, California) | VRSCD, VRSCDA, VRSCDX, VRSCDXA |
| 11 | 67591-04 | BEZEL, instrument housing | VRSCD, VRSCDA |
| 71352-07 | BEZEL, instrument housing | VRSCDX, VRSCDXA | |
| 12 | 67854-98 | SWITCH, reset, w/ 70585-93 | ALL |
| 13 | 67880-94 | BOOT, reset switch | ALL |
| 14 | 70585-93 | CONNECTOR (2) | ALL |
| 15 | 74191-98 | SOCKET TERMINAL (2) | ALL |
| INTERNATIONAL MODELS ONLY | |||
| 16 | 67308-07A | INSTRUMENT CLUSTER, kph, w/ 67854-98 & 67880-94 (Canada, HDI, Australia, Japan, & H105) | VRSCD, VRSCDA, VRSCDX, VRSCDXA |
| 17 | 67393-07A | INSTRUMENT CLUSTER, kph, w/ 67854-98 & 67880-94 (Canada, HDI, Australia, Japan, & H105) | VRSCAW, VRSCAWA |
| 18 | 67394-07A | INSTRUMENT CLUSTER, dual mph/kph, w/ 67854-98 & 67880-94 (England) | ALL |
| Index No. | Part No. | Description | Model(s) |
| 1 | 3701M | SCREW | ALL |
| 2 | 3711M | SCREW (2) | ALL |
| 3 | 3724M | ACORN NUT | ALL |
| 4 | 6839M | WASHER | ALL |
| 5 | 7435M | LOCKNUT | ALL |
| 6 | 7495 | NUT | ALL |
| 7 | 7999M | NUT (2) | ALL |
| 8 | 69040-01A | HORN COVER (chrome) | VRSCAW, VRSCAWA, VRSCD, VRSCDA |
| 69537-07 | HORN COVER (black) | VRSCDX, VRSCDXA | |
| 9 | 69060-90D | HORN | ALL |
| 10 | 69143-01 | MOUNT (rubber) | ALL |
| 11 | 69152-01A | BRACKET, horn mount | ALL |
| 12 | 70068-96 | WIRE, ground | ALL |
| 13 | 70480-07A | BRACKET, harness mount | ALL |
| Index No. | Part No. | Description | Model(s) |
| 70125-08 | MAIN WIRING HARNESS | VRSCAW, VRSCD, VRSCDX | |
| NOTE: Includes the following parts. | |||
| 1 | 9825 | TERMINAL RING, #14-18 AWG | VRSCAW, VRSCD, VRSCDX |
| 2 | 9838 | TERMINAL RING, #10-12 AWG | VRSCAW, VRSCD, VRSCDX |
| 3 | 9898 | TERMINAL RING (2) | VRSCAW, VRSCD, VRSCDX |
| 4 | 10065 | CABLE STRAP (2) | VRSCAW, VRSCD, VRSCDX |
| 5 | 10177 | CABLE STRAP | VRSCAW, VRSCD, VRSCDX |
| 6 | 10247 | CLIP | VRSCAW, VRSCD, VRSCDX |
| 7 | 31586-07 | RELAY (3) | VRSCAW, VRSCD, VRSCDX |
| 7A | 72007-05 | SOCKET HOUSING, 2-way (2) | VRSCAW, VRSCD, VRSCDX |
| 7B | 72011-05 | WIRE SEAL, 16-20 awg (yellow) (4) | VRSCAW, VRSCD, VRSCDX |
| 70394-07 | CADDY, electrical components (not illustrated) | VRSCAW, VRSCD, VRSCDX | |
| 8 | 72064-06 | TERMINAL, socket | VRSCAW, VRSCD, VRSCDX |
| 9 | 72066-06 | SOCKET HOUSING, 4-way | VRSCAW, VRSCD, VRSCDX |
| 10 | 72076-00 | SOCKET TERMINAL, 18 gauge (30) | VRSCAW, VRSCD, VRSCDX |
| 11 | 72077-00 | SEAL PIN (6) | VRSCAW, VRSCD, VRSCDX |
| 12 | 72078-00 | CONNECTOR KIT, 36-position | VRSCAW, VRSCD, VRSCDX |
| 13 | 72094-06 | TERMINAL, socket (19) | VRSCAW, VRSCD, VRSCDX |
| 14 | 72096-06 | WIRE SEAL (19) | VRSCAW, VRSCD, VRSCDX |
| 15 | 72100-04 | HOUSING, 1-way | VRSCAW, VRSCD, VRSCDX |
| 16 | 72124-94GY | PIN HOUSING, 4-way (gray) | VRSCAW, VRSCD, VRSCDX |
| 17 | 72135-06 | SECONDARY LOCK, 4-way | VRSCAW, VRSCD, VRSCDX |
| 18 | 72139-94GY | SOCKET HOUSING, 12-way, w/ 72179-94 (gray) | VRSCAW, VRSCD, VRSCDX |
| 19 | 72144-94 | SECONDARY LOCK, 4-way | VRSCAW, VRSCD, VRSCDX |
| 20 | 72159-94 | SECONDARY LOCK, 12-way | VRSCAW, VRSCD, VRSCDX |
| 21 | 72164-94A | PLUG, 4-way | VRSCAW, VRSCD, VRSCDX |
| 22 | 72168-07 | TERMINAL, socket (13) | VRSCAW, VRSCD, VRSCDX |
| 23 | 72169-07 | TERMINAL, pin (8) | VRSCAW, VRSCD, VRSCDX |
| 24 | 72190-94 | TERMINAL, pin (3) | VRSCAW, VRSCD, VRSCDX |
| 25 | 72191-94 | TERMINAL, socket (12) | VRSCAW, VRSCD, VRSCDX |
| Index No. | Part No. | Description | Model(s) |
| 70125-08 | MAIN WIRING HARNESS (COUNTINUED) | VRSCAW, VRSCD, VRSCDX | |
| NOTE: Includes the following parts. | |||
| 26 | 72195-94 | SEAL PIN | VRSCAW, VRSCD, VRSCDX |
| 27 | 72213-94 | TERMINAL, female 18-20 gauge (2) | VRSCAW, VRSCD, VRSCDX |
| 28 | 72214-94 | CABLE SEAL, 14-16 gauge (2) | VRSCAW, VRSCD, VRSCDX |
| 29 | 72260-04 | HOUSING, 1-way | VRSCAW, VRSCD, VRSCDX |
| 30 | 72272-07 | TERMINAL, socket (6) | VRSCAW, VRSCD, VRSCDX |
| 31 | 72289-04 | TERMINAL | VRSCAW, VRSCD, VRSCDX |
| 32 | 72290-94 | TERMINAL (2) | VRSCAW, VRSCD, VRSCDX |
| 33 | 72291-94 | TERMINAL (2) | VRSCAW, VRSCD, VRSCDX |
| 34 | 72292-94 | TERMINAL | VRSCAW, VRSCD, VRSCDX |
| 35 | 72314-01 | FUSE, 40 amp | VRSCAW, VRSCD, VRSCDX |
| 36 | 72326-95 | TERMINAL (18) | VRSCAW, VRSCD, VRSCDX |
| 37 | 72327-03 | CONNECTOR, 3-way | VRSCAW, VRSCD, VRSCDX |
| 38 | 72330-95 | FUSE, 15 amp (8) | VRSCAW, VRSCD, VRSCDX |
| 39 | 72405-98BK | TERMINAL, right angle (2) | VRSCAW, VRSCD, VRSCDX |
| 40 | 72414-07BK | HOUSING, 6-way (black) | VRSCAW, VRSCD, VRSCDX |
| 41 | 72430-00 | FUSE BLOCK (2) | VRSCAW, VRSCD, VRSCDX |
| 42 | 72434-00 | TERMINAL (13) | VRSCAW, VRSCD, VRSCDX |
| 43 | 72469-07GY | HOUSING SOCKET, 8-way (gray) | VRSCAW, VRSCD, VRSCDX |
| 44 | 72473-07 | SEAL PIN (2) | VRSCAW, VRSCD, VRSCDX |
| 45 | 72478-07BK | PIN HOUSING, 8-way (black) | VRSCAW, VRSCD, VRSCDX |
| 46 | 72485-07 | HOUSING SOCKET, 4-way | VRSCAW, VRSCD, VRSCDX |
| 47 | 72493-07 | TERMINAL, socket (2) | VRSCAW, VRSCD, VRSCDX |
| 48 | 72494-07 | WIRE SEAL (2) | VRSCAW, VRSCD, VRSCDX |
| 49 | 72511-07BK | HOUSING, pin 3-way (black) | VRSCAW, VRSCD, VRSCDX |
| 50 | 72512-07BK | HOUSING, socket 3-way (black) | VRSCAW, VRSCD, VRSCDX |
| 51 | 72516-01 | DUST CAP | VRSCAW, VRSCD, VRSCDX |
| 52 | 72518-01 | HOUSING, socket 2-way (red) | VRSCAW, VRSCD, VRSCDX |
| Index No. | Part No. | Description | Model(s) |
| 70125-08 | MAIN WIRING HARNESS (COUNTINUED) | VRSCAW, VRSCD, VRSCDX | |
| NOTE: Includes the following parts. | |||
| 53 | 72520-01 | SECONDARY LOCK, 2-way (blue) | VRSCAW, VRSCD, VRSCDX |
| 54 | 72521-01 | FUSE HOLDER, 1-way | VRSCAW, VRSCD, VRSCDX |
| 55 | 72522-01 | TERMINAL FEMALE MAXIFUSE | VRSCAW, VRSCD, VRSCDX |
| 56 | 72523-01 | TERMINAL FEMALE MAXIFUSE | VRSCAW, VRSCD, VRSCDX |
| 57 | 72524-01 | SECONDARY LOCK, maxifuse | VRSCAW, VRSCD, VRSCDX |
| 58 | 72525-01 | TERMINAL, ring (3) | VRSCAW, VRSCD, VRSCDX |
| 59 | 72526-01 | HOUSING SOCKET, 2-way | VRSCAW, VRSCD, VRSCDX |
| 60 | 72527-01 | TERMINAL, socket (2) | VRSCAW, VRSCD, VRSCDX |
| 61 | 72528-01 | SEAL WIRE (2) | VRSCAW, VRSCD, VRSCDX |
| 62 | 72532-02 | TERMINAL, ring | VRSCAW, VRSCD, VRSCDX |
| 63 | 72539-06 | FUSE, mini type 30 amp (green) | VRSCAW, VRSCD, VRSCDX |
| 64 | 72542-07BN | HOUSING SOCKET, 3-way (brown) | VRSCAW, VRSCD, VRSCDX |
| 65 | 72543-07BK | HOUSING SOCKET, 3-way (black) (4) | VRSCAW, VRSCD, VRSCDX |
| 66 | 72544-07 | SECONDARY LOCK, 3-way (4) | VRSCAW, VRSCD, VRSCDX |
| 67 | 72557-07 | SECONDARY LOCK, 4-way | VRSCAW, VRSCD, VRSCDX |
| 68 | 72558-07 | SEAL PIN, plug (2) | VRSCAW, VRSCD, VRSCDX |
| 69 | 72611-07 | TERMINAL, socket (4) | VRSCAW, VRSCD, VRSCDX |
| 70 | 73101-96BK | PIN HOUSING, 2-way (black) (2) | VRSCAW, VRSCD, VRSCDX |
| 71 | 73102-96BK | PIN HOUSING, 2-way (black) | VRSCAW, VRSCD, VRSCDX |
| 72 | 73104-96BK | PIN HOUSING, 4-way (black) (2) | VRSCAW, VRSCD, VRSCDX |
| 73 | 73106-96BK | PIN HOUSING, 6-way (black) (2) | VRSCAW, VRSCD, VRSCDX |
| 74 | 73190-96 | TERMINAL, pin 20-16 gauge (26) | VRSCAW, VRSCD, VRSCDX |
| 75 | 73215-07 | COVER, fuse block | VRSCAW, VRSCD, VRSCDX |
| 76 | 74112-98BK | HOUSING SOCKET, 2-way (black) | VRSCAW, VRSCD, VRSCDX |
| 77 | 74119-98BK | HOUSING SOCKET, 12-way (black) | VRSCAW, VRSCD, VRSCDX |
| 78 | 74152-98 | SECONDARY LOCK, socket - 2-way | VRSCAW, VRSCD, VRSCDX |
| 79 | 74159-98 | SECONDARY LOCK, socket - 12-way | VRSCAW, VRSCD, VRSCDX |
| 80 | 74191-98 | TERMINAL, socket (13) | VRSCAW, VRSCD, VRSCDX |
| 81 | 74195-98 | SEAL PIN, plug | VRSCAW, VRSCD, VRSCDX |
| Index No. | Part No. | Description | Model(s) |
| 70170-08 | MAIN WIRING HARNESS | VRSCAWA, VRSCDA, VRSCDXA | |
| NOTE: Includes the following parts. | |||
| 1 | 9838 | TERMINAL RING, #10-12 AWG | VRSCAWA, VRSCDA, VRSCDXA |
| 2 | 9898 | TERMINAL RING (2) | VRSCAWA, VRSCDA, VRSCDXA |
| 3 | 10065 | CABLE STRAP | VRSCAWA, VRSCDA, VRSCDXA |
| 4 | 10247 | CLIP | VRSCAWA, VRSCDA, VRSCDXA |
| 5 | 10279 | CLIP (2) | VRSCAWA, VRSCDA, VRSCDXA |
| 6 | 31586-07 | RELAY (3) | VRSCAWA, VRSCDA, VRSCDXA |
| 70394-07 | CADDY, electrical components (not illustrated) | VRSCAWA, VRSCDA, VRSCDXA | |
| 7 | 72007-05 | SOCKET HOUSING, 2-way (2) | VRSCAWA, VRSCDA, VRSCDXA |
| 8 | 72011-05 | WIRE SEAL, 16-20 awg (yellow) (4) | VRSCAWA, VRSCDA, VRSCDXA |
| 9 | 72066-06 | SOCKET HOUSING, 4-way | VRSCAWA, VRSCDA, VRSCDXA |
| 10 | 72076-00 | SOCKET TERMINAL, 18 gauge (30) | VRSCAWA, VRSCDA, VRSCDXA |
| 11 | 72077-00 | SEAL PIN (6) | VRSCAWA, VRSCDA, VRSCDXA |
| 12 | 72078-00 | CONNECTOR KIT, 36-position | VRSCAWA, VRSCDA, VRSCDXA |
| 13 | 72094-06 | TERMINAL, socket (16) | VRSCAWA, VRSCDA, VRSCDXA |
| 14 | 72096-06 | WIRE SEAL (16) | VRSCAWA, VRSCDA, VRSCDXA |
| 15 | 72100-04 | HOUSING, 1-way | VRSCAWA, VRSCDA, VRSCDXA |
| 16 | 72124-94GY | PIN HOUSING, 4-way (gray) | VRSCAWA, VRSCDA, VRSCDXA |
| 17 | 72134-94GY | SOCKET HOUSING, 4-way (gray) | VRSCAWA, VRSCDA, VRSCDXA |
| 18 | 72135-06 | SECONDARY LOCK, 4-way | VRSCAWA, VRSCDA, VRSCDXA |
| 19 | 72139-94GY | SOCKET HOUSING, 12-way, w/ 72179-94 (gray) | VRSCAWA, VRSCDA, VRSCDXA |
| 20 | 72144-94 | SECONDARY LOCK, 4-way | VRSCAWA, VRSCDA, VRSCDXA |
| 21 | 72154-94 | SECONDARY LOCK, 4-way | VRSCAWA, VRSCDA, VRSCDXA |
| 22 | 72159-94 | SECONDARY LOCK, 12-way | VRSCAWA, VRSCDA, VRSCDXA |
| 23 | 72164-94A | PLUG, 4-way | VRSCAWA, VRSCDA, VRSCDXA |
| 24 | 72168-07 | TERMINAL, socket (21) | VRSCAWA, VRSCDA, VRSCDXA |
| 25 | 72169-07 | TERMINAL, pin (8) | VRSCAWA, VRSCDA, VRSCDXA |
| 26 | 72190-94 | TERMINAL, pin (3) | VRSCAWA, VRSCDA, VRSCDXA |
| 27 | 72191-94 | TERMINAL, socket (15) | VRSCAWA, VRSCDA, VRSCDXA |
| Index No. | Part No. | Description | Model(s) |
| 70170-08 | MAIN WIRING HARNESS (CONTINUED) | VRSCAWA, VRSCDA, VRSCDXA | |
| NOTE: Includes the following parts. | |||
| 28 | 72195-94 | SEAL PIN (2) | VRSCAWA, VRSCDA, VRSCDXA |
| 29 | 72213-94 | TERMINAL, female 18-20 gauge (6) | VRSCAWA, VRSCDA, VRSCDXA |
| 30 | 72214-94 | CABLE SEAL, 14-16 gauge (2) | VRSCAWA, VRSCDA, VRSCDXA |
| 31 | 72260-04 | HOUSING, 1-way | VRSCAWA, VRSCDA, VRSCDXA |
| 32 | 72272-07 | TERMINAL, socket (10) | VRSCAWA, VRSCDA, VRSCDXA |
| 33 | 72289-04 | TERMINAL | VRSCAWA, VRSCDA, VRSCDXA |
| 34 | 72290-94 | TERMINAL (2) | VRSCAWA, VRSCDA, VRSCDXA |
| 35 | 72291-94 | TERMINAL (2) | VRSCAWA, VRSCDA, VRSCDXA |
| 36 | 72292-94 | TERMINAL | VRSCAWA, VRSCDA, VRSCDXA |
| 37 | 72314-01 | MAXI FUSE, 40 amp | VRSCAWA, VRSCDA, VRSCDXA |
| 38 | 72326-95 | TERMINAL (18) | VRSCAWA, VRSCDA, VRSCDXA |
| 39 | 72327-03 | CONNECTOR, 3-way | VRSCAWA, VRSCDA, VRSCDXA |
| 40 | 72330-95 | FUSE, 15 amp (7) | VRSCAWA, VRSCDA, VRSCDXA |
| 41 | 72405-98BK | TERMINAL, right angle (2) | VRSCAWA, VRSCDA, VRSCDXA |
| 42 | 72414-07BK | HOUSING, 6-way (black) | VRSCAWA, VRSCDA, VRSCDXA |
| 43 | 72430-00 | FUSE BLOCK (2) | VRSCAWA, VRSCDA, VRSCDXA |
| 44 | 72434-00 | TERMINAL (13) | VRSCAWA, VRSCDA, VRSCDXA |
| 45 | 72469-07GY | HOUSING SOCKET, 8-way (gray) | VRSCAWA, VRSCDA, VRSCDXA |
| 46 | 72473-07 | SEAL PIN (11) | VRSCAWA, VRSCDA, VRSCDXA |
| 47 | 72478-07BK | PIN HOUSING, 8-way (black) | VRSCAWA, VRSCDA, VRSCDXA |
| 48 | 72485-07 | HOUSING SOCKET, 4-way | VRSCAWA, VRSCDA, VRSCDXA |
| 49 | 72493-07 | TERMINAL, socket (2) | VRSCAWA, VRSCDA, VRSCDXA |
| 50 | 72494-07 | WIRE SEAL (2) | VRSCAWA, VRSCDA, VRSCDXA |
| 50A | 72500-07BK | HOUSING SOCKET, 20-way (black) | VRSCAWA, VRSCDA, VRSCDXA |
| 51 | 72511-07BK | HOUSING, pin 3-way (black) | VRSCAWA, VRSCDA, VRSCDXA |
| 52 | 72512-07BK | HOUSING, socket 3-way (black) | VRSCAWA, VRSCDA, VRSCDXA |
| 53 | 72518-01 | HOUSING, socket 2-way (red) | VRSCAWA, VRSCDA, VRSCDXA |
| Index No. | Part No. | Description | Model(s) |
| 70170-08 | MAIN WIRING HARNESS (CONTINUED) | VRSCAWA, VRSCDA, VRSCDXA | |
| NOTE: Includes the following parts. | |||
| 54 | 72520-01 | SECONDARY LOCK, 2-way | VRSCAWA, VRSCDA, VRSCDXA |
| 55 | 72521-01 | FUSE HOLDER, 1-way | VRSCAWA, VRSCDA, VRSCDXA |
| 56 | 72522-01 | TERMINAL FEMALE MAXIFUSE (2) | VRSCAWA, VRSCDA, VRSCDXA |
| 57 | 72524-01 | SECONDARY LOCK, maxifuse | VRSCAWA, VRSCDA, VRSCDXA |
| 58 | 72525-01 | TERMINAL, ring (2) | VRSCAWA, VRSCDA, VRSCDXA |
| 59 | 72526-01 | HOUSING SOCKET, 2-way | VRSCAWA, VRSCDA, VRSCDXA |
| 60 | 72527-01 | TERMINAL, socket (2) | VRSCAWA, VRSCDA, VRSCDXA |
| 61 | 72528-01 | SEAL WIRE (2) | VRSCAWA, VRSCDA, VRSCDXA |
| 62 | 72539-06 | FUSE, mini type 30 amp (green) | VRSCAWA, VRSCDA, VRSCDXA |
| 63 | 72542-07BN | HOUSING SOCKET, 3-way (brown) | VRSCAWA, VRSCDA, VRSCDXA |
| 64 | 72543-07BK | HOUSING SOCKET, 3-way (black) (4) | VRSCAWA, VRSCDA, VRSCDXA |
| 65 | 72544-07 | SECONDARY LOCK, 3-way (4) | VRSCAWA, VRSCDA, VRSCDXA |
| 66 | 72547-08 | DIODE PACK | VRSCAWA, VRSCDA, VRSCDXA |
| 67 | 72557-07 | SECONDARY LOCK, 4-way | VRSCAWA, VRSCDA, VRSCDXA |
| 68 | 72558-07 | SEAL PIN, plug (2) | VRSCAWA, VRSCDA, VRSCDXA |
| 69 | 72606-08 | HOUSING SOCKET, 2-way (2) | VRSCAWA, VRSCDA, VRSCDXA |
| 70 | 72609-08 | SECONDARY LOCK, 2-way (5) | VRSCAWA, VRSCDA, VRSCDXA |
| 71 | 72610-08 | SEAL, 18-20 awg (white) (4) | VRSCAWA, VRSCDA, VRSCDXA |
| 72 | 72611-07 | TERMINAL, socket (4) | VRSCAWA, VRSCDA, VRSCDXA |
| 73 | 73101-96BK | PIN HOUSING, 2-way (black) (2) | VRSCAWA, VRSCDA, VRSCDXA |
| 74 | 73102-96BK | PIN HOUSING, 2-way (black) | VRSCAWA, VRSCDA, VRSCDXA |
| 75 | 73104-96BK | PIN HOUSING, 4-way (black) (2) | VRSCAWA, VRSCDA, VRSCDXA |
| 76 | 73106-96BK | PIN HOUSING, 6-way (black) (2) | VRSCAWA, VRSCDA, VRSCDXA |
| 77 | 73190-96 | TERMINAL, pin 20-16 gauge (26) | VRSCAWA, VRSCDA, VRSCDXA |
| 78 | 74112-98BK | HOUSING SOCKET, 2-way (black) | VRSCAWA, VRSCDA, VRSCDXA |
| 79 | 74119-98BK | HOUSING SOCKET, 12-way (black) | VRSCAWA, VRSCDA, VRSCDXA |
| 80 | 74152-98 | SECONDARY LOCK, socket - 2-way | VRSCAWA, VRSCDA, VRSCDXA |
| 81 | 74159-98 | SECONDARY LOCK, socket - 12-way | VRSCAWA, VRSCDA, VRSCDXA |
| 82 | 74191-98 | TERMINAL, socket (13) | VRSCAWA, VRSCDA, VRSCDXA |
| 83 | 74195-98 | SEAL PIN, plug | VRSCAWA, VRSCDA, VRSCDXA |
| Index No. | Part No. | Description | Model(s) |
| 70155-07 | WIRING HARNESS, ENGINE | ALL | |
| NOTE: Includes the following parts. | |||
| 1 | 72063-06 | HOUSING, 2-way | ALL |
| 2 | 72094-06 | TERMINAL, socket (2) | ALL |
| 3 | 72096-06 | WIRE SEAL (2) | ALL |
| 4 | 72111-06 | SECONDARY LOCK, 2-way | ALL |
| 5 | 72168-07 | TERMINAL, socket (8) | ALL |
| 6 | 72213-94 | TERMINAL, female, 18-21 gauge (3) | ALL |
| 7 | 72214-94 | CABLE SEAL (3) | ALL |
| 8 | 72230-98 | SOCKET HOUSING, 3-way | ALL |
| 9 | 72231-98 | SOCKET LOCK, secondary 3-way | ALL |
| 10 | 72244-95 | SOCKET HOUSING, 2-way (2) | ALL |
| 11 | 72245-95 | TERMINAL, socket (4) | ALL |
| 12 | 72405-98GN | TERMINAL, push on #18 AWG | ALL |
| 13 | 72479-07BK | SOCKET HOUSING, 8-way (black) | ALL |
| Index No. | Part No. | Description | Model(s) |
| 1 | 3556A | SCREW (4) | ALL |
| 2 | 3815M | SCREW (2) | ALL |
| 3 | 10065 | CABLE STRAP | ALL |
| 4 | 45804-01 | FORK LOCK KIT, w/ 10065, 71452-91A, & 71578-01 (specify key code) | ALL |
| 5 | 59283-01 | ADHESIVE STRIP (2) | ALL |
| 6 | 68921-07 | MODULE, turn signal canceller (Domestic, HDI) | ALL |
| 68925-07 | MODULE, security system | ALL | |
| 7 | 68926-07 | REMOTE CONTROL FOB (2) | ALL |
| 8 | 68956-07 | ANTENNA MODULE, security system | ALL |
| 9 | 70020-05 | IGNITION SWITCH KIT, w/ 71452-91A & ignition switch (specify key code) | ALL |
| 10 | 70406-06 | BRACKET, ignition switch | ALL |
| 11 | 70432-06 | NAMEPLATE | ALL |
| 12 | 70433-06 | COVER ASSEMBLY, ignition, w/ 70432-06 | ALL |
| 13 | 70620-07 | HARNESS, hands free w/ 17, 18, 19, 20, 21, & 22 | ALL |
| 14 | 71402-07 | LOCKSET, complete | ALL |
| 15 | 71452-91A | KEY (specify key code) (2) | ALL |
| 61081-92 | COVER, key head set (not illustrated) (2) | ALL | |
| 16 | 71578-01 | PLUNGER | ALL |
| 17 | 72134-94GY | SOCKET HOUSING, 4-way | ALL |
| 18 | 72154-94 | SECONDARY LOCK, 4-way | ALL |
| 19 | 72191-94 | SOCKET TERMINAL (3) | ALL |
| 20 | 72195-94 | SEAL PIN | ALL |
| 21 | 72720-07 | SOCKET HOUSING, 2-way | ALL |
| 22 | 72721-07 | SOCKET TERMINAL (2) | ALL |
| INTERNATIONAL MODELS ONLY | |||
| 23 | 68925-07 | MODULE, security system (HDI, Australia, England) | ALL |
| 24 | 68926-07 | REMOTE CONTROL FOB (HDI, Australia, England) (2) | ALL |
| 25 | 68958-07A | SIREN (HDI, Australia, England, Japan) | ALL |
| 26 | 69018-00 | SIREN ALARM, battery replacement kit (HDI, Australia, England, Japan) | ALL |
| Index No. | Part No. | Description | Model(s) |
| 1 | 3612 | SCREW (4) | ALL |
| 2 | 3707M | SCREW (4) | ALL |
| 3 | 3716M | SCREW (4) | ALL |
| 4 | 3731M | SCREW (2) | ALL |
| 5 | 6837M | WASHER (4) | ALL |
| 6 | 6872M | WASHER (2) | ALL |
| 7 | 8130 | SPEED NUT (6) | ALL |
| 8 | 8235 | RIVET (2) | ALL |
| 9 | 11519 | BUSHING (ABS) (2) | ALL |
| 11519 | BUSHING (NON-ABS) (4) | ALL | |
| 10 | 11523 | WASHER | ALL |
| 11 | 11524A | RUBBER MOUNT (4) | ALL |
| 12 | 11558 | BUMPER, air box (2) | ALL |
| 13 | 26735-08 | COVER ASSEMBLY, radiator w/ 3612, 8130, 26813-08, 66115-01, & 66116-01 (chrome) | VRSCAW, VRSCAWA, VRSCD, VRSCDA |
| 26813-08 | COVER ASSEMBLY, radiator w/ 3612, 8130, 26813-08, 26814-07, & 26815-07 (black) | VRSCDX, VRSCDXA | |
| 14 | 26788-08 | COVER ASSEMBLY, radiator molded | ALL |
| 15 | 62254-08 | NAMEPLATE, airbox | VRSCAW, VRSCAWA |
| 16 | 62392-08 | MEDALLION, airbox - left | VRSCAW, VRSCAWA |
| 62393-08 | MEDALLION, airbox - right | VRSCAW, VRSCAWA | |
| 17 | 62791-06 | EMBLEM - left | VRSCAW, VRSCAWA |
| 62792-06 | EMBLEM - right | VRSCAW, VRSCAWA | |
| 18 | 62797-06 | EMBLEM - right | VRSCD, VRSCDA |
| 62798-06 | EMBLEM - left | VRSCD, VRSCDA | |
| 19 | 66154-07BEO | COVER, air box (prime) | ALL |
| 20 | 66155-07 | SIDECOVER, front - right, louvered (prime) | VRSCAW, VRSCAWA, VRSCD, VRSCDA |
| 21 | 66156-07 | SIDECOVER, front - left, louvered (prime) | VRSCAW, VRSCAWA, VRSCD, VRSCDA |
| 22 | 66115-01 | BEZEL INLET, radiator - right | VRSCAW, VRSCAWA, VRSCD, VRSCDA |
| 66116-01 | BEZEL INLET, radiator - left | VRSCAW, VRSCAWA, VRSCD, VRSCDA | |
| 26814-07 | BEZEL INLET, radiator - left | VRSCDX, VRSCDXA | |
| 26815-07 | BEZEL INLET, radiator - right | VRSCDX, VRSCDXA | |
| 23 | 66209-08 | COVER, non ABS | VRSCAW, VRSCD, VRSCDX |
| 24 | 66221-08 | BRACKET, cover - non ABS | VRSCAW, VRSCD, VRSCDX |
| 25 | 66157-07BDK | RADIATOR, trim cover - left (primed) | ALL |
| 66158-07BDK | RADIATOR, trim cover - right (primed) | ALL | |
| 26 | 66712-01 | S-SPRING | ALL |
| 27 | 66713-01 | STUD BAIL HEAD | ALL |
| Index No. | Part No. | Description | Model(s) |
| 1 | 13694-07 | LABEL FUSE BLOCK, non ABS | VRSCAW, VRSCD, VRSCDX |
| 13725-08 | LABEL FUSE BLOCK, ABS | VRSCAWA, VRSCDA, VRSCDXA | |
| 2 | 15348-01A | WARNING LABEL | ALL |
| 3 | 15368-01A | BATTERY WARNING LABEL | ALL |
| 4 | 15370-01A | MIRROR LABEL | ALL |
| INTERNATIONAL MODELS ONLY | |||
| 5 | 14270-92 | LABEL SHIFT PATTERN (Japan) | ALL |
| 13728-08 | NOISE LABEL (Australia) (not illustrated) | VRSCDX, VRSCDXA | |
| 15399-08 | NOISE LABEL (Australia) (not illustrated) | VRSCD, VRSCDA | |
| 15351-08 | NOISE LABEL, silver frame (Australia) (not illustrated) | VRSCAW, VRSCAWA | |
| 15311-08 | NOISE LABEL, black frame (Australia) (not illustrated) | VRSCAW, VRSCAWA | |
| Index No. | Part No. | Description | Model(s) |
| 1 | 4612 | SCREW (2) | ALL |
| 2 | 10006 | CABLE STRAP, throttle body hose | ALL |
| 3 | 27378-08 | TUBE ASSEMBLY, tank to canister | ALL |
| 4 | 27382-08 | TUBE ASSEMBLY, canister to solenoid | ALL |
| 5 | 27391-07A | TUBE ASSEMBLY, solenoid to throttle body | ALL |
| 6 | 27433-08 | CARBON CANISTER ASSEMBLY | ALL |
| 7 | 27715-07 | VALVE SOLENOID, purge | ALL |
| Part No. | Description |
| 1004M | SCREW M6 X 1.0 X 27 socket head |
| 1007M | SCREW M6 X 1.0 X 12 socket head |
| 1009M | SCREW M6 X 1.0 X 20 socket head |
| 1010M | SCREW M6 X 1.0 X 20 hex flange head |
| 1014M | SCREW M6 X 1.0 X 40 hex flange head |
| 1017M | SCREW M6 X 1.0 X 95 socket head |
| 1021M | SCREW M8 X 29 TORX head |
| 1023M | SCREW M8 X 1.25 X 55 hex flange head |
| 1024M | SCREW M6 X 1.0 X 60 socket head |
| 1025M | SCREW M8 X 1.25 X 90 hex flange head |
| 1027M | SCREW M10 X 1.5 X 60 hex flange head |
| 1030M | SCREW M6 X 1.0 X 50 socket head |
| 1031M | SCREW M8 X 1.0 X 18 hex head |
| 1035M | SCREW M14 X 1.5 X 70 hex flange head |
| 1043MA | SCREW M5 X 0.8 X 10 socket head |
| 1114M | SCREW M6 X 1 X 20 socket head |
| 24311-01K | BOLT M10 X 1.0 X 55 |
| 2590 | SCREW No. 8-32 X 5/8 Phillips head |
| 25911-01K | WASHER 8.2 X 28 X 5.0 |
| 2955 | SCREW No. 6-32 X 1/4 Phillips pan head, with lockwasher |
| 3074M | SCREW M12 X 1.75 X 70 TORX recessed button head |
| 3108M | SCREW M8 X 1.25 X 20 hex head |
| 3292MA | SCREW M12 X 1.75 X 20 hex head |
| 3385M | SCREW M8 X 1.25 X 35 socket head |
| 3386 | SCREW No. 8-32 X 3/8 socket head |
| 3514 | SCREW No. 8-32 X 1 fillister head (Grade 5) |
| 3540 | SCREW 5/16-18 X 5/8 socket button head |
| 3556A | SCREW No. 8-32 X 1/2 knurled head |
| 3612 | SCREW No. 10-16 X 1/2 TORX pan head, self-tapping |
| 3655A | SCREW 5/16-18 X 7/8 TORX pan head, with lockpatch (Grade 8) |
| 3658 | SCREW No. 10-24 X 1/2 TORX head (Grade 5) |
| 36706-08K | BOLT M6 X 1.0 X 40 hex flange head |
| 3700MA | SCREW M10 X 1.5 X 30 socket button head |
| 3701M | SCREW M10 X 1.5 X 25 socket head |
| 3703M | SCREW M10 X 1.5 X 30 socket head |
| 3707M | SCREW M6 X 1.0 X 10 socket head |
| 3708M | SCREW M6 X 1.0 X30 hex head |
| 3709M | SCREW M8 X 1.25 X 20 socket head |
| 3711M | SCREW M6 X 1.0 X 16 hex head |
| 3716M | SCREW M6 X 1.0 X 12 button socket head |
| 3724M | ACORN NUT M8 X 1.25 |
| 3725M | NUT M8 X 1.25 hex flange head, with lockpatch |
| 3726M | SCREW M10 X 1.5 X 50 hex flange head |
| 3729M | SCREW M6 X 1.0 X 16 socket head |
| 3731M | SCREW M6 X 1.0 X 12 socket button head, with lockpatch |
| 3753M | SCREW M3 X 1.06 cross recesss pan head |
| 3755M | SCREW M8 X 1.25 X 16 hex head |
| 3759M | SCREW M4 X 0.7 X 12 socket head |
| 3762M | BOLT M8 X 1.25 X 23 - 12.5 TORX head, shoulder |
| 3798M | SCREW M5 X 0.8 X 12 socket head |
| 3815M | SCREW M6 X 1.0 X 10 socket button head |
| 3832M | SCREW M6 X 1.0 X 20 hex button head |
| 3853M | SCREW M5 X 1.59 X1.30 hex flat head, self-tapping |
| 3919M | SCREW M10 X 1.5 X 40 socket head |
| 3920M | SCREW M10 X 1.5 X 60 flat socket head |
| 3966M | SCREW M10 X 1.5 X 65 socket head |
| 40399-01M | SCREW M12 X 1.75 X 25 hex flange head, with lockpatch |
| 4042 | SCREW M8 X 1.25 X 35 hex button head |
| 4132 | SCREW 1/4-20 X 1-1/8 TORX button head (Grade 5) (black) |
| 4240 | SCREW No. 10-24 X 3/16 hex head, with washer |
| 4250M | SCREW M8 X 1.25 X 25 hex socket head cap |
| 4312B | SCREW M6 X 1.0 X 14mm, SEMS flange head (stainless) |
| 43567-92 | SCREW 3/8-16 X 1 TORX pan head, with lockpatch |
| 4363 | SCREW 1/4-20 X 1/2 socket button head |
| 4470M | SCREW M10 X 1.5 X 110 socket head |
| 4471M | SCREW M8 X 1.25 X 55 socket head |
| 4484M | SCREW M5 X 0.8 X 16 SEMS hex head |
| 4485M | SCREW M8 X 1.25 X 45 socket head |
| 4534M | SCREW M10 X 1.5 x 30 socket head |
| 45405-75A | SCREW M8 X 1.25 x 27 hex socket head |
| 4543 | SCREW 8-32 X .31 SEMS TORX recessed, self tapping |
| 4552 | SCREW 3/8-14 X 2-3/8 12 pt. FLG, with lockpatch |
| 4560M | SCREW M4 X .7 filister head |
| 4561M | SCREW M5 X .8 X 10 hex socket head cap |
| 45718-60 | NUT 1-24 X 1.5 X 0.47 |
| 45727-08 | WASHER 1-1/32 X 2.0 X 1/16 |
| 4576M | SCREW M6 X 1 X 12 hex head |
| 4593M | SCREW M6 X 1 X 16 hex head, with lockpatch |
| 4597M | SCREW M10 X 1.5 X 30 hex socket head |
| 4603M | SCREW M12 X 1.75 X 60 TORX recessed button head |
| 4608M | SCREW 6 X 1 X 8.0 TORX button head (T25 TORX) |
| 4612 | SCREW 10-24 X 3/4 TORX pan head |
| 46509-01 | WASHER 30 X 43 X 2.3 |
| 4741A | SCREW 1/4-20 X 1 socket head, with lockpatch |
| 4793M | SCREW M8 X 1.25 X 25 hex button head |
| 5236M | SCREW M6 X 1.0 X 20 hex flange head |
| 5237M | SCREW M6, X 1.0 X 16 hex flange head |
| 5238M | LOCKNUT M6 flange |
| 54321-85 | NUT No. 8-32 X 1/2 X 1/8 (brass) |
| 59018-98 | WASHER 17/32 X 1-1/4 X 1/8 |
| 6101 | WASHER 17/64 X 27/64 X 1/16 |
| 6110 | WASHER 9/32 X 5/8 X 1/16 |
| 6137K | WASHER 6.35 X 9.80 X 1.0 |
| 6176MA | WASHER 37 X 47 X 2.5 |
| 6215M | WASHER 7.3 X 5.35 X 1.0 |
| 6298M | WASHER 12.45 X 15.3 X 1.5 |
| 6302 | WASHER 5/16 X 11/16 X 19/32 |
| 6424 | WASHER 9/32 X 5/8 X 1/16 |
| 6454 | WASHER 5.3 X 9.9 X 1.0 |
| 6655 | WASHER 5/8 X 1-1/2 X 7/64 |
| 6703 | WASHER 1/4 X 5/8 X 1/16 |
| 6837M | WASHER M6 regular |
| 6838M | WASHER M8 regular |
| 6839M | WASHER M10 narrow |
| 6856M | WASHER M10 |
| 6859M | WASHER M6 special |
| 6872M | WASHER M6 special |
| 6874 | WASHER 25/64 X 5/8 X 1/16 |
| 6876M | WASHER M12 |
| 6917M | WASHER M6 |
| 6966M | WASHER 12.6 X 19.0 X 0.63 spring |
| 7036 | WASHER 1/4 X 31/64 X 1/16 |
| 7039 | LOCKWASHER 7/16 |
| 7041 | LOCKWASHER 5/16 |
| 7081 | LOCKWASHER M5 stainless steel |
| 7124 | LOCKWASHER 1/4 internal tooth |
| 7127 | LOCKWASHER 5/16 internal tooth |
| 7427M | NUT M10 X 1.5 flange |
| 7432M | NUT M8 X 1.25 flange |
| 7433M | LOCKNUT M12 X 1.75 flexlock height |
| 7435M | LOCKNUT M8 X 1.25 flange |
| 7460M | LOCKNUT M20 X 2.5 flange |
| 7495 | NUT M6 X 1.0 flange lock |
| 7606 | LOCKNUT No. 8-32 X 1/4 X 1/4 hex (chrome) |
| 7744 | JAMNUT 5/16-24 X 3/16 X 1/2 (Grade 2) |
| 7813A | NUT 5/8-18 X 9/16 X 15/16 (Grade 2) |
| 7951 | JAMNUT 3/4-16 X 17/64 X 1-7/64 (Grade 2) |
| 7999M | NUT M6 X 1.0 |
| 8006 | NUT M4 X .7 |
| 8020 | NUT M24 X 2.0 X 15 |
| 8070M | NUT M6 X 1 square |
| 965M | SCREW M6 X 1.0 X 12 socket head |
| 966M | SCREW M6 X 1.0 X 35 socket head |
| 968M | SCREW M10 X 1.5 X 150 hex flange head |
| 970M | SCREW M8 X 1.25 X 40 hex head |
| 972M | SCREW M8 X 1.25 X 150 hex flange head |
| 973M | SCREW M8 X 1.25 X 120 hex flange head |
| 978M | SCREW M6 X 1.0 X 40 socket head |
| 983M | BOLT M10 X 1.0 X 33 - 12 point flange head |
| Index No. | Part No. | Description | Model(s) |
| 1 | 19556-08K | ENGINE ASSEMBLY (chrome/platinum) | VRSCAW, VRSCAWA |
| 19558-08K | ENGINE ASSEMBLY (black/polished) | VRSCD, VRSCDA | |
| 19569-08K | ENGINE ASSEMBLY (black/gloss black) | VRSCDX, VRSCDXA | |
| 19590-08K | ENGINE ASSEMBLY (black/chrome)(optional) | VRSCD, VRSCDA |
| Index No. | Part No. | Description | Model(s) |
| 11 | 17125-08K | CYLINDER HEAD ASSEMBLY, front (black) | VRSCD, VRSCDA, VRSCDX, VRSCDXA |
| 17126-08K | CYLINDER HEAD ASSEMBLY, rear - not shown (black) | VRSCD, VRSCDA, VRSCDX, VRSCDXA | |
| 17122-08K | CYLINDER HEAD ASSEMBLY, front (silver) | VRSCAW, VRSCAWA | |
| 17123-08K | CYLINDER HEAD ASSEMBLY, rear - not shown (silver) | VRSCAW, VRSCAWA | |
| 13 | 17421-08K | CAMSHAFT ASSEMBLY, exhaust (2) | ALL |
| 15 | 17691-08K | GASKET, cylinder head - front | ALL |
| 17692-08K | GASKET, cylinder head - rear - not shown | ALL |
| Index No. | Part No. | Description | Model(s) |
| 5 | 22953-08K | PISTON PIN (2) | ALL |
| 7 | 22928-05KA | PISTON/LINER ASSEMBLY, w/ 2, 5, & 6 (2) | ALL |
| 8 | 22934-08K | PISTON ASSEMBLY KIT, w/ pistons, rings, & pins (2) | ALL |
| Index No. | Part No. | Description | Model(s) |
| 16 | 24465-08K | CRANKCASE SET KIT (platinum) | VRSCAW, VRSCAWA |
| 24467-08K | CRANKCASE SET KIT (black) | VRSCD, VRSCDA, VRSCDX, VRSCDXA |
| Index No. | Part No. | Description | Model(s) |
| 8 | 27662-01B | FUEL RAIL ASSEMBLY, w/ 5, 9, &14, | ALL |
| 9 | 27665-01A | INJECTOR, w/ o-rings | ALL |
| Index No. | Part No. | Description | Model(s) |
| 13 | 30734-08K | STATOR ASSEMBLY, w/ plug assembly stator | ALL |
| 16 | 74440-08 | VOLTAGE REGULATOR | ALL |
| Index No. | Part No. | Description | Model(s) |
| 6 | 32534-05C | ECM, base level -115/105 H.P. (DOM/HDI) Requires digital tech programing | ALL |
| Index No. | Part No. | Description | Model(s) |
| 6 | 36699-01KA | CLUTCH SHELL | ALL |
| 7 | 36701-08K | CLUTCH HUB | ALL |
| 8 | 36702-08K | CLUTCH PLATE (7) | ALL |
| 9 | 36704-08K | CLUTCH PRESSURE PLATE | ALL |
| 10 | 36705-08K | SPRING, pressure plate (4) | ALL |
| 11 | 36706-08K | BOLT (4) | ALL |
| 14 | 36710-08K | LIFTER PLATE | ALL |
| 15 | 36711-08K | SEAT, spring | ALL |
| 16 | 36712-08K | SPRING | ALL |
| 19 | 36720-08K | FRICTION CLUTCH (7) | ALL |
| 25 | 37938-08K | CLUTCH KIT | ALL |
| 26 | 38841-08K | CLUTCH PLATE | ALL |
| 27 | 38842-08K | SEAT, spring (4) | ALL |
| Index No. | Part No. | Description | Model(s) |
| 25941-08K | COVER, derby (chrome) (optional HD) | VRSCAW, VRSCAWA, VRSCD, VRSCDA | |
| 25943-08K | COVER, derby (polished) | VRSCD, VRSCDA | |
| 34918-08 | EMBLEM, cover secondary clutch actuator | VRSCAW, VRSCAWA, VRSCD, VRSCDA | |
| 34949-08 | EMBLEM, cover secondary clutch actuator | VRSCAW, VRSCAWA |
| Index No. | Part No. | Description | Model(s) |
| 6 | 9254 | BEARING | ALL |
| 11 | 34985-08 | COVER ASSEMBLY, sprocket, w/ 4543, 6110, & 76231-08 (chrome) | VRSCAW, VRSCAWA, VRSCD, VRSCDA |
| 37124-08 | COVER ASSEMBLY, sprocket, w/ 4543, 6110, & 73231-06 (polished) | VRSCD, VRSCDA | |
| 18 | 76231-08 | INSERT, cover (not shown) | VRSCAW, VRSCAWA, VRSCD, VRSCDA |
| Index No. | Part No. | Description | Model(s) |
| 19 | 62953-08 | HOSE DRAIN | ALL |
| Index No. | Part No. | Description | Model(s) |
| 21 | 26834-08 | HOSE, drain | ALL |
| 22 | 26835-08 | SLEEVE, hose | ALL |
| 24 | 62953-08 | HOSE, drain coolant bottle to ground | ALL |
| Index No. | Part No. | Description | Model(s) |
| 9 | 38658-01B | LINE ASSEMBLY, clutch | VRSCAW, VRSCAWA |
| 38692-04C | LINE ASSEMBLY, clutch | VRSCD, VRSCDA, VRSCDX, VRSCDXA |
| Index No. | Part No. | Description | Model(s) |
| 10 | 41783-08 | BANJO BOLT BLEEDER ASSEMBLY, w/ 4700, & 5441 (2) | ALL |
| 13 | 42855-06A | COVER KIT, w/ 42857-06, & 42858-06 (black) | ALL |
| 14 | 42857-06A | GASKET, cover | ALL |
| 16 | 42859-06B | HAND LEVER, front brake control w/ 42860-06B | ALL |
| 17 | 42860-06B | PIVOT PIN, w/ 11615 | ALL |
| 18 | 42861-06A | PUSHROD KIT | ALL |
| 19 | 42862-06A | REPAIR KIT, master cylinder (11/16 in. diameter) | ALL |
| 22 | 45138-08 | CLAMP, master cylinder front brake (black) | ALL |
| Index No. | Part No. | Description | Model(s) |
| 27 | 70634-08 | WIRE RETAINER, brakeline (2) | VRSCAW, VRSCAWA, VRSCDX, VRSCDXA |
| Index No. | Part No. | Description | Model(s) |
| 28 | 70634-08 | WIRE RETAINER, brakeline (2) | VRSCD, VRSCDA |
| Index No. | Part No. | Description | Model(s) |
| 11 | 40689-08 | ABS MODULE KIT | VRSCAWA, VRSCDA, VRSCDXA |
| 14 | 41783-08 | BANJO BOLT BLEEDER ASSEMBLY, w/ 4700, & 10965 (2) | VRSCAWA, VRSCDA, VRSCDXA |
| 15 | 41855-08 | BRACKET, ABS mount - top | VRSCAWA, VRSCDA, VRSCDXA |
| 16 | 41861-08 | BRACKET, ABS mount - left | VRSCAWA, VRSCDA, VRSCDXA |
| 17 | 42264-08 | BRAKE LINE, front master cylinder to ABS module | VRSCDA |
| 42265-08 | BRAKE LINE, front master cylinder to ABS module | VRSCDXA | |
| 44722-08 | BRAKE LINE, front master cylinder to ABS module | VRSCAWA | |
| 18 | 42268-08 | BRAKE LINE, ABS module to rear master cylinder | VRSCDA |
| 44724-08 | BRAKE LINE, ABS module to rear master cylinder | VRSCAWA, VRSCDXA | |
| 19 | 42285-08 | BRAKE LINE, ABS module to rear brake caliper | VRSCDA |
| 44725-08 | BRAKE LINE, ABS module to rear brake caliper | VRSCAWA, VRSCDXA | |
| 20 | 42294-08 | BRAKE LINE, ABS module to front brake caliper | VRSCDA, VRSCDXA |
| 44723-08 | BRAKE LINE, ABS module to front brake caliper | VRSCAWA | |
| 22 | 66208-08 | COVER, ABS module | VRSCAWA, VRSCDA, VRSCDXA |
| 24 | 70634-08 | RETAINER, wire (2) | VRSCAWA, VRSCDA, VRSCDXA |
| 25 | 70631-08 | CLIP, conduit - front (3) | VRSCAWA |
| 26 | 70635-08 | CLIP, conduit (front) (3) | VRSCDA, VRSCDXA |
| 70635-08 | CLIP, conduit (rear) (4) | VRSCAWA, VRSCDA, VRSCDXA |
| Index No. | Part No. | Description | Model(s) |
| 3 | 41783-08 | BANJO BOLT BLEEDER ASSEMBLY, w/ 4700, & 10965 (2) | ALL |
| 4 | 42849-08 | PIN BRAKE PAD, w/ clip (2) | ALL |
| 5 | 42897-08 | BRAKE PAD KIT, w/ 42849-06 (2) | ALL |
| 7 | 42852-06A | SPRING PAD (2) | ALL |
| 9 | 44505-08 | CALIPER ASSEMBLY, right - not shown (silver) | VRSCAW, VRSCAWA |
| 44731-08 | CALIPER ASSEMBLY, right - not shown (black) | VRSCD, VRSCDA, VRSCDX, VRSCDXA | |
| 44506-08 | CALIPER ASSEMBLY, left (silver) | VRSCAW, VRSCAWA | |
| 44732-08 | CALIPER ASSEMBLY, left (black) | VRSCD, VRSCDA, VRSCDX, VRSCDXA | |
| 10 | 70493-08 | BRACKET - ABS, wire clip speed sensor | VRSCAWA, VRSCDA, VRSCDXA |
| 11 | 70494-08 | WIRE CLIP - ABS, speed sensor | VRSCAWA, VRSCDA, VRSCDXA |
| Index No. | Part No. | Description | Model(s) |
| 3 | 42850-06B | BRAKE PAD KIT, w/ 42865-06A | ALL |
| 6 | 42865-06A | PIN BRAKE PAD, w/ clip | ALL |
| 8 | 42867-06A | SPRING PAD KIT | ALL |
| 9 | 43050-08 | CALIPER ASSEMBLY (black) | VRSCD, VRSCDA, VRSCDX, VRSCDXA |
| 43045-08 | CALIPER ASSEMBLY (silver) | VRSCAW, VRSCAWA | |
| 10 | 43214-08 | BRACKET, caliper (silver) | VRSCAW, VRSCAWA |
| 44089-08 | BRACKET, caliper (black) | VRSCD, VRSCDA, VRSCDX, VRSCDXA |
| Index No. | Part No. | Description | Model(s) |
| 5 | 9252 | BEARING, ABS - left | VRSCAWA, VRSCDA, VRSCDXA |
| 6 | 9276 | BEARING (ABS - right) (1) | ALL |
| 9276 | BEARING (Non ABS - right & left) (2) | ALL | |
| 7 | 10147 | CLIP, connector - ABS | VRSCAWA, VRSCDA, VRSCDXA |
| 8 | 11804 | SPACER (1) | VRSCAWA, VRSCDA, VRSCDXA |
| 11804 | SPACER (2) | VRSCAW, VRSCD, VRSCDX | |
| 9 | 40648-08 | SENSOR, wheel - ABS | VRSCAWA, VRSCDA, VRSCDXA |
| 15 | 41469-08 | WHEEL ASSEMBLY, w/o bearings & sleeve | VRSCDX, VRSCDXA |
| 16 | 41628-08 | AXLE, front | ALL |
| 17 | 41748-08 | SLEEVE | ALL |
| 19 | 43380-08 | WHEEL ASSEMBLY, w/o bearings & sleeve | VRSCD, VRSCDA |
| 24 | 43534-08 | WHEEL ASSEMBLY, w/o bearings & sleeve | VRSCAW, VRSCAWA |
| 28 | 70631-08 | CLIP, conduit - ABS (3) | VRSCAWA |
| 70635-08 | CLIP, conduit - ABS (3) | VRSCDA, VRSCDXA | |
| 29 | 72607-08 | PIN HOUSING, 2-way - ABS | VRSCAWA, VRSCDA, VRSCDXA |
| 30 | 72608-08 | TERMINAL, pin 16-20 awg - ABS | VRSCAWA, VRSCDA, VRSCDXA |
| 31 | 72609-08 | SECONDARY LOCK, 2-way - ABS | VRSCAWA, VRSCDA, VRSCDXA |
| 32 | 72610-08 | CABLE SEAL, 18-20 awg - ABS | VRSCAWA, VRSCDA, VRSCDXA |
| Index No. | Part No. | Description | Model(s) |
| 7 | 10147 | CLIP, connector - ABS | VRSCAWA, VRSCDA, VRSCDXA |
| 10 | 40652-08 | SENSOR, wheel - ABS | VRSCAWA, VRSCDA, VRSCDXA |
| 11 | 40668-07 | SPACER | ALL |
| 15 | 41242-08 | SPACER, wheel bearing | VRSCAW, VRSCD, VRSCDX |
| 16 | 41471-08 | WHEEL ASSEMBLY 18 in., slot, w/ plugs, w/o bearings & sleeve (black w/ stripe) | VRSCDX, VRSCDXA |
| 18 | 41529-08 | WHEEL ASSEMBLY 18 in., slot, w/ plugs, w/o bearings & sleeve (silver) | VRSCAW, VRSCAWA |
| 19 | 41544-08 | AXLE, rear, w/ 8019 | ALL |
| 23 | 43509-08 | WHEEL ASSEMBLY 18 in., 5 spoke, w/o bearings & sleeve (black) | VRSCD, VRSCDA |
| 26 | 43704-08 | SLEEVE BEARING | ALL |
| 29 | 70635-08 | CLIP, conduit - ABS (4) | VRSCAWA, VRSCDA, VRSCDXA |
| 30 | 72607-08 | PIN HOUSING, 2-way - ABS | VRSCAWA, VRSCDA, VRSCDXA |
| 31 | 72608-08 | TERMINAL, pin 16-20 awg - ABS | VRSCAWA, VRSCDA, VRSCDXA |
| 32 | 72609-08 | SECONDARY LOCK, 2-way - ABS | VRSCAWA, VRSCDA, VRSCDXA |
| 33 | 72610-08 | CABLE SEAL, 18-20 awg - ABS | VRSCAWA, VRSCDA, VRSCDXA |
| Index No. | Part No. | Description | Model(s) |
| 6 | 45670-80A | CAP, fork stem | VRSCAW, VRSCAWA, VRSCD, VRSCDA |
| 45701-07A | CAP, fork stem | VRSCDX, VRSCDXA | |
| 7 | 45727-08 | WASHER, fork stem nut | ALL |
| 8 | 45718-60 | NUT, fork stem | ALL |
| 9 | 46504-07 | SLIDER TUBE, w/ 46080-01 (2) | ALL |
| 11 | 46506-01A | SLIDER, left | VRSCAW, VRSCAWA, VRSCD, VRSCDA |
| 46798-07A | SLIDER, left | VRSCDX, VRSCDXA | |
| 26 | 46788-06A | STEM & BRACKET, w/ bearing & shield | VRSCAW, VRSCAWA, VRSCD, VRSCDA |
| 46855-07A | STEM & BRACKET, w/ bearing & shield | VRSCDX, VRSCDXA |
| Index No. | Part No. | Description | Model(s) |
| 12 | 47765-08 | FRAME ASSEMBLY UPPER (leafy aluminum) | VRSCAW, VRSCAWA |
| 47764-08 | FRAME ASSEMBLY UPPER (black) | VRSCD, VRSCDA, VRSCDX, VRSCDXA | |
| 14 | 47988-08BGO | FRAME LOWER, right (leafy aluminum) | VRSCAW, VRSCAWA |
| 47988-08BK | FRAME LOWER, right (black) | VRSCAW, VRSCAWA, VRSCDX, VRSCDXA | |
| 48067-08BK | FRAME LOWER, right (black) | VRSCD, VRSCDA | |
| 27 | 50277-08 | SENSOR, jiffy stand (HDI, England, H105) | ALL |
| Index No. | Part No. | Description | Model(s) |
| 15 | 60473-07A | DEBRIS DEFLECTOR | ALL |
| Index No. | Part No. | Description | Model(s) |
| 51836-08 | SEAT, rider | VRSCAW, VRSCAWA | |
| 51864-08 | SEAT, passenger | VRSCAW, VRSCAWA |
| Index No. | Part No. | Description | Model(s) |
| 69873-07 | HEADLAMP ASSEMBLY (black) | VRSCAW |
| Index No. | Part No. | Description | Model(s) |
| 69874-07 | HEADLAMP ASSEMBLY - right dip (black) | VRSCAW | |
| 69875-07 | HEADLAMP ASSEMBLY - left dip (black) | VRSCAW |
| Index No. | Part No. | Description | Model(s) |
| 5 | 59557-07A | SHROUD, tail lamp | ALL |
| 14 | 69051-07A | LICENSE PLATE BRACKET, rear lighting (not shown) | VRSCD, VRSCDA |
| 69086-07A | LICENSE PLATE BRACKET, rear lighting | VRSCAW, VRSCAWA, VRSCDX, VRSCDXA | |
| 34 | 69051-07A | LICENSE PLATE BRACKET, rear lighting (not shown) (HDI) | VRSCD, VRSCDA |
| 69086-07A | LICENSE PLATE BRACKET, rear lighting (HDI) | VRSCAW, VRSCAWA, VRSCDX, VRSCDXA |
| Index No. | Part No. | Description | Model(s) |
| 9 | 27431-07A | TUBE ASSEMBLY, tank to vapor valve | ALL |
| 24 | 75210-07A | SENSOR, fuel level w/ 11630, 72169-07, & 72541-07BN | ALL |
| Index No. | Part No. | Description | Model(s) |
| 8 | 27703-08 | OXYGEN SENSOR, w/ 27714-06, 72009-05, & 72011-05 (2) | VRSCAW, VRSCAWA |
| 10 | 64751-08 | EXHAUST PIPE, front (chrome) | VRSCAW, VRSCAWA |
| 11 | 64752-08 | EXHAUST PIPE, rear (chrome) | VRSCAW, VRSCAWA |
| 30 | 70580-08 | BRACKET, oxygen sensor - rear | VRSCAW, VRSCAWA |
| 33 | 64929-08 | AUXILIARY VOLUME (HDI, Australia, England, 105 H.P.) | VRSCAW, VRSCAWA |
| Index No. | Part No. | Description | Model(s) |
| 10 | 27703-08 | OXYGEN SENSOR, w/ 27714-06, 72009-05, & 72011-05 (2) | VRSCD, VRSCDA |
| 12 | 64751-08 | EXHAUST PIPE, front (chrome) | VRSCD, VRSCDA |
| 13 | 64752-08 | EXHAUST PIPE, rear (chrome) | VRSCD, VRSCDA |
| 20 | 65111-01A | SHIELD EXHAUST ASSEMBLY, rear (chrome) | VRSCD, VRSCDA |
| 24 | 65215-06A | MUFFLER, top (Domestic, Cal., Canada, HDI, Australia, England, 105) | VRSCD, VRSCDA |
| 25 | 65226-06A | MUFFLER, bottom (Domestic, Cal., Canada, HDI, Australia, England, 105) | VRSCD, VRSCDA |
| 29 | 70580-08 | BRACKET, oxygen sensor - rear | VRSCD, VRSCDA |
| 32 | 65211-08 | AUXILIARY VOLUME (HDI, Australia, England, 105) | VRSCD, VRSCDA |
| Index No. | Part No. | Description | Model(s) |
| 16 | 27703-08 | OXYGEN SENSOR, w/ 27714-06, 72009-05, & 72011-05 (2) | VRSCDX, VRSCDXA |
| 18 | 64751-08 | EXHAUST PIPE, front (chrome) | VRSCDX, VRSCDXA |
| 19 | 64752-08 | EXHAUST PIPE, rear (chrome) | VRSCDX, VRSCDXA |
| 20 | 64801-07A | SHIELD EXHAUST ASSEMBLY, rear (black) | VRSCDX, VRSCDXA |
| 27 | 65089-05A | MUFFLER, top (Domestic, Cal., Canada, HDI, Australia, England, 105) | VRSCDX, VRSCDXA |
| 28 | 65096-05A | MUFFLER, bottom (Domestic, Cal., Canada, HDI, Australia, England, 105) | VRSCDX, VRSCDXA |
| 35 | 70580-08 | BRACKET, oxygen sensor - rear | VRSCDX, VRSCDXA |
| 38 | 64814-08 | AUXILIARY VOLUME (HDI, Australia, England, 105) | VRSCDX, VRSCDXA |
| 39 | 64816-07A | MUFFLER, bottom (Japan) | VRSCDX, VRSCDXA |
| 40 | 64817-07A | MUFFLER, top (Japan) | VRSCDX, VRSCDXA |
| Index No. | Part No. | Description | Model(s) |
| 6 | 65989-97B | BATTERY, w/ 4312B | ALL |
| Index No. | Part No. | Description | Model(s) |
| 46095-08BK | COVER HANDLEBAR, bottom | VRSCAW, VRSCAWA | |
| 46096-08BK | COVER HANDLEBAR, top | VRSCAW, VRSCAWA | |
| 8 | 67392-07A | INSTRUMENT CLUSTER, mph, w/ 67854-98, & 67880-94 (Domestic, California) | VRSCAW, VRSCAWA |
| 10 | 67453-07A | INSTRUMENT CLUSTER, mph, w/ 67854-98 & 67880-94 (Domestic, California) | VRSCD, VRSCDA, VRSCDX, VRSCDXA |
| 16 | 67308-07A | INSTRUMENT CLUSTER, kph, w/ 67854-98 & 67880-94 (Canada, HDI, Australia, Japan, & H105) | VRSCD, VRSCDA, VRSCDX, VRSCDXA |
| 17 | 67393-07A | INSTRUMENT CLUSTER, kph, w/ 67854-98 & 67880-94 (Canada, HDI, Australia, Japan, & H105) | VRSCAW, VRSCAWA |
| 18 | 67394-07A | INSTRUMENT CLUSTER, dual mph/kph, w/ 67854-98 & 67880-94 (England) | ALL |
| Index No. | Part No. | Description | Model(s) |
| 11 | 69152-01A | BRACKET, horn mount | ALL |
| 13 | 70480-07A | BRACKET, harness mount | ALL |
| Index No. | Part No. | Description | Model(s) |
| 70170-08 | MAIN WIRING HARNESS | VRSCAWA, VRSCDA, VRSCDXA |
| Index No. | Part No. | Description | Model(s) |
| 70170-08 | MAIN WIRING HARNESS (CONTINUED) | VRSCAWA, VRSCDA, VRSCDXA |
| Index No. | Part No. | Description | Model(s) |
| 70170-08 | MAIN WIRING HARNESS (CONTINUED) | VRSCAWA, VRSCDA, VRSCDXA | |
| 66 | 72547-08 | DIODE PACK | VRSCAWA, VRSCDA, VRSCDXA |
| 69 | 72606-08 | HOUSING SOCKET, 2-way (2) | VRSCAWA, VRSCDA, VRSCDXA |
| 70 | 72609-08 | SECONDARY LOCK, 2-way (5) | VRSCAWA, VRSCDA, VRSCDXA |
| 71 | 72610-08 | SEAL, 18-20 awg (white) (4) | VRSCAWA, VRSCDA, VRSCDXA |
| Index No. | Part No. | Description | Model(s) |
| 1 | 72063-06 | HOUSING, 2-way | ALL |
| 2 | 72094-06 | TERMINAL, socket (2) | ALL |
| 3 | 72096-06 | WIRE SEAL (2) | ALL |
| 4 | 72111-06 | SECONDARY LOCK, 2-way | ALL |
| 5 | 72168-07 | TERMINAL, socket (8) | ALL |
| 13 | 72479-07BK | SOCKET HOUSING, 8-way (black) | ALL |
| Index No. | Part No. | Description | Model(s) |
| 13 | 26735-08 | COVER ASSEMBLY, radiator w/ 3612, 8130, 26813-08, 66115-01, & 66116-01 (chrome) | VRSCAW, VRSCAWA, VRSCD, VRSCDA |
| 26813-08 | COVER ASSEMBLY, radiator w/ 3612, 8130, 26813-08, 26814-07, & 26815-07 (black) | VRSCDX, VRSCDXA | |
| 14 | 26788-08 | COVER ASSEMBLY, radiator molded | ALL |
| 15 | 62254-08 | NAMEPLATE, airbox | VRSCAW, VRSCAWA |
| 16 | 62392-08 | MEDALLION, airbox - left | VRSCAW, VRSCAWA |
| 62393-08 | MEDALLION, airbox - right | VRSCAW, VRSCAWA | |
| 23 | 66209-08 | COVER, non ABS | VRSCAW, VRSCD, VRSCDX |
| 24 | 66221-08 | BRACKET, cover - non ABS | VRSCAW, VRSCD, VRSCDX |
| 25 | 66157-07BDK | RADIATOR, trim cover - left (primed) | ALL |
| 66158-07BDK | RADIATOR, trim cover - right (primed) | ALL |
| Index No. | Part No. | Description | Model(s) |
| 13728-08 | NOISE LABEL (Australia) (not illustrated) | VRSCDX, VRSCDXA | |
| 15399-08 | NOISE LABEL (Australia) (not illustrated) | VRSCD, VRSCDA | |
| 15351-08 | NOISE LABEL, silver frame (Australia) (not illustrated) | VRSCAW, VRSCAWA | |
| 15311-08 | NOISE LABEL, black frame (Australia) (not illustrated) | VRSCAW, VRSCAWA |
| Index No. | Part No. | Description | Model(s) |
| 3 | 27378-08 | TUBE ASSEMBLY, tank to canister | ALL |
| 4 | 27382-08 | TUBE ASSEMBLY, canister to solenoid | ALL |
| 5 | 27391-07A | TUBE ASSEMBLY, solenoid to throttle body | ALL |
| 6 | 27433-08 | CARBON CANISTER ASSEMBLY | ALL |
| Part No. | Description |
| 10006 | |
| 10014 | |
| 10040 | |
| 1004M | |
| 10065 | |
| 1007M | |
| 1009M | |
| 10108 | |
| 1010M | |
| 10110 | |
| 10116 | |
| 10147 | |
| 1014M | |
| 10177 | |
| 1017M | |
| 10181 | |
| 1021M | |
| 10231 | |
| 10232K | |
| 1023M | |
| 10247 | |
| 1024M | |
| 1025M | |
| 10279 | |
| 1027M | |
| 10297 | |
| 1030M | |
| 1031M | |
| 1033M | |
| 1034M | |
| 1035M | |
| 1043MA | |
| 10950 | |
| 10965 | |
| 10994K | |
| 11101 | |
| 11130K | |
| 11140 | |
| 11143 | |
| 1114M | |
| 11155 | |
| 11200K | |
| 11271 | |
| 11272 | |
| 11289A | |
| 11290 | |
| 11291 | |
| 11304 | |
| 11312K | |
| 11314K | |
| 11328M | |
| 11329K | |
| 11331K | |
| 11335K | |
| 11341K | |
| 11346K | |
| 11347K | |
| 11353K | |
| 11354K | |
| 11355K | |
| 11356K | |
| 11361 | |
| 11362K | |
| 11363K | |
| 11366K | |
| 11384K | |
| 11391K | |
| 11392K | |
| 11519 | |
| 11523 | |
| 11524A | |
| 11542 | |
| 11558 | |
| 11568 | |
| 11570 | |
| 11607 | |
| 11608 | |
| 11630 | |
| 11632 | |
| 11804 | |
| 12071K | |
| 12072K | |
| 13694-07 | |
| 13725-08 | |
| 13728-08 | |
| 14270-92 | |
| 14758-01K | |
| 14791-01K | |
| 14794-01K | |
| 14795-01K | |
| 15311-08 | |
| 15348-01A | |
| 15351-08 | |
| 15368-01A | |
| 15370-01A | |
| 15399-08 | |
| 16298-05 | |
| 16299-01 | |
| 16300-06 | |
| 16306-04 | |
| 16307-05 | |
| 16308-01 | |
| 16311-05 | |
| 16312-04 | |
| 16448-01KA | |
| 17010-01K | |
| 17011-01KA | |
| 17122-08K | |
| 17123-08K | |
| 17125-08K | |
| 17126-08K | |
| 17406-01KA | |
| 17407-01KA | |
| 17416-01KA | |
| 17418-01K | |
| 17421-08K | |
| 17423-01K | |
| 17431-05K | |
| 17617-01K | |
| 17629-01K | |
| 17632-01K | |
| 17637-01K | |
| 17638-01K | |
| 17639-01K | |
| 17640-01K | |
| 17641-01K | |
| 17661-01K | |
| 17664-01K | |
| 17666-01K | |
| 17679-04K | |
| 17680-04K | |
| 17689-04K | |
| 17690-04K | |
| 17691-08K | |
| 17692-08K | |
| 17699-07K | |
| 17701-07K | |
| 17705-07K | |
| 18052-01K | |
| 18055-01K | |
| 18057-01K | |
| 18181-01K | |
| 18624-01K | |
| 18625-01K | |
| 18626-01K | |
| 18627-01K | |
| 18628-01K | |
| 18629-01K | |
| 18630-01K | |
| 18631-01K | |
| 18632-01K | |
| 18638-01K | |
| 18639-01K | |
| 18655-01K | |
| 18656-01K | |
| 18657-01K | |
| 18658-01K | |
| 18659-01K | |
| 18661-01K | |
| 18662-01K | |
| 18663-01K | |
| 18665-01K | |
| 18666-01K | |
| 18667-01K | |
| 18668-01K | |
| 18669-01K | |
| 18670-01K | |
| 18671-01K | |
| 18672-01K | |
| 18673-01K | |
| 18674-01K | |
| 18675-01K | |
| 18676-01K | |
| 18677-01K | |
| 18678-01K | |
| 18679-01K | |
| 18680-01K | |
| 18681-01K | |
| 18682-01K | |
| 18683-01K | |
| 18684-01K | |
| 18685-01K | |
| 18686-01K | |
| 18687-01K | |
| 18688-06K | |
| 18692-01K | |
| 18693-01K | |
| 18694-01K | |
| 18695-01K | |
| 18696-01K | |
| 18697-01K | |
| 18698-01K | |
| 18699-01K | |
| 18700-01K | |
| 18701-01K | |
| 18702-01K | |
| 19556-08K | |
| 19558-08K | |
| 19569-08K | |
| 19590-08K | |
| 22121-01K | |
| 22919-05K | |
| 22928-05KA | |
| 22934-08K | |
| 22953-08K | |
| 23712-01K | |
| 23725-01K | |
| 24307-01K | |
| 24311-01K | |
| 24312-01K | |
| 24409-01K | |
| 24410-01K | |
| 24411-01K | |
| 24412-01K | |
| 24413-01K | |
| 24465-08K | |
| 24467-08K | |
| 24927-01 | |
| 24986-01K | |
| 25080-01K | |
| 25294-04K | |
| 25295-04K | |
| 25311-04K | |
| 25732-01K | |
| 25800-01K | |
| 25878-07K | |
| 25891-01K | |
| 25894-07K | |
| 25895-04K | |
| 25899-07K | |
| 2590 | |
| 25911-01K | |
| 25941-08K | |
| 25943-08K | |
| 26022-02K | |
| 26034-01K | |
| 26103-01K | |
| 26107-04K | |
| 26393-01K | |
| 26399-01K | |
| 26534-01K | |
| 26539-01K | |
| 26541-01K | |
| 26542-01K | |
| 26561-99 | |
| 26575-01K | |
| 26578-01K | |
| 26582-01K | |
| 26722-04 | |
| 26723-04 | |
| 26724-04 | |
| 26730-01 | |
| 26733-01 | |
| 26735-08 | |
| 26737-01K | |
| 26738-01K | |
| 26739-01K | |
| 26740-01K | |
| 26748-01K | |
| 26749-01K | |
| 26750-01K | |
| 26752-01K | |
| 26753-01 | |
| 26754-01 | |
| 26755-01 | |
| 26756-01 | |
| 26757-01 | |
| 26758-01 | |
| 26759-04K | |
| 26762-04K | |
| 26765-01K | |
| 26767-01 | |
| 26768-01A | |
| 26769-04K | |
| 26770-01 | |
| 26772-04 | |
| 26777-01 | |
| 26778-04K | |
| 26780-05A | |
| 26782-01A | |
| 26788-08 | |
| 26790-01 | |
| 26803-07A | |
| 26812-07 | |
| 26813-08 | |
| 26814-07 | |
| 26815-07 | |
| 26821-07K | |
| 26834-08 | |
| 26835-08 | |
| 27043-02KA | |
| 27225-01 | |
| 27378-08 | |
| 27382-08 | |
| 27388-01 | |
| 27391-07A | |
| 27408-01 | |
| 27431-07A | |
| 27433-08 | |
| 27628-01 | |
| 27657-01 | |
| 27662-01B | |
| 27665-01A | |
| 27667-01K | |
| 27669-01K | |
| 27703-08 | |
| 27714-06 | |
| 27715-07 | |
| 27975-01 | |
| 27977-01 | |
| 27982-01 | |
| 27990-01 | |
| 27993-01 | |
| 27995-01 | |
| 28002-01 | |
| 28862-01 | |
| 28863-01 | |
| 29434-03 | |
| 29435-05 | |
| 29436-01 | |
| 29437-01 | |
| 29438-01 | |
| 29439-01 | |
| 29504-05A | |
| 29505-05 | |
| 29519-01 | |
| 29521-01 | |
| 29522-01 | |
| 2955 | |
| 29566-06 | |
| 29568-06 | |
| 29601-05K | |
| 29647-01 | |
| 30731-01K | |
| 30734-08K | |
| 3074M | |
| 3108M | |
| 31301-01K | |
| 31303-01K | |
| 31586-07 | |
| 31651-01 | |
| 31717-01K | |
| 31718-07K | |
| 32313-01A | |
| 32315-01 | |
| 32316-99 | |
| 32335-04 | |
| 32424-98 | |
| 32477-01 | |
| 32534-05C | |
| 3292MA | |
| 33048-72 | |
| 33084-06 | |
| 33129-06 | |
| 33133-06 | |
| 33134-07CAZ | |
| 33135-07CAZ | |
| 33189-63 | |
| 33738-04 | |
| 33757-01A | |
| 33758-01 | |
| 33785-06 | |
| 3385M | |
| 3386 | |
| 33902-98A | |
| 34007-01K | |
| 34567-01 | |
| 34611-65A | |
| 34647-04 | |
| 34686-06 | |
| 34696-04 | |
| 34783-05 | |
| 34877-07 | |
| 34878-07 | |
| 34918-08 | |
| 34927-05 | |
| 34949-08 | |
| 34985-08 | |
| 35001-01K | |
| 35002-01K | |
| 35003-01K | |
| 35004-01K | |
| 35017-01K | |
| 3514 | |
| 3540 | |
| 35420-01K | |
| 35423-04K | |
| 35427-01K | |
| 35428-01K | |
| 35429-01K | |
| 35430-01KA | |
| 35432-01K | |
| 35433-01K | |
| 35434-01K | |
| 35441-01K | |
| 35442-01K | |
| 35443-01K | |
| 35445-01K | |
| 35451-01K | |
| 35454-01KA | |
| 35455-01KA | |
| 3556A | |
| 3612 | |
| 3655A | |
| 3658 | |
| 36699-01KA | |
| 36701-08K | |
| 36702-08K | |
| 36704-08K | |
| 36705-08K | |
| 36706-08K | |
| 36707-01K | |
| 36709-01K | |
| 36710-08K | |
| 36711-08K | |
| 36712-08K | |
| 36713-01K | |
| 36714-01K | |
| 36720-08K | |
| 36731-91 | |
| 36757-05K | |
| 36779-05K | |
| 36780-01K | |
| 36781-01K | |
| 36782-04K | |
| 3700MA | |
| 3701M | |
| 3703M | |
| 3704M | |
| 3707M | |
| 3708M | |
| 3709M | |
| 3711M | |
| 37124-08 | |
| 37156-07 | |
| 37157-07 | |
| 3716M | |
| 3718M | |
| 3724M | |
| 3725M | |
| 3726M | |
| 3729M | |
| 3731M | |
| 3753M | |
| 3755M | |
| 3759M | |
| 3762M | |
| 37909-90 | |
| 37938-08K | |
| 3798M | |
| 3815M | |
| 3832M | |
| 3853M | |
| 38653-01 | |
| 38658-01B | |
| 38692-04C | |
| 38744-06A | |
| 38841-08K | |
| 38842-08K | |
| 3919M | |
| 3920M | |
| 3966M | |
| 40014-04K | |
| 40095-01K | |
| 40144-07 | |
| 40145-07 | |
| 40399-01M | |
| 4042 | |
| 40434-01 | |
| 40564-07 | |
| 40590-07 | |
| 40648-08 | |
| 40652-08 | |
| 40656-06A | |
| 40657-06A | |
| 40668-07 | |
| 40669-07 | |
| 40689-08 | |
| 40761-05 | |
| 40762-05 | |
| 40999-87 | |
| 409K | |
| 41007-07 | |
| 41123-79 | |
| 41139-02 | |
| 41242-08 | |
| 4132 | |
| 41469-08 | |
| 41471-08 | |
| 41473-06 | |
| 41529-08 | |
| 41538-06 | |
| 41544-08 | |
| 41550-08 | |
| 41628-08 | |
| 41667-06 | |
| 41669-06 | |
| 41714-05 | |
| 41748-08 | |
| 41750-06A | |
| 41751-06A | |
| 41783-08 | |
| 41855-08 | |
| 41861-08 | |
| 41967-07A | |
| 41968-07 | |
| 41996-07 | |
| 42145-06 | |
| 42264-08 | |
| 42265-08 | |
| 42268-08 | |
| 42285-08 | |
| 42294-08 | |
| 42375-87 | |
| 4240 | |
| 42443-80A | |
| 42460-80B | |
| 4250M | |
| 42569-03 | |
| 42584-01 | |
| 42586-06 | |
| 42704-06 | |
| 42819-06 | |
| 42849-08 | |
| 42850-06B | |
| 42851-06 | |
| 42852-06A | |
| 42853-06 | |
| 42854-06 | |
| 42855-06A | |
| 42857-06A | |
| 42858-06 | |
| 42859-06B | |
| 42860-06B | |
| 42861-06A | |
| 42862-06A | |
| 42863-06 | |
| 42865-06A | |
| 42866-06 | |
| 42867-06A | |
| 42868-06 | |
| 42869-06A | |
| 42870-06 | |
| 42871-06 | |
| 42872-06 | |
| 42873-06 | |
| 42876-06A | |
| 42883-06A | |
| 42884-06 | |
| 42885-06 | |
| 42886-06 | |
| 42887-06 | |
| 42888-06 | |
| 42889-06 | |
| 42897-08 | |
| 43045-08 | |
| 43050-08 | |
| 4312B | |
| 43157-83A | |
| 43172-01B | |
| 43173-01 | |
| 43212-01 | |
| 43214-08 | |
| 43380-08 | |
| 43507-07 | |
| 43509-08 | |
| 43534-08 | |
| 43567-92 | |
| 4363 | |
| 43704-08 | |
| 43708-01 | |
| 43914-06 | |
| 43915-06 | |
| 43917-01 | |
| 44089-08 | |
| 44160-00 | |
| 44405-07 | |
| 44505-08 | |
| 44506-08 | |
| 44551-08 | |
| 44553-06A | |
| 44571-06A | |
| 4470M | |
| 4471M | |
| 44722-08 | |
| 44723-08 | |
| 44724-08 | |
| 44725-08 | |
| 44731-08 | |
| 44732-08 | |
| 44735-06 | |
| 44736-06 | |
| 44738-06 | |
| 44740-06 | |
| 44741-06 | |
| 4484M | |
| 4485M | |
| 45041-01A | |
| 45044-96A | |
| 45050-06 | |
| 45065-06 | |
| 45067-06 | |
| 45069-01 | |
| 45070-01 | |
| 45138-08 | |
| 4530M | |
| 4534M | |
| 45405-75A | |
| 4543 | |
| 4552 | |
| 4560M | |
| 45611-86 | |
| 4561M | |
| 45670-80A | |
| 45701-07A | |
| 45718-60 | |
| 45727-08 | |
| 4576M | |
| 45804-01 | |
| 4593M | |
| 4597M | |
| 4603M | |
| 46080-01 | |
| 4608M | |
| 46095-04BGO | |
| 46095-08BK | |
| 46096-04BGO | |
| 46096-08BK | |
| 4612 | |
| 46244-01 | |
| 46246-01 | |
| 46322-06 | |
| 46324-06 | |
| 46383-06 | |
| 46504-07 | |
| 46505-01 | |
| 46506-01A | |
| 46507-01 | |
| 46508-01 | |
| 46509-01 | |
| 46510-07 | |
| 46511-07 | |
| 46512-01 | |
| 46513-01 | |
| 46514-01 | |
| 46515-01 | |
| 46516-01 | |
| 46517-01 | |
| 46518-01 | |
| 46519-01 | |
| 46612-06 | |
| 46635-07 | |
| 46691-07 | |
| 46756-07 | |
| 46757-07 | |
| 46762-07 | |
| 46763-07 | |
| 46764-07 | |
| 46787-06 | |
| 46788-06A | |
| 46798-07A | |
| 46849-07 | |
| 46855-07A | |
| 46859-07 | |
| 46957-07 | |
| 4700 | |
| 4741A | |
| 47764-08 | |
| 47765-08 | |
| 4793M | |
| 47959-07BK | |
| 47987-07BGO | |
| 47987-07BK | |
| 47988-08BGO | |
| 47988-08BK | |
| 48067-08BK | |
| 48086-01 | |
| 48184-01 | |
| 482K | |
| 48300-60 | |
| 48315-60 | |
| 48324-00 | |
| 48386-05 | |
| 48389-01 | |
| 48392-05 | |
| 48486-07 | |
| 48517-07 | |
| 48523-07 | |
| 485K | |
| 48606-07 | |
| 48612-07 | |
| 486K | |
| 48712-07 | |
| 487K | |
| 488K | |
| 49135-06 | |
| 49733-07BGO | |
| 49733-07BK | |
| 50003-89B | |
| 50005-85A | |
| 50272-02 | |
| 50274-02 | |
| 50277-08 | |
| 50912-72 | |
| 51089-06BK | |
| 51091-06BK | |
| 51097-06 | |
| 51180-07 | |
| 515 | |
| 51547-07 | |
| 51574-07 | |
| 51722-07 | |
| 51723-07 | |
| 51836-08 | |
| 51864-08 | |
| 51952-07 | |
| 52041-82 | |
| 52326-07 | |
| 5234 | |
| 5235 | |
| 5236M | |
| 52371-07 | |
| 5237M | |
| 52383-07 | |
| 52386-07 | |
| 52387-07 | |
| 5238M | |
| 52402-01 | |
| 52410-07 | |
| 53158-98 | |
| 53436-97 | |
| 53438-92 | |
| 54321-85 | |
| 54556-84 | |
| 54582-07 | |
| 54583-07 | |
| 54667-07 | |
| 54715-96 | |
| 554A | |
| 55988-04 | |
| 55999-06 | |
| 56046-01 | |
| 56073-83 | |
| 56206-96 | |
| 56220-94A | |
| 56284-06 | |
| 56365-01 | |
| 56367-01 | |
| 56394-74 | |
| 56396-74A | |
| 56402-83A | |
| 56508-76 | |
| 56593-04 | |
| 56594-04 | |
| 56666-04 | |
| 56667-04 | |
| 56953-07 | |
| 56984-07 | |
| 56985-07 | |
| 59018-98 | |
| 59020-01A | |
| 59259-90 | |
| 59283-01 | |
| 59407-01 | |
| 59447-07 | |
| 59464-06 | |
| 59481-00 | |
| 59482-00 | |
| 59557-07A | |
| 59605-07BEO | |
| 59690-07 | |
| 59789-07BEO | |
| 59823-07BEO | |
| 59988-72A | |
| 60119-03 | |
| 60473-07A | |
| 60474-07 | |
| 60970-07 | |
| 6101 | |
| 61081-92 | |
| 6110 | |
| 61109-85D | |
| 61274-92 | |
| 61284-06 | |
| 61285-06 | |
| 6137K | |
| 61504-07 | |
| 61505-07 | |
| 6176MA | |
| 62107-01 | |
| 62109-07 | |
| 62113-07 | |
| 6215M | |
| 62254-08 | |
| 62392-08 | |
| 62393-08 | |
| 62791-06 | |
| 62792-06 | |
| 62797-06 | |
| 62798-06 | |
| 62909-04 | |
| 62921-07 | |
| 62940-04 | |
| 62941-04 | |
| 62943-01 | |
| 62953-08 | |
| 6298M | |
| 6302 | |
| 63650-04K | |
| 63654-04K | |
| 63793-01K | |
| 6424 | |
| 6454 | |
| 64751-08 | |
| 64752-08 | |
| 64801-07A | |
| 64802-07 | |
| 64803-07 | |
| 64810-07 | |
| 64813-07 | |
| 64814-08 | |
| 64815-07 | |
| 64816-07A | |
| 64817-07A | |
| 64908-04A | |
| 64909-04 | |
| 64911-04 | |
| 64929-08 | |
| 64930-01 | |
| 65043-01A | |
| 65045-01 | |
| 65046-01 | |
| 65089-05A | |
| 65096-05A | |
| 65102-01 | |
| 65106-01 | |
| 65107-01 | |
| 65108-01 | |
| 65109-01 | |
| 65110-01 | |
| 65111-01A | |
| 65112-01 | |
| 65113-07 | |
| 65151-01B | |
| 65152-01A | |
| 65153-01A | |
| 65165-01 | |
| 65200-01 | |
| 65204-06 | |
| 65205-06 | |
| 65206-06A | |
| 65211-08 | |
| 65215-06A | |
| 65226-06A | |
| 65246-06A | |
| 65341-07 | |
| 65342-07 | |
| 65428-06A | |
| 65429-06A | |
| 65633-06 | |
| 65989-97B | |
| 66017-01 | |
| 66056-00 | |
| 66115-01 | |
| 66116-01 | |
| 66154-07BEO | |
| 66155-07 | |
| 66156-07 | |
| 66157-07BDK | |
| 66158-07BDK | |
| 66208-08 | |
| 66209-08 | |
| 66221-08 | |
| 66306-07BYM | |
| 66306-07DH | |
| 66494-01 | |
| 6655 | |
| 66712-01 | |
| 66713-01 | |
| 66777-07 | |
| 66820-06 | |
| 6703 | |
| 67308-07A | |
| 67392-07A | |
| 67393-07A | |
| 67394-07A | |
| 67399-01 | |
| 67453-07A | |
| 67591-04 | |
| 67621-94 | |
| 67657-05 | |
| 67658-05 | |
| 67667-05 | |
| 67717-01 | |
| 67790-93A | |
| 67822-88 | |
| 67827-88A | |
| 67831-03 | |
| 67854-98 | |
| 67880-94 | |
| 67883-04A | |
| 68134-97 | |
| 68163-84 | |
| 68168-89A | |
| 68169-90A | |
| 68205-07 | |
| 68254-01 | |
| 68255-01 | |
| 68256-01 | |
| 68297-05 | |
| 68324-01 | |
| 68325-07 | |
| 68326-01A | |
| 68327-01A | |
| 68329-03 | |
| 68335-05 | |
| 68340-01 | |
| 68341-05 | |
| 6837M | |
| 68380-05 | |
| 6838M | |
| 6839M | |
| 6856M | |
| 6859M | |
| 6864 | |
| 68650-92 | |
| 6872M | |
| 6874 | |
| 6876M | |
| 68804-06 | |
| 68807-01 | |
| 68838-06 | |
| 68876-07 | |
| 68879-07 | |
| 68880-01 | |
| 68881-01 | |
| 68882-01A | |
| 68883-01A | |
| 68884-01 | |
| 68904-00 | |
| 68906-00 | |
| 68921-07 | |
| 68925-07 | |
| 68926-07 | |
| 68956-07 | |
| 68958-07A | |
| 68971-98B | |
| 68972-00 | |
| 68973-00 | |
| 68975-00 | |
| 68976-00 | |
| 68985-07 | |
| 69018-00 | |
| 69040-01A | |
| 69051-07A | |
| 69060-90D | |
| 69066-01A | |
| 69068-01A | |
| 69086-07A | |
| 69110-01 | |
| 69143-01 | |
| 69148-01 | |
| 69152-01A | |
| 6917M | |
| 69190-07 | |
| 69271-06 | |
| 69323-02 | |
| 69325-02 | |
| 69330-02 | |
| 69331-02 | |
| 69356-06 | |
| 69490-07 | |
| 69537-07 | |
| 69581-07 | |
| 69583-07 | |
| 69584-07 | |
| 69587-07 | |
| 6966M | |
| 69861-07 | |
| 69862-07 | |
| 69873-07 | |
| 69874-07 | |
| 69875-07 | |
| 70003-04 | |
| 70010-03 | |
| 70018-07 | |
| 70020-05 | |
| 70068-96 | |
| 70106-07 | |
| 70108-07 | |
| 70110-07 | |
| 70125-08 | |
| 70155-07 | |
| 70170-08 | |
| 70345-84 | |
| 7036 | |
| 7039 | |
| 70393-07 | |
| 70394-07 | |
| 70406-06 | |
| 7041 | |
| 70432-06 | |
| 70433-06 | |
| 70441-01 | |
| 70473-07 | |
| 70475-07 | |
| 70480-07A | |
| 70493-08 | |
| 70494-08 | |
| 70504-81 | |
| 70578-89 | |
| 70580-08 | |
| 70585-93 | |
| 70620-07 | |
| 70631-08 | |
| 70634-08 | |
| 70635-08 | |
| 7081 | |
| 7124 | |
| 7127 | |
| 71352-07 | |
| 71402-07 | |
| 71452-91A | |
| 71474-07 | |
| 71509-00 | |
| 71563-96 | |
| 71564-96 | |
| 71567-96 | |
| 71568-96A | |
| 71578-01 | |
| 71589-96B | |
| 71590-96A | |
| 71591-00 | |
| 71597-96B | |
| 71598-00 | |
| 72007-05 | |
| 72009-05 | |
| 72011-05 | |
| 72023-51D | |
| 72025-06 | |
| 72056-92 | |
| 72063-06 | |
| 72064-06 | |
| 72066-06 | |
| 72076-00 | |
| 72077-00 | |
| 72078-00 | |
| 72094-06 | |
| 72096-06 | |
| 72100-04 | |
| 72111-06 | |
| 72124-94GY | |
| 72134-94GY | |
| 72135-06 | |
| 72139-94GY | |
| 72144-94 | |
| 72154-94 | |
| 72159-94 | |
| 72164-94A | |
| 72168-07 | |
| 72169-07 | |
| 72188-07BK | |
| 72190-94 | |
| 72191-94 | |
| 72195-94 | |
| 72213-94 | |
| 72214-94 | |
| 72230-98 | |
| 72231-98 | |
| 72244-95 | |
| 72245-95 | |
| 72260-04 | |
| 72266-94 | |
| 72272-07 | |
| 72289-04 | |
| 72290-94 | |
| 72291-94 | |
| 72292-94 | |
| 72314-01 | |
| 72326-95 | |
| 72327-03 | |
| 72330-95 | |
| 72405-98BK | |
| 72405-98GN | |
| 72412-97 | |
| 72414-07BK | |
| 72430-00 | |
| 72434-00 | |
| 72447-07GY | |
| 72449-01 | |
| 72450-01 | |
| 72469-07GY | |
| 72473-07 | |
| 72478-07BK | |
| 72479-07BK | |
| 72485-07 | |
| 72493-07 | |
| 72494-07 | |
| 72500-07BK | |
| 72506-07 | |
| 72511-07BK | |
| 72512-07BK | |
| 72516-01 | |
| 72518-01 | |
| 72520-01 | |
| 72521-01 | |
| 72522-01 | |
| 72523-01 | |
| 72524-01 | |
| 72525-01 | |
| 72526-01 | |
| 72527-01 | |
| 72528-01 | |
| 72532-02 | |
| 72539-06 | |
| 72541-07BN | |
| 72542-07BN | |
| 72543-07BK | |
| 72544-07 | |
| 72547-08 | |
| 72557-07 | |
| 72558-07 | |
| 72606-08 | |
| 72607-08 | |
| 72608-08 | |
| 72609-08 | |
| 72610-08 | |
| 72611-07 | |
| 72633-02 | |
| 72720-07 | |
| 72721-07 | |
| 73101-96BK | |
| 73102-96BK | |
| 73104-96BK | |
| 73106-96BK | |
| 73152-96BK | |
| 73154-96BK | |
| 73156-96BK | |
| 73190-96 | |
| 73191-96 | |
| 73215-07 | |
| 74112-98BK | |
| 74119-98BK | |
| 74152-98 | |
| 74159-98 | |
| 74191-98 | |
| 74194-98 | |
| 74195-98 | |
| 7427M | |
| 7432M | |
| 7433M | |
| 7435M | |
| 74402-05 | |
| 74440-08 | |
| 7460M | |
| 7495 | |
| 75169-07 | |
| 75210-07A | |
| 75254-04A | |
| 75272-07 | |
| 75274-07 | |
| 75310-07 | |
| 755 | |
| 7606 | |
| 76231-08 | |
| 769MA | |
| 7744 | |
| 7813A | |
| 7910M | |
| 7951 | |
| 7999M | |
| 8002K | |
| 8006 | |
| 8008M | |
| 8020 | |
| 8026K | |
| 8027K | |
| 8028K | |
| 8029K | |
| 8070M | |
| 8130 | |
| 8235 | |
| 8885 | |
| 90339-06 | |
| 90520-07 | |
| 91846-03A | |
| 91848-03A | |
| 91909-03A | |
| 91910-03A | |
| 9208 | |
| 9252 | |
| 9254 | |
| 9276 | |
| 94756-01 | |
| 95578-41 | |
| 95581-47 | |
| 95582-47 | |
| 95594-84 | |
| 95595-84 | |
| 964 | |
| 965M | |
| 966M | |
| 968M | |
| 970M | |
| 972M | |
| 973M | |
| 978M | |
| 9825 | |
| 9830 | |
| 9838 | |
| 983M | |
| 9847 | |
| 9848 | |
| 984M | |
| 9898 | |
| 9907 | |
| 9954 | |
| 9998 |
| Part No. | Description |
| 101A1 - Generic Nuts | |
| 7433M | Unknown |
| 7951 | Unknown |
| 3724M | Unknown |
| 7427M | Unknown |
| 7813A | 2007 |
| 8130 | Unknown |
| 7999M | 2002 |
| 7910M | Unknown |
| 8070M | 2003 |
| 7495 | 1994 |
| 29522-01 | 2001 |
| 7435M | Unknown |
| 8006 | Unknown |
| 8020 | 2002 |
| 7744 | 1943 |
| 7432M | Unknown |
| 3725M | Unknown |
| 102A1 - Generic Screws | |
| 1023M | Unknown |
| 40399-01M | 2001 |
| 4561M | Unknown |
| 4250M | Unknown |
| 46612-06 | 2006 |
| 1014M | Unknown |
| 4560M | Unknown |
| 42375-87 | 1987 |
| 1004M | Unknown |
| 978M | Unknown |
| 4741A | 1994 |
| 1025M | Unknown |
| 3655A | Unknown |
| 4530M | Unknown |
| 3731M | Unknown |
| 2955 | 1996 |
| 1027M | Unknown |
| 1035M | Unknown |
| 43567-92 | 1992 |
| 3514 | Unknown |
| 4597M | Unknown |
| 1024M | Unknown |
| 1017M | Unknown |
| 4042 | Unknown |
| 4552 | Unknown |
| 3612 | 2012 |
| 4543 | Unknown |
| 3753M | Unknown |
| 4132 | Unknown |
| 1114M | Unknown |
| 968M | Unknown |
| 4576M | Unknown |
| 3658 | Unknown |
| 45405-75A | 1975 |
| 3853M | 2001 |
| 4240 | Unknown |
| 4485M | Unknown |
| 3798M | Unknown |
| 3755M | Unknown |
| 3815M | Unknown |
| 3762M | 2000 |
| 4484M | Unknown |
| 3703M | Unknown |
| 3919M | Unknown |
| 3708M | 2011 |
| 42858-06 | 2006 |
| 3700MA | Unknown |
| 4612 | Unknown |
| 3707M | Unknown |
| 984M | Unknown |
| 970M | Unknown |
| 1033M | Unknown |
| 3386 | Unknown |
| 3108M | Unknown |
| 3729M | Unknown |
| 3711M | Unknown |
| 3704M | Unknown |
| 983M | Unknown |
| 27225-01 | 2001 |
| 972M | Unknown |
| 42819-06 | 2006 |
| 3759M | Unknown |
| 973M | Unknown |
| 56402-83A | 1983 |
| 3701M | Unknown |
| 1031M | Unknown |
| 3074M | Unknown |
| 3556A | Unknown |
| 4363 | 2013 |
| 4312B | 2005 |
| 4603M | Unknown |
| 4793M | Unknown |
| 1009M | Unknown |
| 1021M | Unknown |
| 5236M | 2004 |
| 1030M | Unknown |
| 3920M | Unknown |
| 3966M | Unknown |
| 4470M | Unknown |
| 966M | Unknown |
| 4534M | 2010 |
| 3716M | Unknown |
| 4593M | 2007 |
| 3726M | Unknown |
| 1007M | Unknown |
| 1010M | Unknown |
| 3540 | Unknown |
| 2590 | 2005 |
| 3709M | Unknown |
| 4471M | Unknown |
| 965M | Unknown |
| 3832M | 2022 |
| 3385M | Unknown |
| 103A1 - Generic Washers | |
| 6454 | Unknown |
| 59018-98 | 1998 |
| 27714-06 | 2006 |
| 6302 | Unknown |
| 6876M | Unknown |
| 6424 | Unknown |
| 6872M | Unknown |
| 6837M | Unknown |
| 46509-01 | 2001 |
| 6859M | Unknown |
| 6110 | Unknown |
| 6917M | Unknown |
| 6838M | Unknown |
| 6137K | Unknown |
| 6101 | 2011 |
| 11523 | Unknown |
| 6839M | Unknown |
| 45727-08 | 2008 |
| 7039 | Unknown |
| 6966M | Unknown |
| 94756-01 | 2001 |
| 6856M | Unknown |
| 6655 | 1979 |
| 7041 | 1958 |
| 6703 | 1970 |
| 6215M | Unknown |
| 104A1 - Custom Nuts | |
| 5238M | 2004 |
| 48486-07 | 2007 |
| 54321-85 | 1985 |
| 7606 | 1983 |
| 8008M | Unknown |
| 105A1 - Custom Screws | |
| 1043MA | Unknown |
| 3292MA | Unknown |
| 5237M | 2004 |
| 106A1 - Custom Washers | |
| 25911-01K | 2001 |
| 6874 | Unknown |
| 7124 | Unknown |
| 108A1 - Hose Clamps | |
| 10231 | Unknown |
| 9954 | Unknown |
| 26770-01 | 2001 |
| 9830 | Unknown |
| 62943-01 | 2001 |
| 61284-06 | 2006 |
| 9998 | Unknown |
| 11608 | Unknown |
| 10232K | Unknown |
| 10014 | Unknown |
| 26730-01 | 2001 |
| 56284-06 | 2006 |
| 26777-01 | 2001 |
| 10297 | 2007 |
| 45044-96A | 1996 |
| 26790-01 | 2001 |
| 108B1 - P Clamps | |
| 10110 | Unknown |
| 109A1 - Studs | |
| 10116 | Unknown |
| 16448-01KA | 2001 |
| 59464-06 | 2006 |
| 964 | Unknown |
| 66713-01 | 2001 |
| 110B1 - Plain Bushings | |
| 8029K | Unknown |
| 11568 | 2004 |
| 8028K | Unknown |
| 11519 | Unknown |
| 35420-01K | 2001 |
| 9252 | 2019 |
| 46246-01 | 2001 |
| 9254 | 2006 |
| 54556-84 | 1984 |
| 42569-03 | 2003 |
| 8027K | Unknown |
| 48389-01 | 2001 |
| 11542 | Unknown |
| 8885 | Unknown |
| 42443-80A | 1980 |
| 9208 | Unknown |
| 110C1 - Radial Shaft Seals | |
| 12072K | Unknown |
| 12071K | Unknown |
| 6298M | Unknown |
| 11291 | Unknown |
| 110D1 - Rolling Element Bearings | |
| 14794-01K | 2001 |
| 14795-01K | 2001 |
| 6176MA | Unknown |
| 9276 | 2007 |
| 111A1 - Adhesive | |
| 9825 | Unknown |
| 72525-01 | 2001 |
| 72524-01 | 2001 |
| 9907 | Unknown |
| 72523-01 | 2001 |
| 72527-01 | 2001 |
| 72522-01 | 2001 |
| 9838 | Unknown |
| 111F1 - Protective Tape | |
| 61285-06 | 2006 |
| 59283-01 | 2001 |
| 116A1 - Banjo Bolts | |
| 41750-06A | 2007 |
| 41783-08 | 2008 |
| 72025-06 | 2006 |
| 117A1 - Coil Springs | |
| 56396-74A | 1974 |
| 119A1 - O-Rings | |
| 11570 | Unknown |
| 11347K | Unknown |
| 10965 | Unknown |
| 28862-01 | 2001 |
| 11341K | Unknown |
| 11130K | Unknown |
| 11630 | Unknown |
| 27669-01K | 2001 |
| 11353K | Unknown |
| 11362K | Unknown |
| 11101 | 1949 |
| 11391K | Unknown |
| 11392K | Unknown |
| 11140 | 1982 |
| 11289A | Unknown |
| 11354K | Unknown |
| 11366K | Unknown |
| 46508-01 | 2001 |
| 11290 | 1998 |
| 11331K | Unknown |
| 11312K | 2011 |
| 10994K | Unknown |
| 11361 | Unknown |
| 11314K | Unknown |
| 11346K | Unknown |
| 120A1 - Pins | |
| 482K | Unknown |
| 409K | Unknown |
| 488K | Unknown |
| 42460-80B | 1980 |
| 50003-89B | 1989 |
| 485K | Unknown |
| 487K | Unknown |
| 515 | Unknown |
| 45041-01A | 2001 |
| 486K | Unknown |
| 64930-01 | 2001 |
| 121A1 - Grommets | |
| 26757-01 | 2001 |
| 41471-08 | 2008 |
| 26758-01 | 2001 |
| 121B1 - Press-Fit Plugs | |
| 5234 | Unknown |
| 43212-01 | 2001 |
| 769MA | Unknown |
| 43708-01 | 2001 |
| 6864 | Unknown |
| 72164-94A | 1994 |
| 755 | 2018 |
| 90520-07 | 2007 |
| 121C1 - Threaded Plugs | |
| 1034M | Unknown |
| 122A1 - Retaining Rings | |
| 11271 | Unknown |
| 11272 | Unknown |
| 65045-01 | 2001 |
| 11632 | Unknown |
| 10279 | Unknown |
| 11363K | Unknown |
| 10040 | 1982 |
| 45611-86 | 1986 |
| 10950 | Unknown |
| 10108 | Unknown |
| 11155 | Unknown |
| 22121-01K | 2001 |
| 11355K | Unknown |
| 41139-02 | 2002 |
| 11607 | Unknown |
| 11143 | Unknown |
| 11356K | Unknown |
| 11328M | Unknown |
| 71509-00 | 2000 |
| 11335K | Unknown |
| 11304 | Unknown |
| 11200K | Unknown |
| 10147 | 2018 |
| 11384K | Unknown |
| 10247 | 2006 |
| 29519-01 | 2001 |
| 123A1 - Sealing Washers | |
| 41751-06A | 2006 |
| 123B1 - Spring Washers | |
| 7081 | Unknown |
| 7127 | Unknown |
| 124A1 - Spacers | |
| 11804 | Unknown |
| 48386-05 | 2005 |
| 46515-01 | 2001 |
| 125A1 - Tie Straps | |
| 10065 | 1985 |
| 10177 | 1996 |
| 10181 | 1996 |
| 10006 | 1960 |
| 126A1 - Miscellaneous Hardware | |
| 66712-01 | 2001 |
| 48324-00 | 2000 |
| 11524A | Unknown |
| 40434-01 | 2001 |
| 68134-97 | 1997 |
| 69148-01 | 2001 |
| 11329K | Unknown |
| 11558 | Unknown |
| 27995-01 | 2001 |
| 45065-06 | 2006 |
| 42871-06 | 2006 |
| 56394-74 | 1974 |
| 126B1 - Rivets Fasteners | |
| 8235 | Unknown |
| 127B1 - Generic Mounting Bracket | |
| 43214-08 | 2008 |
| 140A1 - Battery Warning Label | |
| 15368-01A | 2001 |
| 140A3 - Other Special Warning Label | |
| 13725-08 | 2008 |
| 15370-01A | 2001 |
| 15348-01A | 2001 |
| 140D3 - Fuse Block Label | |
| 13694-07 | 2007 |
| 140G3 - Noise Label | |
| 15351-08 | 2008 |
| 15311-08 | 2008 |
| 15399-08 | 2008 |
| 141A1 - Medallion | |
| 67667-05 | 2005 |
| 34949-08 | 2008 |
| 14270-92 | 1992 |
| 34918-08 | 2008 |
| 62798-06 | 2006 |
| 62792-06 | 2006 |
| 62797-06 | 2006 |
| 34877-07 | 2007 |
| 70432-06 | 2006 |
| 62791-06 | 2006 |
| 162D1 - Engine Assembly | |
| 19556-08K | 2008 |
| 19569-08K | 2008 |
| 19590-08K | 2008 |
| 19558-08K | 2008 |
| 163B1 - Engine Isolator Mount | |
| 16307-05 | 2005 |
| 65107-01 | 2001 |
| 16311-05 | 2005 |
| 16298-05 | 2005 |
| 16308-01 | 2001 |
| 164A1 - Engine Mount Bracket | |
| 16299-01 | 2001 |
| 16300-06 | 2006 |
| 164B1 - Engine Mount Bracket sub-component | |
| 7460M | Unknown |
| 27667-01K | 2001 |
| 16312-04 | 2004 |
| 164D1 - Tiebar Mount | |
| 16306-04 | 2004 |
| 165A1 - Cylinder Head | |
| 17123-08K | 2008 |
| 17122-08K | 2008 |
| 17692-08K | 2008 |
| 27043-02KA | 2012 |
| 17125-08K | 2008 |
| 17126-08K | 2008 |
| 165B1 - Cylinder Head and Base Gaskets | |
| 17691-08K | 2008 |
| 17011-01KA | 2002 |
| 167A1 - PT Assembly Miscellaneous Component | |
| 36731-91 | 1991 |
| 168B1 - Cylinder Liner | |
| 22928-05KA | 2005 |
| 179A1 - Lifters | |
| 18181-01K | 2001 |
| 180A1 - Valves | |
| 18057-01K | 2001 |
| 18665-01K | 2001 |
| 18688-06K | 2006 |
| 181B1 - Valve Seals | |
| 17638-01K | 2001 |
| 17640-01K | 2001 |
| 17637-01K | 2001 |
| 18687-01K | 2001 |
| 17639-01K | 2001 |
| 181C1 - Valve Collars | |
| 35004-01K | 2001 |
| 35002-01K | 2001 |
| 35003-01K | 2001 |
| 35001-01K | 2001 |
| 184A1 - PT Camdrive and Valvetrain Miscellaneous Component | |
| 18055-01K | 2001 |
| 18661-01K | 2001 |
| 18662-01K | 2001 |
| 17641-01K | 2001 |
| 18052-01K | 2001 |
| 219A1 - Piston | |
| 22934-08K | 2008 |
| 220A1 - Piston Ring | |
| 22919-05K | 2005 |
| 221A1 - Piston Pin | |
| 22953-08K | 2008 |
| 237A1 - Connecting Rod | |
| 24307-01K | 2001 |
| 237B1 - Connecting Rod sub-component | |
| 27982-01 | 2001 |
| 24311-01K | 2001 |
| 239A1 - PT Lower End Miscellaneous Component | |
| 25800-01K | 2001 |
| 35445-01K | 2001 |
| 8002K | Unknown |
| 26582-01K | 2001 |
| 35443-01K | 2001 |
| 35441-01K | 2001 |
| 8026K | Unknown |
| 35423-04K | 2004 |
| 35433-01K | 2001 |
| 241A1 - Flywheel | |
| 23712-01K | 2001 |
| 23725-01K | 2001 |
| 24312-01K | 2001 |
| 244A1 - Crankcase | |
| 24465-08K | 2008 |
| 24467-08K | 2008 |
| 244D1 - Crankcase sub-component | |
| 24411-01K | 2001 |
| 24412-01K | 2001 |
| 24409-01K | 2001 |
| 24410-01K | 2001 |
| 24413-01K | 2001 |
| 32313-01A | 2001 |
| 244F1 - Oil Pan | |
| 26107-04K | 2004 |
| 254B1 - Camshaft | |
| 17431-05K | 2005 |
| 17421-08K | 2008 |
| 254C1 - Camshaft Sprocket | |
| 40657-06A | 2007 |
| 40656-06A | 2007 |
| 17423-01K | 2001 |
| 40590-07 | 2007 |
| 254D1 - Camshaft Support | |
| 41714-05 | 2005 |
| 255A1 - Camdrive Chain | |
| 17407-01KA | 2001 |
| 17406-01KA | 2001 |
| 255C1 - Camdrive Chain Tensioner | |
| 17632-01K | 2001 |
| 17629-01K | 2001 |
| 257A1 - Cam Cover | |
| 17680-04K | 2004 |
| 17664-01K | 2001 |
| 17705-07K | 2007 |
| 17689-04K | 2004 |
| 17661-01K | 2001 |
| 17679-04K | 2004 |
| 17690-04K | 2004 |
| 17699-07K | 2007 |
| 257B1 - Clutch Cover | |
| 25294-04K | 2004 |
| 25894-07K | 2007 |
| 25943-08K | 2008 |
| 25941-08K | 2008 |
| 25732-01K | 2001 |
| 257D1 - Clutch Inspection Cover | |
| 25878-07K | 2007 |
| 257E1 - Cover Gaskets | |
| 17418-01K | 2001 |
| 17416-01KA | 2001 |
| 17010-01K | 2001 |
| 61109-85D | 1985 |
| 37156-07 | 2007 |
| 42857-06A | 2006 |
| 17666-01K | 2001 |
| 25891-01K | 2001 |
| 25080-01K | 2001 |
| 257N1 - Rocker-Arm / Valve Cover | |
| 17701-07K | 2007 |
| 258A1 - PT Covers Miscellaneous Component | |
| 34927-05 | 2005 |
| 34783-05 | 2005 |
| 34878-07 | 2007 |
| 25899-07K | 2007 |
| 265A1 - Vent / Breather Line | |
| 29505-05 | 2005 |
| 266E1 - Water Pump Housing | |
| 26748-01K | 2001 |
| 26750-01K | 2001 |
| 26759-04K | 2004 |
| 25295-04K | 2004 |
| 26821-07K | 2007 |
| 266F1 - Water Pump Housing Gasket | |
| 26749-01K | 2001 |
| 26752-01K | 2001 |
| 267A1 - Thermostat Housing Gasket | |
| 26765-01K | 2001 |
| 268C1 - Radiator | |
| 26722-04 | 2004 |
| 268D1 - Radiator Bleeder Valve | |
| 5235 | 2004 |
| 268F1 - Radiator Pressure Cap | |
| 62909-04 | 2004 |
| 26733-01 | 2001 |
| 268H1 - Radiator System Cover | |
| 26813-08 | 2008 |
| 26735-08 | 2013 |
| 66115-01 | 2001 |
| 66116-01 | 2001 |
| 26814-07 | 2007 |
| 66157-07BDK | 2007 |
| 26788-08 | 2013 |
| 66158-07BDK | 2007 |
| 269B1 - Radiator Hose | |
| 26767-01 | 2001 |
| 26754-01 | 2001 |
| 62953-08 | 2008 |
| 26768-01A | 2001 |
| 26753-01 | 2001 |
| 26834-08 | 2008 |
| 26756-01 | 2001 |
| 26835-08 | 2008 |
| 26755-01 | 2001 |
| 26737-01K | 2001 |
| 269F1 - Radiator Overflow Tank Cap | |
| 26780-05A | 2006 |
| 269G1 - Radiator Overflow Tank | |
| 26803-07A | 2007 |
| 270A1 - Carburetor | |
| 27431-07A | 2007 |
| 27990-01 | 2001 |
| 272B1 - Throttle Body / Intake Manifold | |
| 27657-01 | 2001 |
| 272D1 - Throttle Body to Airbox Baseplate Seal | |
| 27977-01 | 2001 |
| 272E1 - Velocity Stack | |
| 29521-01 | 2001 |
| 29438-01 | 2001 |
| 273C1 - Throttle Body/Intake Manifold sub-component | |
| 24986-01K | 2001 |
| 273N1 - Throttle Cable Retention Bracket | |
| 56508-76 | 1976 |
| 274B1 - Fuel Rail | |
| 27662-01B | 2001 |
| 27408-01 | 2001 |
| 28002-01 | 2001 |
| 274C1 - Fuel Injector | |
| 27665-01A | 2001 |
| 290C1 - Airbox Baseplate sub-component | |
| 29435-05 | 2005 |
| 290D1 - Airbox Seal | |
| 29439-01 | 2001 |
| 29436-01 | 2001 |
| 290E1 - Airbox Helmholtz Chamber | |
| 29647-01 | 2001 |
| 292A1 - Air Duct | |
| 29434-03 | 2003 |
| 294A1 - Air Filter Element | |
| 29437-01 | 2001 |
| 294C1 - Breather Hose | |
| 29601-05K | 2005 |
| 29504-05A | 2005 |
| 295A1 - Intake Miscellaneous Component | |
| 26724-04 | 2004 |
| 17617-01K | 2001 |
| 29566-06 | 2006 |
| 27628-01 | 2001 |
| 29568-06 | 2006 |
| 28863-01 | 2001 |
| 299A1 - Alternator | |
| 25311-04K | 2004 |
| 25895-04K | 2004 |
| 299C1 - Charging Rotor | |
| 26022-02K | 2002 |
| 30731-01K | 2001 |
| 299F1 - Stator Assembly | |
| 30734-08K | 2008 |
| 314F1 - Starter Motor | |
| 31717-01K | 2001 |
| 31718-07K | 2007 |
| 314H1 - Starter Solenoid | |
| 71474-07 | 2007 |
| 27715-07 | 2007 |
| 314L1 - Starter Motor Drive | |
| 33189-63 | 1963 |
| 315A1 - Quick Shift Actuator | |
| 35017-01K | 2001 |
| 315B1 - Exhaust Valve Actuator | |
| 18663-01K | 2001 |
| 316A1 - Ignition Coil | |
| 32477-01 | 2001 |
| 31651-01 | 2001 |
| 316C1 - Spark Plug | |
| 32335-04 | 2004 |
| 327B1 - Chemical / Gas Sensor | |
| 27703-08 | 2008 |
| 327C1 - Pressure Sensor | |
| 32424-98 | 1998 |
| 40652-08 | 2008 |
| 32316-99 | 1999 |
| 40648-08 | 2008 |
| 327D1 - Proximity Sensor | |
| 74402-05 | 2005 |
| 327E1 - Temperature Sensor | |
| 32315-01 | 2001 |
| 27388-01 | 2001 |
| 327F1 - Throttle Position Sensor | |
| 27975-01 | 2001 |
| 336A1 - Shift Linkage Rod Assembly | |
| 34696-04 | 2004 |
| 336C1 - Shift Linkage Rod End | |
| 33738-04 | 2004 |
| 33785-06 | 2006 |
| 35434-01K | 2001 |
| 33758-01 | 2001 |
| 336F1 - Toepeg | |
| 34611-65A | 1965 |
| 336G1 - Toepeg Rubber | |
| 33133-06 | 2006 |
| 339A1 - Shift Lever | |
| 34686-06 | 2006 |
| 33757-01A | 2001 |
| 339D1 - Shifter Fork | |
| 35429-01K | 2001 |
| 35430-01KA | 2001 |
| 35428-01K | 2001 |
| 339E1 - Shifter Fork Shaft | |
| 35432-01K | 2001 |
| 339F1 - Shifter Index Lever | |
| 34567-01 | 2001 |
| 339H1 - Shifter Mechanism Components (internal) | |
| 35442-01K | 2001 |
| 34007-01K | 2001 |
| 35451-01K | 2001 |
| 35427-01K | 2001 |
| 348A1 - Transmission Output Sprocket Cover | |
| 34985-08 | 2008 |
| 37124-08 | 2008 |
| 350C1 - Transmission Output Sprocket Compensator Driving Element | |
| 40669-07 | 2007 |
| 350F1 - Transmission Mainshaft | |
| 35454-01KA | 2001 |
| 350G1 - Transmission Shim / Spacer | |
| 18628-01K | 2001 |
| 18678-01K | 2001 |
| 18629-01K | 2001 |
| 40095-01K | 2001 |
| 18698-01K | 2001 |
| 18632-01K | 2001 |
| 18630-01K | 2001 |
| 18656-01K | 2001 |
| 18667-01K | 2001 |
| 18673-01K | 2001 |
| 18683-01K | 2001 |
| 18700-01K | 2001 |
| 18676-01K | 2001 |
| 18666-01K | 2001 |
| 18655-01K | 2001 |
| 18686-01K | 2001 |
| 18627-01K | 2001 |
| 18693-01K | 2001 |
| 18680-01K | 2001 |
| 18695-01K | 2001 |
| 18696-01K | 2001 |
| 18659-01K | 2001 |
| 18699-01K | 2001 |
| 18701-01K | 2001 |
| 18679-01K | 2001 |
| 18669-01K | 2001 |
| 18675-01K | 2001 |
| 18624-01K | 2001 |
| 18685-01K | 2001 |
| 18684-01K | 2001 |
| 18626-01K | 2001 |
| 18697-01K | 2001 |
| 18670-01K | 2001 |
| 18639-01K | 2001 |
| 18674-01K | 2001 |
| 18702-01K | 2001 |
| 18672-01K | 2001 |
| 18671-01K | 2001 |
| 18682-01K | 2001 |
| 18658-01K | 2001 |
| 18681-01K | 2001 |
| 18677-01K | 2001 |
| 18668-01K | 2001 |
| 18692-01K | 2001 |
| 18657-01K | 2001 |
| 18631-01K | 2001 |
| 18625-01K | 2001 |
| 18694-01K | 2001 |
| 18638-01K | 2001 |
| 352A1 - Engine Balancer | |
| 14791-01K | 2001 |
| 352B1 - Engine Balancer sub-component | |
| 14758-01K | 2001 |
| 356A1 - Transmission Countershaft | |
| 35455-01KA | 2001 |
| 363A1 - PT Driveline Miscellaneous Component | |
| 26103-01K | 2001 |
| 41538-06 | 2006 |
| 76231-08 | 2008 |
| 367A1 - Clutch Lever | |
| 42876-06A | 2006 |
| 367G1 - Clutch Lever Pivot Bolt | |
| 36757-05K | 2005 |
| 36706-08K | 2008 |
| 367H1 - Clutch Lever sub-component | |
| 36709-01K | 2001 |
| 36714-01K | 2001 |
| 36705-08K | 2008 |
| 36711-08K | 2008 |
| 36712-08K | 2008 |
| 38842-08K | 2008 |
| 37909-90 | 1990 |
| 31301-01K | 2001 |
| 370A1 - Clutch Assembly | |
| 37938-08K | 2008 |
| 370B1 - Clutch Friction Plate | |
| 36713-01K | 2001 |
| 36707-01K | 2001 |
| 36720-08K | 2008 |
| 370C1 - Clutch Hub | |
| 36701-08K | 2008 |
| 370E1 - Clutch Metal Plate | |
| 36780-01K | 2001 |
| 370F1 - Clutch Pressure Plate | |
| 36710-08K | 2008 |
| 36704-08K | 2008 |
| 38841-08K | 2008 |
| 36702-08K | 2008 |
| 370G1 - Clutch Shell | |
| 36699-01KA | 2014 |
| 370H1 - Clutch Sprocket | |
| 36781-01K | 2001 |
| 36782-04K | 2004 |
| 36779-05K | 2005 |
| 372D1 - Clutch Cable | |
| 38658-01B | 2001 |
| 38692-04C | 2004 |
| 372F1 - Clutch Diaphragm Plate | |
| 31303-01K | 2001 |
| 400A1 - Drive-Belt | |
| 40144-07 | 2007 |
| 40145-07 | 2007 |
| 409A1 - Rear Wheel | |
| 41529-08 | 2008 |
| 43509-08 | 2008 |
| 410D1 - Electronic Control Module (ECM) | |
| 68921-07 | 2007 |
| 32534-05C | 2008 |
| 410G1 - Security System Control Module | |
| 68925-07 | 2007 |
| 69018-00 | 2000 |
| 411A1 - ABS Control Unit | |
| 40689-08 | 2008 |
| 66208-08 | 2008 |
| 41861-08 | 2008 |
| 41855-08 | 2008 |
| 413A1 - Brake Caliper | |
| 44731-08 | 2008 |
| 44505-08 | 2008 |
| 44732-08 | 2008 |
| 44160-00 | 2000 |
| 44506-08 | 2008 |
| 43050-08 | 2008 |
| 413B1 - Brake Bleeder Screw | |
| 4700 | Unknown |
| 42853-06 | 2006 |
| 413C1 - Brake Caliper sub-component | |
| 46512-01 | 2001 |
| 42866-06 | 2006 |
| 42851-06 | 2006 |
| 413D1 - Brake Pad | |
| 42850-06B | 2006 |
| 42867-06A | 2006 |
| 42897-08 | 2008 |
| 413E1 - Brake Pad Pin | |
| 42849-08 | 2008 |
| 415B1 - Brake Rotor | |
| 44405-07 | 2007 |
| 41667-06 | 2006 |
| 44553-06A | 2006 |
| 416A1 - Brakes Miscellaneous Component | |
| 43045-08 | 2008 |
| 42860-06B | 2006 |
| 45067-06 | 2006 |
| 42886-06 | 2006 |
| 42865-06A | 2006 |
| 42852-06A | 2006 |
| 42863-06 | 2006 |
| 72023-51D | 2004 |
| 44089-08 | 2008 |
| 417A1 - Brake Master Cylinder Assembly | |
| 44740-06 | 2006 |
| 44551-08 | 2008 |
| 46322-06 | 2006 |
| 42862-06A | 2008 |
| 42855-06A | 2006 |
| 44571-06A | 2006 |
| 417B1 - Brake Master Cylinder | |
| 46244-01 | 2001 |
| 38744-06A | 2007 |
| 42889-06 | 2006 |
| 42868-06 | 2006 |
| 417D1 - Brake Master Cylinder sub-Component | |
| 43915-06 | 2006 |
| 42870-06 | 2006 |
| 42887-06 | 2006 |
| 41669-06 | 2006 |
| 43914-06 | 2006 |
| 45050-06 | 2006 |
| 46324-06 | 2006 |
| 43917-01 | 2001 |
| 42872-06 | 2006 |
| 42883-06A | 2006 |
| 42885-06 | 2006 |
| 42873-06 | 2006 |
| 417F1 - Brake Master Cylinder Reservoir | |
| 42586-06 | 2006 |
| 417H1 - Front Brake Master Cylinder Mount Clamp | |
| 45138-08 | 2008 |
| 417Z1 - Kit,Brake | |
| 42859-06B | 2006 |
| 418B1 - Brake Line | |
| 42294-08 | 2008 |
| 42268-08 | 2008 |
| 44735-06 | 2006 |
| 42264-08 | 2008 |
| 42285-08 | 2008 |
| 46957-07 | 2007 |
| 44736-06 | 2006 |
| 44724-08 | 2008 |
| 41967-07A | 1958 |
| 44722-08 | 2008 |
| 42888-06 | 2006 |
| 41968-07 | 2007 |
| 44723-08 | 2008 |
| 44725-08 | 2008 |
| 42265-08 | 2008 |
| 420A1 - Wheel Rim | |
| 43507-07 | 2007 |
| 421A1 - Wheel Spoke with Nipple | |
| 40761-05 | 2005 |
| 40762-05 | 2005 |
| 422A1 - Wheel Sprocket Cover | |
| 26812-07 | 2007 |
| 422B1 - Wheel Sprocket | |
| 40014-04K | 2004 |
| 40564-07 | 2007 |
| 423C1 - Rim Strip | |
| 41996-07 | 2007 |
| 423D1 - Tire Inner Tube | |
| 41007-07 | 2007 |
| 423G1 - Valve Stem | |
| 40999-87 | 1987 |
| 43157-83A | 1983 |
| 423H1 - Valve Stem Cap | |
| 41123-79 | 1979 |
| 423K1 - Wheel Weights | |
| 95578-41 | 1941 |
| 95595-84 | 1984 |
| 95581-47 | 1947 |
| 95582-47 | 1947 |
| 95594-84 | 1984 |
| 430D1 - Front Axle | |
| 41628-08 | 2008 |
| 430E1 - Rear Axle | |
| 46849-07 | 2007 |
| 41544-08 | 2008 |
| 45069-01 | 2001 |
| 431A1 - Front Tire | |
| 43172-01B | 2001 |
| 432A1 - Rear Tire | |
| 43173-01 | 2001 |
| 41473-06 | 2006 |
| 433A1 - Front Wheel | |
| 43380-08 | 2008 |
| 43534-08 | 2008 |
| 41469-08 | 2008 |
| 433B1 - Front Wheel Bearing Spacer | |
| 43704-08 | 2008 |
| 34647-04 | 2004 |
| 40668-07 | 2007 |
| 41748-08 | 2008 |
| 41550-08 | 2008 |
| 41242-08 | 2008 |
| 454A1 - Front Telescopic Fork | |
| 46757-07 | 2007 |
| 46762-07 | 2007 |
| 46763-07 | 2005 |
| 46756-07 | 2007 |
| 455A1 - Front Telescopic Fork Slider | |
| 46505-01 | 2001 |
| 46764-07 | 2007 |
| 46506-01A | 2001 |
| 46504-07 | 2007 |
| 46798-07A | 2007 |
| 455B1 - Front Telescopic Fork Spring | |
| 46517-01 | 2001 |
| 46511-07 | 2007 |
| 455C1 - Front Telescopic Fork sub-component | |
| 46080-01 | 2001 |
| 46691-07 | 2007 |
| 46516-01 | 2001 |
| 45070-01 | 2001 |
| 46519-01 | 2001 |
| 46513-01 | 2001 |
| 46510-07 | 2007 |
| 457D1 - Steering Stem | |
| 46507-01 | 2001 |
| 457E1 - Steering Stem Bearing Insert Cup | |
| 48315-60 | 1960 |
| 48300-60 | 1960 |
| 457F1 - Steering Stem Nut | |
| 45718-60 | 1960 |
| 458A1 - Front Suspension and Steering Miscellaneous Component | |
| 45670-80A | 1980 |
| 46514-01 | 2001 |
| 45701-07A | 2007 |
| 48184-01 | 2001 |
| 459A1 - Upper Triple Clamp | |
| 46787-06 | 2006 |
| 46859-07 | 2007 |
| 459B1 - Lower Triple Clamp | |
| 46855-07A | 2007 |
| 46788-06A | 2006 |
| 470A1 - Frame | |
| 47765-08 | 2008 |
| 47959-07BK | 2007 |
| 46635-07 | 2007 |
| 47988-08BK | 2008 |
| 47988-08BGO | 2008 |
| 47764-08 | 2008 |
| 48067-08BK | 2008 |
| 472A1 - Frame sub-component | |
| 47987-07BGO | 2007 |
| 47987-07BK | 2007 |
| 48086-01 | 2001 |
| 7036 | Unknown |
| 472D2 - Chassis Structure Mounting Bracket | |
| 70406-06 | 2006 |
| 68807-01 | 2001 |
| 474C1 - Swingarm | |
| 48606-07 | 2007 |
| 48612-07 | 2007 |
| 474F1 - Swingarm Bearing Spacer | |
| 48712-07 | 2007 |
| 475B1 - Swingarm Pivot Shaft | |
| 48392-05 | 2005 |
| 500D1 - Sidestand Leg | |
| 49733-07BK | 2007 |
| 49733-07BGO | 2007 |
| 500E1 - Sidestand Leg sub-component | |
| 53158-98 | 1998 |
| 50005-85A | 1985 |
| 3718M | Unknown |
| 62107-01 | 2001 |
| 500F1 - Sidestand Pivot Pin | |
| 554A | 2002 |
| 505B1 - Footpeg Mount Bracket | |
| 51180-07 | 2007 |
| 51723-07 | 2007 |
| 33048-72 | 1972 |
| 51722-07 | 2007 |
| 505C1 - Heel Guard / Pad | |
| 33084-06 | 2006 |
| 505D1 - Passenger Footpeg | |
| 33134-07CAZ | 2007 |
| 33135-07CAZ | 2007 |
| 505K1 - Footpeg Wear Peg | |
| 33129-06 | 2006 |
| 506A1 - Brake Pedal | |
| 42884-06 | 2006 |
| 44741-06 | 2006 |
| 42861-06A | 2006 |
| 50912-72 | 1972 |
| 42869-06A | 2006 |
| 42704-06 | 2006 |
| 44738-06 | 2006 |
| 507A1 - Rider Interface Miscellaneous Component | |
| 51089-06BK | 2006 |
| 51097-06 | 2006 |
| 42584-01 | 2001 |
| 49135-06 | 2006 |
| 507B1 - Rider Interface Mounting Bracket | |
| 51091-06BK | 2006 |
| 520A1 - Rider Seat or Full Seat | |
| 52383-07 | 2007 |
| 51836-08 | 2008 |
| 52326-07 | 2007 |
| 51547-07 | 2007 |
| 520B1 - Rider/Full Seat Assembly sub-component | |
| 52402-01 | 2001 |
| 52041-82 | 1982 |
| 521A1 - Seat Support Structure | |
| 46518-01 | 2001 |
| 52410-07 | 2007 |
| 48517-07 | 2007 |
| 51952-07 | 2007 |
| 48523-07 | 2007 |
| 521C1 - Seat Suspension Damper | |
| 54715-96 | 1996 |
| 524A1 - Passenger Grab Handle | |
| 52386-07 | 2007 |
| 524B1 - Passenger Seat | |
| 52387-07 | 2007 |
| 52371-07 | 2007 |
| 51864-08 | 2008 |
| 51574-07 | 2007 |
| 540B1 - Rear Shock | |
| 54583-07 | 2007 |
| 54667-07 | 2007 |
| 54582-07 | 2007 |
| 558A1 - Handlebar | |
| 56046-01 | 2001 |
| 56953-07 | 2007 |
| 55988-04 | 2004 |
| 559D1 - Lower Handlebar Clamp | |
| 55999-06 | 2006 |
| 46095-04BGO | 2004 |
| 46095-08BK | 2008 |
| 46096-04BGO | 2004 |
| 559E1 - Upper Handlebar Clamp | |
| 46096-08BK | 2008 |
| 560A1 - Mirror | |
| 91909-03A | 2003 |
| 67831-03 | 2003 |
| 91846-03A | 2003 |
| 91848-03A | 2003 |
| 91910-03A | 2003 |
| 561A1 - Throttle Cable | |
| 56367-01 | 2001 |
| 56365-01 | 2001 |
| 56593-04 | 2004 |
| 56985-07 | 2007 |
| 56594-04 | 2004 |
| 56984-07 | 2007 |
| 561B1 - Left Hand Grip | |
| 56206-96 | 1996 |
| 56667-04 | 2004 |
| 561C1 - Throttle Assembly w/Grip | |
| 56666-04 | 2004 |
| 561D1 - Throttle Assembly sub-component | |
| 38653-01 | 2001 |
| 561E1 - Throttle Grip | |
| 56220-94A | 1994 |
| 572E1 - Side Cover | |
| 66155-07 | 2007 |
| 66156-07 | 2007 |
| 574B1 - Windscreen / Windshield | |
| 67621-94 | 1994 |
| 589A1 - Front Fender | |
| 59789-07BEO | 2007 |
| 59447-07 | 2007 |
| 59020-01A | 2001 |
| 595D1 - Rear Fender | |
| 59823-07BEO | 2007 |
| 59605-07BEO | 2007 |
| 596A1 - Tire Mud Flap | |
| 59690-07 | 2007 |
| 603B1 - Belt / Chain Guard | |
| 60474-07 | 2007 |
| 60473-07A | 2007 |
| 608A1 - Carbon Canister | |
| 27433-08 | 2008 |
| 608B1 - Carbon Canister Hose | |
| 27378-08 | 2008 |
| 27382-08 | 2008 |
| 27391-07A | 2007 |
| 609A1 - Fuel Miscellaneous Component | |
| 75254-04A | 2004 |
| 609B1 - Fuel and Intake Mounting Bracket | |
| 60970-07 | 2007 |
| 610A1 - Fuel Tank | |
| 62921-07 | 2007 |
| 611B1 - Fuel Cap | |
| 61274-92 | 1992 |
| 612A1 - Fuel Filter | |
| 75169-07 | 2007 |
| 62113-07 | 2007 |
| 612B1 - Fuel Level Sensor | |
| 75210-07A | 2007 |
| 612C1 - Fuel Line | |
| 61505-07 | 2007 |
| 61504-07 | 2007 |
| 612F1 - Fuel Pump | |
| 75310-07 | 2007 |
| 62109-07 | 2007 |
| 75272-07 | 2007 |
| 613B1 - Horn Cover | |
| 69537-07 | 2007 |
| 69040-01A | 2001 |
| 66306-07DH | 2007 |
| 613H1 - Radiator Mud Guard | |
| 26815-07 | 2007 |
| 613K1 - Airbox Cover | |
| 66154-07BEO | 2007 |
| 614A1 - Headlight Bezel | |
| 90339-06 | 2006 |
| 614C1 - Trim | |
| 67399-01 | 2001 |
| 62393-08 | 2008 |
| 62392-08 | 2008 |
| 71352-07 | 2007 |
| 67591-04 | 2004 |
| 62254-08 | 2008 |
| 37157-07 | 2007 |
| 624A1 - Oil Pump Assembly | |
| 26575-01K | 2001 |
| 624B1 - Oil Pump Assembly sub-component | |
| 26578-01K | 2001 |
| 27993-01 | 2001 |
| 26738-01K | 2001 |
| 26539-01K | 2001 |
| 26534-01K | 2001 |
| 26739-01K | 2001 |
| 627A1 - Oil Cooler | |
| 26723-04 | 2004 |
| 627B1 - Oil Drain Plug | |
| 26542-01K | 2001 |
| 627D1 - Oil Duct Cover | |
| 66306-07BYM | 2007 |
| 627E1 - Oil Filler Plug / Dipstick | |
| 26778-04K | 2004 |
| 26541-01K | 2001 |
| 627E2 - Sight Glass | |
| 42854-06 | 2006 |
| 42145-06 | 2006 |
| 627F1 - Oil Filter | |
| 63793-01K | 2001 |
| 627H1 - Oil Line | |
| 62941-04 | 2004 |
| 62940-04 | 2004 |
| 26772-04 | 2004 |
| 627K1 - Oil Line Fitting | |
| 63654-04K | 2004 |
| 26399-01K | 2001 |
| 63650-04K | 2004 |
| 627K2 - Oil Line Fitting Cover | |
| 26782-01A | 2001 |
| 627N1 - Oil System Baffle | |
| 26034-01K | 2001 |
| 627P1 - Oil Thermostat | |
| 26740-01K | 2001 |
| 26769-04K | 2004 |
| 628A1 - PT Lubrication and Cooling Miscellaneous Component | |
| 26393-01K | 2001 |
| 628B1 - PT Lubrication and Cooling Mounting Bracket | |
| 26762-04K | 2004 |
| 648K1 - Exhaust Miscellaneous Component | |
| 4608M | 2006 |
| 65200-01 | 2001 |
| 649A1 - Muffler | |
| 64816-07A | 2007 |
| 64929-08 | 2008 |
| 65428-06A | 2006 |
| 65152-01A | 2004 |
| 64911-04 | 2004 |
| 65206-06A | 2006 |
| 65153-01A | 2004 |
| 65089-05A | 2005 |
| 64813-07 | 2007 |
| 65246-06A | 2006 |
| 64815-07 | 2007 |
| 65211-08 | 2008 |
| 64817-07A | 2007 |
| 64810-07 | 2007 |
| 64908-04A | 2004 |
| 64814-08 | 2008 |
| 65429-06A | 2006 |
| 65096-05A | 2005 |
| 64909-04 | 2004 |
| 65215-06A | 2006 |
| 65151-01B | 2001 |
| 651A1 - Muffler End-Cap / Outlet Finisher | |
| 65342-07 | 2007 |
| 65341-07 | 2007 |
| 654A1 - Exhaust Shield | |
| 65205-06 | 2006 |
| 65110-01 | 2001 |
| 65112-01 | 2001 |
| 64803-07 | 2007 |
| 64802-07 | 2007 |
| 65204-06 | 2006 |
| 64801-07A | 2007 |
| 65046-01 | 2001 |
| 66820-06 | 2006 |
| 65111-01A | 2001 |
| 655B1 - Exhaust Mount Strap / Clamp | |
| 65633-06 | 2006 |
| 655C1 - Exhaust Mounting Bracket | |
| 65165-01 | 2001 |
| 65106-01 | 2001 |
| 66777-07 | 2007 |
| 65113-07 | 2007 |
| 656E1 - Header Pipe | |
| 64751-08 | 2008 |
| 64752-08 | 2008 |
| 658A1 - Exhaust Catalyst | |
| 65226-06A | 2006 |
| 659A1 - Exhaust Clamp | |
| 65108-01 | 2001 |
| 65043-01A | 2001 |
| 659B1 - Exhaust Flange | |
| 65102-01 | 2001 |
| 659C1 - Exhaust Gasket | |
| 65109-01 | 2001 |
| 660A1 - Battery | |
| 65989-97B | 1997 |
| 660B1 - Battery Pad | |
| 66494-01 | 2001 |
| 660C1 - Battery Pan | |
| 70393-07 | 2007 |
| 660D1 - Battery Strap | |
| 66017-01 | 2001 |
| 660F1 - Negative Battery Cable | |
| 70441-01 | 2001 |
| 70110-07 | 2007 |
| 660G1 - Positive Battery Cable | |
| 70108-07 | 2007 |
| 70106-07 | 2007 |
| 660H1 - Positive Battery Cable Boot | |
| 70003-04 | 2004 |
| 70018-07 | 2007 |
| 660J1 - Battery Charger | |
| 66056-00 | 2000 |
| 677A1 - Headlight | |
| 69271-06 | 2006 |
| 69331-02 | 2002 |
| 68335-05 | 2005 |
| 68882-01A | 2005 |
| 67883-04A | 2004 |
| 68341-05 | 2005 |
| 69356-06 | 2006 |
| 69873-07 | 2007 |
| 69323-02 | 2002 |
| 68884-01 | 2001 |
| 68880-01 | 2001 |
| 69330-02 | 2002 |
| 67790-93A | 1993 |
| 69874-07 | 2007 |
| 69325-02 | 2002 |
| 68883-01A | 2005 |
| 69875-07 | 2007 |
| 68297-05 | 2005 |
| 677B1 - Headlight sub-component | |
| 68380-05 | 2005 |
| 68255-01 | 2001 |
| 68256-01 | 2001 |
| 67717-01 | 2001 |
| 67880-94 | 1994 |
| 68254-01 | 2001 |
| 678A1 - Taillight | |
| 59557-07A | 2007 |
| 68326-01A | 2002 |
| 68876-07 | 2007 |
| 68879-07 | 2007 |
| 68327-01A | 2002 |
| 678D1 - Turnsignal | |
| 67822-88 | 1988 |
| 68975-00 | 2000 |
| 68804-06 | 2006 |
| 69587-07 | 2007 |
| 69066-01A | 2002 |
| 69583-07 | 2007 |
| 69068-01A | 2002 |
| 71591-00 | 2000 |
| 69190-07 | 2007 |
| 67827-88A | 1988 |
| 68985-07 | 2007 |
| 69584-07 | 2007 |
| 68972-00 | 2000 |
| 69581-07 | 2007 |
| 68838-06 | 2006 |
| 678E1 - Turnsignal Lens | |
| 68973-00 | 2000 |
| 69110-01 | 2001 |
| 68976-00 | 2000 |
| 679B1 - Reflector | |
| 69490-07 | 2007 |
| 59259-90 | 1990 |
| 59482-00 | 2000 |
| 68340-01 | 2001 |
| 59481-00 | 2000 |
| 69862-07 | 2007 |
| 60119-03 | 2003 |
| 59407-01 | 2001 |
| 69861-07 | 2007 |
| 59988-72A | 1972 |
| 679D1 - License Plate Bracket | |
| 69086-07A | 2010 |
| 69051-07A | 2008 |
| 679E1 - License Plate Light | |
| 68205-07 | 2007 |
| 680C1 - Incandescent Bulb | |
| 68169-90A | 1990 |
| 68881-01 | 2001 |
| 68168-89A | 1989 |
| 53436-97 | 1997 |
| 68163-84 | 1984 |
| 68329-03 | 2003 |
| 68324-01 | 2001 |
| 53438-92 | 1992 |
| 68325-07 | 2007 |
| 690A1 - Emergency Siren | |
| 68958-07A | 2007 |
| 690C1 - Horn | |
| 69060-90D | 1990 |
| 692C1 - Electrical Miscellaneous Component | |
| 70475-07 | 2007 |
| 72547-08 | 2008 |
| 68971-98B | 1998 |
| 70473-07 | 2007 |
| 70480-07A | 2007 |
| 72532-02 | 2002 |
| 70394-07 | 2007 |
| 692C2 - Electrical Mounting Bracket | |
| 70433-06 | 2006 |
| 69143-01 | 2001 |
| 69152-01A | 2001 |
| 70493-08 | 2008 |
| 66209-08 | 2008 |
| 66221-08 | 2008 |
| 70580-08 | 2008 |
| 692D1 - Fuse | |
| 72314-01 | 2001 |
| 72330-95 | 1995 |
| 72539-06 | 2006 |
| 692E1 - Fuse / Relay Block | |
| 31586-07 | 2007 |
| 72521-01 | 2001 |
| 72430-00 | 2000 |
| 692E2 - Fuse / Relay Block Cover | |
| 73215-07 | 2007 |
| 692F1 - Wire Harness | |
| 70125-08 | 2008 |
| 67657-05 | 2005 |
| 70170-08 | 2008 |
| 70620-07 | 2007 |
| 67658-05 | 2005 |
| 70155-07 | 2007 |
| 75274-07 | 2007 |
| 692G1 - Conduit / Sheathing / Sleeving | |
| 70010-03 | 2003 |
| 72266-94 | 1994 |
| 692G2 - Wire Guide | |
| 72412-97 | 1997 |
| 692H1 - Connector | |
| 73152-96BK | 1996 |
| 72506-07 | 2007 |
| 72159-94 | 1994 |
| 72144-94 | 1994 |
| 72063-06 | 2006 |
| 72100-04 | 2004 |
| 72111-06 | 2006 |
| 72526-01 | 2001 |
| 72066-06 | 2006 |
| 72124-94GY | 1994 |
| 9848 | Unknown |
| 9847 | Unknown |
| 72260-04 | 2004 |
| 72009-05 | 2005 |
| 72139-94GY | 1994 |
| 72007-05 | 2005 |
| 68650-92 | 1992 |
| 72500-07BK | 2007 |
| 72064-06 | 2006 |
| 72078-00 | 2000 |
| 72518-01 | 2001 |
| 72516-01 | 2001 |
| 692H2 - Terminal | |
| 72245-95 | 1995 |
| 72076-00 | 2000 |
| 72272-07 | 2007 |
| 72289-04 | 2004 |
| 72608-08 | 2008 |
| 72292-94 | 1994 |
| 72213-94 | 1994 |
| 9898 | Unknown |
| 72493-07 | 2007 |
| 72721-07 | 2007 |
| 72290-94 | 1994 |
| 72169-07 | 2007 |
| 72327-03 | 2003 |
| 72168-07 | 2007 |
| 72291-94 | 1994 |
| 72326-95 | 1995 |
| 72094-06 | 2006 |
| 72434-00 | 2000 |
| 72611-07 | 2007 |
| 74194-98 | 1998 |
| 692K1 - Connector / Terminal Seal | |
| 68904-00 | 2000 |
| 68906-00 | 2000 |
| 72134-94GY | 1994 |
| 72449-01 | 2001 |
| 72520-01 | 2001 |
| 72154-94 | 1994 |
| 72450-01 | 2001 |
| 692L1 - Wire Harness sub-component | |
| 74191-98 | 1998 |
| 72606-08 | 2008 |
| 70345-84 | 1984 |
| 72512-07BK | 2007 |
| 72541-07BN | 2007 |
| 72558-07 | 2007 |
| 72077-00 | 2000 |
| 74152-98 | 1998 |
| 72195-94 | 1994 |
| 72231-98 | 1998 |
| 72633-02 | 2002 |
| 72473-07 | 2007 |
| 72214-94 | 1994 |
| 70585-93 | 1993 |
| 70504-81 | 1981 |
| 73190-96 | 1996 |
| 72511-07BK | 2007 |
| 73101-96BK | 1996 |
| 73156-96BK | 1996 |
| 73106-96BK | 1996 |
| 72542-07BN | 2007 |
| 72479-07BK | 2007 |
| 72230-98 | 1998 |
| 72557-07 | 2007 |
| 74195-98 | 1998 |
| 70068-96 | 1996 |
| 72478-07BK | 2007 |
| 72720-07 | 2007 |
| 72528-01 | 2001 |
| 70494-08 | 2008 |
| 72244-95 | 1995 |
| 72011-05 | 2005 |
| 72405-98BK | 1998 |
| 73191-96 | 1996 |
| 24927-01 | 2001 |
| 74159-98 | 1998 |
| 72447-07GY | 2007 |
| 72190-94 | 1994 |
| 56073-83 | 1983 |
| 72096-06 | 2006 |
| 72609-08 | 2008 |
| 72188-07BK | 2007 |
| 72543-07BK | 2007 |
| 74119-98BK | 1998 |
| 73104-96BK | 1996 |
| 72469-07GY | 2007 |
| 72607-08 | 2008 |
| 70635-08 | 2008 |
| 72544-07 | 2007 |
| 72405-98GN | 1998 |
| 73102-96BK | 1996 |
| 72485-07 | 2007 |
| 72056-92 | 1992 |
| 70578-89 | 1989 |
| 72191-94 | 1994 |
| 70631-08 | 2008 |
| 72494-07 | 2007 |
| 74112-98BK | 1998 |
| 70634-08 | 2008 |
| 73154-96BK | 1996 |
| 72414-07BK | 2007 |
| 72135-06 | 2006 |
| 72610-08 | 2008 |
| 709A1 - Dash Panel | |
| 46383-06 | 2006 |
| 709B1 - Instrument Cluster or Speedometer | |
| 67394-07A | 2007 |
| 67392-07A | 2007 |
| 67308-07A | 2007 |
| 67393-07A | 2007 |
| 67453-07A | 2007 |
| 714A1 - Ignition Switch | |
| 70020-05 | 2005 |
| 45804-01 | 1994 |
| 71402-07 | 2007 |
| 714B1 - Mechanical Switch | |
| 33902-98A | 1998 |
| 714C1 - Pressure Switch | |
| 50277-08 | 2008 |
| 26561-99 | 1999 |
| 715A1 - Hand Control | |
| 67854-98 | 1998 |
| 71598-00 | 2000 |
| 71590-96A | 1996 |
| 71597-96B | 2000 |
| 71589-96B | 2000 |
| 71578-01 | 2001 |
| 71564-96 | 1996 |
| 71563-96 | 1996 |
| 71568-96A | 1996 |
| 71567-96 | 1996 |
| 747A1 - Voltage Regulator | |
| 74440-08 | 2008 |
| 760B1 - Antenna | |
| 68956-07 | 2007 |
| 903B1 - Key or Key-set | |
| 71452-91A | 1991 |
| 61081-92 | 1992 |
| 903C1 - Key Transponder | |
| 68926-07 | 2007 |
| 960ZA - UNASSIGNED | |
| 50272-02 | 2002 |
| 50274-02 | 2002 |
| Part No. | Description | Part and Model(s) |
|---|---|---|
| 67880-94 | BOOT |
| Part No. | Description | Part and Model(s) |
|---|---|---|
| 10014 | CLAMP | |
| 11143 | RETAINING RING | |
| 11304 | RING | |
| 3655A | SCREW | |
| 3658 | SCREW | |
| 4132 | SCREW | |
| 41751-06A | GASKET | |
| 43567-92 | SCREW | |
| 45405-75A | SCREW | |
| 48300-60 | ROLLER BEARING | |
| 7041 | LOCKWASHER | |
| 9252 | BEARING |
| Part No. | Description | Part and Model(s) |
|---|---|---|
| 50005-85A | SPRING |
| Part No. | Description | Part and Model(s) |
|---|---|---|
| 61274-92 | FILLER CAP |
| Part No. | Description | Part and Model(s) |
|---|---|---|
| 70345-84 | RETAINER | |
| 72330-95 | FUSE |
| Part No. | Description | Part and Model(s) |
|---|---|---|
| 37909-90 | RETAINING RING |
| Part No. | Description | Part and Model(s) |
|---|---|---|
| 34611-65A | SHIFTER KIT |
| Part No. | Description | Part and Model(s) |
|---|---|---|
| 68168-89A | BULB | |
| 68329-03 | BULB HB2/H4 | |
| 68973-00 | LENS |
| Part No. | Description | Part and Model(s) |
|---|---|---|
| 32335-04 | SPARK PLUG | |
| 63793-01K | ENGINE OIL FILTER | |
| 95582-47 | WEIGHT 1 oz. |
| Part No. | Description | Part and Model(s) |
|---|---|---|
| 68926-07 | REMOTE CONTROL FOB |
| Part No. | Description | Part and Model(s) |
|---|---|---|
| 40999-87 | VALVE STEM | |
| 43157-83A | VALVE STEM |
| Part No. | Description | Part and Model(s) |
|---|---|---|
| 67621-94 | BUSHING |