FORK TUBE AND STEM COVER KIT
J031492006-05-06
GENERAL
Kit Number
46306-04
Models
This kit fits 2002 and later VRSCA, VRSCX, VRSCB, and VRSCD models.
Additional Parts Required
Loctite® 243 (blue) (Harley-Davidson Part Number 99642-97) is available from a Harley-Davidson Dealer
Kit Contents
See Figure 2 and Table 1.
INSTALLATION
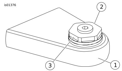
1. See Figure 2. Place smaller fork tube cap covers (3) over slider tubes. Apply Loctite 243 (blue) to two of the set screws (2) and thread set screws into the lower threaded holes as shown. See Figure 1. Tighten set screws until the covers are secure. The set screws must tighten against the flat (3) of the fork nut (2) as shown.
2. See Figure 2. Place larger fork stem nut cover (4) over fork stem nut. Apply Loctite 243 (blue) to the remaining set screw (2). Tighten the set screw against the fork nut flat until cover is secure.
1Triple tree clamp
2Fork nut
3Fork nut flat
Figure 1. Fork nut
3. Remove adhesive backing from logos (1). Place logos in desired orientation on covers. Press firmly into place to activate the adhesive.
SERVICE PARTS
Figure 2. Service Parts: Fork Tube And Stem Cover Kit
Table 1. Service Parts
Item
Description (Quantity)
Part Number
1
Logo, Bar & Shield (3)
14448-94
2
Set screws, 1/4 in. (3)
Not Sold Separately
3
Cover, fork tube (2)
Not Sold Separately
4
Cover, fork stem nut
Not Sold Separately
5
Upper set screw hole
Reference Only
NOTE
Do not use the upper set screw hole (5). Only use lower set screw hole.