H-D DETACHABLES TOURING Tour-Pak SOLO-GEPÄCKTRÄGER
J025482014-06-30
ALLGEMEINES
Satz-Nummer
53260-02A
Modelle
Modell-Passungsinformationen sind im P&A-Einzelhandelskatalog oder im Abschnitt „Parts and Accessories“ (Teile und Zubehör) der Website www.harley-davidson.com (nur Englisch) zu finden.
Einbauanforderungen
Zusätzliche Teile oder Zubehörteile müssen separat hinzugekauft werden, damit dieser H-D® Detachables-Satz korrekt montiert werden kann. Im P&A-Einzelhandelskatalog oder im Abschnitt „Parts and Accessories“ (Teile und Zubehör) der Website www.harley-davidson.com (nur Englisch) ist eine Liste der erforderlichen Teile oder Zubehörteile zu finden.
WARNUNG
Die Sicherheit von Fahrer und Sozius hängt vom korrekten Einbau dieses Satzes ab. Die entsprechenden Verfahren im Werkstatthandbuch befolgen. Falls es nicht möglich ist, dieses Verfahren selbst durchzuführen, bzw. nicht die richtigen Werkzeuge vorhanden sind, muss der Einbau von einem Harley-Davidson Händler durchgeführt werden. Unsachgemäßer Einbau dieses Satzes kann zu schweren oder tödlichen Verletzungen führen. (00333b)
HINWEIS
Diese Einbauanleitung bezieht sich auf Informationen aus dem Werkstatthandbuch. Für diesen Einbau ist ein Werkstatthandbuch für das jeweilige Modelljahr und Motorradmodell erforderlich. Dies ist bei einem Harley-Davidson-Händler erhältlich.
WARNUNG
Das Maximalgewicht für den Tour-Pak keinesfalls überschreiten. Zu viel Gewicht kann zum Verlust der Kontrolle über das Fahrzeug und damit zu schweren oder tödlichen Verletzungen führen. (00401c)
HINWEIS
Siehe Aufkleber im Tour-Pak®, Benutzerhandbuch oder in den Tour-Pak-Einbauanleitungen bezüglich Maximalgewichtsbeschränkung.
Inhalt des Satzes
EINBAU
HINWEIS
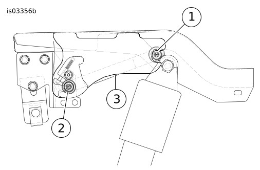
Siehe Abbildung 3. Wenn der Tour-Pak am Gepäckträger befestigt wird, muss in den folgenden Schritten beachtet werden, dass die Löcher im Gepäckträger zwei Positionen zur Befestigung des Tour-Pak in der gewünschten Stellung bieten.
1. Den Tour-Pak auf das Stützrohr setzen und den Deckel öffnen.
HINWEIS
Siehe Abbildung 3. In den folgenden Schritten werden die längeren Schrauben (6) für Tour-Paks bis 2005 (nur King) und Chopped Tour-Paks verwendet. Die kürzeren Schrauben (5) werden für Leder-Tour-Paks und King-Tour-Paks ab 2006 verwendet.
2. Siehe Abbildung 3. Die Schraube (5 oder 6), zwei flache Unterlegscheiben (3), konkaves Distanzstück (4) und Sechskantsicherungsmutter (2) aus dem Satz bereitlegen. Die hintere mittlere Bohrung im Tour-Pak auf die entsprechende Öffnung im Stützrohr (8) ausrichten. Die Schraube mit der flachen Unterlegscheibe durch den Tour-Pak, das Stützrohr und durch das konkave Distanzstück (mit der konkaven Seite in Richtung Stützrohr) schieben. An der Unterseite des Stützrohrs die Unterlegscheibe (3) und Nylock-Hutmutter (2) anbringen. Die konkave Seite des Distanzstücks an die Schiene anpassen, die Mutter festhalten und die Schraube anziehen bis sie fest sitzt.
3. Die Schrauben (5 oder 6), zwei flache Unterlegscheiben (3), konkaves Distanzstück (4) und Sechskantsicherungsmutter (2) aus dem Satz bereitlegen. Das obere Stützrohr (8) auf die (vier) Löcher des abnehmbaren Tour-Pak-Gepäckträgers ausrichten. Die Schrauben mit der flachen Unterlegscheibe durch den Tour-Pak, das Stützrohr, durch das konkave Distanzstück (mit der konkaven Seite in Richtung Stützrohr) und den Gepäckträger schieben. An der Unterseite des abnehmbaren Tour-Pak-Gepäckträgers die Unterlegscheibe (3) und Nylock-Hutmutter (2) anbringen. Die konkave Seite des Distanzstücks an die Schiene anpassen, die Mutter festhalten und die Schraube anziehen bis sie fest sitzt.
HINWEIS
Die Befestigungsschrauben immer von der Innenseite des Tour-Pak aus anbringen. Wenn die Schrauben umgekehrt eingebaut werden, können die Schraubenenden die geformte Einlage beschädigen und Gegenstände, die im Tour-Pak aufbewahrt werden, zerkratzen.
4. Schritt 3 wiederholen. Die Befestigungsteile in den drei restlichen Löchern im Tour-Pak und Befestigungsträger einbauen.
5. Die fünf Schrauben in Wechselfolge über Kreuz auf ein Drehmoment von 10,8–13,5 N·m (96–120 in-lbs) anziehen. Sicherstellen, dass die konkaven Flächen der Distanzstücke auf die Schiene passen und sich nicht weggedreht haben.
MONTAGE – Tour-Pak und GEPÄCKTRÄGER
1. Die dem Befestigungsstellensatz beiliegende Einbauanleitung befolgen.
2. Siehe Abbildung 1. Hinter dem Motorrad stehend, die vorderen Aussparungen des Tour-Pak-Gepäckträgers in die vorderen Befestigungsstellen (1) einsetzen. Sicherstellen, dass die vorderen Befestigungsstellen vollständig in den Aussparungen eingreifen.
1Vordere Befestigungsstelle
2Hintere Befestigungsstelle
3Halterung
Abbildung 1. Befestigungsstellenhalterung
3. Siehe Abbildung 1 und Abbildung 2. Die Klinken über den hinteren Befestigungsstellen (2) platzieren. Sicherstellen, dass die Klinken, wie dargestellt in Abbildung 2, in die Kehle der hinteren Befestigungsstellen passen. Dazu muss der Gepäckträger evtl. leicht zusammengedrückt oder gespreizt werden.
1Klinke
2Hintere Befestigungsstelle
3Unterlegscheibe
4Schraube
5Kehle
6Sicherungsmutter
7Halterung
8Freigabeknopf
Abbildung 2. Korrekte Ausrichtung der Klinke an der rechten, hinteren Befestigungsstelle (Ansicht von der Rückseite des Motorrads)
4. Den hinteren Teil des Gepäckträgers nach unten drücken und die Klinken schließen, indem der Klinkenhebel bis zum Anschlag nach vorne gedrückt wird. Beim Einrasten der Klinke ist ein KLICK-Geräusch vernehmbar. Wenn sich die Klinke nicht leicht schließen lässt, keine Gewalt anwenden. Die Ausrichtung überprüfen, wie beschrieben in den Schritten 2 und 3.
5. Zum Entfernen des Tour-Pak den Freigabeknopf (8) auf beiden Seiten drücken. Die Klinkenhebel nach hinten ziehen. Die Rückseite des Tour-Pak-Gepäckträgers behutsam anheben. Den Gepäckträger aus den vorderen Befestigungsstellen ziehen.
HINWEIS
Nach Montage des Tour-Pak-Gepäckträgers überprüfen, dass Tour-Pak und Gepäckträger sicher befestigt sind. Die vorderen und hinteren Befestigungsstellen müssen vollständig eingerastet sein. Siehe Abbildung 2 für korrekte Einraststellung.
ERSATZTEILE
Abbildung 3. H-D Detachables Touring Tour-Pak Solo-Gepäckträger
Tabelle 1. Ersatzteile
Angabe
Beschreibung (Menge)
Teilenummer
1
Abnehmbarer Tour-Pak-Gepäckträger
Nicht einzeln erhältlich
2
Sechskant-Sicherungshutmutter 1/4-20 (5)
7887
3
Unterlegscheibe (10)
6703
4
Distanzstück, Gepäckträger (5)
53799-99
5
Innensechskantschraube, 1-3/4 in (5)
Nicht einzeln erhältlich
6
Innensechskantschraube, 2-1/4 in (5)
2821
7
Senkkopfstopfen (2)
Nicht einzeln erhältlich
8
Stützrohr, oben
Nicht einzeln erhältlich
9
Klinkenbaugruppe (2)
50300108
10
Bolzen, verzahnt (2)
Nicht einzeln erhältlich
11
Halterung (2)
53805-99