多用绑扎节气门/怠速拉索套件
J028112015-05-27
概述
套件编号
参见表1
车型
关于车型与配件信息,参见P&A Retail Catalog(P&A零售目录)或www.harley-davidson.com上的Parts and Accessories(零件与附件)部分(仅英文)。
注意
此多用节气门/怠速拉索套件提供各种套管长度、接头角度和行程长度。经过改装(例如选装把手)的摩托车可能需要更短或更长的拉索。参见P&A零售目录了解配件和长度信息。
需要的附加零件
警告
骑手和乘客的安全取决于此套件的正确安装。 采用相关维修手册程序。 如果您没有能力执行此程序或者没有正确的工具,可请哈雷戴维森经销商执行此安装。 此套件安装不当可能造成死亡或重伤。 (00333b)
注意
此说明书引用了维修手册信息。此安装需要特定摩托车车型维修手册,该手册在哈雷戴维森经销商处有售。
套件内容
参见图11表2
拆卸
警告
为了防止车辆意外启动而造成死亡或重伤,请先断开电池负极(-)线缆,然后再继续操作。 (00048a)
  1. 遵循维修手册中的说明断开电池线缆(先断开负极线缆)或拆下主保险丝。
表1。 套件编号
车型
不锈钢套件
Diamondback套件
Diamond-Black套件
角度
长度 厘米(英寸)
运动者®车型(2006年款及之前)
56564-02
56715-06
未提供
45
72.4(28.5)
运动者®车型(2007年款及之后)
未提供
56100196
56100197
45°
72.4(28.5)
运动者®车型:
未提供
56726-07
38945-09
45°
77.5(30.5)
56340-04
未提供
未提供
80.0(31.5)
56360-09
38906-07
38913-09
82.5(32.5)
56723-04
未提供
未提供
87.6(34.5)
未提供
未提供
56100019
64.8(25.5)
未提供
56100147
56100139
90°
69.9(27.5)
软尾®和戴纳®车型
56345-03A
56808-05A
38947-09
90°
67.3(26.5)
55715-07
38781-06
38946-09
72.4(28.5)
56344-03A
56807-05A
38954-09
77.5(30.5)
56579-02A
56805-05A
38918-09
82.5(32.5)
56350-03A
55700-07
38957-09
87.6(34.5)
56370-03B
55703-07
55748-10
92.7(36.5)
56371-03B
55706-07
55767-10
97.8(38.5)
55718-07
55709-07
未提供
102.9(40.5)
56373-03A
55712-07
未提供
108.0(42.5)
56720-03
未提供
未提供
70
82.5(32.5)
注意
执行拉索拆解程序时,仔细记录原有拉索布设路径。拆卸前要特别注意原有线缆扎带位置,以便在相同的位置放置新线缆扎带。
通告
如果没有首先在刹车杆与杆托之间放置一个4毫米(5/32英寸)厚的衬垫,不得拆下或安装主缸组件。 如果没有衬垫即拆卸或安装主缸组件,可能会损坏前刹车灯开关上的橡胶套及柱塞。 (00324a)
1. 参见图1。在刹车杆与杆支架之间放置纸板衬垫。
2. 参见图2。松开拉索调节器锁紧螺母。向里转动拉索调节器直至其最短。这将使拉索充分松弛,方便拆卸。
3. 拆下右侧上部及下部开关盒螺丝。
1刹车杆
2纸板,4毫米(5/32英寸)
3刹车杆支架
图1。 安装纸板衬垫
4. 松开将把手夹固定至主缸罩的上部螺丝。拆下下部夹紧螺丝与平垫圈。
注意
如有可能,保留磨擦靴原位不动。摩擦靴为松配合,如果倒置或摇动下部开关盒,摩擦靴可能掉出或移位。
5. 参见图3。从节气门控制手柄内侧的槽口中拆下铜套圈。从线缆端接头上拆下套圈。
6. 从下开关盒中拔出节气门和怠速控制拉索套管末端压入的嵌块。拉出的同时最好适当摇动。从开关盒上拆下拉索与固定环。如有必要,可在固定环上加一滴轻机油以方便拆卸。
注意
如果您具有或要安装不同的把手,测量拉索套管端头至节气门手柄所需距离的变化量。将此增加的长度需求与套件中提供的拉索进行对比。
如果拉索比上述测量距离长出51毫米(2.0英寸)以上或短25毫米(1.0英寸)以上,请咨询哈雷戴维森经销商了解正确的拉索长度。
1上部开关盒
2下部开关盒
3节气门拉索调节器
4怠速拉索调节器
5调节器锁紧螺母
图2。 把手节气门控制装置
警告
安装正确长度的节气门拉索。 拉索长度不正确可对摩托车操作产生不利影响,有可能引起失控,造成死亡或重伤。 (00396b)
7. 遵循相应维修手册中的说明拆下空气滤清器组件。
注意
抬起燃油箱以便在车架骨干框架区域够及拉索(如有必要)。参见维修手册。
8. 在化油器/进气模块处拆下拉索,方法如下: 化油器车型:参见图4。从节气门轮的孔中拆下拉索套管,从化油器拉索支架的拉索导板上释放拉索套管。 燃油喷射车型:参见图5。从铸造于进气模块前部的整体式拉索导板(1、2)上拆下怠速和节气门控制拉索。参见图6。从节气门轮(1)的孔中拉出拉索套管端(2、3)。
9. 切断将拉索固定至车架骨干框架的线缆扎带并丢弃。切断将拉索固定至线圈支架的线缆扎带(如有)。拆下拉索。
10. 对于FL车型:从将拉索固定至车架骨干框架右侧的J形夹上释放拉索。拆下螺栓、垫圈、P形夹和锁紧螺母从转向头上释放拉索(如有)。 对于戴纳车型:从车架孔中拆下原有线缆扎带。确保在布设更换拉索时使用用于线缆扎带的同一个孔。
1节气门拉索
2怠速拉索
3铜套圈
4槽口
图3。 节气门/怠速控制拉索
安装
安装节气门和怠速拉索
1. 参见图3。在开关盒内的节气门手柄和把手节气门端涂敷少量石墨乳。
注意
压接至拉索端的节气门控制拉索固定环比怠速控制拉索的固定环直径大。
为便于组装,在压入衬垫的固定环上加一滴轻机油。
2. 参见图7。将节气门拉索套管和固定环推入开关盒大孔,它位于张力调节器螺丝之前。
3. 将怠速拉索套管和固定环推入开关盒小孔,它位于张力调节器螺丝之后。
4. 将节气门和怠速控制拉索套管推入下部开关盒,直至其均卡紧到位。
注意
对于未配备工厂安装巡航控制的车型,如果摩擦靴掉出或移位,安装摩擦靴时使凹侧朝上,定位磨擦靴时使销孔位于调节螺丝端头上方。
5. 将节气门控制手柄推至右把手端之上,直至其抵住封闭端。旋转手柄,直至套圈槽口处于顶部。为防止粘结,将手柄拉回大约3.2毫米(0.12英寸)。
6. 参见图3。定位下部开关盒,使其位于节气门控制手柄下方。将套件中的两个铜套圈(图11:项目3)安装至拉索,使铜套圈进入节气门控制手柄上各自此槽口到位。必须在手柄上的成型槽中卡住拉索。
7. 定位上部开关盒,使其位于把手及下部开关盒上方。布设线管,使其穿过把手底部凹陷处。
8. 用手拧紧上部及下部开关盒螺丝。
9. 将刹车杆/主缸组件定位于开关盒组件内,使下部开关盒上的蝶片与刹车杆支架顶部的槽啮合。
10. 将把手夹的孔与主缸罩上的孔对准,用手拧紧下部螺丝和平垫圈。定位至骑手舒适的位置。从顶端螺丝开始,拧紧螺丝至6.8-9.0牛米(60-80英寸镑)。
注意
始终先拧紧下部开关盒螺丝,使上部与下部开关盒之间的间隙位于开关组件前面。
11. 拧紧下部与上部开关盒螺丝至4-5牛米(35-45英寸镑)。
1止动板
2节气门凸轮止动块
3节气门轮
4拉索套管端
5弹簧
6怠速拉索导板
7节气门拉索导板
图4。 节气门拉索组件(化油器车型)
1怠速拉索导板
2节气门拉索导板
图5。 节气门拉索组件(燃油喷射车型)
1节气门轮
2怠速拉索套管端
3节气门拉索套管端
图6。 节气门拉索组件(燃油喷射车型)
1怠速拉索固定环
2节气门拉索固定环
3下部开关盒
图7。 将拉索安装至开关盒
12. 拆下刹车杆与支架之间的纸板衬垫。
13. 参阅以下“布设节气门和怠速拉索”部分。根据相应车型布设拉索。
布设运动者车型节气门/怠速拉索
经过右转向信号左侧布设控制拉索。穿过前灯与右叉管之间的区域绕回。在燃油箱下面往后布设,使用点火开关下的夹进行固定,然后向下布设至化油器/进气模块。
布设戴纳车型节气门/怠速拉索
  1. 1996-2005年款FXD、FXDL、FXDX、FXDS车型:参见图8。在前灯与右前叉管之间布设节气门和怠速拉索,然后在燃油箱右侧下方布设至化油器/进气模块。 1996-2005年款FXDWG车型:参见图9。在前叉上部支架后方布设节气门和怠速拉索,然后在燃油箱右侧下方布设至化油器/进气模块。 1996-2005年款FXDXT车型:穿过上部叉支架上安装的钢丝型件布设节气门和怠速拉索,然后在燃油箱右侧下方布设至化油器。 2006年款及之后的FXDi、FXDCi、FXDBi、FXD35、FXDWGi:参见图9。在前叉上部支架后方布设节气门和怠速拉索,然后在燃油箱右侧下方布设至进气模块。
  2. 所有车型:参见图10。按照图示定位线缆扎带,使线缆扎带环朝下。按照图示竖直堆放拉索,拉紧线缆扎带。
1节气门/怠速拉索
2前灯
3右前叉管
4燃油箱
图8。 布设拉索(1996 - 2005年款除FXDWG之外的戴纳车型)
1节气门/怠速拉索
2前叉上支架
3燃油箱
图9。 布设拉索(1996 - 2005年款FXDWG、2006年款及之后的戴纳车型)
1竖直堆放节气门/怠速拉索
2线缆扎带(图示为修剪端头之前)
图10。 布设拉索(所有戴纳车型)
布设软尾车型节气门/怠速拉索
除FLSTS、FXSTS和FXSTD之外的所有软尾车型:在刹车管线与把手之间布设节气门和怠速拉索。在顶部车架管下方线束连接器与线束支架之间穿过拉索,然后布设至化油器/进气模块。
FLSTS软尾车型:穿过底部车架支架下方刚性叉右侧的钢丝型件布设节气门和怠速拉索(使用线缆扎带固定到位),然后布设至化油器/进气模块。
FXSTS软尾车型:通过把手上方布设节气门和怠速拉索,穿过刚性叉右侧的钢丝型件,然后进入燃油箱下方隧道区域布设至化油器/进气模块。
FXSTD软尾车型:从节气门控制装置往前布设节气门和怠速拉索,穿过刹车管线与把手立管之间至转向头右侧。继续经过燃油箱下方沿车架骨干框架右侧和背后至化油器/进气模块。
布设Touring车型节气门/怠速拉索
FLHT、FLHTC/I和FLTRI:
  1. 沿刹车管线向下布设拉索至内侧挡风板。穿过内侧挡风板套环布设拉索,然后往后绕,沿转向头右侧布设。
  2. 从转向头右侧沿车架骨干框架右侧布设节气门和怠速拉索。穿过车架骨干框架上的J形夹之后向下将拉索布设至化油器/进气模块。
  3. 完成将拉索连接至化油器/进气模块程序之后,将新14英寸线缆扎带的锥形端插入点火线圈与线圈支架(焊接至车架骨干框架下侧)之间。当扎带穿出左侧之后,抬起两端,使孔眼在车架骨干框架上方对中。
  4. 检查确认怠速和节气门拉索、线捆、线束和车架骨干框架均已捆住,然后扣合线缆扎带两端。拉紧线缆扎带,但要在扎带和车架骨干框架之间留出足够插入一根手指的余量。切勿过紧。切除多余的线缆夹具材料。
最终安装
警告
安装正确长度的节气门拉索。 拉索长度不正确可对摩托车操作产生不利影响,有可能引起失控,造成死亡或重伤。 (00396b)
警告
挤压节气门拉索会妨碍节气门响应,可能会导致失控,造成死亡或重伤。 (00423b)
1. 安装拉索化油器/进气模块侧: 化油器车型:参见图4。将怠速拉索套管和弹簧安装至化油器拉索支架长拉索导板内。向下布设怠速拉索,将套管端安装至节气门轮孔中(距离凸轮止动块最远处)。将节气门拉索套管安装至短拉索导板,将套管端插入节气门轮的另一个孔中。 燃油喷射车型:参见图5图6。围绕节气门轮顶部布设怠速控制拉索,将套管端插入上部孔中。围绕节气门轮底部布设节气门控制拉索,将套管端插入下部孔中。通过槽将节气门和怠速控制拉索滑入拉索导板(铸造于进气模块前部)。
2. 根据需要拧紧拉索,避免套管端移位。检查确认拉索是否已在节气门轮通道中到位。转动节气门手柄并观察拉索运动确认操作是否正常。
3. 如果过松,则遵循相应维修手册中的说明拧紧燃油箱五金件。
4. 遵循相应维修手册中的说明安装空气滤清器组件。
5. 根据维修手册中的说明调节节气门和怠速拉索。
注意
将把手转至左右极限位置并检查以下项目:
  • 拉索不应与前灯五金件干涉或经过前灯前方。
  • 拉索不应与转向信号安装五金件或转向信号干涉。
  • 拉索不应与燃油箱盖或燃油表干涉。
  • 拉索不应与速度表或转速表干涉。
  • 确保拉索不会夹在车架和/或前叉之间。
  • 确保当把手完全转到前叉左右限位块位置时,节气门/怠速控制拉索不会拉紧。
  • 拉索应从全开灵活返回至全关位置。
警告
确保转向操作平顺并且没有任何干涉。 对转向造成干涉会导致车辆失控,造成人员死亡或重伤。 (00371a)
警告
先连接电池正极(+)线缆。 如果负极(-)线缆已连接,正极(+)线缆接地会产生火花,引起电池爆炸,造成重伤或死亡。 (00068a)
6. 连接电池线缆(先连接正极(+)线缆)或安装主保险丝(如拆下)。
警告
在操作摩托车之前,请确保所有车灯和开关均正常工作。 骑手的低能见度可能导致死亡或重伤。 (00316a)
7. 将点火/车灯钥匙开关转至打开位置,操作刹车杆测试刹车灯工作情况。
维修零件
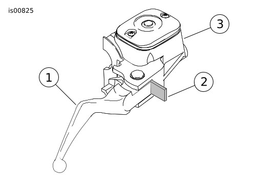
图11。 维修零件:多用绑扎节气门/怠速拉索套件
表2。 维修零件:多用绑扎节气门/怠速拉索套件
项目
描述(数量)
零件编号
1
绑扎节气门控制拉索
不单独出售
2
绑扎怠速控制拉索
不单独出售
3
拉索控制装置套管(2)
56508-76
4
节气门/怠速拉索夹
70514-01
5
线缆扎带,7.5英寸(2)(未显示)(所有套件中均不包括)
10006
6
线缆扎带,7.8英寸(3)(未显示)(所有套件中均不包括)
10073
7
线缆扎带,6.0英寸(未显示)(所有套件中均不包括)
10065
8
波纹管(2)(未显示)(所有套件中均不包括)
不单独出售