STREET SLAMMER车把套件
J044062021-01-06
概述
套件编号
55975-08A, 55985-10, 55801308, 55801309
车型
关于车型适配信息,参见 P&A Retail Catalog(零件与附件零售目录)或www.harley-davidson.com 上的 Parts and Accessories(零件与附件)部分(仅英文)。
此套件不适合配备液压离合器套件、把手安装式仪表或Road Tech ® 收音机的车型或配备配件挡风玻璃的FLHRS车型。
ABS车型
警告
骑手的安全性取决于此套件的正确安装。 对于配备ABS刹车的车辆,需要经销商进行安装。 正确安装此套件需要使用仅哈雷戴维森经销店可提供的专用工具。 如果刹车系统维修不当,有可能对刹车性能造成不良影响,从而造成死亡或重伤。 (00578b)
非ABS车型
警告
骑手和乘客的安全取决于此套件的正确安装。 采用相关维修手册程序。 如果您没有能力执行此程序或者没有正确的工具,可请哈雷戴维森经销商执行此安装。 此套件安装不当可能造成死亡或重伤。 (00333b)
需要的附加零件或附件
在您的车型摩托车上正确安装此把手套件需要单独购买附加零件或附件。 请参见P&A Retail Catalog(P&A零售目录)或www.harley-davidson.com上的Parts and Accessories(零件与附件)部分(仅英文)了解您的车型所需要的零件或附件清单。
仅限Road King车型: 需要单独购买把手盖(55854-07镀铬或55876-10黑色)。
对于澳大利亚、巴西、英国、欧洲和日本 ,还需要两个特殊螺丝(2935A)。
需要的工具和材料
正确安装此套件需要使用Loctite ® 271(红色)螺纹锁固密封剂(99671-97)。
需要新鲜、未污染的密封容器盛装的刹车液。 有关合适的刹车液,请参阅用户手册。
警告
更换刹车管线密封垫。 重新使用原来的密封垫会导致刹车失效和车辆失控,有可能造成死亡或重伤。 (00318a)
对于重新使用原厂刹车管线的车型, 必须更换 每个空心接头处的两个刹车管线密封垫。 请参阅相应零件目录或咨询哈雷戴维森经销商了解正确的零件编号。
配备 胶粘 左侧手柄的摩托车还需要单独购买一个新手柄。 参阅零件目录,了解原厂更换手柄。
咨询哈雷戴维森经销商,了解提供的精选原厂摩托车附件手柄。
注意
此说明书引用了维修手册信息。 此安装需要您的摩托车车型维修手册,该手册在哈雷戴维森经销商处有售。
套件内容:
参见 图11表2
拆卸
准备 - 所有车型
警告
为了防止车辆意外启动而造成死亡或重伤,请先拆下主保险丝,然后再继续。 (00251b)
警告
为了防止车辆意外启动而造成死亡或重伤,请断开电池线缆(先断开电池负极(-)线缆),然后再继续安装操作。 (00307a)
警告
先断开电池负极(-)线缆。 如果负极(-)线缆已连接,正极(+)线缆接地会产生火花,引起电池爆炸,造成重伤或死亡。 (00049a)
1. 参见维修手册,拆下座椅并断开电池线缆或拆下主保险丝。 保留座椅五金件以待重新安装。
警告
在维修燃油系统时,不得吸烟,周围不允许有明火或火星。 汽油极易燃、易爆,可造成死亡或重伤。 (00330a)
2. Softail和Dyna车型 :请参阅维修手册并松开燃油箱。
小心
眼睛直接接触DOT 5刹车液会导致眼睛受到刺激、肿胀和红肿。 请避免眼部接触。 若不慎进入眼睛,请用大量的清水冲洗并就医。 误吞大量的DOT 5刹车液会引起消化道不适。 若不慎误吞,请就医。 请在通风良好的场所使用。 请将刹车液放置于儿童触及不到的地方。 (00144b)
警告
接触DOT 4制动液可严重影响健康。 未佩戴适当的皮肤和眼部保护装备可导致死亡或重伤。
  • 如果吸入: 保持冷静,移动至空气新鲜的位置,就医。
  • 如果发生皮肤接触: 去除被污染的衣物。 立即用大量清水冲洗皮肤15-20分钟。 如果发炎,请就医。
  • 如果进入眼睛: 翻开受影响眼睛的眼睑,使用流动水至少冲洗15分钟。 如果发炎,请就医。
  • 如果吞入: 冲洗口腔,然后大量饮水。 切勿引吐。 有毒物质接触控制。 需要立即就医。
  • 请参见sds.harley-davidson.com上的安全数据表(SDS)了解更多详情。
(00240e)
通告
DOT 4刹车液会损坏与之接触的已油漆面板和车身面板。 检查刹车时,请务必谨慎,以免刹车液溅到摩托车表面。 否则可导致摩托车外观损坏。 (00239c)
注意
立即用清洁、干燥的软布擦去任何溅出的刹车液。 随后用清洁的湿软布彻底擦拭溅到的区域(少量飞溅),或用大量肥皂水进行清洗(大量飞溅)。
使用聚乙烯保护膜覆盖其附近的摩托车表面,以防止溢出的DOT 4刹车液导致漆面损伤。
  1. 参见维修手册,排放前刹车储液槽和刹车管线中的刹车液。
把手拆卸 - Dyna和Softail
注意
使用清洁的车间用毛巾遮盖前挡板和燃油箱,防止刮伤。 否则有可能导致漆面损坏。
1. 记录前刹车管线布设路径和铰接接头朝向。 参见维修手册,断开并拆卸刹车管线。 保留空心螺栓,但丢弃刹车管线密封垫。
2. 卸下将转向信号线束固定到车把的塑料接线固定夹(如果配备)。
3. 从把手上拆下前刹车主缸和离合器杆组件。
4. 参见维修手册从离合器杆上断开离合器拉索。 如果要更换离合器拉索, 请从侧盖上断开离合器拉索的连接,然后从车辆上拆下拉索。
注意
2007年款及之后的车型使用Molex连接器。 2006年款及之前的车型使用Deutsch连接器。 参见维修手册了解断开和连接程序。
断开把手接线之前,记录电线布设路径。
5. 从燃油箱下的灰色和黑色六路主线束连接器断开把手控制件线路。
6. 分离6通道转向信号连接器半体。
7. 参见维修手册,执行以下程序:
a. 拆下右侧开关盒组件和线束,以接触节气门/怠速拉索。
b. 从现有的右侧手柄/节气门套筒组件上断开节气门/怠速拉索的连接,或者将其拆下(若要更换新拉索)。
c. 拆下左侧开关盒组件和线束。
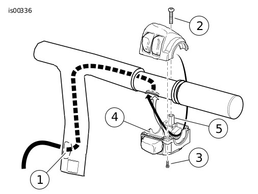
8. 参见 图1 。 拆下并丢弃螺丝(1)、上夹具(2)和车把(4)。
1夹紧螺丝(4)
2夹具(FXSTD车型上有2个,其他车型上有1个)
3把手立管(2)
4把手
5立管固定螺丝(2)
图1。 把手夹和竖管(Dyna和Softail车型)
9. 如果左侧手柄 并非用胶粘至把手: 如果需要,拆下手柄置于一旁,以便安装至新把手。
注意
注意正确安装竖管安装五金件的顺序。
10. 拆下并丢弃原厂把手竖管。 根据需要保留五金件待用。
注意
切勿从燃油箱下方的连接器 插针 盒 中拆下线路。
11. 记录来自开关和转向信号的 插座 盒 每个空腔中导线的颜色和位置。 参阅维修手册,并从插座盒中拆下电线。
12. 使用胶带包覆 每个 单独线束 的线路接线端端头,制作单独的导引线。 紧密包覆每根导引线,以便穿过套环孔,并能够轻松地穿过 把手。 转至 “安装”
把手拆卸 - 2007年款及之前的旅行车型:
注意
使用清洁的车间用毛巾遮盖前挡板和燃油箱前部,防止刮伤。
通告
小心地拆下刹车管线部件。 密封面损坏可导致泄漏。 (00320a)
1. 记录前刹车管线布设路径和铰接接头朝向。 参见维修手册,断开并拆卸刹车管线。 保留空心螺栓,但丢弃刹车管线密封垫。
2. 卸下将转向信号线束固定到车把的塑料接线固定夹(如果配备)。
3. 从把手上拆下前刹车主缸和离合器杆组件。
4. 参见维修手册从离合器杆上断开离合器拉索。 如果要更换离合器拉索: 请从侧盖上断开离合器拉索的连接,然后从车辆上拆下拉索。
5. 参阅维修手册,并从前灯灯罩拆下前灯组件。
注意
2007年款及之后的车型使用Molex连接器。 2006年款及之前的车型使用Deutsch连接器。 参见维修手册了解断开和连接程序。
6. 从前灯罩内的灰色和黑色六路主线束连接器断开把手控制件线路。 分离6通道转向信号连接器半体。 从两个4路连接器(如果配备)上断开电子巡航控制线。
7. 参见维修手册,执行以下程序:
a. 拆下右侧开关盒组件和线束。 接触节气门/节气门/怠速拉索需要执行此操作。
b. 从现有的右侧手柄/节气门套筒组件上断开节气门/怠速拉索的连接。
c. 拆下左侧开关盒组件和线束。
1前灯
2把手套
3叉锁止板
4灯罩(左半部分)
5灯罩装饰条
6导流板(仅FLHRS)
7螺母
8平头螺丝(2)
9盘头螺丝
10平垫圈
11带垫圈的螺丝
12凸缘头螺丝(3)
图2。 灯罩、前灯和把手套(所示的为FLHR车型)
8. 参阅维修手册,并按照适用的步骤卸下把手套、导流板和把手。
9. 如果左侧手柄并非用胶粘至把手: 如果需要,拆下手柄置于一旁,以便安装至新把手。
注意
注意新竖管正确安装的竖管五金件的顺序。
10. 拆下并丢弃原厂把手竖管。 保留五金件以待重新安装。
注意
2007年款及之后的车型使用Molex连接器。 2006年款及之前的车型使用Deutsch连接器。 请参见维修手册了解接线端的拆卸和安装步骤。
切勿从罩内的连接器 插针盒 中拆下线路。
11. 记录来自开关和转向信号的 插座 盒 每个空腔中导线的颜色和位置。 参阅维修手册,并从插座盒中拆下电线。
12. 使用胶带包覆 每个 单独线束 的线路接线端端头,制作单独的导引线。 紧密包覆每根导引线,以便穿过套环孔,并能够轻松地穿过 把手。 转至 “安装”
1夹紧螺丝(4)
2平垫圈(4)
3上部夹具(2)
4把手
5把手立管(2)
6竖管安装螺丝(2)
图3。 把手夹和竖管(显示的FLHR车型)
把手拆卸 - 2008年款及之后的旅行车型
注意
使用清洁的车间用毛巾遮盖前挡板和燃油箱,防止刮伤。
通告
小心地拆下刹车管线部件。 密封面损坏可导致泄漏。 (00320a)
  1. 拆下并保存位于刹车管线歧管三通的前叉杆及支架组件下方的半圆头螺丝。
  2. 记录前刹车管线布设路径和铰接接头朝向。 参见维修手册,断开并拆卸刹车管线。 保留空心螺栓,但丢弃刹车管线密封垫。
  3. 从把手上拆下前刹车主缸和离合器杆组件。
  4. 参见维修手册从离合器杆上断开离合器拉索。 如果要更换离合器拉索: 请从侧盖上断开离合器拉索的连接,然后从车辆上拆下拉索。
  5. 参阅维修手册,并从前灯灯罩拆下前灯组件。
  6. 参见维修手册,从前灯罩内的灰色八路和黑色六路主线束连接器断开把手控制件线路。 从两个三路连接器(如果配备)上断开电子巡航控制线。
  7. 参见维修手册,执行以下程序:
    1. 拆下右侧开关盒组件和线束。
    2. 拆下左侧开关盒组件和线束。
  8. 拆下并丢弃线束或把手上的电线固定夹。
  9. 如果左侧手柄非胶粘至 把手: 从手柄拆下端盖(如配备)。 根据需要将手柄拆下放置一旁,以便安装至新把手。
  10. 从现有的右侧手柄上卸下端盖(如配备),然后从把手上拆下手柄。
注意
把手右侧的旋转手柄传感器带有一个密封盖,可保护内部电极免受污物和湿气侵害,它还用作节气门手柄的固定装置。
要拆下手柄,可能需要稍微拉一下,以将手柄中的分度销从密封盖上的插座中释放出来。
如果不更换节气门手柄:拆下手柄后,注意密封盖是否固定至旋转手柄传感器端头。 如果不是,用一根坚硬的机械线从节气门手柄 的分度销上卸下密封盖。
必须使用旋转手柄传感器套件(32310-08)来替换原厂旋转手柄传感器。 参见图10
  1. 参阅维修手册,并拆下原厂旋转手柄传感器和旋转手柄传感器跳线线束。 保留跳线线束待用。
  2. 参见 图5 。 查看前灯灯罩(5)的内部,卸下凸缘螺母(7),以释放灯罩顶部的装饰条(6)。
  3. 注意
    对于澳大利亚、巴西、英国、欧洲和日本车型: 参见 图5 。 平头螺丝(8)带有易折断的头部,不易拆卸。 要拆下带有折头的螺丝,请使用中心冲头在每个螺丝的顶部打一个定位孔,然后用1/8英寸(3毫米)的 左钻头 向后退螺丝。
    如果失败,请使用3/16英寸(5毫米)长柄钻头小心地钻出可拆卸螺丝的头部。 用钳子从叉锁上卸下螺丝轴杆。
  4. 参阅维修手册,并按照适用的步骤卸下把手套、挡风玻璃和把手。
  5. 注意
    注意正确安装竖管安装五金件的顺序。
  6. 拆下并丢弃原厂把手竖管。 保留五金件以待重新安装。
  7. 注意
    切勿从罩内的Molex把手开关连接器插针盒中拆下线路。
  8. 记录来自开关的插座盒每个空腔中导线的颜色和位置。 参阅相关维修手册。 从插座盒中拆下导线(以及插座接线端)。
  9. 使用胶带包覆 每个 单独线束 的线路接线端端头,制作单独的导引线。 紧密包覆每根导引线,以便穿过套环孔,并能够轻松地穿过 把手。 转至 “安装”
1夹紧螺丝(4)
2上部夹具
3把手
4把手立管(2)
5立管固定螺丝(2)
图4。 把手夹和竖管(显示的为FLHR车型)
1前灯
2把手套
3把手罩嵌件
4叉锁止板
5灯罩(左半部分)
6灯罩装饰条
7螺母
8平头螺丝(2)
9盘头螺丝
10平垫圈
11带垫圈的螺丝
图5。 灯罩、前灯和把手套(所示的为FLHR/C车型)
安装
新的把手接线 - Dyna、Softail、2007年及之前的旅行车型
1. 对于配备把手安装式转向信号的车型: 参见 图11 。 将一个小套环(3)滑至每个转向信号线束之上,定位套环,使其靠近转向信号端。
2. 在右侧开关线束(和转向信号线束,若配有)上涂敷少量皂液、玻璃清洁剂或多用途润滑剂。
注意
在通过竖管接线孔安装电线 之前 ,必须将FLHR车型的把手套放在把手上。
3. 对于FLHR 和FLHRC车型,将 新的 把手套(单独购买)滑到把手上。
4. 对于FLHRS车型, 参见 图6
a. 使用之前卸下的三个凸缘螺丝(3)将保存的导流板(1)组装到 新的 适配器(2,单独购买)上。
b. 拧紧螺丝至 16.3–24 N·m (12–18 ft-lbs) 。
c. 使用适配器套件中的两个带凸缘螺丝(5)和凸缘螺母(6)将 新的 把手套(4,单独购买)安装到适配器上。
d. 拧紧螺丝至 16.3–24 N·m (12–18 ft-lbs) 。
e. 将把手套/导流板组件滑到把手上。
5. 拿三根绳子,每根绳子的长度约为3.5英尺(1米)。
a. 在每段细绳的一端系上一个小配重(例如一个备用螺母或垫圈,体积应足够小,以便穿过中间导线槽)。
b. 将新的把手放在水平表面上,使竖管末端朝上。
c. 将 根绳子的配重端插入 右侧 的竖管 布线 孔,并倾斜把手,使配重滑出把手的右手柄端。 如有必要,可以使用空气软管将平衡块和细绳通过把手吹到把手的手柄端。
d. 验证细绳 无配重 端 留在竖管孔之外,同时将 配重端 拉出把手的右手柄端。 从细绳上拆下配重。
e. 使用镊子或类似工具将一段细绳穿过靠近右侧把手端的开关线路槽拉出。 使第二段细绳仍然伸出右侧把手端。
f. 重复步骤3b至3e在 左侧 把手端操作剩余的一段细绳。 将细绳穿过靠近左侧把手端的 开关 线路槽拉出。
注意
在通过竖管接线孔安装电线 之前 ,必须将FLHR车型的把手套放在把手上。
6. 新的 把手套(单独购买)滑到把手上。 确认早先安装的细绳保持伸出把手套底面的竖管孔之外。
7. 在右侧开关导和转向信号线束,(若配有)上涂敷 少量 皂液、玻璃清洁剂或多用途润滑剂。
1导流板
2导流板适配器
3凸缘螺丝(3)
4把手套
5凸缘螺丝(2)
6凸缘螺母(2)
图6。 把手套/导流板组件(FLHRS)
警告
小心地将导线拉过把手上的孔,防止导线刮掉绝缘层。 刮掉导线绝缘层可导致短路并损坏车辆电气部件,有可能导致车辆失控并造成死亡或重伤。 (00418b)
8. 将线束经过缠绕的端头从右侧竖管底部附近的出线孔拉出。
警告
穿过把手布设线路之后,把手上每个线路孔中的套环必须保持到位。 如果工作时套环不在正确位置,则可能会损坏线路,导致短路,可能会造成人员死亡或重伤。 (00416d)
9. 参见 图11 。 将套环(2)滑到从竖管导线孔伸出的两个线束中,然后将套环插入把手的竖管孔中。
10. 将左侧开关 导线孔中的细绳端捆绑至左侧开关线捆。
11. 必要时在左侧开关线束上涂敷 少量 皂液、玻璃清洁剂或多用途润滑剂。
12. 图6 中所示右侧线路类似,穿过开关盒布设左侧开关电线捆。 将电线轻轻穿入左侧开关电线孔。 通过新的把手向下拉线束,并通过左侧竖管底部附近的电线出口将其拉出。
13. 将刹车杆和离合器杆固定在新的车把上,不要拧紧。
14. 将把手开关盒固定至新把手,但不要拧紧。
15. 除去导线捆端头的胶带。
16. 检查把手与导线捆每根导线之间的电气连通性。 如果连通,说明存在短路,需要检查导线和开关盒中的布设情况。
1中心布线孔
2上部开关安装螺丝
3下部开关安装螺丝
4开关内侧边缘导线上方挤压点位置和把手孔
5保持导线远离螺柱附近的挤压点
图7。 开关盒电线布线(Dyna、Softail和2007年款及之前的旅行车型)
新的把手安装 - Dyna、Softail、2007年及之前的旅行车型
1. 戴纳和软尾车型:
a. 将开关线束穿过上部叉支架上的大椭圆形开口向下布线,然后如前所述将其布线至油箱下方的开关连接器。
b. 将两个转向信号线束穿过上部叉支架上的大椭圆形开口向下布线,然后如前所述将其布线至油箱右侧的六路转向信号插针盒。
注意
2007年款及之后的车型使用Molex连接器。 2006年款及之前的车型使用Deutsch连接器。 参见维修手册了解断开和连接程序。
2. 参阅拆卸步骤期间的注释以及维修手册中的相应部分和接线图,然后按照以下步骤执行操作:
a. 将来自左侧开关线束的每个插座接线端插入之前所拆下 灰色 插座盒的正确空腔。
b. 将来自右侧开关线束的每个插座接线端插入之前所拆下 黑色 插座盒的相应空腔。
c. 将来自右侧转向信号线束的每个插座接线端引线插入之前所拆下Multilock插座盒的相应空腔。
d. 安装之前保存的夹子和/或电线导管。
3. 旅行车型: 将开关和转向信号插座盒布设到前灯灯罩中。
4. 将来自把手底部中心的灰色六路开关电线插座盒连接到灰色六路插针盒。 将黑色六路开关电线插座盒连接到黑色六路插针盒。
5. 将来自把手底部中心的黑色六路Multilock连接器连接到黑色六路Multilock插针盒。
警告
在维修燃油系统时,不得吸烟,周围不允许有明火或火星。 汽油极易燃、易爆,可造成死亡或重伤。 (00330a)
6. Dyna和Softail车型: 参阅维修手册,将燃油箱固定到车架上。
通告
未对准的把手或部件在向左、右转动时可能碰到燃油箱。 触碰燃油箱可能引起外观损伤。 (00372b)
7. 将前轮缓慢转至最右侧叉止动块处,然后转至最左侧叉止动块处,以确保把手不碰触燃油箱。 如果出现碰触且把手已正确对中,根据需要重新调节把手角度,直至获得正确的间隙。
8. 一次拆下一个竖管螺栓。 在螺栓螺纹上涂敷少量Loctite ® 271(红色)并再次安装螺栓。 参阅维修手册,根据要求拧紧竖管螺栓。
9. 参见维修手册并遵循其说明安装节气门控制拉索和新(单独购买)或原厂右手柄/节气门套筒组件。
10. 根据骑手舒适度和骑行姿势调节开关盒和刹车杆组件在把手上的位置。 刹车主缸必须处于水平状态。
注意
先拧紧顶部刹车杆夹紧螺丝,再拧紧底部螺丝。
11. 拧紧刹车杆夹紧螺丝(先拧紧顶部,然后拧紧底部)。
扭矩: 8–9 N·m (71–80 in-lbs) 螺丝
注意
先拧紧开关盒下部螺丝,然后拧紧上部螺丝。 这样会使开关盒的任何间隙位于前部,以获得最佳外观效果。
12. 拧紧 开关盒 螺丝(先拧紧下部,然后拧紧上部)。
扭矩: 4–5.1 N·m (35–45 in-lbs) 螺丝
13. 检查确认右侧手柄/节气门套筒是否转动灵活、是否返回自如、是否与把手或开关盒干涉。
注意
如果手柄有图案,则在节气门处于完全关闭位置时,将左侧手柄上的图案与右侧手柄上的图案对齐。
14. 根据手柄说明书或相应维修手册在新把手左端安装新(单独购买)或原有手柄。
15. 参见维修手册,根据骑手舒适度和姿势调节开关盒和离合器杆组件在把手上的位置。
16. 拧紧离合器杆夹紧螺丝(先拧紧顶部,然后拧紧底部)。
扭矩: 8–9 N·m (71–80 in-lbs) 螺丝
17. 拧紧 开关盒 螺丝(先拧紧下部,然后拧紧上部)。
扭矩: 4–5.1 N·m (35–45 in-lbs) 螺丝
新把手接线 - 2008年款及之后的旅行车型
注意
在通过竖管接线孔安装电线 之前 ,必须将FLHR车型的把手套放在把手竖管上。
1. 新的 把手套(单独购买)滑到把手竖管上。 检查早先安装的细绳保持伸出把手套底面的竖管布线孔之外。
2. 找出三段细绳、铁丝或类似物品,每一段的长度应足够在把手内穿过把手端头至下部中间导线槽,并额外长出15-30厘米(6-12英寸),以便伸出开口外。
a. 在每段细绳的一端系上一个小配重(例如一个备用螺母或垫圈,体积应足够小,以便穿过中间导线槽)。
b. 将 两段 细绳的配重端插入 右侧 把手端,倾斜把手,使配重和细绳从把手中向下滑动至下部中间导线槽。 必要时可使用风管将配重和细绳从把手中吹至中间槽。
c. 验证细绳 无配重 端 留在右侧把手端之外,同时将 配重端 拉出下部中间导线槽。 从细绳上拆下配重。
d. 使用镊子或类似工具将一段细绳穿过靠近右侧把手端的开关线路槽拉出。 使第二段细绳仍然伸出右侧把手端。
e. 重复步骤1b至1d在 左侧 把手端操作剩余的细绳。 将细绳穿过靠近左侧把手端的开关线路槽拉出。
3. 参见 图11 。 首先将套环(2)法兰端滑到开关线束上,将套环定位在靠近开关端的位置。 对于带把手安装的转向信号的车型, 将一个小套环(3)滑至每个转向信号线束之上,定位套环,使其靠近转向信号端。
注意
请勿将原厂旋转手柄传感器与新把手一起使用。 原厂传感器上的绿色小连接器与内部接线的把手不兼容。 必须使用传感器套件(32310-08)来替换原厂旋转手柄传感器。 参见图10
4. 使用胶带包覆旋转手柄传感器导线端的线路接线端以便形成单根导引线。 紧密包覆导引线,以便其能够容易地穿过 把手。
5. 将右侧把手端孔中的细绳端用胶带捆绑至旋转手柄传感器线束。
6. 将右侧 开关 电线 孔中的细绳端用胶带捆绑至右侧开关线束。
注意
在将线束送入把手之前,在线束上涂一薄层液体肥皂、窗户清洁剂或通用润滑油。
警告
必须准确按照图示在开关盒中布设线路。 开关盒中的挤压点可导致短路或切断线路,有可能造成失控,从而导致死亡或重伤。 (00415b)
7. 将旋转手柄传感器线束轻轻穿入右侧把手端。 参见 图8 。 穿过开关盒布设右侧开关导线捆,如图所示。 轻轻地将线束送入右侧开关线孔中。 拉动导线捆向下穿过新把手并穿向把手中间,同时将旋转手柄传感器分度片安装至把手端的槽中。 一个分度片和槽比另一个分度片和槽小,以便于组装。
1中心布线孔
2上部开关安装螺丝
3下部开关安装螺丝
4将内部开关边缘挤压点置于电线和把手孔的上方
5不要让电线接触到螺柱附近的挤压点
6旋转手柄传感器
图8。 开关盒和旋转手柄传感器布线(2008年款及之后旅行车型)
警告
小心地将导线拉过把手上的孔,防止导线刮掉绝缘层。 刮掉导线绝缘层可导致短路并损坏车辆电气部件,有可能导致车辆失控并造成死亡或重伤。 (00418b)
8. 将线束的胶带末端穿过把手的中心孔。
警告
穿过把手布设线路之后,把手上每个线路孔中的套环必须保持到位。 如果工作时套环不在正确位置,则可能会损坏线路,导致短路,可能会造成人员死亡或重伤。 (00416d)
9. 将左侧 开关导线 孔中的细绳端捆绑至左侧开关线束。
10. 图8 中所示右侧线路类似,穿过开关盒布设左侧开关线束。 将线束送入左侧开关线孔中。 拉动导线捆向下穿过新把手并穿向把手中间。
注意
将右侧套环插入把手插槽,并使凸缘朝向把手的中心。
11. 参见 图11 。 将开关导线套环(2)在把手的开关导线孔中插入到位。
12. 将刹车杆和离合器杆夹具固定至新把手,但不要拧紧。
13. 将把手开关盒固定至新把手,但不要拧紧。
14. 除去线束端头的胶带。
15. 检查把手和线束中每根电线之间的电导通性。 连通性表示短路,这需要检查电线和开关盒中的接线。
新把手安装 - 2008年款及之后的旅行车型
注意
参见维修手册了解断开和连接程序。
1. 将来自右侧开关线束的每个插座接线端插入之前所拆下黑色插座盒的相应空腔。
2. 将灰色插座盒连接至罩内的灰色八通道销盒。 将黑色插座盒连接至罩内的黑色六通道销盒。 以同样方式将三通道巡航控制销盒连接至插座盒(如配备)。
3. 取出旋转手柄传感器套件(单独购买)中的PVC管。 将此管安装至来自旋转手柄传感器的所有导线之上。
4. 从旋转手柄传感器套件(单独购买)。中取出六路黑色Molex插针盒。 将旋转手柄传感器的每个销子接线端插入销盒中的相应空腔,方法如下: 从黄色线管、从黑色线管,
a. 黑色导线至空腔1
b. 白色导线至空腔2
c. 红色导线至空腔3
d. 黑色导线至空腔4
e. 白色导线至空腔5
f. 红色导线至空腔6
5. 将旋转手柄传感器的六通道黑色Molex销盒连接至罩内的黑色六通道插座盒。 定位之前安装的PVC管,防止罩内旋转手柄传感器导线的摩擦。
通告
未对准的把手或部件在向左、右转动时可能碰到燃油箱。 触碰燃油箱可能引起外观损伤。 (00372b)
6. 将前轮缓慢转至最右侧叉止动块处,然后转至最左侧叉止动块处,以确保把手不碰触燃油箱。 如果出现碰触且把手已正确对中,根据需要重新调节把手角度,直至获得正确的间隙。
7. 拆下立管螺栓,一次拆卸一个。 在螺栓螺纹上涂敷少量Loctite® 271(红色)并安装螺栓。 拧紧立管螺栓。
扭矩: 41–54 N·m (30–40 ft-lbs) 螺栓
8. 根据手柄说明书或相应维修手册在新把手左端安装新(单独购买)或原有手柄。
9. 根据骑手舒适度调节开关盒和离合器杆组件在把手上的位置。
10. 拧紧离合器杆夹紧螺丝(先拧紧顶部,然后拧紧底部)。
扭矩: 8.1–12.2 N·m (72–108 in-lbs) 螺丝
11. 拧紧开关盒螺丝(先拧紧下部,然后拧紧上部)。
扭矩: 4–5.1 N·m (35–45 in-lbs) 螺丝
注意
如果手柄带有图案,在节气门处于完全关闭位置时将右侧手柄上的图案与左侧手柄上的图案对准。
12. 参阅相应维修手册并遵循其说明安装新(单独购买)或原有右手柄/节气门套筒。
13. 根据骑手舒适度调节开关盒和刹车杆组件在把手上的位置。 刹车主缸必须处于水平状态。
注意
先拧紧顶部刹车杆夹紧螺丝,再拧紧底部螺丝。
14. 拧紧刹车杆夹紧螺丝(先拧紧顶部,然后拧紧底部)。
扭矩: 8.1–12.2 N·m (72–108 in-lbs) 螺丝
注意
先拧紧开关盒下部螺丝,然后拧紧上部螺丝。 这样会使开关盒的任何间隙位于前部,以获得最佳外观效果。
15. 拧紧开关盒螺丝(先拧紧下部,然后拧紧上部)。
扭矩: 4–5.1 N·m (35–45 in-lbs) 螺丝
16. 检查确认右侧手柄/节气门套筒是否转动灵活、是否返回自如、是否与把手或开关盒干涉。
最终组装
软尾和戴纳车型
警告
更换刹车管线密封垫。 重新使用原来的密封垫会导致刹车失效和车辆失控,有可能造成死亡或重伤。 (00318a)
通告
防止泄漏。 在装配之前,确保密封垫、空心螺栓、刹车管和刹车钳缸孔洁净、无损坏。 (00321a)
  1. 仔细检查 新的 刹车管线是否有损坏或缺陷,如果出现损坏,请更换。 根据维修手册的说明或刹车管线中包括的说明安装刹车管线。
  2. 遵循维修手册中的说明对刹车系统进行排气。
  3. 参阅维修手册,并将离合器拉索安装到离合器杆上,或安装 新的 离合器拉索(单独出售)。
旅行车型
警告
骑手的安全性取决于此套件的正确安装。 对于配备ABS刹车的车辆,需要经销商进行安装。 正确安装此套件需要使用仅哈雷戴维森经销店可提供的专用工具。 如果刹车系统维修不当,有可能对刹车性能造成不良影响,从而造成死亡或重伤。 (00578b)
1. 为避免可能损坏刹车软管,请确认装饰条仍安装在前灯灯罩的内侧边缘上。 如果缺失、破裂或损坏,则更换装饰条。
图9。 导流板至灯罩(FLHRS车型)
2. 带导流板的车型:不带导流板的车型:
a. 获取 新的 把手夹盖(单独出售),以及此前卸下导流板和三个六角锯齿形凸缘螺丝。 用螺丝将夹盖固定到导流板上,然后交替拧紧。
扭矩: 16.3–24.4 N·m (12–18 ft-lbs) 螺丝
b. 将导流板和夹组件放在前灯灯罩顶部的凸缘上。
c. 组装早前拆下的盘头螺丝、凸缘螺母母和平垫圈,请勿拧紧。
d. 参见 图9 。 握住螺丝组件,将其伸入前灯灯罩内部,然后将螺丝头 仅穿过 开口 向上插入,以便与导流板前部的凸舌上的插槽啮合。 螺母和平垫圈应留在灯罩内。 拧紧螺丝。
扭矩: 1.1–2.3 N·m (10–20 in-lbs) 螺丝
e. 将 新的 夹盖放在前灯灯罩顶部的凸缘上。
f. 将螺丝穿过把手套前部和前灯灯罩顶部的孔。 伸入灯罩内部,然后将螺母和平垫圈安装到螺丝螺纹上。 拧紧螺丝。
扭矩: 1.1–2.3 N·m (10–20 in-lbs) 螺丝
注意
对于北美: 使用两颗 平头 螺丝(先前已卸下)安装新的把手套。
对于澳大利亚、巴西、英国、欧洲和日本: 使用两颗新螺丝(2935A,单独购买)安装 新的 把手套。
3. 安装两颗螺丝,将把手夹盖固定到叉锁机构上。 拧紧平头螺丝。
a. 针对北美:
扭矩: 1.1–2.3 N·m (10–20 in-lbs) 螺丝
b. 对于澳大利亚、巴西、英国、欧洲和日本: 拧紧专用螺丝,直到断裂头脱落。
4. 将原叉锁板压入把手套上的位置。
5. 将装饰条的挂钩插入把手套上的插槽。 将装饰条上的焊头插入前灯灯罩顶部的孔中,并到达灯罩内以安装凸缘螺母。 拧紧螺母。
扭矩: 1.7–2.3 N·m (15–20 in-lbs) 螺母
6. 参见维修手册,拆将前灯安装到灯罩中。
警告
更换刹车管线密封垫。 重新使用原来的密封垫会导致刹车失效和车辆失控,有可能造成死亡或重伤。 (00318a)
通告
防止泄漏。 在装配之前,确保密封垫、空心螺栓、刹车管和刹车钳缸孔洁净、无损坏。 (00321a)
  1. 仔细检查 新的 刹车管线(单独出售)是否有损坏或缺陷,如果出现损坏,请更换。 根据刹车管线随附的说明进行安装。
  2. 遵循维修手册中的说明对刹车系统进行排气。
  3. 参阅维修手册,并将离合器拉索安装到离合器杆上,或安装 新的 离合器拉索(单独出售)。
检查安全性
警告
确保转向操作平顺并且没有任何干涉。 对转向造成干涉会导致车辆失控,造成人员死亡或重伤。 (00371a)
  • 确保当把手完全转到前叉左右限位块位置时,电线、离合器拉索、节气门/怠速拉索和刹车管线不会拉紧。
警告
先连接电池正极(+)线缆。 如果负极(-)线缆已连接,正极(+)线缆接地会产生火花,引起电池爆炸,造成重伤或死亡。 (00068a)
1. 检查确认点火/车灯钥匙开关已转至OFF(关闭)位置。 参见维修手册连接电池线缆或安装主保险丝。
警告
在操作摩托车之前,请确保所有车灯和开关均正常工作。 骑手的低能见度可能导致死亡或重伤。 (00316a)
2. 将点火/车灯钥匙开关转到IGNITION(点火)位置,并测试每个把手开关操作是否正常。
3. 对于2005年款及之前FXDL和FXDWG车型:
警告
确保后挡板前下部的塞已安装。 如果在未安装塞的情况下骑行,轮胎有可能接触线束。 轮胎接触线束可导致导线损坏,从而有可能导致死亡或重伤。 (00456b)
  • 仔细检查后轮挡泥板的下方前部。 挡泥板上的76毫米(3英寸)方孔应用一个橡胶塞堵住。
  • 如果橡胶塞损坏、松动或丢失,则必须更换(59150-90,可从哈雷戴维森经销商处购买)。 没有此橡胶塞,线束可能会从开口中脱出并接触后轮胎,从而导致后车灯故障或其他严重的电气问题。
4. 将把手转至左侧和右侧停止位置,在每个停止位置测试把手控制件功能。
5. 使用前刹车手杆检测刹车灯运行是否正常。
6. 确认节气门工作正常。
7. 参阅维修手册并遵循其说明安装座椅。
警告
安装座椅之后,向上拉动座椅,确保其锁定到位。 骑行时,座椅松动会导致失控,可能造成死亡或重伤。 (00070b)
警告
启动发动机前,确保节气门控制器在释放后可迅速返回怠速位置。 如果节气门控制器无法使发动机自动回到怠速位置,则可导致车辆失控,从而有可能造成死亡或重伤。 (00390a)
警告
在维修刹车系统之后,应在低速情况下对刹车进行测试。 如果刹车运行不正常,在高速状态下测试刹车会导致失控,有可能造成死亡或重伤。 (00289a)
警告
骑行前,请确认前灯、尾灯和刹车灯以及转向信号灯工作正常。 骑手不易被其他驾驶者看见有可能导致死亡或重伤。 (00478b)
8. 测试尾灯是否正常运行。
维修零件
图10。 维修零件: 旋转手柄传感器套件(32310-08)
表1。 维修零件: 旋转手柄传感器套件(32310-08)
项目
名称(数量)
旋转手柄传感器项目
1
传感器,扭转手柄(用于采用内部接线的把手)
2
插针盒,六路
3
固定器,T形螺柱
4
线缆扎带
5
PVC管
仅与加热手柄一起使用的项目:
6
两通道插座盒
7
副锁,两路插座盒
8
密封销(塞子)(2)
9
两路销盒
10
副锁,两路插针盒
图11。 维修零件
表2。 维修零件
项目
名称(数量)
零件编号
1
车把,Street Slammer
不单独出售
2
把手套环,大(2)
11386
3
把手套环,小(2)(仅适用于安装在把手上的转向信号装置)
11398
文字中引用,但套件中不包括的项目:
A
把手套,黑色(仅适用于Road King车型)
55876-10
把手套,镀铬(仅适用于Road King车型)
55854-07