KIT TESTATA SE PRO TWIN CAM 110+
J047922008-12-18
GENERALITÀ
Numeri kit
17071-08A (nero) e 17072-08A (argentato)
Modelli
Per informazioni sugli abbinamenti dei modelli, consultare il catalogo delle parti e accessori o la sezione Parts and Accessories (Parti e Accessori) sul sito web www.harley-davidson.com (solo in inglese).
AVVERTENZA
La sicurezza del pilota e del passeggero dipende dalla corretta installazione di questo kit. Attenersi alle procedure appropriate illustrate nel manuale di manutenzione. Se non si è in grado di eseguire la procedura o non si dispone degli attrezzi adeguati, rivolgersi a un concessionario Harley-Davidson per l’installazione. Un’installazione non corretta di questo kit può causare lesioni gravi o mortali. (00333b)
NOTA
Questo foglio di istruzioni fa riferimento alle informazioni contenute nel manuale di manutenzione. Per questa installazione è necessario disporre di un manuale di manutenzione, disponibile presso un concessionario Harley-Davidson.
Parti supplementari necessarie
Queste testate devono essere usate con i corrispondenti pistoni Screamin’ Eagle®. Sui motori dotati di volano stroker, è necessario usare pistoni stroker. Fare riferimento al catalogo Screamin’ Eagle Pro per i codici dei kit.
Modelli 2005 e anni precedenti richiedono l’acquisto separato di due flange di presa dell’aria (26993-06). Nei modelli dal 2006 in poi è possibile riutilizzare le flange di serie.
Ogni testata necessita di una candela da 12 mm. Suggeriamo candele performance Screamin’ Eagle (vedere il catalogo Pro Screamin’ Eagle).
In tutti i modelli, è necessario utilizzare un kit guarnizioni della revisione generale della parte superiore (17052-99B) , e aste delle punterie regolabili o su misura Screamin’ Eagle.
Tutti gli elementi sopra elencati devono essere acquistati separatamente e sono disponibili presso un concessionario Harley-Davidson.
Contenuto del kit
NOTA
Questi kit sono destinati esclusivamente alle applicazioni per alte prestazioni o per competizione. Queste parti alte prestazioni relative al motore non possono essere vendute e usate a norma di legge su motoveicoli con controllo delle emissioni di scarico. Questo kit può ridurre o annullare la garanzia limitata del veicolo. Le parti alte prestazioni relative al motore sono destinate esclusivamente ai piloti esperti.
A causa del maggior rapporto di compressione, è necessario usare benzina con almeno 91 ottano. Il numero di ottano è solitamente indicato alla pompa.
AVVISO
Non superare mai il regime massimo di seguito indicato. Superando il regime massimo si può danneggiare il motore. (00248a)
RIMOZIONE
Preparazione per la manutenzione
1. Collocare la motocicletta su un cavalletto adatto.
NOTA
Se il veicolo è dotato di sistema di sicurezza Smart Harley-Davidson, vedere le istruzioni di disattivazione riportate sul manuale d’uso.
2. Rimuovere la sella seguendo le istruzioni nel manuale di manutenzione.
3. Togliere il fusibile principale. Vedere il manuale di manutenzione per il proprio modello di motocicletta.
AVVERTENZA
Durante la manutenzione dell’impianto di alimentazione, non fumare né generare scintille o fiamme libere nelle vicinanze. La benzina è estremamente infiammabile e altamente esplosiva e l’inosservanza di misure di sicurezza adeguate può causare lesioni gravi o mortali. (00330a)
4. Rimuovere il serbatoio del combustibile seguendo le istruzioni nel relativo manuale di manutenzione.
Rimozione dei componenti del motore
1. Rimuovere il filtro dell’aria. Vedere RIMOZIONE DEL FILTRO DELL’ARIA nel manuale di manutenzione.
2. Rimuovere l’impianto di scarico. Vedere RIMOZIONE DELL’IMPIANTO DI SCARICO nel manuale di manutenzione.
3. Smontare le testate dal motore. Vedere la relativa sezione MOTORE nel manuale di manutenzione.
NOTA
Le molle delle valvole delle testate del motore funzionano con camme con sollevamento fino a 16,51 mm (0,650 in) e fino a 7.000 giri/min.
Fare riferimento alla sezione MOTORE del manuale di manutenzione per tutti i procedimenti di rimozione/smontaggio e di montaggio/installazione.
Controllare la distanza tra pistone e valvola di sicurezza nelle fasi che seguono. Si consiglia di rivolgersi al concessionario Harley-Davidson per far effettuare questo controllo.
Le valvole devono essere regolate a zero quando si applica l’argilla ai pistoni. Per misure accurate, usare aste regolabili e abbassare al massimo le punterie idrauliche.
4. Applicare uno strato di argilla dello spessore di 3,2 mm (1/8 di in) alle corone di entrambi i pistoni (nelle aree dove le valvole e i pistoni si incontrano).
5. Installare nuove testate da questo kit, usando nuove guarnizioni dal kit guarnizioni della revisione generale della parte superiore (acquistato separatamente). Assemblare le testate e la distribuzione, quindi serrare i bulloni della testata secondo le specifiche delle coppie di serraggio indicate nel manuale di manutenzione.
6. Far girare il motore a mano per due rivoluzioni complete.
7. Rimuovere le testate e misurare l’argilla nel punto in cui è più sottile.
NOTA
  • Lo spessore deve essere 2,03 mm (0,080 in) nel punto di minor spessore. Se questa misura non corrisponde allo spessore minimo, la profondità delle tacche delle valvole deve essere aumentata; tuttavia, la profondità delle tacche non deve essere superiore a 3,43 mm (0,135 in).
  • Poiché vengono utilizzate valvole di dimensioni non regolari, verificare la distanza radiale. Si consiglia una distanza radiale di 1,27 mm (0,050 in).
NOTA
L’altezza delle molle installate per queste testate è di 46,61 mm (1,835 in), pari ad una pressione della sede di 81,6 kg (180 lb).
  • La pressione della sede della valvola può essere aumentata inserendo gli spessori 18224-98 (0,38 mm [0,015 in]) o 18225-98 (0,76 mm [0,030 in]) sotto i collari inferiori della molla della valvola. La riduzione dell’altezza della molla di 0,38 mm (0,015 in) equivale ad un aumento della pressione della sede di 3,4 kg (7,5 lb). Inserire degli spessori sotto il collare inferiore della molla della valvola per raggiungere la pressione desiderata della sede ma mantenere una distanza minima all’attacco della spirale di 17,78 mm (0,70 in).
  • La pressione della sede può essere ridotta lavorando a macchina la superficie delle testate nell’area intorno al collare inferiore della molla della valvola. L’aumento dell’altezza della molla di 0,38 mm (0,015 in) equivale a una riduzione della pressione della sede di 3,4 kg (7,5 lb). Ottenere la pressione desiderata della sede lavorando a macchina le cavità delle molle nelle testate ma mantenere una distanza minima dall’attacco della spirale di 17,78 mm (0,70 in).
In caso di funzionamento costante ad elevati giri/min, verificare che l’altezza delle quattro molle delle valvole corrisponda a quelle installate.
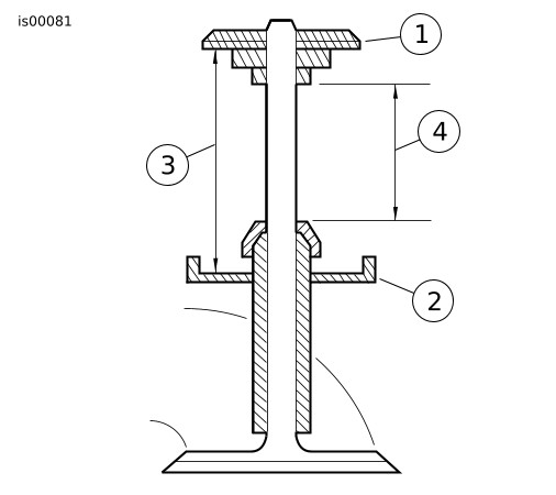
1Collare superiore
2Collare inferiore
3Altezza della molla installata 46,61 mm (1,835 in)/pressione della molla 81,6 kg (180 lb)
4La corsa disponibile deve essere di almeno 2,03 mm (0,080 in) superiore all’elevazione massima della valvola.
Figura 1. Corsa della molla della valvola
8. Cambiare l’altezza (pressione della sede) delle molle delle valvole installate come indicato di seguito:
a. Comprimere le molle delle valvole, e rimuovere i fermi dei collari, i collari superiori, le molle, le guarnizioni di tenuta delle valvole e i collari inferiori dalle quattro valvole.
b. Vedere Figura 1. Usare degli spessori o lavorare a macchina le testate come necessario per ottenere la pressione desiderata della sede (vedere le note qui sopra). Installare i collari inferiori della molla della valvola, le molle dalla valvola (non installare guarnizioni di tenuta per ora), i collari superiori e le chiavi dei collari. Verificare l’altezza della molla installata.
c. Se le altezze non corrispondono, ripetere i punti 8a e 8b qui sopra come necessario per raggiungere l’altezza desiderata, senza installare le guarnizioni di tenuta delle valvole.
d. Quanto tutte le altezze delle molle corrispondono, rimuovere i fermi dei collari delle valvole, i collari superiori, le molle ed i collari inferiori. Installare usando delle nuove guarnizioni di tenuta delle valvole (18046-98) acquistate separatamente. Montare i gruppi delle testate.
e. A causa del diametro maggiore delle molle del kit, possono verificarsi leggere interferenze tra la molla e la scatola dei bilancieri. Se viene rilevata un’interferenza, la distanza dei bulloni della scatola dei bilancieri può consentire di guadagnare lo spazio sufficiente. In caso contrario, può essere necessario rimuovere una piccola quantità di materiale dalla scatola dei bilancieri.
NOTA
Il tappo del dispositivo di scarico automatico della compressione può essere rimosso per l’installazione di un kit del dispositivo di scarico automatico della compressione Screamin’ Eagle (28861-07A).
Se si preferisce lo scarico meccanico, è disponibile un kit del dispositivo di scarico della compressione SE (32076-04). Lo scarico meccanico della compressione può essere adattato utilizzando il dispositivo per lo scarico meccanico della compressione SE (94638-08).
INSTALLAZIONE
Installazione dei componenti del motore
  1. Installare le testate sul motore. Vedere la relativa sezione MOTORE nel manuale di manutenzione.
  2. Installare l’impianto di scarico. Vedere INSTALLAZIONE DELL’IMPIANTO DI SCARICO nel manuale di manutenzione.
  3. Installare il filtro dell’aria. Vedere INSTALLAZIONE DEL FILTRO DELL’ARIA nel manuale di manutenzione.
Montaggio finale
1. Installare il serbatoio del combustibile seguendo le istruzioni nel relativo manuale di manutenzione.
2. Installare il fusibile principale. Vedere il manuale di manutenzione per il proprio modello di motocicletta.
3. Installare la sella seguendo le istruzioni nel manuale di manutenzione.
AVVERTENZA
Dopo aver installato la sella, tirarla verso l’alto per verificare che sia bloccata in posizione. Quando si viaggia in motocicletta, una sella allentata può scivolare, facendo perdere il controllo del mezzo, con pericolo di lesioni gravi o mortali. (00070b)
AVVISO
Installando questo kit occorre ricalibrare l’ECM. Omettendo di ricalibrare correttamente l’ECM, si possono causare gravi danni al motore. (00399b)
4. Scaricare la nuova calibrazione dell’ECM usando il kit di messa a punto EFI Race Tuner. Vedere il catalogo Screamin’ Eagle Pro o rivolgersi a un concessionario Harley-Davidson.
5. Avviare e far funzionare il motore. Ripetere diverse volte per verificare che funzioni correttamente.
Funzionamento
Per istruzioni relative al rodaggio della motocicletta, vedere le REGOLE PER IL RODAGGIO nel manuale d’uso.
PARTI DI RICAMBIO
Figura 2. Parti di ricambio: Kit testata SE Pro Twin Cam 110+
Tabella 1. Parti di ricambio: Kit testata SE Pro Twin Cam 110+
Kit
Elemento
Descrizione (quantità)
Numero codice
Kit 17071-08A
Nera
1a
Gruppo testata anteriore (comprende gli elementi da 2 a 11)
17067-08A
1b
Gruppo testata posteriore (comprende gli elementi da 2 a 11)
17069-08A
Kit 17072-08A
Argentata
1a
Gruppo testata anteriore (comprende gli elementi da 2 a 11)
17068-08A
1b
Gruppo testata posteriore (comprende gli elementi da 2 a 11)
17070-08A
2
  • Testata (lavorata a macchina ed installata con gli elementi B, C, D ed E)
Parte non venduta separatamente
3
  • Collare superiore della molla della valvola (4)
Vedere i kit parti di ricambio
4
  • Collare inferiore della molla della valvola (4)
Vedere i kit parti di ricambio
5
  • Prigioniero della luce di scarico (4)
16715-83
6
  • Valvola di aspirazione (2)
18190-08
7
  • Valvola di scarico (2)
18183-03
8
  • Guarnizione di tenuta della valvola (4)
18046-98
9
  • Molla della valvola (4)
Vedere i kit parti di ricambio
10
  • Fermo del collare della valvola (8). Anche compreso nel kit 18281-02A
18240-98
11
  • Tappo del dispositivo di scarico automatico della compressione (2)
16648-08
Kit di parti di ricambio:
A
Kit molla della valvola, Screamin’ Eagle
18281-02A
Le seguenti parti Screamin’ Eagle sono disponibili separatamente:
B
Sede della valvola, aspirazione
18191-08
C
Sede della valvola, scarico
18048-98A
D
Guidavalvole, aspirazione (per la manutenzione)
  • +0,076 mm (+0,003 in)
18158-05
  • +0.051 mm (+0,002 in)
18156-05
  • +0,025 mm (+0,001 in)
18154-05
E
Guidavalvole, scarico (per la manutenzione)
  • +0,076 mm (+0,003 in)
18157-05
  • +0.051 mm (+0,002 in)
18155-05
  • +0,025 mm (+0,001 in)
18153-05