ערכות שלט רחוק לפתיחת דלת החניה
J056882019-05-01
כללי
מספרי ערכה
91558-01b (ערכת משדר/מקלט), 91561-01b (ערכת משדר), 91562-01 (ערכת מקלט)
דגמים
למידע אודות התאמה לדגם, עיין בסעיף P & A בקטלוג הקמעונאי או בפרק על חלקים ואביזרים של www.harley-davidson.com (אנגלית בלבד).
הערה
דגמי Touring משנת 2014 ואילך בעלי פנסים קדמיים עם הלוגן כפול דורשים שימוש במשדר בעל שלושה חוטים מערכות אלה . לא ניתן להשתמש במשדר המוקדם יותר בעל ארבעת החוטים מערכות משדר/מקלט 91558-01 וכן 91558-01A או בערכת משדר 91561-01 עם פנסים אלה.
איור 1. זיהוי פנס ראשי בעל שתי נורות הלוגן
דרישות התקנה
בדגמי Softail מהשנים 2011-2017, דגמי Dyna משנת 2012 ואילך, ודגמי Sportster משנת 2014 ואילך יש צורך לרכוש בנפרד רתמת חיבור חשמלית (מס‘ חלק 72673-11).
בדגמי Softail משנת 2018 ואילך יש צורך לרכוש בנפרד רתמת חיבור חשמלית (מס‘ חלק 69201599A).
דגמי Touring מ2014-2016 חייבים רכישה נפרדת של רתמת חיבור חשמלית (חלק מס‘ 69200722).
בדגמי Touring משנת 2017 ואילך יש צורך לרכוש בנפרד רתמת חיבור חשמלית (מס‘ חלק 69201599A).
דגמי Street משנת 2014 ואילך דורשים רכישה נפרדת של תושבת שקע ששה כיוונים של Deutsch (חלק מס' 72136-94GY), מנעול משני (חלק מס' 72156-94), שני מסופי שקע (חלק מס' 72191-94) וארבעה פינים אוטמים (חלק מס' 72195-94).
בעת החלפת משדר הציוד המקורי (OE) ברכב CVO , נדרשת רכישה נפרדת של שלושה מסופי חשמל (חלק מס' 74191-98), ופין אוטם אחד (חלק מס' 74195-98).
Electrical Contact Lube (חומר סיכה למגעים חשמליים, חלק מס' 99861-02) או שווה ערך נדרש לאחר ניתוק כבלי הסוללה. ניתן לקבל פריט זה בסוכנויות Harley-Davidson.
אזהרה
הבטיחות של הרוכב והנוסע תלויה בהתקנה נכונה של הערכה הזאת. השתמש בהליכי הטיפול המתאימים שבמדריך. אם אינך מסוגל לבצע את הנוהל או אם אין לך הכלים הנכונים, בצע את ההתקנה בסוכנות Harley-Davidson. התקנה לא נאותה של הערכה הזאת עלולה לגרום למוות או פגיעה חמורה. (00333b)
הערה
גיליון הוראות זה מתייחס למידע במדריך השירות. מדריך שירות לאופנועים משנה/דגם זה נדרש להתקנה זו. ניתן לקבל מדריך זה בסוכנויות Harley-Davidson.
עומס יתר חשמלי
התראה
ניתן להעמיס יתר על המידה את מערכת הטעינה של הרכב על ידי הוספת יותר מדי אביזרי חשמל. אם כלל הציוד החשמלי הפועל בעת ובעונה אחת צורך יותר חשמל מכפי שהמערכת יכולה להפיק, צריכת החשמל עלולה לגרום להתרוקנות המצבר ולגרום נזק למערכת החשמל של הרכב. (00211d)
אזהרה
בעת התקנת אביזר חשמלי כלשהו, הקפד שלא לחרוג מעבר לדירוג המרבי של עוצמת הזרם המרבית של הנתיך או מפסק המעגל המגן על המעגל שבו מבוצע השינוי. חריגה מעבר לעוצמת הזרם המרבית עלולה לגרום לתקלות חשמליות, וכתוצאה מכך לגרום למוות או פציעה חמורה. (00310a)
משדר השלט הרחוק בערכות 91558-01b וכן 91561-01b דורש זרם של עד 0.5 אמפר יותר מהמערכת החשמלית.
תכולת הערכה
הודעות ה-FCC
הערה
שינויים או התאמות ליחידה זו שלא אושרו באופן מפורש על ידי היצרן עלולים לבטל את סמכות המשתמש להפעיל את הציוד.
ציוד זה נבדק ונמצא עומד במגבלות להתקנים דיגיטליים Class B, לפי סעיף 15, סעיף משנה B של תקנות ה-FCC. מגבלות אלה נועדו לספק הגנה סבירה מפני הפרעות מזיקות בסביבת מגורים. ציוד זה יוצר אנרגיית תדר רדיו, משתמש בה ועלול להקרין אותה, ואם אין מתקינים אותו ומשתמשים בו בהתאם להוראות השימוש, הוא עלול לגרום להפרעות בתקשורת רדיו. עם זאת, אין ערובה לכך שהפרעה לא תתרחש בהתקנה כלשהי.
אם ציוד זה גורם להפרעות מזיקות לקליטה של שידורי רדיו או טלוויזיה, הניתנות לגילוי על-ידי הפעלת הציוד לסירוגין, מומלץ למשתמש לנסות לתקן את ההפרעה בעזרת אחד או יותר מהאמצעים הבאים:
  • כוונן מחדש או מקם מחדש את האנטנה.
  • הגדל את המרחק בין הציוד למקלט.
  • חבר את הציוד לשקע במעגל שונה מזה שאליו מחובר המקלט.
  • התייעץ עם הסוכן או עם טכנאי רדיו/טלוויזיה מנוסה לקבלת עזרה.
התקנת מקלט
ערכות 91558-01b ו-91562-01 בלבד
1. נתק את כבל החשמל מיחידת ההנעה של דלת החניה כדי למנוע את הפעלת הדלת במהלך ההתקנה.
2. בחר שקע חשמל 110V ללא מתג הנמצא במקום הגבוה ביותר בחניה, או הקרוב ביותר לחזית החניה, או שניהם. חבר את מקלט השלט רחוק של פותח דלת החניה של Harley-Davidson (14) לשקע הזה.
3.
הערה
במערכות מסוימות של פותח דלת חניה, מקלט Harley-Davidson חייב להיות מחובר לשקע המרוחק מהמקלט של הפותח המקורי. אם הוא מחובר קרוב מדי למקלט המקורי, הטווח אפקטיבי של שני המשדרים עלול להיות מופחת לרמה שאינה משביעת רצון.
מצא את שני מסופי מתג ההפעלה של דלת החניה באחד מהמיקומים הבאים:
a. הכפתור של פותח הדלת הקיים המותקן על קיר החניה ומחובר בעזרת חוטים.
b. יחידת ההנעה של דלת החניה המחוברת אל הכפתור הפותח.
4. ראה איור 34. חבר את הקצה החשוף של מכלול הכבל של המקלט של פותח דלת המוסך של Harley-Davidson להדקים של פותח הדלת המפעילים את יחידת ההנעה של מנגנון פתיחת הדלת. עיין במסמכי היצרן של פותח הדלת לגבי מיקומי ההדקים והחיבורים.
5.
הערה
אל תסיר את החוטים המחוברים באופן מקורי אל הכפתור של פותח הדלת או למסופי יחידת ההנעה.
לאחר ההרכבה, התקן את כפתור פותח הדלת או את יחידת ההנעה של פותח הדלת במיקום המקורי.
6. נתב את מכלול כבל המקלט של פותח דלת החניה Harley-Davidson שחיברת בשלב 4 אל שקע החשמל שבחרת בשלב 2.
7. ראה איור 2 . חבר את המחבר על מכלול כבלי המקלט של פותח דלת החניה Harley-Davidson אל גב המקלט של פותח דלת חניה* במיקום המוצג.
8. חבר את המקלט של פותח דלת החניה* לשקע החשמל שנבחר. חבר את כבל אספקת החשמל מיחידת ההנעה של דלת החניה לשקע החשמל.
9. לחץ על כפתור הפתיחה של דלת החניה המותקן בקיר כדי לבדוק את פעולת הכפתור.
איור 2. מקלט של פותח דלת חניה*, מבט מאחור
הכנה
כללי
כל רכב ידרוש ניקוי או ריקון של מערכת הדלק, ניתוק הכבל של הקוטב השלילי של הסוללה, ובחלק מהמקרים יש להסיר או להרים את מיכל הדלק. חובה להשתמש במדריך הטיפולים המתאים יחד עם ערכה זו.
מערכת דלק
אזהרה
כדי למנוע נתזי דלק, נקז אוויר ממערכת הדלק בלחץ גבוה לפני ניתוק צינור ההספקה. בנזין הוא חומר דליק ונפיץ מאוד, העלול לגרום למוות או פגיעה חמורה. (00275a)
אזהרה
בנזין עלול לנזול מצינור הדלק למאייד כאשר מנתקים אותו ממתאם שסתום הדלק. בנזין הוא חומר דליק ונפיץ מאוד, העלול לגרום למוות או פגיעה חמורה. נגב דלק שנשפך מיד והשלך את המטליות בצורה מתאימה. (00256a)
אזהרה
בעת הטיפול במערכת הדלק, אסור לעשן או לאפשר הימצאות להבה פתוחה או ניצוצות בסביבה. בנזין הוא חומר דליק ונפיץ מאוד, העלול לגרום למוות או פגיעה חמורה. (00330a)
1. עבור דגמי EFI מלבד V-Rod‏:
a. נקה ונתק את צינור אספקת הדלק. עיין במדריך הטיפולים.
2. דגמים עם קרבורטור:
a. העבר את שסתום אספקת הדלק למצב OFF. הסר את צינור הדלק מהשסתום.
3. דגמי Dyna, Softail ו-Sportster:
a. יש להסיר את מיכל הדלק להרימו מעט כדי לגשת לרתמת החיווט. עיין בסעיף הנכון (מנוע עם קרבורטור או EFI) של מדריך הטיפולים לקבלת הוראות להסרת מיכל הדלק.
הערה
אם יש להסיר מיכל דלק עם קונסולת מכשירים, מלא אחר הוראות מדריך הטיפולים כדי להסיר את קונסולת המכשירים ממיכל הדלק לפני הסרתו.
מערכת חשמל
אזהרה
כדי למנוע התנעה בשוגג של הרכב העלולה לגרום למוות או פציעה חמורה, הסר את הנתיך הראשי לפני שתמשיך. (00251b)
אזהרה
כדי למנוע התנעה בשוגג של הרכב העלולה לגרום למוות או פציעה חמורה, נתק את הכבל השלילי (-) של המצבר לפני שתמשיך. (00048a)
הערה
עבור דגמי Sportster ® משנת 2004 ואילך, הכי קל לנתק את הכבל של הקוטב השלילי של הסוללה בגל הארכובה של המנוע.
עם סירנת אבטחה
1. עבור דגמים משנת 2007 ואילך המצוידים בסירנת אבטחה:
a. כאשר מכשיר האבטחה FOB נמצא, סובב את מתג ההצתה למצב ON.
b. לאחר נטרול המערכת, כבה מתג הצתה.
c. הסר מיד את הנתיך הראשי. עיין במדריך הטיפולים.
2. עבור דגמים משנת 2006 וקודם לכן המצוידים בסירנת אבטחה:
a. נטרל את הסירנה עם מחזיק מפתחות או קוד אבטחה.
b. הסר את הנתיך הראשי או את כבל הקוטב השלילי של הסוללה. עיין במדריך הטיפולים.
c. העבר את מתג ההצתה למצב OFF (הדממה).
ללא סירנת אבטחה
1. דגמים עם נתיך ראשי:
a. הסר את הנתיך הראשי. עיין במדריך הטיפולים.
2. דגמים בעלי מפסק ראשי:
a. הסר את המושב ושמור את כל אביזרי ההרכבה של המושב. עיין במדריך הטיפולים.
b. נתק את כבל המצבר השלילי. עיין במדריך הטיפולים.
c. העבר את מתג ההצתה למצב OFF (הדממה).
כל הרכבים בעלי נתיך ראשי
1. כל הדגמים מלבד VRSC: הסר את המושב ושמור את אביזרי ההרכבה של המושב. הסר את הנתיך הראשי. עיין במדריך הטיפולים.
2. דגמי VRSC: הסר את המכסה שבצד הימני. הסר את הנתיך הראשי. עיין במדריך הטיפולים.
כל הרכבים בעלי מפסק ראשי
1. הסר את המושב ושמור את אביזרי ההרכבה של המושב. נתק את הכבל של הקוטב השלילי (שחור) של הסוללה. עיין במדריך הטיפולים.
2. כל הדגמים: לכבות את המנוע אלא אם כבר כיבית אותו.
התקנת המשדר
טבלה 1. עיון מהיר להתקנת המשדר
דגם
חבר את המשדר אל:
נתב את החוטים:
Dyna (כולם)
חווט את הרתמה מתחת למושב ליד המצבר עם אזיקונים ( איור 3 ).
קדימה לאורך הצד הימני של השלדה.
Softail
(1999-earlier)
חבר את תיק המשדר ואת החלק הקצר של הצינור אל
חוטי האופנוע מתחת למושב עם אזיקונים ( איור 4 ).
לעבר הפנס הראשי.
Softail (2000-2017)
מלבד Deuce )
חווט את הרתמה בין שלדת הרכב, המזלג האחורי והצמיג האחורי
עם אזיקונים ( איור 5 ) ו- איור 6 .
אל תא הסוללה,
ואז לאורך הצד הימני של השלדה.
Softail (שנת 2018 ואילך)
רתמת החוטים הראשית מתחת לכיסוי הצד הימני עם אזיקונים. ( איור 9 )
עקוב אחרי הרתמה הראשית למעלה מתחת לצד הקדמי של המושב.
Softail Deuce
(2000-later)
הנח רפידת ספוג מתחת למושב מתחת למודול ה-ECM/הצתה
( איור 7 ).
קדימה לאורך הצד הימני של השלדה.
Sportster
(1994-2003)
רתמת חוט ראשי מתחת למושב, רחוק ככל האפשר ממיכל הדלק,
עם אזיקונים ( איור 8 ).
קדימה אל הפנס הראשי.
Sportster
(2004-later)
חווט את הרתמה ליד תפס הנתיך הראשי, מאחורי מכסה החשמל הצדדי. מקם את הצד של המעגל המודפס הרחק מהסוללה. חבר בעזרת אזיקונים.
קדימה אל הפנס הראשי.
רחוב:
מתחת למושב ליד ECM, עם נייר דבק עם ספוג.
קדימה אל הפנס הראשי.
FLHR Touring/
FLRT Trike (כולם)
הצד הימני של השלדה ליד צינור המזלג, בתוך בית הפנס,
עם רפידת ספוג (ראשית יש להסיר את הפנס הראשי) איור 10 .
Touring/Trike
(FLHT/X, FLTR,
2013-וקודם לכן)
בחלק הפנימי העליון של המעטפת, עם רפידת ספוג (הסר קודם את המעטפת החיצונית)
Touring/Trike
(FLHT/X, FLTR,
2014-ואילך)
  • FLHT/X ללא מגבר המורכב על המעטפת: הצד השמאלי של תושבת התמיכה העליונה, עם רפידת ספוג ( איור 13 , מבט מלמעלה).
  • FLHT/X ללא מגבר המורכב על המעטפת: התפס לצד הקדמי של תושבת ההרכבה של המגבר ( איור 13 , מבט מלמטה).
  • FLTR עם או בלי מגבר המורכב על המעטפת: משטח שטוח בין צד ימין של הרדיו לבין תיבת הרמקול הימני, עם רפידת ספוג ( איור 14 ).
V-Rod (2002-2003)
תיק חוטי האופנוע מתחת לכיסוי התחתון השמאלי, בעזרת אזיקונים
V-Rod (2004 ואילך)
מתחת לרתמות תיבת הנתיכים מתחת לתיבת האוויר, בעזרת אזיקונים
ראה מידע התקנה מפורט יותר עבור דגם מסוים בקטעים שאחרי טבלה זו.
ערכות 91558-01B וכן 91561-01B בלבד
הערה
  • דגמי Touring משנת 2014 ואילך בעלי פנסים קדמיים עם הלוגן כפול דורשים שימוש במשדר בעל שלושה חוטים מערכות אלה . לא ניתן להשתמש במשדרים מוקדמים יותר בעלי ארבעה חוטים מערכות משדר/מקלט 91558-01 וכן 91558-01A או מערכת משדר 91561-01 עם פנסי הלוגן כפול קדמיים ( איור 1 ).
  • הטווח האפקטיבי של המשדר עשוי להשתנות בין דגמי אופנועים. עבור טווח דלת החניה הטוב ביותר, מקם את המשדר על האופנוע רחוק ככל האפשר ממשטחי מתכת גדולים.
  • עבור הביצועים הטובים ביותר של פותח דלת החניה, יש לשים את המשדר והחוטים רחוק ככל האפשר ממקורות חום של הרכב
  • אל תסתיר את התצוגה של המעגלים שעל המשדר בעת חיבור רפידת הספוג שגבה דביק אל המשדר או בעת הרכבת המשדר לרכב. נורית לד אדומה בצד של המעגלים חייבת להישאר גלויה לשם תכנות המקלט-משדר. לשם ההדבקה הטובה ביותר, השתמש באיזופרופיל אלכוהול כדי לנקות את המשטחים עליהם תודבק רפידת הספוג.
1. ראה איור 34. הסר את נייר המגן מהגב הדביק של אחד הצדדים של רפידת הספוג (3). מקם את הרפידה על כיסוי הפלסטיק של המשדר (1). לחץ בחוזקה למקום.
2. מצא את ההוראות עבור הדגם הספציפי בחלקים הבאים.
דגמי Dyna
1. הסר את בורגי ההרכבה של מיכל הדלק. עיין בסעיף הנכון (מנוע עם קרבורטור או EFI) של מדריך הטיפולים.
2. ראה איור 3 . השתמש באזיקונים כדי להדק את המשדר לרתמת החוט Dyna (3), הממוקמת מתחת למושב, ליד תא הסוללה. נתב את חוטי המשדר קדימה לאורך הצד הימני של השלדה.
3. המשך אל החלק שנקרא חיבור הרתמה .
1חוט כתום/לבן
2חיבור הארקה
3חבר את המשדר לרתמת החוט
איור 3. הרכבת המשדר (Dyna)
דגמי Softail משנת 1999 וקודם לכן
1. הסר את בורגי ההרכבה של מיכל הדלק. עיין בסעיף הנכון (מנוע עם קרבורטור או EFI) של מדריך הטיפולים.
2. ראה איור 4 . הסר את בורג ההארקה (1) שעל-גבי חלקה העליון של השלדה, מתחת למושב ליד מיכל הדלק.
3. ראה איור 34. השתמש באזיקונים (8) כדי לחבר רק את מארז המשדר ואת החלק הקצר של הצינור לחוטי האופנוע המובילים קדימה לכיוון הפנס הראשי.
4. המשך אל החלק שנקרא חיבור הרתמה .
1חיבור הארקה
2משדר פותח דלת החניה
3חוט כתום/לבן
איור 4. הרכבת המשדר (דגמי Softail משנת 1999 וקודם לכן)
דגמי Softail מהשנים 2000-2017 מלבד Deuce (FXSTD)
1. הסר את בורגי ההרכבה של מיכל הדלק. עיין בסעיף הנכון (מנוע עם קרבורטור או EFI) של מדריך הטיפולים.
2. הסר את מגן הבוץ האחורי (הפגוש הפנימי) לפי ההוראות במדריך הטיפולים.
3. ראה איור 5 . השתמש באזיקונים כדי לחבר את המשדר (3) לרתמת החוט הנמצאת בין השלדה, המזלג אחורי (2), והצמיג האחורי (1).
4. ראה איור 6. נתב את חוטי המשדר (2) במעלה תא הסוללה (4) ולאורך הצד הימני של השלדה.
5. המשך אל החלק שנקרא חיבור הרתמה .
1גלגל וצמיג אחוריים
2מזלג אחורי
3משדר
איור 5. הרכבת המשדר, דגמי Softail מהשנים 2000-2017 מלבד Deuce (FLSTC מוצג)
1חיבור הארקה
2חוטי המשדר אל פנס ראשי
3חוט כתום/לבן
4תא סוללה (הפניה)
איור 6. חיבורי חשמל והארקה, דגמי Softail מהשנים 2000-2017 ואילך (FLSTC מוצג)
Softail Deuce (FXSTD)
1. הסר את בורגי ההרכבה של מיכל הדלק. עיין בסעיף הנכון (מנוע עם קרבורטור או EFI) של מדריך הטיפולים.
2. הסר את נייר המגן מהגב הדביק של רפידת הספוג שעל המשדר.
3. ראה איור 7 . הרכב את המשדר אל המשטח שמתחת למודול ההצתה/ECM. נתב את חוטי המשדר קדימה לאורך הצד הימני של השלדה.
4. המשך אל החלק שנקרא חיבור הרתמה .
1חיבור הארקה
2חוט כתום/לבן
3משדר
4מודול ההצתה/ECM
איור 7. הרכבת המשדר, Deuce
1מיקום הרכבת המשדר
2חוטים אל הפנס הראשי
3מודול הצתה
איור 8. הרכבת המשדר וניתוב החוט (דגמי Sportster משנת 2003 וקודם לכן)
Softail משנת 2018 ואילך
1. הסר את המכסה שבצד הימני.
2. איור 9 במשדר: חתוך את החוט הכתום/לבן (2) לאותו האורך כמו החוט השחור (3). הסר את החוט הכתום/לבן החתוך מהמעטפת.
3. התקן את המשדר בעזרת אזיקונים.
a. הנח את המשדר (6) מול הרתמה הראשית, כשהוא ניצב בתנוחה כמעט אופקית. החוטים שיוצאים מהבית צריכים להיות למעלה, כשהם מנותבים פנימה לכיוון חלקי האופנוע.
b. התקן אזיקון (5) בתוך החריץ הקדמי של בית המשדר.
c. ערוך התאמות סופיות של תנוחת המשדר.
d. הדק את האזיקון (5).
4. תחוב את חוטי המשדר (4) מאחורי חוטי הרתמה הראשית. עקוב אחר חוטי הרתמה הראשית מסביב למודול ה-ABS/HCU ומתחת לחלק הקדמי של המושב.
5. המשך אל החלק של חיבור הרתמה.
1חוט לבן דרך המסגרת אל הפנס הקדמי
2חוט כתום/לבן
3חוט שחור
4חוטי המשדר
5רצועת הכבל
6משדר
איור 9. הרכבת המשדר וניתוב החוטים (דגמי Softail משנת 2018 ואילך)
דגמי Sportster 1994-2003
1. הסר את מיכל הדלק. עיין בסעיף הנכון (מנוע עם קרבורטור או EFI) של מדריך הטיפולים.
2. ראה איור 8 . מקם את המשדר (1) על רתמת החוט הראשי באזור מתחת למושב, רחוק ככל האפשר ממיכל השמן. חבר את המשדר לרתמה באמצעות אזיקונים מהערכה.
3. המשך אל החלק שנקרא חיבור הרתמה .
דגמי Sportster משנת 2004 ואילך
1. הסר את מיכל הדלק. עיין בסעיף הנכון (מנוע עם קרבורטור או EFI) של מדריך הטיפולים.
2. הסר את מכסה החשמל הצדדי, בצד שמאל ליד הסוללה.
3. ראה איור 34. מקם את המשדר (1) מאחורי מכסה החשמל הצדדי. כוון את המשדר כך שהצד של המעגל המודפס יפנה הרחק מהסוללה. חבר את המשדר לרתמת החוט שליד תפס הנתיך הראשי בעזרת אזיקונים (8).
4. המשך אל החלק שנקרא חיבור הרתמה .
דגמי Street
1. עיין במדריך הטיפולים. הסר את מיכל הדלק.
2. הסר את המכסה שבצד הימני.
3. הסר את נייר המגן מהגב הדביק של רפידת הספוג שעל המשדר.
4. מקם את המשדר (1) מתחת למושב, ליד ה-ECM. ודא שאגן המושב לא נוגע במשדר.
5. המשך אל החלק שנקרא חיבור הרתמה .
דגמי FLHR Touring/FLRT Trike
1. הסר את הפנס הראשי מבית הפנס על פי ההוראות שבמדריך הטיפולים.
2. הסר את נייר המגן מהגב הדביק של רפידת הספוג שעל המשדר.
3. ראה איור 10 . הרכב את המשדר לצד ימין של המסגרת ליד צינור המזלג.
4. המשך אל החלק שנקרא חיבור הרתמה .
איור 10. הרכבת המשדר ליד צינור מזלג (דגמי FLHR משנת 2013 וקודם לכן)
דגמי FLHT, FLHX וכן FLTR Touring משנת 2013 וקודם לכן, או דגמי Trike
1. הסר את המעטפת החיצונית לפי ההוראות במדריך הטיפולים.
2. הסר את נייר המגן מהגב הדביק של רפידת הספוג שעל המשדר.
3. ראה איור 11. (דגמי FLHT, FLHX) או איור 12 . (דגמי FLTR). הרכב את המשדר אל החלק הפנימי העליון של המעטפת.
4. המשך אל החלק שנקרא חיבור הרתמה .
1הרכב את המשדר אל המעטפת
2מחבר פנס ראשי
3חוט כתום/לבן
4חוט שחור
5חוט לבן
איור 11. חוטים עבור חיבורי המשדר (דגמי FLHT/X משנת 2013 וקודם לכן)
1הרכב את המשדר אל המעטפת
2מחבר פנס ראשי
3חוט כתום/לבן
4חוט שחור
5חוט לבן
איור 12. חוטים עבור חיבורי המשדר (דגמי FLTR משנת 2013 וקודם לכן)
דגמי Touring FLHT וכן FLHX או Trike מהשנים 2014-2016
הערה
  • נדרשת רכישה נפרדת של רתמת חיבור חשמלית (חלק מס‘ 69200722), אלא אם כן הוא כבר מורכב.
  • ניתן לשזור עד שלושה אביזרים יכולים לרתמת החיבור החשמלי.
  • ניתן לזהות מחברים חשמליים במדריך הטיפולים על ידי המספר והאות המוצגים פה בסוגריים מרובעים.
1. הסר את המעטפת החיצונית לפי ההוראות במדריך הטיפולים.
2. ראה איור 13 . דגמים ללא מגבר המורכב על המעטפת:
a. הסר את נייר המגן מהגב הדביק של רפידת הספוג שעל המשדר.
b. הרכב את המשדר (1) בצד שמאל של תושבת התמיכה העליונה.
c. המשך אל החלק שנקרא חיבור הרתמה .
3. דגמים עם מגבר המורכב על המעטפת:
a. הכנס את המשדר (1) לתוך הקליפ (3) בחזית תושבת ההרכבה של המגבר.
b. המשך אל החלק שנקרא חיבור הרתמה .
1משדר
2תושבת תמיכה עליונה
3תפס
איור 13. הרכבת המשדר (דגמי Touring FLHT וכן FLHX מהשנים 2014- 2016 או דגמי Trike)
דגמי Touring FLTR מהשנים 2014-2016
הערה
  • נדרשת רכישה נפרדת של רתמת חיבור חשמלית (חלק מס‘ 69200722), אלא אם כן הוא כבר מורכב.
  • ניתן לשזור עד שלושה אביזרים יכולים לרתמת החיבור החשמלי.
  • ניתן לזהות מחברים חשמליים במדריך הטיפולים על ידי המספר והאות המוצגים פה בסוגריים מרובעים.
1. הסר את המעטפת החיצונית לפי ההוראות במדריך הטיפולים.
2. ראה איור 14 . הסר את נייר המגן מהגב הדביק של רפידת הספוג שעל המשדר.
3. הרכב את המשדר על המשטח השטוח בין הצד הימני של הרדיו לבין תיבת הרמקול הימני.
4. המשך אל החלק שנקרא חיבור הרתמה .
איור 14. הרכבת המשדר (דגמי Touring FLTR מהשנים 2015-2016)
דגמי Touring FLHT וכן FLHX או Trike מהשנים 2017 ואילך
הערה
  • נדרשת רכישה נפרדת של רתמת חיבור חשמלית (חלק מס‘ 69201599), אלא אם כן היא כבר מורכבת.
  • ניתן לשזור עד שלושה אביזרים יכולים לרתמת החיבור החשמלי.
  • ניתן לזהות מחברים חשמליים במדריך הטיפולים על ידי המספר והאות המוצגים פה בסוגריים מרובעים.
1. הסר את המעטפת החיצונית לפי ההוראות במדריך הטיפולים.
2. See Figure 15. . דגמים ללא מגבר המורכב על המעטפת:
a. הסר את נייר המגן מהגב הדביק של רפידת הספוג שעל המשדר.
b. הרכב את המשדר (1) בצד שמאל של תושבת התמיכה העליונה.
c. המשך אל החלק שנקרא חיבור הרתמה .
3. דגמים עם מגבר המורכב על המעטפת:
a. הכנס את המשדר (1) לתוך הקליפ (3) בחזית תושבת ההרכבה של המגבר.
b. המשך אל החלק שנקרא חיבור הרתמה .
1משדר
2תושבת תמיכה עליונה
3תפס
איור 15. הרכבת המשדר (דגמי Touring FLHT וכן FLHX מהשנים 2017 ואילך או דגמי Trike)
דגמי Touring FLTR משנת 2017 ואילך
הערה
  • נדרשת רכישה נפרדת של רתמת חיבור חשמלית (חלק מס‘ 69201599), אלא אם כן היא כבר מורכבת.
  • ניתן לשזור עד שלושה אביזרים יכולים לרתמת החיבור החשמלי.
  • ניתן לזהות מחברים חשמליים במדריך הטיפולים על ידי המספר והאות המוצגים פה בסוגריים מרובעים.
1. הסר את המעטפת החיצונית לפי ההוראות במדריך הטיפולים.
2. איור 16 . הסר את נייר המגן מהגב הדביק של רפידת הספוג שעל המשדר.
3. הרכב את המשדר על המשטח השטוח בין הצד הימני של הרדיו לבין תיבת הרמקול הימני.
4. המשך אל החלק שנקרא חיבור הרתמה .
איור 16. הרכבת המשדר (דגמי Touring FLTR מהשנים 2017 ואילך)
דגמי V-Rod מהשנים 2002-2003
1. ראה איור 17 . הסר את הבורג (3) המחבר את מכסה הרפפות הקדמי השמאלי (1) אל האופנוע. הרם את מכסה הרפפות מעל ללשוניות (2) כדי להסיר את המכסה.
2. ראה איור 18 . השתמש באזיקונים כדי לחבר את המשדר (1) אל כיסוי חוטי האופנוע (2) כפי שמוצג.
3. המשך אל החלק שנקרא חיבור הרתמה .
1מכסה רפפות
2לשונית (2)
3בורג
איור 17. מכסה רפפות צד שמאל (מוצג V-ROD מהשנים 2002-2003)
1משדר
2קשור את כבל המשדר אל כיסוי החוטים
3מחבר עם חוטים שחורים (הארקה) וכתומים
איור 18. הרכבת המשדר (V-ROD מהשנים 2002-2003 בלבד)
דגמי V-ROD משנת 2004 ואילך
1. ראה איור 17 . הסר את הבורג (3) המחבר את מכסה הרפפות הקדמי השמאלי (1) אל האופנוע. הרם את מכסה הרפפות מעל ללשוניות (2) כדי להסיר את המכסה.
2. ראה איור 19 . הסר את מכסה תיבת האוויר. סובב את המשדר (1) כך שצד המעגל החשוף פונה כלפי מעלה. דחוף בעדינות את המשדר מתחת לרתמות חוטי תיבת הנתיכים. השתנש בשני אזיקונים מהערכה דרך אוגני המשדר כדי לאבטח את המשדר אל רתמות תיבת הנתיכים.
3. המשך אל החלק שנקרא חיבור הרתמה .
1משדר
2רתמת חוט תיבת הנתיכים (2)
איור 19. הרכבת המשדר (דגמי V-Rod משנת 2004 ואילך)
חיבור הרתמה
הערה
  • דגמי Touring משנת 2014 ואילך בעלי פנסים קדמיים עם הלוגן כפול דורשים שימוש במשדר בעל שלושה חוטים מערכות אלה . לא ניתן להשתמש במשדרים מוקדמים יותר בעלי ארבעה חוטים מערכות משדר/מקלט 91558-01 וכן 91558-01A או מערכת משדר 91561-01 עם פנסי הלוגן כפול קדמיים ( איור 1 ).
  • אם במשדר החדש שהותקן יש גם חוט לבן וחוט צהוב (משדר ארבעה חוטים) , שזור את החוטים האלה אל חוטי הפנס הראשי המתאימים (לבן אל לבן, צהוב אל צהוב).
אם המשדר החדש שמותקן כעת מחליף משדר ציוד מקורי ברכב CVO:
  • חלץ את שלושת החוטים והמסופים ממחבר ה-Deutsch ארבע כיוונים שעל המשדר הישן (חלק מס‘ 92600009) לפי ההוראות במדריך הטיפולים.
  • חתוך את החוטים שעל המשדר החדש לאורך זהה לזה של המשדר הישן.
  • התקן סופית (חלק מס' 74191-98, רכישה בנפרד) אל קצות כל חוט לפי ההוראות במדריך הטיפולים.
  • החדר את החוטים והסופיות למחבר ה-Deutsch ארבע כיוונים כפי שצוין ב- טבלה 2 .
טבלה 2. חיווט מחבר המשדר (דגמי CVO)
חלל
צבע חוט
1
כתום/לבן
2
פקק
3
לבן
4
שחור
טבלה 3. עיון מהיר לחיבור רתמת המשדר
דגם
חוט שחור (הארקה):
חוט כתום/לבן (חשמל):
חוט לבן (אות אור גבוה):
דגמי Dyna (משנת 2003 וקודם לכן)
סופית טבעתית אל חף הארקה.
שזור אל
החוט הכתום/לבן של הרכב.
שזור אל החוט הלבן של הפנס הראשי.
(2004-2011) Dyna
סופית טבעתית אל חף הארקה.
אל מתאם תיבת הנתיכים.
שזור אל החוט הלבן של הפנס הראשי.
דגמי Dyna (משנת 2012 ואילך)
אל החוט השחור של
רתמת חיבור החשמל 72673-11.
אל החוט האדום/צהוב של
רתמת
חיבור החשמל 72673-11.
שזור אל החוט הכחול/לבן של הרכב.
דגמי Softail (משנת 2003 וקודם לכן)
סופית טבעתית אל חף הארקה.
שזור אל
החוט הכתום/לבן של הרכב.
שזור אל החוט הלבן של הפנס הראשי.
Softail (2004-2010)
סופית טבעתית אל חף הארקה.
אל מתאם תיבת הנתיכים.
שזור אל החוט הלבן של הפנס הראשי.
Softail (2011-2017)
אל החוט השחור של
רתמת חיבור החשמל 72673-11.
אל החוט האדום/צהוב של
רתמת
חיבור החשמל 72673-11.
שזור עם החוט הלבן/הכחול של הפנס הראשי.
Softail (שנת 2018 ואילך)
לחוט השחור של רתמת החיבורים החשמליים 69201599.
לחוט הסגול/הכחול של רתמת החיבורים החשמליים 69201599.
שזור אל החוט הכחול/לבן של הרכב.
Sportster
(2013-earlier)
סופית טבעתית אל חף הארקה.
שזור אל
החוט הכתום/לבן של הרכב.
שזור אל החוט הלבן של הפנס הראשי.
Sportster
(2014-later)
אל החוט השחור של
רתמת חיבור החשמל 72673-11.
אל החוט האדום/צהוב של
רתמת
חיבור החשמל 72673-11.
שזור אל החוט הלבן של הפנס הראשי.
דגמי Street (משנת 2014 ואילך)
אל חלל 2 של תושבת שקע חיבור הנתונים [92B].
אל חלל 5 של
תושבת שקע חיבור הנתונים [92B].
שזור אל החוט הכחול/לבן של הרכב.
Touring/Trike
(2013-earlier)
סופית טבעתית אל חף הארקה.
שזור אל החוט הכתום/לבן של פנס חניה HDI
מהמחבר שאינו בשימוש [29B].
שזור אל החוט הלבן של הפנס הראשי.
Touring/Trike
(2014-2016)
אל החוט השחור של
רתמת חיבור החשמל 69200722.
אל החוט הסגול/כחול של
רתמת
חיבור החשמל 69200722.
שזור אל החוט הכחול/לבן של הרכב.
Touring/Trike
(2017-later)
אל החוט השחור של
רתמת חיבור החשמל 69201599.
אל החוט הסגול/כחול של
רתמת
רתמה 69201599A.
שזור אל החוט הכחול/לבן של הרכב.
דגמי V-Rod (משנת 2004 וקודם לכן)
סופית טבעתית אל חף הארקה.
שזור אל החוט הכתום/לבן של פנס חניה HDI
מהמחבר שאינו בשימוש [29A].
שזור אל החוט הלבן של הפנס הראשי.
דגמי V-Rod (משנת 2005 ואילך)
סופית טבעתית אל חף הארקה.
שזור אל החוט הכתום/לבן של הפנס הראשי
במחבר [38A].
שזור אל החוט הלבן של הפנס הראשי.
ראה מידע חיבור מפורט יותר עבור דגם מסוים בקטעים שאחרי טבלה זו.
כללי
יש צורך בשזירה של קצות החוטים המחברים בעת התקנת פותח דלת החניה ברכב. מצא את ההוראות עבור דגם ספציפי בסעיפים הבאים: עיין בנספח של מדריך הטיפולים כדי לראות את הנוהל לשחבור (שזירת) חוטים בצורה נכונה.
אזהרה
הקפד למלא אחר הוראות היצרן בעת השימוש ב-UltraTorch UT-100 או בכל מכשיר מקרין חום אחר. אי ציות להוראות היצרן עלול לגרום לשריפה, וכתוצאה מכך לגרום למוות או פגיעה חמורה. (00335a)
  • הימנע מהטיית חום כלפי כל רכיב של מערכת הדלק. חום קיצוני עלול לגרום להצתה/פיצוץ דלק וכתוצאה מכך למוות או לפציעה חמורה.
  • הימנע מהטיית חום כלפי כל רכיב של מערכת החשמל מלבד לעבר המחברים בהם מתבצעת עבודת כיווץ שרוול בחום.
  • שמור תמיד על הידיים הרחק מקצה הכלי ומהשרוול המתכווץ בחום.
עבור דגמי Dyna משנת 2012 ואילך המשך לסעיף הבא.
עבור דגמי Softail משנת 2011 ואילך המשך לסעיף הבא.
עבור דגמי Sportster משנת 2014 ואילך המשך לסעיף הבא.
עבור דגמי Street משנת 2014 ואילך המשך אל הסעיף ההוא .
עבור דגמי Touring ו-Trike : המשך אל הסעיף הנכון עבור השנה/דגם הספציפיים.
כל הדגמים האחרים: המשך אל חיבור הקצה המחבר השחור עבור הדגם הספציפי.
דגמי Dyna משנת 2012 ואילך, Softail מהשנים 2011-2017 ו-Sportster משנת 2014 ואילך
הערה
נדרשת רכישה נפרדת של רתמת חיבור חשמלית (חלק מס. 72673-11).
ניתן לזהות מחברים חשמליים במדריך הטיפולים על ידי המספר והאות המוצגים פה בסוגריים מרובעים.
1. אתר את מחבר הטכנאי הדיגיטלי [91A] (אפור פין Deutsch ששה-כיוונים עם נעל גומי) מתחת למושב. הצב את רתמת חיבורי החשמל במחבר [91A], אך אל תחבר עכשיו.
2. נתב את חוטי פותח דלת החניה מעל רתמת חיבורי החשמל. הסר את החוט הכתום/לבן מהצינור. חתוך את החוטים הכתום/לבן והשחור לאורך מתאים כדי להגיע בקלות למחברי השזירה האטומים ברתמת החיבור החשמלי.‏ לא לחתוך את החוט הלבן.
3. שזור את החוט השחור של פותח דלת החניה עם החוטים השחורים שברתמת חיבור החשמל.
4. שזור את החוט הכתום/לבן של פותח דלת החניה עם החוטים האדום/צהוב שברתמת חיבור החשמל.
5. השתמש באקדח חום או התקן מקרין-חום מתאים כדי לכווץ את מחבר לחוטים.
6. השתמש באקדח חום או במכשיר חימום כדי לאטום את הקצה הפתוח של מחבר השזירה האטום על החוטים אדום/כחול חוטים ברתמת החיבור החשמלי.‏
7. משוך את נעל הגומי ממחבר פין DIGITAL TECHNICIAN אפור [91A]. חתוך את הנעל מהחוטים.
8. חבר את תושבת השקע של רתמת חיבור חשמל למחבר [91A].
9. הכנס את נעל הגומי לתוך מחבר הפין הפתוח של רתמת חיבור החשמל.
10. שחרר או הסר את ארבעת הברגים המחזקים את ה-ECM למסגרת ההרכבה. נתב את רתמת חיבור החשמל תחת מחבר ECM. הדק את ארבעת הברגים.
מומנט סיבוב: 5.1–6.2 N·m (45–55 in-lbs) בורג שקע משושה
11. המשך אל הסעיף חיבור הקצה המחבר הלבן עבור הדגם הספציפי.
דגמי Softail משנת 2018 ואילך
1. הסר את תקע החשמל המשני 325B (Molex MX150, 3 פינים) מכיסוי האבק בצד השמאלי של האופנוע.
a. הסר את כיסוי האבק מלוח ההרכבה של המחבר. הרם את התפס מאחורי כיסוי האבק כדי להחליק אותו קדימה ולהסירו.
2. הצמד את המחבר הזכר Molex עם 3 הפינים מהרתמה 69201599A למחבר 325B. לאחר מכן, החלק את המחבר הזכר חזרה אל לוח ההרכבה של המחבר ונעל אותו במקומו.
3. השאר את שני כיסויי אבק האחרים של המחבר במקומם על הרתמה 69201599A.
4. נתב את הרתמה קדימה ונתב את המחברים חזרה לכיוון הלוח. הנח אותם במקום שבו הם לא יפריעו לחלקים אחרים.
5. נתב את 3 החוטים ללא מחבר לכיוון החלק האחורי של מיכל הדלק.
6. רתמת המשדר:
a. החזק את החוט הלבן (1) בקצה של החיבור כך שהוא לא יימשך מתוך המעטפת (4) עם החוט הכתום/הלבן.
b. משוך את החוט הכתום/הלבן (1) מתוך המעטפת (4) במקום שנמצא הפתח (3).
7. נתב את החוט הלבן וקטע ארוך של המעטפת במעלה לוח השדרה של המסגרת אל שקע הרתמה בחלק הקדמי של האופנוע.
8. מצא את החוט הכחול/הלבן ממחבר 38B של הפנס הקדמי ושזור אותו עם החוט הלבן מהמשדר. יש לשזור במרחק מתאים מהמחבר 38B.
9. שזור את החוט השחור מרתמת המשדר עם החוט השחור ברתמה 69201599.
10. שזור את החוט הכתום/הלבן מרתמת המשדר עם החוט הסגול/הכחול ברתמה 69201599.
11. אבטח את הרתמות שהתקנת בעזרת אזיקונים.
12. הרכב את החלקים שלא היו מורכבים מקודם.
1חוט לבן וחוט כתום/לבן
2חוט שחור
3פתח במעטפת
4מעטפת
5משדר
איור 20.
דגמי Street משנת 2014 ואילך
1.
הערה
דורשים רכישה נפרדת של תושבת שקע ששה כיוונים של Deutsch (חלק מס' 72136-94GY), מנעול משני (חלק מס' 72156-94), שני מסופי שקע (חלק מס' 72191-94) וארבעה פינים אוטמים (חלק מס' 72195-94).
הסר רק את החוט הכתום/לבן מצינור המשדר. אל תסיר את החוט הלבן מהצינור.
2. נתב את החוט הלבן לעבר קדמת הרכב. אם למשדר החדש שהותקן יש גם חוט לבן וגם חוט צהוב (משדר ארבעה חוטים) , נתב את החוט צהוב קדימה לצד החוט הלבן.
3. אתר את החוט הכחול/לבן ליד מחבר הפנס ראשי בעל ארבעת הכיוונים [38].
4. ראה איור 34. קח מחבר שזור אטום כחול (5) מהערכה. שזור את החוט הלבן של המשדר לחוט הכחול/לבן של האור הגבוה של הפנס הראשי. אם למשדר יש גם חוט צהוב, שזור אותו לחוט הכחול/צהוב של האור הנמוך.
5. קח מחבר שזור אטום אדום (4) מהערכה. שזור את החוט השחור (13) מהערכה לחוט ההארקה השחור של המשדר.
6. נתב את החוט השחור ואת החוט כתום/לבן אל מחבר קישור הנתונים בעל ששת הכיוונים [91] תחת מכסה צד ימין. חתוך את החוטים לאורך הרצוי.
7. עיין בנספח מדריך הטיפולים. סיים את שני קצוות החוט עם סופיות שקע (חלק מס' 72191-94, רכישה בנפרד).
8. החדר את החוט בעל הסופית השחורה לתוך חלל 2 של תושבת שקע ששה כיוונים של Deutsch (חלק מס' 72136-94GY, גם נרכשת בנפרד). הכנס את החוט בעל הסופית הכתום/לבן לתוך חלל 5. הכנס פינים אוטמים (חלק מס‘ 72195-94) לתוך ארבעת החללים הפתוחים. התקן את המנעול המשני (מס‘ חלק 72156-94).
9. חבר את תושבת שקע למחבר קישור הנתונים [91]. אבטח באזיקונים מהערכה.
דגמי FLHT, FLHX וכן FLTR Touring משנת 2013 וקודם לכן, או דגמי Trike
1. חתוך את חוטי המשדר הלבן והלבן/כתום בערך לאותו אורך כמו חוט ההארקה השחור של המשדר. חתוך מספיק כדי לאפשר חשיפה ושזירה של החוטים בקלות.
1חוט שחור (הארקה)
2חוט לבן
3חוט כתום/לבן
איור 21. חוטים עבור חיבורי המשדר (דגמי FLHR משנת 2013 וקודם לכן)
2.
a. דגמי FLHR Touring משנת 2013 וקודם לכן:איור 21 יש לחתוך את החוט השחור (1) והחוט הלבן (2) של הפנס הקדמי בתוך בית הפנס . צריך לנער קצת את החוטים כדי למנוע מהשזירות להיות יחד.
b. דגמי FLHT ו-FLHX Touring ו-Trike משנת 2013 וקודם לכן:איור 11 יש לחתוך את החוט השחור (4) והחוט הלבן (5) של הפנס הקדמי בתוך המעטפת . צריך לנער קצת את החוטים כדי למנוע מהשזירות להיות יחד.
c. דגמי FLTR Touring משנת 2013 וקודם לכן:איור 12 יש לחתוך את החוט השחור (4) והחוט הלבן (5) של הפנס הקדמי בתוך המעטפת . צריך לנער קצת את החוטים כדי למנוע מהשזירות להיות יחד.
d. כל דגמי Touring/Trike משנת 2013 וקודם לכן: החלק את צינור המתכת הארוג מהערכה (ראה איור 34 , פריט 9) מעל חוטי הפנס הראשי השחור והלבן.
3. ראה איור 22 . תצורת שזירה של „שניים לכדי אחד“. קח מחבר שזור אטום אדום (ראה איור 34 , פריט 4) מהערכה. שזור את החוט השחור של המשדר פותח דלת החניה אל החוטים השחורים מהפנס הראשי. קצר את כיסוי רתמת החוטים של המשדר כדי לסייע בשזירה.
הערה
ניתן לזהות מחברים חשמליים במדריך הטיפולים על ידי המספר והאות המוצגים פה בסוגריים מרובעים.
1שזירת "אחד לאחד"
2שזירת "שניים לאחד"
3שזירת "שלוש לאחד"
איור 22. תצורות שזירה
4. השתמש במחבר השזור האדום האטום הנותר כדי לשזור את חוט המשדר הכתום/לבן לחוט הכתום/לבן במחבר פנס החניה שאינו בשימוש [29B]:
a. עבור דגמי FLHR Touring משנת 2013 וקודם לכן, קושרים את החוט הכתום/לבן אל הרתמה הראשית בתוך בית הפנס.
b. כל דגמי Touring/Trike האחרים משנת 2013 וקודם לכן, קושרים את החוט הכתום/לבן לרתמת ההתחברות ליד הפנס הראשי.
5. ראה איור 34 . קח מחבר שזור אטום כחול (5) מהערכה. שזור את החוט הלבן של המשדר אל החוטים הלבנים של הפנס הראשי.
6. החלק את צינור המתכת מעל האזור השזור של שני חוטי הפנס הראשי.
7. המשך אל החלק תכנות המקלט והמשדר כדי לתכנת את בקרי פותח דלת החניה.
דגמי Touring משנת 2014-2016 או דגמי Trike
1. הסר את הכיסוי שבצד השמאלי. אתר מחבר [4A], מחבר פין Molex שמונה כיוונים אפור בתיבת החשמל.
2. אם מתקינים את רתמת חיבור החשמל: נתב את הרתמה לפי ההוראות בערכה ההיא , אבל אל תחבר למחבר [4A] עכשיו.
3. אם כבר מותקנת רתמת חיבור החשמל: נתק את הרתמה ממחבר [4A].
a. שזור את החוטים לקצוות הכיסוי האטומים של רתמת חיבור החשמל כנדרש. אם רתמת חיבור החשמל נשזרה בעת התקנת אביזר קודמת, חתוך והסר את השזירות הקיימות. אל תסיר את הכיסוי האטום מהחוט האדום. איור 22 לתצורות שזירה מרובות.
b. קצץ את הכיסוי של החוט השחור, חשוף אותו, הדק ואטום אל החוט השחור של רתמת החוטים מערכה זו , באמצעות החוט השחור הנוסף (10) מאריזת אבירי ההרכבה בתור הארכה.
c. קצץ את הכיסוי מעל החוט סגול/כחול, חשוף, הדק ואטום אל החוט הכתום/לבן של רתמת החוטים מערכה זו .
4. הסר את הכיסוי נגד מים מהמחבר [4A] וחבר את המחברים בעלי שמונת הכיוונים.
5. המשך אל הסעיף חיבור הקצה המחבר הלבן עבור הדגם הספציפי.
דגמי Touring או Trike משנת 2017 ואילך ודגמי Softail משנת 2018 ואילך
1. אתר מחבר [325B], מחבר פין Molex שלושה כיוונים אפור בתיבת החשמל.
a. Touring ו-Trike: הסר את כיסוי הצד הימני.
b. Softail: הסר את כיסוי הצד השמאלי.
2. אם מתקינים את רתמת חיבור החשמל: נתב את הרתמה לפי ההוראות בערכה ההיא , אבל אל תחבר למחבר [325B] עכשיו.
3. אם כבר מותקנת רתמת חיבור החשמל: נתק את הרתמה ממחבר [325B].
a. שזור את החוטים לקצוות הכיסוי האטומים של רתמת חיבור החשמל כנדרש. אם רתמת חיבור החשמל נשזרה בעת התקנת אביזר קודמת, חתוך והסר את השזירות הקיימות. אל תסיר את הכיסוי האטום מהחוט האדום. איור 22 לתצורות שזירה מרובות.
b. קצץ את הכיסוי של החוט השחור, חשוף אותו, הדק ואטום אל החוט השחור של רתמת החוטים מערכה זו , באמצעות החוט השחור הנוסף (10) מאריזת אבירי ההרכבה בתור הארכה.
c. קצץ את הכיסוי מעל החוט סגול/כחול, חשוף, הדק ואטום אל החוט הכתום/לבן של רתמת החוטים מערכה זו .
4. הסר את הכיסוי נגד מים מהמחבר [325B] וחבר את המחברים בעלי שלושת הכיוונים.
5. המשך אל הסעיף חיבור הקצה המחבר הלבן עבור הדגם הספציפי.
חיבור קצה החוט המחבר השחור אל ההארקה.
דגמי Dyna משנת 2011 ומוקדמים יותר
1. הסר את האום מיתד ההארקה, על חלקה העליון של השלדה, מתחת למושב ליד מיכל הדלק.
2. ראה איור 34. בחר את הסופית הטבעתית הנכונה (6 או 7) מתוך הערכה, כדי שתתאים ליתד ההארקה.
3. ראה איור 3 . חתוך את חוט ההארקה השחור (2) על רתמת החוט של פותח דלת החניה כדי להגיע בקלות למיקום ההארקה. הצמד בעזרת לחיצה את הסופית הטבעתית אל קצה החוט לפי ההוראות לכלי הלחיצה מתוצרת Packard המופיעות בנספח של מדריך הטיפולים.
4. הכנס את הסופית הטבעתית אל חיבור ההארקה. חזק לפי מפרט המומנט במדריך הטיפולים.
5. המשך אל הסעיף חיבור הקצה המחבר הכתום/הלבן עבור הדגם הספציפי.
דגמי Softail משנת 2010 ומוקדמים יותר
1. הסר את בורג ההארקה שעל-גבי השלדה, מתחת למושב ליד מיכל הדלק.
2. ראה איור 34. בחר את הסופית הטבעתית הנכונה (6 או 7) מהערכה כדי שתתאים לבורג ההארקה.
3. חתוך את החוט השחור על רתמת החוט של פותח דלת החניה כדי להגיע בקלות למיקום ההארקה. הצמד בעזרת לחיצה את הסופית הטבעתית אל קצה החוט לפי ההוראות לכלי הלחיצה מתוצרת Packard המופיעות בנספח של מדריך הטיפולים.
4. ראה איור 6. התקן את הסופית הטבעתית כך ש“תתלבש“ על התבריג של בורג ההארקה. הדק את בורג ההארקה אל השלדה. חזק לפי מפרט המומנט במדריך הטיפולים.
5. המשך אל הסעיף חיבור הקצה המחבר הכתום/הלבן עבור הדגם הספציפי.
דגמי Sportster משנת 2013 ומוקדמים יותר
1. הסר את מכסה החשמל הצדדי, בצד שמאל ליד הסוללה.
2. נתב רתמת החוט של פותח דלת החניה דרך החלק העליון של השלדה מתחת למושב. נתב אל המפסק הראשי בצד הפנימי של מכסה החשמל הצדדי.
3. ראה איור 25. הסר את בורג ההארקה (1), הממוקם:
a. מתחת למושב בחלק מהדגמים משנת 1996-2003
b. ליד המזלגות האחוריים בדגמים משנת 1995 או קודם לכן, ובדגמים משנת 1996-2003 ללא בורג מתחת למושב
c. על המנוע ליד המתנע בדגמי 2004 ואילך
4. ראה איור 34. בחר את הסופית הטבעתית הנכונה (6 או 7) מהערכה כדי שתתאים לבורג ההארקה.
5. חתוך את החוט השחור על רתמת החוט של פותח דלת החניה כדי להגיע בקלות למיקום ההארקה. הצמד בעזרת לחיצה את הסופית הטבעתית אל קצה החוט לפי ההוראות לכלי הלחיצה מתוצרת Packard המופיעות בנספח של מדריך הטיפולים.
6. התקן את הסופית הטבעתית כך ש“תתלבש“ על התבריג של בורג ההארקה. הדק את בורג ההארקה במיקום המקורי. חזק לפי מפרט המומנט במדריך הטיפולים.
7. המשך אל הסעיף חיבור הקצה המחבר הכתום/הלבן עבור הדגם הספציפי.
1בורגי הארקה (חוט שחור)
איור 23. חיבורי הארקה (דגמי Sportster)
דגמי V-Rod מהשנים 2002-2003
1. חתוך את חוט ההארקה השחור של המשדר כדי שיהיה קל להגיע אל אחד מבורגי ההארקה על מכסי ה-cam של המנוע. הסר את בורג ההארקה.
2. ראה איור 34. בחר בסופית הטבעתית בעלת הקוטר הקטן יותר (7) מהערכה. הדק בעזרת לחיצה את הסופית הטבעתית אל החוט השחור של המשדר לפי ההוראות לכלי הלחיצה מתוצרת Packard המופיעות בנספח של מדריך הטיפולים.
3. הדק את הסופית הטבעתית אל המנוע בעזרת בורג ההארקה. חזק לפי מפרט המומנט במדריך הטיפולים.
4. המשך אל הסעיף חיבור הקצה המחבר הכתום/הלבן עבור הדגם הספציפי.
דגמי V-ROD משנת 2004 ואילך
1. ראה איור 24. תצורת שזירה של „שניים לכדי אחד“. קח מחבר שזור אטום אדום (ראה איור 34 , פריט 4) מהערכה. שזור את החוט השחור (13) מהערכה לחוט ההארקה השחור של המשדר לפי הנספח של מדריך הטיפולים. החלק את הצינור (10) מהערכה על חוט ההארקה השזור.
2. נתב את חוט ההארקה ואת הצינור
a. לאורך שלדת האופנוע אל צד שמאל של תיבת האוויר
b. ליד הרתמה הראשית
c. למיקום תחת מכסה הרפפות בצד שמאל
3. חתוך את חוט ההארקה השחור של המשדר ואת הצינור כדי שיהיה קל להגיע אל אחד מיתדות ההארקה על קצוות כבל ההארקה של הסוללה.
4. בחר בסופית הטבעתית בעלת הקוטר הקטן יותר (7) מהערכה. הדק בעזרת לחיצה את הסופית הטבעתית אל החוט השחור של המשדר לפי ההוראות לכלי הלחיצה מתוצרת Packard המופיעות בנספח של מדריך הטיפולים.
5. הצמד את הסופית הטבעתית של החוט השחור להדק של הקוטב השלילי על-גבי המצבר. הדק את מהדק הקוטב.
מומנט סיבוב: 7–10 N·m (60–96 in-lbs) אום משושה
6. המשך אל הסעיף חיבור הקצה המחבר הכתום/הלבן עבור הדגם הספציפי.
חיבור הקצה המחבר הכתום/הלבן אל מקור כוח ממותג
השתמש בדיאגרמות החיווט שבמדריך הטיפולים עבור רכב מהדגם והשנה הספציפיים כדי לאתר מקור כוח המוזן דרך מתג ההצתה.
דגמי Dyna משנת 2003 ומוקדמים יותר
מקור הכוח הממותג של פותח דלת החניה הוא קצה חוט בצבע כתום/לבן לחיבור כוח של הרתמה הראשית מתחת למושב או בתוך מכסה הצד.
1. הסר את מכסה החשמל הצדדי, בצד שמאל ליד הסוללה.
2. ראה איור 3 . חתוך ופתח בזהירות קטע מעטיפת הרתמה הראשית מתחת למושב או בתוך מכסה הצד בנקודה נגישה. חתוך קצה חוט בצבע כתום/לבן לחיבור כוח שברתמה הראשית.
3. משוך רק את החוט הכתום/לבן מתוך חתיכת הצינור הארוכה יותר על רתמת החיווט של פותח דלת החניה. חתוך את האורך העודף מקצה החוט הכתום/לבן כך שיהיה קל להגיע אל החוטים הכתומים/לבנים החתוכים ברתמה הראשית של הרכב.
4. ראה איור 22 . תצורת שזירה של „שניים לכדי אחד“. קח מחבר שזור אטום אדום (ראה איור 34 , פריט 4) מהערכה. שזור את קצה החוט לחיבור כוח מרתמת החוטים של פותח דלת החניה עם החוטים הכתומים/לבנים מהרתמה הראשית, לפי הנספח שבמדריך הטיפולים.
5. המשך אל הסעיף חיבור הקצה המחבר הלבן עבור הדגם הספציפי.
דגמי Dyna משנת 2004-2011
מקור הכוח הממותג של פותח דלת החניה הוא מיקום של נתיך פתוח על-גבי לוח הנתיכים. עיין בסעיף „נתיכים“ במדריך הטיפולים, וראה את דיאגרמת החיווט הנכון בנספח של מדריך הטיפולים.
1. אתר את מכסה החשמל הצדדי בצד שמאל ליד הסוללה, תוך אחיזה איתנה בשני הצדדים, משוך החוצה כדי להסירו.
2. הסר את לוח החשמל מן הרכב לפי ההוראות במדריך הטיפולים.
3. ראה איור 34. קח את החוט המתאם של תיבת הנתיכים הכתום/לבן (12) מהערכה. שים לב לסופית בכל קצה ( איור 34 ). רק הסופית עם הלשוניות הקפיציות תתאים ותיכנס לתוך תיבת הנתיכים הזאת. חתוך בזהירות מהחוט את החלק מהסופית שלא נעשה בו שימוש, והשלך אותו.
4. ראה איור 25. אתר את חלל הנתיך המסומן ע“י המילה "OPEN" על מכסה תיבת הנתיכים, בתיבת הנתיכים הימנית. הכנס את המסוף לחוט המתאם הכתום/לבן עד לעצירתו. התבונן בסופית קרובה, שהותקנה במפעל, לצורך השוואה כדי לוודא את הכיוון והעומק הנכונים.
5. משוך רק את החוט הכתום/לבן מתוך חתיכת הצינור הארוכה יותר על רתמת החיווט של פותח דלת החניה. חתוך את האורך העודף מהחוט הכתום/לבן כך שניתן יהיה להגיע בקלות אל חוט המתאם.
6. ראה איור 24. תצורת השזירה של „אחד לתוך אחד“. קח מחבר שזור אטום כחול (ראה איור 34 , פריט 5) מהערכה. שזור את קצה החוט לחיבור כוח מרתמת החוטים של פותח דלת החניה עם חוט המתאם לפי הנספח שבמדריך הטיפולים.
7. ראה איור 34. התקן את נתיך 2 אמפר (11) מהערכה לתוך חלל הנתיך המסומן ב- „OPEN“ כדי להשלים את המעגל.
8. התקן את לוח החשמל לפי ההוראות במדריך הטיפולים. התקן את מכסה לוח החשמל על ידי יישור הפינים עם תותבי הגומי בלוח חשמל. דחוף בחוזקה למקום.
9. המשך אל הסעיף חיבור הקצה המחבר הלבן עבור הדגם הספציפי.
1חתוך מסוף זה מן החוט
2השאר מסוף זה על חוט
3לשוניות קפיציות (2)
איור 24. חוט מתאם לתיבת נתיכים (Dyna ו- Softail)
איור 25. חלל תיבת נתיכים „פתוח“ (דגמי Dyna משנת 2004 ואילך)
דגמי Softail משנת 2003 ומוקדמים יותר
מקור הכוח הממותג של דלת פותח החניה הוא החוט הכתום/לבן ברתמת הפנס האחורי שמתחת למושב.
1. ראה איור 3 . חתוך ופתח בזהירות קטע מהעטיפה של רתמת הפנס האחורי (1) בנקודה נגישה מתחת למושב. חתוך את החוט הכתום/לבן.
2. משוך רק את החוט הכתום/לבן מתוך חתיכת הצינור הארוכה יותר על רתמת החיווט של פותח דלת החניה. חתוך את האורך העודף מקצה החוט הכתום/לבן כך שיהיה קל להגיע אל החוטים הכתומים/לבנים החתוכים מתחת למושב.
3. ראה איור 3 . תצורת שזירה של „שניים לכדי אחד“. קח מחבר שזור אטום אדום (ראה איור 34 , פריט 4) מהערכה. שזור את קצה החוט לחיבור כוח מרתמת החוטים של פותח דלת החניה לחוטים הכתומים/לבנים החתוכים לפי הנספח שבמדריך הטיפולים.
4. המשך אל הסעיף חיבור הקצה המחבר הלבן עבור הדגם הספציפי.
דגמי 2004-2010 Softail
מקור הכוח הממותג של פותח דלת החניה הוא מיקום של נתיך פתוח על-גבי לוח הנתיכים. עיין בסעיף „נתיכים“ במדריך הטיפולים, וראה את דיאגרמת החיווט הנכון בנספח של מדריך הטיפולים.
1. הסר את מכסה לוח הנתיכים. הסר את שני הברגים בעלי ראש משושה, המהדקים את מסגרת תיבת הנתיכים. משוך את מכלול התושבת ותיבת הנתיכים הרחק ממסגרת הרכב.
2. לחץ על הלשונית המחזיקה את תיבת הנתיך השמאלית. החלק את התיבה מחוץ לחריצי ההרכבה.
3. ראה איור 34. קח את החוט המתאם של תיבת הנתיכים הכתום/לבן (12) מהערכה. שים לב לסופית בכל קצה (ראה איור 24 ). רק הסופית עם הלשוניות הקפיציות תתאים ותיכנס לתוך תיבת הנתיכים הזאת. חתוך בזהירות מהחוט את החלק מהסופית שלא נעשה בו שימוש והשלך אותו.
4. ראה איור 26. אתר את חלל הנתיך המסומן ע“י “P&A IGN" על כיסוי תיבת הנתיכים, בתיבת הנתיכים הימנית. הכנס את המסוף לחוט המתאם הכתום/לבן עד לעצירתו. התבונן בסופית קרובה, שהותקנה במפעל, לצורך השוואה כדי לוודא את הכיוון והעומק הנכונים.
5. משוך רק את החוט הכתום/לבן מתוך חתיכת הצינור הארוכה יותר על רתמת החיווט של פותח דלת החניה. חתוך את האורך העודף מהחוט הכתום/לבן כך שניתן יהיה להגיע בקלות אל חוט המתאם.
6. ראה איור 22 . תצורת השזירה של „אחד לתוך אחד“. קח מחבר שזור אטום כחול (ראה איור 34 , פריט 5) מהערכה. שזור את קצה החוט לחיבור כוח מרתמת החוטים של פותח דלת החניה עם חוט המתאם לפי הנספח שבמדריך הטיפולים.
7. ראה איור 34. התקן נתיך 2 אמפר (11) מהערכה לתוך חלל הנתיך “P&A IGN“ כדי להשלים את המעגל החשמלי.
8. החלק את תיבת הנתיכים לתוך חריצי ההרכבה שבתושבת תיבת הנתיכים עד שהיא נכנסת למקומה בחוזקה עם צליל של נקישה. התקן את התושבת ואת מכלול תיבת הנתיכים למקומן. חבר בעזרת שני בורגי הראש המשושה שהסרת קודם לכן. הדק היטב.
9. המשך אל הסעיף חיבור הקצה המחבר הלבן עבור הדגם הספציפי.
איור 26. חלל „P&A IGN“ בתיבת הנתיכים (Softail 2004-2010)
דגמי Sportster משנת 2013 ומוקדמים יותר
מקור הכוח הממותג של פותח דלת החניה הוא קצה חוט בצבע כתום/לבן לחיבור כוח של הרתמה הראשית בתוך כיסוי החשמל הצדדי או מתחת למושב.
הערה
בחלק מדגמי Sportster, יש להסיר את מודול ההצתה כדי לגשת אל החוט כתום/לבן ברתמה הראשית.
1. ראה איור 27. חתוך ופתח בזהירות קטע מעטיפת הרתמה הראשית בתוך מכסה החשמל הצדדי או מתחת למושב בנקודה נגישה. חתוך קצה חוט בצבע כתום/לבן לחיבור כוח שברתמה הראשית.
1כיסוי צד שמאל המכיל סופית כסף של המפסק (חוט אדום)
2רתמת חוטים מקורית/ רגילה (חוט כתום/לבן)
איור 27. חיבורי אספקת כוח (דגמי Sportster)
2. משוך רק את החוט הכתום/לבן מתוך חתיכת הצינור הארוכה יותר על רתמת החיווט של פותח דלת החניה. חתוך את האורך העודף מקצה החוט הכתום/לבן כך שיהיה קל להגיע אל החוטים הכתומים/לבנים החתוכים בתוך הכיסוי הצדדי או מתחת למושב.
3. ראה איור 22 , תצורת שזירה של „שניים לכדי אחד“. קח מחבר שזור אטום אדום (ראה איור 34 , פריט 4) מהערכה. שזור את קצה החוט לחיבור כוח מרתמת החוטים של פותח דלת החניה עם החוטים הכתומים/לבנים מהרתמה הראשית, לפי הנספח שבמדריך הטיפולים.
4. המשך אל הסעיף חיבורי הקצה המחבר הלבן עבור הדגם הספציפי.
דגמי V-Rod מהשנים 2002-2004
הערה
ניתן לזהות מחברים חשמליים במדריך הטיפולים על ידי המספר והאות המוצגים פה בסוגריים מרובעים.
1. ראה איור 28 או איור 29 . חתוך את החוט הכתום/לבן של רתמת הרכב הראשית ליד המחבר של פנס החניה שלא בשימוש [29A] (1).
2. משוך רק את החוט הכתום/לבן מתוך חתיכת הצינור הארוכה יותר על רתמת החיווט של פותח דלת החניה. חתוך את האורך העודף מקצה החוט הכתום/לבן כך שיהיה קל להגיע אל החוטים הכתומים/לבנים החתוכים במחבר [29A].
3. ראה איור 22 . תצורת שזירה של „שניים לכדי אחד“. קח מחבר שזור אטום אדום (ראה איור 34 , פריט 4) מהערכה. שזור את קצה החוט לחיבור כוח מרתמת החוטים של פותח דלת החניה עם החוטים הכתומים/לבנים מהרתמה הראשית, לפי הנספח שבמדריך הטיפולים.
4. המשך אל הסעיף חיבור הקצה המחבר הלבן עבור הדגם הספציפי
1מחבר [29A] עם חוט כתום/לבן
2חוט פנס ראשי לבן
איור 28. מיקומי שזירת החוטים (דגמי V-Rod משנת 2002-2003)
1מחבר [29A] עם חוט כתום/לבן
2רתמת פנס ראשי
איור 29. מיקומי שזירת החוטים (דגמי V-Rod משנת 2004)
דגמי V-Rod משנת 2005 ואילך
הערה
ניתן לזהות מחברים חשמליים במדריך הטיפולים על ידי המספר והאות המוצגים פה בסוגריים מרובעים.
1. ראה איור 30 . חתוך את החוט הכתום/לבן של רתמת הרכב הראשית ליד המחבר של פין הפנס הראשי [38A] (1).
2. משוך רק את החוט הכתום/לבן מתוך חתיכת הצינור הארוכה יותר על רתמת החיווט של פותח דלת החניה. חתוך את האורך העודף מקצה החוט הכתום/לבן כך שיהיה קל להגיע אל החוטים הכתומים/לבנים החתוכים במחבר [38A].
3. ראה איור 22 . תצורת שזירה של „שניים לכדי אחד“. קח מחבר שזור אטום אדום (ראה איור 34 , פריט 4) מהערכה. שזור את קצה החוט לחיבור כוח מרתמת החוטים של פותח דלת החניה עם החוטים הכתומים/לבנים מהרתמה הראשית, לפי הנספח שבמדריך הטיפולים.
4. המשך אל הסעיף חיבור הקצה המחבר הלבן עבור הדגם הספציפי.
1מחבר פנס ראשי [38]
איור 30. מיקומי שזירת החוטים (דגמי V-Rod משנת 2005 ואילך)
חיבורי קצה החוט הלבן אל הפנס הראשי
דגמי Dyna
1. ראה איור 31 . השתמש באזיקונים מהערכה כדי להדק את החוט הנותר של המשדר (לבן) והצינור אל חוטי הרכב המובילים לפנס הראשי. הרם את מיכל הדלק. דחוף את החוטים מתחת למיכל לעבר הפנס הראשי.
איור 31. ניתוב חוט המשדר אל פנס ראשי (Dyna)
2. נתב את החוטים לתוך תושבת הפנס הראשי דרך החבק בחלק האחורי התחתון של התושבת.
הערה
כדי לנתב את חוטי המשדר דרך החבק, דחוף פיסת חוט שמחובר אליה וו דרך החבק מתוך פנים תושבת הפנס הראשי.
יש להחיל ציפוי קל של סבון נוזלי, חומר לניקוי חלונות או חומר סיכה לכל מטרה כדי למשוך את החוטים דרך החבק בעזרת עם החוט בעל הוו.
במקרים מסוימים, חוטי המשדר אינם יכולים לעבור דרך החבק של תושבת הפנס הראשי. במקרה זה שזור את החוטים מחוץ לתושבת הפנס הראשי.
3. חתוך את החוט הלבן בתושבת הפנס הראשי במרחק של כמה וכמה סנטימטרים ממחבר הפנס הראשי. חתוך אורך עודף של החוט הלבן של המשדר במידת הצורך. חתוך מספיק כדי לאפשר חשיפה ושזירה של החוטים בקלות.
4. ראה איור 22 . תצורת השזירה של „אחד לתוך אחד“. קח מחבר שזור אטום כחול (ראה איור 34 , פריט 5) מהערכה. שזור את החוט הלבן של המשדר אל החוטים הלבנים של הפנס הראשי.
5. המשך אל החלק תכנות המקלט והמשדר כדי לתכנת את בקרי פותח דלת החניה.
דגמי Softail
1.
הערה
לדגמי Softail משנת 2018 ואילך נתב את החוט הלבן במעלה לוח השדרה של המסגרת, תוך שאתה מכניס אותו ליד הצד הקדמי של המושב ומוציא אותו דרך החבק בצד השמאלי של המסגרת ליד ראש ההיגוי.
השתמש באזיקונים מהערכה כדי להדק את החוט הנותר של המשדר (לבן) והצינור אל חוטי האופנוע המובילים לפנס הראשי. הסר את מיכל הדלק. דחוף את החוטים מתחת למיכל לעבר הפנס הראשי.
2.
הערה
עבור דגמי Softail משנת 2011 ואילך , חוט המעגל של הפנס הראשי ברתמת הרכב הוא בצבע כחול עם סימון לבן, ולא בצבע לבן בלבד כפי שמתואר בשלבים הבאים.
חתוך את החוט הלבן במעגל של הפנס הקדמי ברתמת האופנוע הראשית בנקודה נגישה קרוב לחזית האופנוע. חתוך אורך עודף של החוט הלבן של המשדר במידת הצורך. קצר את כיסוי רתמת החוטים של המשדר כדי לסייע בשזירה. חתוך מספיק כדי לאפשר חשיפה ושזירה של החוטים בקלות.
3. החלק את צינור המתכת הארוג (9) מהערכה מעל החוטים הלבנים של המשדר.
4. ראה איור 22 . תצורת השזירה של „אחד לתוך אחד“. קח מחבר שזור אטום כחול (ראה איור 34 , פריט 5) מהערכה. שזור את החוט הלבן של המשדר אל החוטים הלבנים של הפנס הראשי.
5. החלק את צינור המתכת הארוג מעל חיבור החוט הלבן לאחר השזירה.
6. המשך אל החלק תכנות המקלט והמשדר כדי לתכנת את בקרי פותח דלת החניה.
דגמי Sportster
1. נתב את חוט המשדר שנותר (לבן) ואת הצינור דרך החלק העליון של השלדה מתחת למיכל הדלק, ומעלה אל הפנס הראשי. השתמש באזיקונים מהערכה כדי לחבר את החוט לרתמה.
2. נתב את החוטים לתוך תושבת הפנס הראשי דרך החבק בחלק האחורי התחתון של התושבת.
הערה
כדי לנתב את חוטי המשדר דרך החבק, דחוף פיסת חוט שמחובר אליה וו דרך החבק מתוך פנים תושבת הפנס הראשי.
יש להחיל ציפוי קל של סבון נוזלי, חומר לניקוי חלונות או חומר סיכה לכל מטרה כדי למשוך את החוטים דרך החבק בעזרת עם החוט בעל הוו.
במקרים מסוימים, חוטי המשדר אינם יכולים לעבור דרך החבק של תושבת הפנס הראשי. במקרה זה שזור את החוטים מחוץ לתושבת הפנס הראשי. ראה איור 32 .
1חוט פנס ראשי לבן
2חתוך את כיסוי חוט הפנס הראשי כדי לגשת לחוט הלבן
איור 32. מיקום שזירה חיצונית אופציונלית של החוט הלבן (דגמי Sportster)
3. חתוך את החוט הלבן בתושבת הפנס הראשי במרחק של כמה וכמה סנטימטרים ממחבר הפנס הראשי. חתוך אורך עודף של החוט הלבן של המשדר במידת הצורך. חתוך מספיק כדי לאפשר חשיפה ושזירה של החוטים בקלות.
4. ראה איור 22 . תצורת השזירה של „אחד לתוך אחד“. קח מחבר שזור אטום כחול (ראה איור 34 , פריט 5) מהערכה. שזור את החוט הלבן של המשדר אל החוטים הלבנים של הפנס הראשי.
5. המשך אל החלק תכנות המקלט והמשדר כדי לתכנת את בקרי פותח דלת החניה.
דגמי Touring ו-Trike משנת 2014 ואילך
1. אתר את מחבר הפנס הראשי ([38B] או [38HB]) המכיל את החוט הכחול/לבן. חשוף מספיק מהצינור כדי לחתוך את החוט הכחול/לבן של מעגל הפנס הראשי ברתמת הרכב בנקודה נגישה במרחק של כמה וכמה סנטימטרים ממחבר הפנס הראשי. חתוך אורך עודף של החוט הלבן של המשדר במידת הצורך. קצר את כיסוי רתמת החוטים של המשדר כדי לסייע בשזירה. חתוך מספיק כדי לאפשר חשיפה ושזירה של החוטים בקלות.
2. ראה איור 34. החלק את צינור המתכת הארוג (9) מהערכה מעל החוט הלבן של המשדר.
3. ראה איור 22 . תצורת השזירה של „אחד לתוך אחד“. קח מחבר שזור אטום כחול (ראה איור 34 , פריט 5) מהערכה. שזור את החוט הלבן של המשדר אל החוטים הכחולים/לבנים של הפנס הראשי.
4. החלק את צינור המתכת הארוג מעל חיבורי החוט הלבן והלבן/כחול לאחר השזירה.
5. המשך אל החלק תכנות המקלט והמשדר כדי לתכנת את בקרי פותח דלת החניה.
דגמי V-Rod
1. חתוך את החוט הלבן במעגל הפנס הראשי של רתמת הרכב הראשית בנקודת נגישה במרחק של כמה וכמה סנטימטרים ממחבר הפנס הראשי. חתוך אורך עודף של החוט הלבן של המשדר במידת הצורך. קצר את כיסוי רתמת החוטים של המשדר כדי לסייע בשזירה. חתוך מספיק כדי לאפשר חשיפה ושזירה של החוטים בקלות.
2. ראה איור 34. החלק את צינור המתכת הארוג (9) מהערכה מעל החוטים הלבנים של המשדר.
3. ראה איור 22 . תצורת השזירה של „אחד לתוך אחד“. קח מחבר שזור אטום כחול (ראה איור 34 , פריט 5) מהערכה. שזור את החוט הלבן של המשדר אל החוטים הלבנים של הפנס הראשי.
4. החלק את צינור המתכת הארוג מעל חיבורי החוט הלבן לאחר השזירה.
5. התקן את מכסה הרפפות השמאלי הקדמי על האופנוע.
6. התקן את מכסה תיבת האוויר אם הסרת אותו קודם לכן.
7. המשך אל החלק תכנות המקלט והמשדר כדי לתכנת את בקרי פותח דלת החניה.
תכנות המקלט והמשדר
לאחר שהמקלט והמשדר הותקנו, תכנת את המקלט שיקבל את תדר המשדר. תהליך זה דורש שני אנשים, תלוי במרחק שבין המשדר למקלט במהלך תהליך התכנות.
הערה
ודא שמתג ההצתה במצב OFF (מנותק) לפני התקנת הנתיך הראשי או חיבור כבל הסוללה השלישי.
1. דגמים בעלי נתיך ראשי: עיין במדריך הטיפולים ופעל על-פי ההוראות כדי להתקין את הנתיך הראשי.
2. דגמים בעלי מפסק ראשי עיין במדריך הטיפולים ופעל על-פי ההוראות כדי לחבר את כבל המצבר השלילי. מרח שכבה קלה של וזלין או חומר מעכב קורוזיה על קטבי המצבר.
3. בדוק שנורית הלד האדומה מאירה בחזית של מקלט פותח דלת החניה של Harley-Davidson (בחניה), המציינת הזנת מתח למקלט.
4. ראה איור 33 . החזק את לחצן Set (1) לחוץ במקלט פותח דלת החניה של Harley-Davidson. נורית ה-LED (2) על המקלט מהבהבת באופן רציף בזמן הלחיצה על הלחצן Set.
1כפתור הגדרה (SET)
2LED
איור 33. מקלט של פותח דלת חניה*, מבט קדמי
5.
הערה
כאשר המקלט קולט אות מהמשדר , נורית הלד על ה(משדר?)(מקלט?) נכבית.
סובב את מתג ההצתה למצב ON (מופעל), אבל אל תתניע את הרכב. הפעל את מתג הפנס הראשי תוך שימוש באחד הרצפים הבאים.
a. כאשר הפנס הראשי מאיר באור נמוך, עבור לאור גבוה. עבור לנמוך.
b. כאשר הפנס הראשי מאיר באור גבוה, עבור לאור נמוך. עבור לגבוה.
6. הפסק ללחוץ על הלחצן SET במקלט.
7. ודא כי כל האורות והמתגים פועלים כראוי לפני הפעלת האופנוע.
8.
הערה
פנה את כל החסימות בין המשדר למקלט לפני בדיקות הפעולה של פותח דלת החניה.
כאשר מפעילים את המשדר באמצעות מעבר בין מצבי הפנס הראשי, נורית ה-LED האדומה במשדר מאירה לשנייה אחת כדי לציין שהמשדר פועל כהלכה.
בדוק את הפעולה של פותח דלת החניה, האור הגבוה והאור הנמוך של הפנס הראשי.
9. העבר את מתג ההצתה למצב OFF (הדממה).
10. עיין במדריך הטיפולים. התקן את המושב. לאחר התקנת המושב, משוך אותו כלפי מעלה כדי לוודא שהוא מאובטח.
11. התקן את כל החלקים שהוצאו לצורך התקנת המשדר.
פתרון תקלות
הוחלף מצב מתג הפנס הראשי אך פותח דלת החניה אינו פועל.
כאשר מערכת ההצתה למצב מחובר (ON):
  1. האם נורית ה-LED במשדר שברכב מהבהב כאשר מחליפים את מצב מתג הפנס הראשי?
  • כן. המשך אל שלב 2.
  • לא. המשך אל שלב 3.
  1. האם נורית ה-LED במקלט שמורכב בחניה מהבהב לאחר שידור האות מהרכב?
  • כן. המשך אל שלב 4.
  • לא. המשך אל איפוס המקלט .
  1. ודא חיבורים נאות חוטי אל חוטי החשמל של הרכב, אל חוט הפנס הראשי ואל ההארקה.
  2. עיין ב- התקנת מקלט ליד החזית של הוראות אלה.
    1. ודא שהמקלט מחווט כראוי ליחידת פותח דלת החניה הקיימת.
    2. ודא שהמקלט ממוקם במרחק רב מספיק מהמקלט של פותח דלת החניה* הקיים.
אפס את המקלט
1. נתק את המקלט משקע החשמל 110 וולט.
2. חכה 10 שניות.
3. לחץ לחיצה ממושכת על לחצן התכנות במקלט. תוך המשך לחיצה על הלחצן, חבר את המקלט לשקע החשמל. נורית ה-LED אדומה מהבהבת במהירות.
4. עזוב את לחצן התכנות. כעת המקלט מאופס, כל הזיכרון נמחק.
5. תכנת שוב את המקלט. עיין בסעיף תכנות המקלט והמשדר המופיע בשלב מוקדם יותר בהוראות אלה.
חלקי שירות
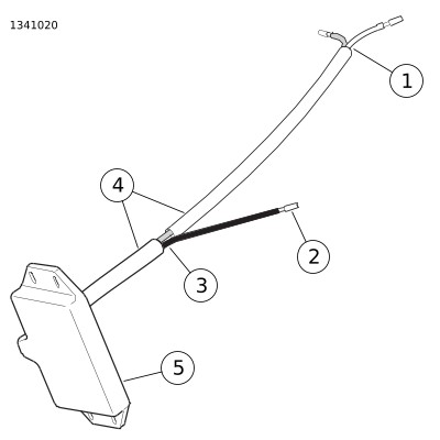
איור 34. חלקי שירות, ערכות שלט רחוק של פותח דלת חניה
טבלה 4. חלקי שירות, ערכת פותח דלת חניה 91558-01B
פריט
תיאור (כמות)
מספר חלק
1
הרכבת המשדר
לא נמכר בנפרד
2a
ערכת אביזרי חיבור (כוללת פריטים 3 עד 13)
91650-01A
3
רפידת ספוג, דביקה משני צדיה.
2.54 x 3.81 cm (1.0 x 1.5 in)
לא נמכר בנפרד
4
מחבר שזירה אטום, #18-20 AWG (אדום) (2)
70585-93
5
מחבר שזירה אטום, #14-16 AWG (כחול) (2)
70586-93
6
סופית טבעתית, AWG #18-22, עבור יתד בקוטר 5/16 אינץ‘
9859
7
סופית טבעתית, AWG #18-22, עבור יתד בקוטר 1/4 אינץ‘
9858
8
אזיקון, שחור.
20 cm (8 in) ארוך (8)
10006
9
צינור מתכת, פוליאסטר ארוג,
76 mm (3 in) ארוך
70599-02
10
צינור מתכת, #8 x
0.84 m (33 in) ארוך (דגמי V-Rod משנת 2004 ואילך/ דגמי Touring משנת 2014 ואילך)
לא נמכר בנפרד
11
נתיך, מסוג להב, 2 אמפר
54305-98
12
חוט מתאם לתיבת הנתיכים, כתום/לבן
70329-04
13
חוט, מבודד, שחורה, #20 AWG,
0.86 m (34 in) ארוך
לא נמכר בנפרד
14
הרכבת המקלט
91560-01
15
הרכבת כבל המקלט
לא נמכר בנפרד
טבלה 5. חלקי שירות, ערכת משדר 91561-01b
פריט
תיאור (כמות)
מספר חלק
1
הרכבת המשדר
לא נמכר בנפרד
2b
ערכת אביזרי חיבור (כוללת פריטים 3 עד 9)
91650-01
3
רפידת ספוג, דביקה משני צדיה.
2.54 x 3.81 cm (1.0 x 1.5 in)
לא נמכר בנפרד
4
מחבר שזירה אטום, #18-20 AWG (אדום) (2)
70585-93
5
מחבר שזירה אטום, #14-16 AWG (כחול) (2)
70586-93
6
סופית טבעתית, AWG #18-22, עבור יתד בקוטר 5/16 אינץ‘
9859
7
סופית טבעתית, AWG #18-22, עבור יתד בקוטר 1/4 אינץ‘
9858
8
אזיקון, שחור.
20 cm (8 in) ארוך (8)
10006
9
צינור מתכת, פוליאסטר ארוג,
76 mm (3 in) ארוך
70599-02
טבלה 6. חלקי שירות, ערכת מקלט 91562-01
פריט
תיאור (כמות)
מספר חלק
14
הרכבת המקלט
91560-01
15
הרכבת כבל המקלט
לא נמכר בנפרד