KIT PEMBUKA PINTU GARASI DENGAN KENDALI JARAK JAUH
J056882019-05-01
UMUM
Nomor Kit
91558-01B (Kit Pemancar/Penerima), 91561-01B (Kit Pemancar), 91562-01 (Kit Penerima)
Model
Untuk informasi kesesuaian model, baca katalog retail P&A atau bagian Komponen dan Aksesori di www.harley-davidson.com (hanya tersedia dalam Bahasa Inggris).
CATATAN
Model Touring 2014-Setelahnya dengan Lampu Depan Halogen Ganda memerlukan penggunaan pemancar tiga kabel dari kit ini . Pemancar empat kabel versi sebelum ini dari Kit Pemancar/Penerima 91558-01 dan 91558-01A atau Kit Pemancar 91561-01 tidak dapat digunakan dengan lampu depan ini.
Gambar 1. Identifikasi Lampu Depan Halogen Bohlam Ganda
Persyaratan Pemasangan
Model Softail 2011-2017, model Dyna 2012-setelahnya dan model Sportster 2014-setelahnya memerlukan pembelian terpisah untuk Harnes Sambungan Listrik (Komponen No. 72673-11).
Model Softail 2018-setelahnya memerlukan pembelian terpisah untuk Harnes Sambungan Listrik (Komponen No. 69201599A).
Model Touring 2014-2016 memerlukan Harnes Sambungan Listrik (No. Komponen 69200722) yang dapat dibeli secara terpisah.
Model Touring 2017-setelahnya memerlukan pembelian terpisah untuk Harnes Sambungan Listrik (Komponen No. 69201599A).
Model Street 2014-Setelahnya memerlukan pembelian terpisah rumah soket Deutsch enam arah (No. Komponen 72136-94GY), kunci sekunder (No. Komponen 72156-94), dua terminal soket (No. Komponen 72191-94), dan empat pin segel (No. Komponen 72195-94).
Ketika mengganti pemancar peralatan asli (OE) pada kendaraan CVO , diperlukan pembelian terpisah tiga terminal listrik (No. Komponen 74191-98) dan satu pin segel (No. Komponen 74195-98).
Pelumas Kontak Listrik (No. Komponen 99861-02) atau setara diperlukan setelah pemutusan sambungan kabel baterai. Produk ini tersedia di dealer Harley-Davidson.
PERINGATAN
Keselamatan pengendara dan penumpang bergantung pada pemasangan kit yang benar. Gunakan prosedur manual servis yang benar. Jika Anda tidak mampu menjalankan prosedur ini atau tidak memiliki alat yang tepat, mintalah dealer Harley-Davidson untuk melakukan pemasangan. Pemasangan yang salah terkait perangkat ini dapat menyebabkan kematian atau cedera parah. (00333b)
CATATAN
Lembar instruksi ini mengacu pada informasi manual servis. Manual servis kendaraan tahun/model ini dibutuhkan untuk pemasangan. Manual servis tersebut tersedia di dealer Harley-Davidson.
Kelebihan Muatan Kelistrikan
PEMBERITAHUAN
Menambahkan terlalu banyak aksesori listrik dapat membebani sistem pengisian daya kendaraan Anda. Jika gabungan aksesori elektrik yang beroperasi bersamaan menggunakan arus listrik yang lebih besar daripada yang dapat dihasilkan oleh sistem pengisian daya kendaraan, konsumsi listrik tersebut dapat menghabiskan daya baterai dan menyebabkan kerusakan pada sistem kelistrikan kendaraan. (00211d)
PERINGATAN
Saat memasang setiap aksesori kelistrikan, pastikan tidak melebihi nilai ampere maksimum pada sekring agar dapat melindungi sirkuit yang sedang diperbaiki. Jika menggunakan ampere maksimum di luar batas yang ditetapkan, kegagalan kelistrikan akan terjadi, yang dapat mengakibatkan kematian atau cedera parah. (00310a)
Pemancar Kendali Jarak Jauh dalam kit 91558-01B dan 91561-01B membutuhkan lebih banyak arus hingga 0,5 Amp dari sistem kelistrikan.
Isi Kit
PEMBERITAHUAN FCC
CATATAN
Perubahan atau modifikasi unit ini yang tidak secara tegas disetujui oleh produsen dapat membatalkan wewenang pengguna untuk mengoperasikan peralatan.
Peralatan ini telah diuji dan dinilai mematuhi batas-batas untuk perangkat digital Kelas B sesuai Bab 15, Sub-bab B dari Peraturan FCC. Batas-batas ini dirancang untuk memberikan perlindungan wajar dari interferensi yang merugikan di lingkungan permukiman. Peralatan ini menghasilkan, menggunakan, dan dapat memancarkan energi frekuensi radio, dan jika tidak dipasang dan digunakan sesuai petunjuknya, dapat menyebabkan interferensi yang merugikan terhadap komunikasi radio. Akan tetapi, tidak ada jaminan bahwa interferensi tidak akan terjadi dalam suatu pemasangan.
Jika peralatan ini menyebabkan interferensi yang merugikan terhadap penerimaan radio atau televisi, yang dapat dipastikan dengan mematikan atau menyalakan peralatan, pengguna diminta untuk mencoba membetulkan interferensi dengan satu atau lebih cara berikut:
  • Mengatur ulang orientasi atau memindahkan lokasi antena penerima.
  • Menambah jarak antara peralatan dan penerima.
  • Menyambungkan peralatan ke outlet pada sirkuit yang berbeda dari sirkuit yang tersambung dengan penerima.
  • Meminta bantuan dealer atau teknisi radio/TV berpengalaman.
PEMASANGAN PENERIMA
Kit 91558-01B dan 91562-01 saja
1. Cabut kabel daya dari unit drive pintu garasi untuk mencegah pengaktifan pintu selama pemasangan.
2. Pilih stopkontak 110V yang belum dinyalakan di garasi yang terletak di titik tertinggi di garasi, terdekat dengan bagian depan garasi, atau keduanya. Tancapkan penerima pembuka pintu garasi kendali jarak jauh Harley-Davidson (14) ke stopkontak ini.
3.
CATATAN
Dengan BEBERAPA sistem pembuka pintu garasi, penerima Harley-Davidson harus ditancapkan ke stopkontak yang jauh dari penerima pembuka awal. Jika ditancapkan terlalu dekat dengan penerima awal, jangkauan efektif kedua pemancar dapat berkurang hingga taraf tidak memuaskan.
Temukan dua terminal sakelar aktivasi pintu garasi pada salah satu lokasi berikut:
a. Tombol pembuka pintu terprogram yang terpasang di dinding yang sudah ada.
b. Unit penggerak pintu garasi yang tersambung ke tombol pembuka.
4. Lihat Gambar 34. Ikat bagian ujung yang sudah dibuka dari rakitan kabel penerima pembuka pintu garasi Harley-Davidson (15) ke terminal pembuka pintu yang mengaktifkan unit penggerak pembuka pintu. Untuk lokasi dan sambungan terminal, lihat dokumentasi pabrik pembuka pintu.
5.
CATATAN
Jangan lepaskan kabel yang semula tersambung ke tombol pembuka pintu atau terminal unit penggerak.
Setelah perakitan, pasang tombol pembuka pintu garasi atau unit penggerak pembuka pintu di lokasi semula.
6. Rutekan rakitan kabel penerima pembuka pintu garasi Harley-Davidson yang tersambung pada Langkah 4 ke stopkontak daya yang dipilih di Langkah 2.
7. Lihat Gambar 2 . Tancapkan konektor pada rakitan kabel penerima pembuka pintu garasi Harley-Davidson ke bagian belakang penerima pembuka pintu garasi Harley-Davidson di lokasi yang ditunjukkan.
8. Tancapkan penerima pembuka pintu garasi ke stopkontak daya yang dipilih. Tancapkan kabel daya dari unit penggerak pintu garasi ke stopkontak daya.
9. Tekan tombol pembuka pintu garasi yang terpasang di dinding untuk menguji pengoperasian tombol itu.
Gambar 2. Penerima Pembuka Pintu Garasi, Tampilan Belakang
PERSIAPAN
Umum
Setiap kendaraan akan membutuhkan pembersihan atau pengosongan sistem bahan bakar, pemutusan sambungan kabel negatif baterai, dan dalam beberapa kasus, pelepasan atau pengangkatan tangki bahan bakar. Penggunaan manual servis yang tepat pada kit harus dilakukan.
Sistem Bahan Bakar
PERINGATAN
Agar bahan bakar tidak menyemprot, sistem pembersihan uap bahan bakar tekanan tinggi di depan saluran pasokan dilepaskan. Bensin mudah terbakar dan mudah meledak, yang dapat menyebabkan kematian atau cedera parah. (00275a)
PERINGATAN
Bensin dapat terkuras dari saluran bahan bakar karburator ketika dilepas dari fiting katup bahan bakar. Bensin mudah terbakar dan mudah meledak, yang dapat menyebabkan kematian atau cedera parah. Segera seka tumpahan bahan bakar dan buang lap dengan cara yang benar. (00256a)
PERINGATAN
Saat menyervis sistem bahan bakar, jangan merokok atau membiarkan nyala api atau bunga api di dekat area servis. Bensin mudah terbakar dan mudah meledak, yang dapat menyebabkan kematian atau cedera parah. (00330a)
1. Model EFI KECUALI V-Rod:
a. Bersihkan dan putuskan sambungan saluran pasokan bahan bakar. Lihat manual servis.
2. Model dengan Karburator:
a. Matikan katup pasokan bahan bakar pada posisi OFF. Lepaskan saluran bahan bakar dari katup.
3. Model Dyna, Softail, dan Sportster:
a. Tangki bahan bakar harus dilepas atau sedikit diangkat untuk mengakses harnes kabel. Lihat bagian yang benar (Mesin Berkarburasi atau EFI) pada manual servis untuk instruksi pelepasan tangki bahan bakar.
CATATAN
Jika tangki bahan bakar dengan konsol instrumen harus dilepas, ikuti instruksi manual servis untuk melepaskan konsol instrumen dari tangki bahan bakar sebelum melepaskan tangki.
Sistem Kelistrikan
PERINGATAN
Untuk mencegah starter kendaraan tiba-tiba, yang dapat menyebabkan kematian atau cedera parah, lepas sekring utama sebelum melakukan pemasangan lampu depan. (00251b)
PERINGATAN
Untuk mencegah sepeda motor menyala tiba-tiba, yang dapat menyebabkan kematian atau cedera parah, lepaskan kabel baterai negatif (-) sebelum melakukan tindakan. (00048a)
CATATAN
Untuk model Sportster ® 2004-setelahnya, sambungan kabel baterai negatif mudah diputuskan pada kotak engkol mesin.
DENGAN Sirene Keamanan
1. Untuk kendaraan 2007-setelahnya yang dilengkapi sirene keamanan:
a. Dengan sistem keamanan fob aktif, putar sakelar pengapian ke posisi ON.
b. Setelah sistem dinonaktifkan, atur sakelar ignisi ke posisi OFF.
c. SEGERA lepas sekring utama. Lihat manual servis.
2. Untuk kendaraan 2006-sebelumnya yang dilengkapi sirene keamanan:
a. Matikan sirene dengan kunci fob atau kode keamanan.
b. Lepaskan sekring utama atau kabel baterai negatif. Lihat manual servis.
c. Putar sakelar ignisi ke posisi OFF.
TANPA Sirene Keamanan
1. Model dengan sekring utama:
a. Lepas sekring utama. Lihat manual servis.
2. Model dengan pemutus arus utama:
a. Lepas sadel dan simpan semua perangkat keras dudukan sadel. Lihat manual servis.
b. Lepas kabel negatif baterai. Lihat manual servis.
c. Putar sakelar ignisi ke posisi OFF.
Semua Kendaraan Dengan Sekring Utama
1. Semua model kecuali VRSC: Lepas sadel dan simpan perangkat keras dudukan sadel. Lepas sekring utama. Lihat manual servis.
2. Model VRSC: Lepas penutup samping kanan. Lepas sekring utama. Lihat manual servis.
Semua Kendaraan Dengan Pemutus Arus Utama
1. Lepaskan sadel dan simpan perangkat keras dudukan sadel. Putuskan sambungan kabel baterai negatif (hitam). Lihat manual servis.
2. SEMUA model: Matikan pengapian pada posisi OFF kecuali sudah dilakukan.
PEMASANGAN PEMANCAR
Tabel 1. Referensi Cepat Pemasangan Pemancar
Model
Ikat Pemancar Pada:
Rutekan Kabel:
Dyna (semua)
Kabel harnes di bawah sadel dekat baterai dengan pengikat kabel ( Gambar 3 ).
Teruskan ke depan di sepanjang sisi kanan rangka.
Softail
(1999-earlier)
Ikat kotak pemancar dan bagian pendek saluran pada
kabel kendaraan di bawah jok dengan pengikat kabel ( Gambar 4 ).
Ke arah lampu depan.
Softail (2000-2017
kecuali Deuce )
Harnes kabel antara rangka kendaraan, garpu belakang, dan ban belakang
dengan pengikat kabel ( Gambar 5 dan Gambar 6 ).
Ke kompartemen baterai,
lalu di sepanjang sisi kanan rangka.
Softail (2018-setelahnya)
Harnes kabel utama di bawah penutup sisi kanan dengan pengikat kabel. ( Gambar 9 )
Ikuti harnes utama di bawah sadel bagian depan.
Softail Deuce
(2000-later)
Permukaan di bawah sadel di bawah ECM/modul pengapian dengan bantalan busa
( Gambar 7 ).
Teruskan ke depan di sepanjang sisi kanan rangka.
Sportster
(1994-2003)
Harnes kabel utama di bawah sadel, sejauh mungkin dari tangki oli,
dengan pengikat kabel ( Gambar 8 ).
Ke arah lampu depan.
Sportster
(2004-later)
Harnes kabel di sebelah penahan sekring utama, di belakang penutup samping listrik. Jangan hadapkan sisi sirkuit tercetak ke baterai. Ikat dengan pengikat kabel.
Ke arah lampu depan.
Street
Di bawah sadel dekat ECM, dengan plester busa.
Ke arah lampu depan.
FLHR Touring/
FLRT Trike (semua)
Sisi kanan rangka dekat tabung garpu, di dalam nasel,
dengan bantalan busa (lepaskan lampu depan terlebih dahulu) ( Gambar 10 ).
Touring/Trike
(FLHT/X, FLTR,
2013-sebelumnya)
Sisi dalam bagian atas fairing, dengan bantalan busa (lepaskan sisi luar fairing terlebih dahulu)
( Gambar 11 dan Gambar 12 ).
Touring/Trike
(FLHT/X, FLTR,
2014-setelahnya)
  • FLHT/X TANPA amplifier yang dipasang di fairing: Sisi kiri braket penopang atas, dengan bantalan busa ( Gambar 13 , tampilan atas).
  • FLHT/X DENGAN amplifier yang dipasang di fairing: Pasang di depan dudukan braket amplifier ( Gambar 13 , tampilan bawah).
  • FLTR DENGAN atau TANPA amplifier yang dipasang di fairing: Permukaan datar antara sisi kanan radio dan penutup speaker kanan, dengan bantalan busa ( Gambar 14 ).
V-Rod (2002-2003)
Selubung kabel sepeda motor di bawah penutup louver kiri, dengan pengikat kabel
V-Rod (2004-setelahnya)
Sisi bawah harnes blok sekring di bawah kotak udara, dengan pengikat kabel
Lihat informasi pemasangan lebih detail untuk model spesifik di bagian setelah tabel ini.
Kit 91558-01B dan 91561-01B Saja
CATATAN
  • Model Touring 2014-Setelahnya dengan Lampu Depan Halogen Ganda memerlukan penggunaan pemancar tiga kabel dari kit ini . Pemancar empat kabel versi terdahulu dari Kit Pemancar/Penerima 91558-01 dan 91558-01A atau Kit Pemancar 91561-01 tidak dapat digunakan dengan lampu depan halogen ganda ( Gambar 1 ).
  • Jangkauan efektif pemancar dapat berbeda antara model sepeda motor. Untuk jangkauan terbaik dari pembuka pintu garasi, posisikan pemancar pada sepeda motor sejauh mungkin dari permukaan logam yang besar.
  • Untuk performa terbaik dari pembuka pintu garasi, jauhkan pemancar dan kabel sejauh mungkin dari sumber panas kendaraan
  • Jangan tutup pandangan sirkuit pada pemancar saat memasang bantalan busa berperekat ke pemancar atau memasang pemancar di kendaraan. LED merah pada sisi sirkuit harus tetap terlihat untuk pemrograman penerima-pemancar. Untuk kerekatan terbaik, gunakan isopropil alkohol untuk membersihkan permukaan dudukan bantalan busa.
1. Lihat Gambar 34. Lepaskan plester pelindung dari bagian belakang perekat pada satu sisi bantalan busa (3). Posisikan bantalan pada selubung plastik pemancar (1). Tekan dengan kuat ke tempatnya.
2. Temukan instruksi model spesifik di bagian selanjutnya.
Model Dyna
1. Lepas baut dudukan tangki bahan bakar. Lihat bagian yang benar (Mesin Karburator atau EFI) dari manual servis.
2. Lihat Gambar 3 . Gunakan pengikat kabel untuk mengikat pemancar ke harnes kabel Dyna (3), yang terletak di bawah sadel dan dekat kompartemen baterai. Rutekan kabel pemancar ke depan di sepanjang sisi kanan rangka.
3. Lanjutkan ke bagian Koneksi Harnes .
1Kabel oranye/putih
2Sambungan arde
3Ikat pemancar ke harnes kabel
Gambar 3. Dudukan Pemancar (Dyna)
Model Softail 1999-Sebelumnya
1. Lepas baut dudukan tangki bahan bakar. Lihat bagian yang benar (Mesin Karburator atau EFI) dari manual servis.
2. Lihat Gambar 4 . Lepaskan sekrup arde (1), di atas rangka, di bawah sadel di dekat tangki bahan bakar.
3. Lihat Gambar 34. Gunakan pengikat kabel (8) hanya untuk mengikat selubung pemancar dan bagian pendek saluran ke kabel sepeda motor yang mengarah ke depan menuju lampu depan.
4. Lanjutkan ke bagian Koneksi Harnes .
1Sambungan arde
2Pemancar pembuka garasi
3Kabel oranye/putih
Gambar 4. Dudukan Pemancar (Softail 1999-Sebelumnya)
Model Softail 2000-2017 Softail kecuali Deuce (FXSTD)
1. Lepas baut dudukan tangki bahan bakar. Lihat bagian yang benar (Mesin Karburator atau EFI) dari manual servis.
2. Lepaskan pelindung lumpur belakang (sepatbor bagian dalam) sesuai instruksi manual servis.
3. Lihat Gambar 5 . Gunakan pengikat kabel untuk mengikat pemancar (3) pada harnes kabel yang terletak di antara rangka, garpu belakang (2), dan ban belakang (1).
4. Lihat Gambar 6. Rutekan kabel pemancar (2) hingga ke kompartemen baterai (4) dan sepanjang sisi kanan rangka.
5. Lanjutkan ke bagian Koneksi Harnes .
1Roda dan ban belakang
2Garpu belakang
3Pemancar
Gambar 5. Dudukan Pemancar, Softail 2000-2017 kecuali Deuce (Tampilan FLSTC)
1Sambungan arde
2Kabel pemancar ke lampu depan
3Kabel oranye/putih
4Kompartemen baterai (referensi)
Gambar 6. Sambungan Daya dan Arde, Softail 2000-2017 (Tampilan FLSTC)
Softail Deuce (FXSTD)
1. Lepas baut dudukan tangki bahan bakar. Lihat bagian yang benar (Mesin Karburator atau EFI) dari manual servis.
2. Lepaskan plester pelindung dari bagian belakang perekat bantalan busa pada pemancar.
3. Lihat Gambar 7 . Dudukkan pemancar pada permukaan di bawah ECM/modul pengapian. Rutekan kabel pemancar ke depan di sepanjang sisi kanan rangka.
4. Lanjutkan ke bagian Koneksi Harnes .
1Sambungan arde
2Kabel oranye/putih
3Pemancar
4ECM/modul pengapian
Gambar 7. Dudukan Pemancar, Deuce
1Lokasi dudukan pemancar
2Kabel ke lampu depan
3Modul pengapian
Gambar 8. Dudukan Pemancar dan Perutean Kabel (Sportster 2003-Sebelumnya)
Softail 2018-setelahnya
1. Lepas penutup samping kanan.
2. Gambar 9Pada pemancar: Potong kabel oranye/putih (2) agar panjangnya sama dengan kabel hitam (3). Lepaskan kabel oranye/putih dari sarungnya.
3. Pasang pemancar dengan pengikat kabel.
a. Tempatkan pemancar (6) di depan harnes kabel utama, dipasang pada posisi hampir horizontal. Kabel yang keluar dari rumahan harus berada di atas dan diarahkan ke dalam menuju komponen kendaraan.
b. Pasang tali kabel (5) ke dalam slot depan dari rumahan pemancar.
c. Buat penyesuaian posisi akhir terhadap pemancar.
d. Pasang pengikat kabel (5).
4. Selipkan kabel pemancar (4) ke belakang kabel harnes utama. Ikuti kabel harnes utama di sekitar modul ABS/HCU dan di bawah bagian depan sadel.
5. Lanjutkan ke bagian Sambungan Harnes.
1Kabel putih melalui rangka ke lampu depan
2Kabel Oranye/Putih
3Kabel hitam
4Kabel Pemancar
5Tali strap kabel
6Pemancar
Gambar 9. Dudukan Pemancar dan Perutean Kabel (Softail 2018-atau setelahnya)
Model Sportster 1994-2003
1. Lepas tangki bahan bakar. Lihat bagian yang benar (Mesin Karburator atau EFI) dari manual servis.
2. Lihat Gambar 8 . Posisikan pemancar (1) ke harnes kabel utama di area di bawah sadel, sejauh mungkin dari tangki oli. Ikat pemancar ke harnes menggunakan pengikat kabel dari kit.
3. Lanjutkan ke bagian Koneksi Harnes .
Model Sportster 2004-Setelahnya
1. Lepas tangki bahan bakar. Lihat bagian yang benar (Mesin Karburator atau EFI) dari manual servis.
2. Lepaskan penutup sisi listrik, pada sisi kiri dekat baterai.
3. Lihat Gambar 34. Posisikan pemancar (1) di belakang penutup sisi listrik. Arahkan pemancar sehingga sisi sirkuit tercetak tidak menghadap ke baterai. Ikat pemancar ke harnes kabel di sebelah tempat sekring utama dengan pengikat kabel (8).
4. Lanjutkan ke bagian Koneksi Harnes .
Model Street
1. Lihat manual servis. Lepas tangki bahan bakar.
2. Lepas penutup samping kanan.
3. Lepaskan plester pelindung dari bagian belakang perekat bantalan busa pada pemancar.
4. Posisikan pemancar (1) di bawah sadel, di dekat ECM. Pastikan baki sadel tidak menyentuh pemancar.
5. Lanjutkan ke bagian Koneksi Harnes .
Model FLHR Touring/FLRT Trike
1. Lepaskan lampu depan dari nasel sesuai instruksi dalam manual servis.
2. Lepaskan plester pelindung dari bagian belakang perekat bantalan busa pada pemancar.
3. Lihat Gambar 10 . Dudukkan pemancar ke sisi kanan rangka dekat tabung garpu.
4. Lanjutkan ke bagian Koneksi Harnes .
Gambar 10. Dudukan Pemancar Dekat Tabung Garpu (FLHR 2013-Sebelumnya)
Model FLHT, FLHX, dan FLTR 2013-Sebelumnya, atau Model Trike
1. Lepaskan fairing bagian luar sesuai instruksi dalam manual servis.
2. Lepaskan plester pelindung dari bagian belakang perekat bantalan busa pada pemancar.
3. Lihat Gambar 11. (Model FLHT, FLHX) atau Gambar 12 . (Model FLTR). Dudukkan pemancar ke bagian dalam sisi atas fairing.
4. Lanjutkan ke bagian Koneksi Harnes .
1Dudukkan pemancar ke fairing
2Konektor lampu depan
3Kabel oranye/putih
4Kabel hitam
5Kabel putih
Gambar 11. Kabel untuk Sambungan Pemancar (FLHT/X 2013-Sebelumnya)
1Dudukkan pemancar ke fairing
2Konektor lampu depan
3Kabel oranye/putih
4Kabel hitam
5Kabel putih
Gambar 12. Kabel untuk Sambungan Pemancar (FLTR 2013-Sebelumnya)
Model FLHT dan FLHX Touring atau Trike 2014-2016
CATATAN
  • Memerlukan pembelian terpisah Harnes Sambungan Listrik (No. Komponen 69200722), kecuali sudah terpasang.
  • Hingga tiga aksesori dapat disambungkan ke harnes sambungan listrik.
  • Konektor listrik diidentifikasi dalam manual servis berdasarkan nomor dan huruf yang ditunjukkan di sini dalam tanda kurung.
1. Lepaskan fairing bagian luar sesuai instruksi dalam manual servis.
2. Lihat Gambar 13 . Model TANPA amplifier yang dipasang di fairing:
a. Lepaskan plester pelindung dari bagian belakang perekat bantalan busa pada pemancar.
b. Dudukkan pemancar (1) pada sisi kiri braket penopang bagian atas.
c. Lanjutkan ke bagian Koneksi Harnes .
3. Model DENGAN amplifier yang dipasang di fairing:
a. Sisipkan pemancar (1) ke dalam klip (3) di bagian depan braket dudukan amplifier.
b. Lanjutkan ke bagian Koneksi Harnes .
1Pemancar
2Braket penyangga atas
3Klip
Gambar 13. Dudukan Pemancar (Model FLHT dan FLHX Touring atau Trike 2014-2016)
Model FLTR Touring 2014-2016
CATATAN
  • Memerlukan pembelian terpisah Harnes Sambungan Listrik (No. Komponen 69200722), kecuali sudah terpasang.
  • Hingga tiga aksesori dapat disambungkan ke harnes sambungan listrik.
  • Konektor listrik diidentifikasi dalam manual servis berdasarkan nomor dan huruf yang ditunjukkan di sini dalam tanda kurung.
1. Lepaskan fairing bagian luar sesuai instruksi dalam manual servis.
2. Lihat Gambar 14 . Lepaskan plester pelindung dari bagian belakang perekat bantalan busa pada pemancar.
3. Dudukkan pemancar pada permukaan datar antara sisi kanan radio dan wadah speaker kanan.
4. Lanjutkan ke bagian Koneksi Harnes .
Gambar 14. Dudukan Pemancar (Model FLTR Touring 2015-2016)
Model FLHT dan FLHX Touring atau Trike 2017-Setelahnya
CATATAN
  • Memerlukan pembelian terpisah Harnes Sambungan Listrik (No. Komponen 69201599), kecuali sudah terpasang.
  • Hingga tiga aksesori dapat disambungkan ke harnes sambungan listrik.
  • Konektor listrik diidentifikasi dalam manual servis berdasarkan nomor dan huruf yang ditunjukkan di sini dalam tanda kurung.
1. Lepaskan fairing bagian luar sesuai instruksi dalam manual servis.
2. Lihat Gambar 15. . Model TANPA amplifier yang dipasang di fairing:
a. Lepaskan plester pelindung dari bagian belakang perekat bantalan busa pada pemancar.
b. Dudukkan pemancar (1) pada sisi kiri braket penopang bagian atas.
c. Lanjutkan ke bagian Koneksi Harnes .
3. Model DENGAN amplifier yang dipasang di fairing:
a. Sisipkan pemancar (1) ke dalam klip (3) di bagian depan braket dudukan amplifier.
b. Lanjutkan ke bagian Koneksi Harnes .
1Pemancar
2Braket penyangga atas
3Klip
Gambar 15. Dudukan Pemancar (Model FLHT dan FLHX Touring atau Trike 2017-Setelahnya)
Model FLTR Touring 2017-Setelahnya
CATATAN
  • Memerlukan pembelian terpisah Harnes Sambungan Listrik (No. Komponen 69201599), kecuali sudah terpasang.
  • Hingga tiga aksesori dapat disambungkan ke harnes sambungan listrik.
  • Konektor listrik diidentifikasi dalam manual servis berdasarkan nomor dan huruf yang ditunjukkan di sini dalam tanda kurung.
1. Lepaskan fairing bagian luar sesuai instruksi dalam manual servis.
2. Gambar 16 . Lepaskan plester pelindung dari bagian belakang perekat bantalan busa pada pemancar.
3. Dudukkan pemancar pada permukaan datar antara sisi kanan radio dan wadah speaker kanan.
4. Lanjutkan ke bagian Koneksi Harnes .
Gambar 16. Dudukan Pemancar (Model FLTR Touring 2017-Setelahnya)
Model V-Rod 2002-2003
1. Lihat Gambar 17 . Lepaskan sekrup (3) mengencangkan penutup louver kiri depan (1) pada sepeda motor. Angkat penutup louver dari tab (2) untuk melepaskan penutup.
2. Lihat Gambar 18 . Gunakan pengikat kabel untuk mengikat pemancar (1) pada selubung kabel sepeda motor (2) seperti yang ditunjukkan.
3. Lanjutkan ke bagian Koneksi Harnes .
1Penutup louver
2Tab (2)
3Sekrup
Gambar 17. Penutup Louver Sisi Kiri (V-Rod 2002-2003 yang Ditunjukkan)
1Pemancar
2Ikatkan kabel pemancar ke selubung kabel
3Konektor dengan kabel hitam (arde) dan oranye
Gambar 18. Dudukan Pemancar (V-Rod 2002-2003 Saja)
Model V-Rod 2004-Setelahnya
1. Lihat Gambar 17 . Lepaskan sekrup (3) mengencangkan penutup louver kiri depan (1) pada sepeda motor. Angkat penutup louver dari tab (2) untuk melepaskan penutup.
2. Lihat Gambar 19 . Lepaskan penutup kotak udara. Putar pemancar (1) agar sisi sirkuit yang terbuka menghadap ke atas. Sisipkan pemancar di bawah harnes kabel blok sekring. Gunakan dua pengikat kabel dari kit melalui flensa pemancar untuk mengamankan pemancar ke harnes blok sekring.
3. Lanjutkan ke bagian Koneksi Harnes .
1Pemancar
2Harnes kabel blok sekring (2)
Gambar 19. Dudukan Pemancar (V-Rod 2004-Setelahnya)
SAMBUNGAN HARNES
CATATAN
  • Model Touring 2014-setelahnya dengan Lampu Depan Halogen Ganda memerlukan penggunaan pemancar tiga kabel dari kit ini . Pemancar empat kabel versi terdahulu dari Kit Transmitter/Receiver 91558-01 dan 91558-01A atau Transmitter Kit 91561-01 tidak dapat digunakan dengan lampu depan halogen ganda ( Gambar 1 ).
  • Jika pemancar yang baru dipasang memiliki kabel putih dan kabel kuning (pemancar empat kabel) , sambungkan kabel tersebut ke kabel lampu depan yang sesuai (putih ke putih, kuning ke kuning).
Jika pemancar yang baru dipasang menggantikan pemancar OE pada kendaraan CVO:
  • Ekstrak tiga kabel dan terminal dari konektor Deutsch empat arah pada pemancar lama (No. Komponen 92600009) sesuai instruksi manual servis.
  • Potong kabel pada pemancar baru dengan panjang yang sama dengan pemancar lama.
  • Pasang terminal (No. Komponen 74191-98, dibeli terpisah) pada ujung setiap kabel sesuai instruksi manual servis.
  • Sisipkan kabel dan terminal ke dalam konektor Deutsch empat arah seperti disebutkan dalam Tabel 2 .
Tabel 2. Kabel Konektor Pemancar (Model CVO)
Lubang
Warna Kabel
1
Oranye/Putih
2
Busi
3
Putih
4
Hitam
Tabel 3. Referensi Cepat Sambungan Harnes Pemancar
Model
Kabel Hitam (Arde):
Kabel Oranye/Putih (Daya):
Kabel Putih (Sorot Jauh):
Dyna (2003-sebelumnya)
Terminal cincin pada baut pengardean.
Sambatkan ke kendaraan
Kabel Oranye/Putih.
Sambatkan ke kabel Putih lampu depan.
Dyna (2004-2011)
Terminal cincin pada baut pengardean.
Ke adaptor blok sekring.
Sambatkan ke kabel Putih lampu depan.
Dyna (2012-setelahnya)
Ke kabel Hitam listrik
sambungan harnes 72673-11.
Ke kabel Merah/Kuning
sambungan listrik
harnes 72673-11.
Sambatkan ke kabel Biru/Putih kendaraan.
Softail (2003-sebelumnya)
Terminal cincin pada baut pengardean.
Sambatkan ke kendaraan
Kabel Oranye/Putih.
Sambatkan ke kabel Putih lampu depan.
Softail (2004-2010)
Terminal cincin pada baut pengardean.
Ke adaptor blok sekring.
Sambatkan ke kabel Putih lampu depan.
Softail (2011-2017)
Ke kabel Hitam listrik
sambungan harnes 72673-11.
Ke kabel Merah/Kuning
sambungan listrik
harnes 72673-11.
Sambungkan kabel Biru/Putih ke lampu depan.
Softail (2018-setelahnya)
Untuk kabel Hitam dari harnes sambungan listrik 69201599.
Untuk kabel Ungu/Biru dari harnes sambungan listrik 69201599.
Sambatkan ke kabel Biru/Putih kendaraan.
Sportster
(2013-earlier)
Terminal cincin pada baut pengardean.
Sambatkan ke kendaraan
Kabel Oranye/Putih.
Sambatkan ke kabel Putih lampu depan.
Sportster
(2014-later)
Ke kabel Hitam listrik
sambungan harnes 72673-11.
Ke kabel Merah/Kuning
sambungan listrik
harnes 72673-11.
Sambatkan ke kabel Putih lampu depan.
Street (2014-setelahnya)
Ke lubang 2 rumah soket Datalink [92B].
Ke lubang 5 Datalink
rumah soket [92B].
Sambatkan ke kabel Biru/Putih kendaraan.
Touring/Trike
(2013-earlier)
Terminal cincin pada baut pengardean.
Sambatkan ke kabel Oranye/Putih lampu posisi HDI dari
konektor yang tidak digunakan [29B].
Sambatkan ke kabel Putih lampu depan.
Touring/Trike
(2014-2016)
Ke kabel Hitam listrik
sambungan harnes 69200722.
Ke kabel Violet/Biru
sambungan listrik
harnes 69200722.
Sambatkan ke kabel Biru/Putih kendaraan.
Touring/Trike
(2017-later)
Ke kabel Hitam listrik
sambungan harnes 69201599.
Ke kabel Violet/Biru
sambungan listrik
harnes 69201599A.
Sambatkan ke kabel Biru/Putih kendaraan.
V-Rod (2004-sebelumnya)
Terminal cincin pada baut pengardean.
Sambatkan ke kabel Oranye/Putih lampu posisi HDI dari
konektor yang tidak digunakan [29A].
Sambatkan ke kabel Putih lampu depan.
V-Rod (2005-setelahnya)
Terminal cincin pada baut pengardean.
Sambatkan ke kabel lampu depan Oranye/
Putih pada konektor [38A].
Sambatkan ke kabel Putih lampu depan.
Lihat informasi sambungan lebih detail untuk model spesifik di bagian setelah tabel ini.
Umum
Penyambatan timah kabel diperlukan dalam pemasangan pembuka pintu garasi untuk kendaraan. Temukan instruksi untuk model spesifik di bagian berikut. Lihat lampiran manual servis untuk prosedur menyambungkan kabel yang tepat.
PERINGATAN
Pastikan untuk mengikuti instruksi pabrik saat menggunakan UltraTorch UT-100 atau perangkat pemanas radian lainnya. Kelalaian mengikuti instruksi pabrik dapat mengakibatkan kebakaran, yang dapat menyebabkan kematian atau cedera parah. (00335a)
  • Hindarkan panas dari semua komponen sistem bahan bakar. Panas berlebih dapat menyebabkan pengapian bahan bakar/ledakan yang dapat menyebabkan kematian atau cedera parah.
  • Hindarkan panas dari semua komponen sistem kelistrikan selain konektor yang sedang dipanaskan.
  • Selalu jauhkan tangan dari area ujung alat atau heatshrink attachment (deflektor tambahan).
Untuk model Dyna 2012-setelahnya: Lanjutkan ke bagian berikutnya.
Untuk model Softail 2011-setelahnya: Lanjutkan ke bagian berikutnya.
Untuk model Sportster 2014-setelahnya: Lanjutkan ke bagian berikutnya.
Untuk model Street 2014-setelahnya: Lanjutkan ke bagian tersebut .
Untuk model Touring dan Trike: Lanjutkan ke bagian yang benar untuk tahun/model spesifik.
Untuk SEMUA model LAIN: Lanjutkan ke Sambungan Timah Hitam untuk model spesifik.
Model Dyna 2012-setelahnya, Softail 2011-2017-Setelahnya, dan Model Sportster 2014-setelahnya
CATATAN
Memerlukan pembelian terpisah Harnes Sambungan Elektrik (No. Komponen 72673-11).
Konektor listrik diidentifikasi dalam manual servis berdasarkan nomor dan huruf yang ditunjukkan di sini dalam tanda kurung.
1. Temukan konektor Digital Technician [91A] (konektor pin Jerman enam arah warna abu-abu dengan boot karet) di bawah jok. Pasang Harnes Sambungan Elektrik ke konektor [91A], tetapi JANGAN sambungkan daya untuk saat ini.
2. Atur jalur kabel pembuka pintu garasi di atas Harnes Sambungan Elektrik. Lepaskan kabel oranye/putih dari saluran. Potong kabel oranye/putih dan hitam hingga panjang yang sesuai untuk mencapai konektor sambatan yang disegel dengan mudah pada Harnes Sambungan Listrik. JANGAN potong kabel putih.
3. Sambatkan kabel pembuka pintu garasi hitam ke kabel hitam pada Harnes Sambungan Elektrik.
4. Sambatkan kabel oranye/putih pembuka pintu garasi dengan kabel merah/kuning dalam Harnes Sambungan Elektrik.
5. Gunakan pistol panas atau perangkat pemanas radiasi yang sesuai untuk menyusutkan konektor ke kabel.
6. Gunakan pistol panas atau alat pemanas untuk menyegel ujung terbuka dari konektor sambatan yang disegel pada kabel merah/biru di Harnes Sambungan Listrik.
7. Cabut boot karet dari konektor pin abu-abu Digital Technician [91A]. Lepas boot dari kabel.
8. Sambungkan rumahan soket Electrical Connection Harness (Harnes Sambungan Elektrik) ke konektor [91A].
9. Sisipkan boot karet ke dalam konektor pin terbuka pada Electrical Connection Harness (Harnes Sambungan Elektrik).
10. Kendurkan atau lepas empat sekrup yang menahan ECM di braket dudukan. Atur jalur Electrical Connection Harness (Harnes Sambungan Elektrik) di bawah konektor ECM. Kencangkan keempat sekrup.
Torque: 5,1–6,2 N·m (45–55 in-lbs) Sekrup soket heksagon
11. Lanjutkan ke bagian Sambungan Timah Putih untuk model spesifik.
Model Softail 2018-setelahnya
1. Lepaskan steker aksesori daya 325B (Molex MX150, 3 pin) dari penutup debu pada sisi kiri kendaraan.
a. Lepaskan penutup debu dari pelat dudukan konektor. Angkat kait di balik penutup debu untuk menggesernya maju dan mundur.
2. Pasang konektor male Molex 3 pin dari harnes 69201599A ke konektor 325B. Kemudian geser konektor male kembali ke pelat dudukan konektor dan kunci di tempatnya.
3. Biarkan 2 konektor penutup debu lainnya pada tempatnya di atas harnes 69201599A.
4. Arahkan harnes maju dan arahkan konektor kembali ke arah pelat. Posisikan agar harnes tidak mengganggu komponen lainnya.
5. Arahkan 3 kabel tanpa konektor ke arah bagian belakang dari tangki bahan bakar.
6. Harnes Pemancar:
a. Pegang kabel putih (1) di bagian paling ujung timah agar tidak tertarik dari sarungnya (4) dengan kabel oranye/putih.
b. Tarik kabel oranye/putih (1) keluar dari sarungnya (4) pada rem(3).
7. Arahkan kabel putih dan bagian panjang selubung di sepanjang rangka hingga outlet harnes di bagian depan kendaraan.
8. Temukan kabel biru/putih dari konektor lampu depan 38B dan sambungkan kabel putih dari pemancar. Sambungkan pada jarak yang memadai, jauh dari konektor 38B.
9. Sambungkan kabel hitam dari harnes pemancar ke kabel hitam dalam harnes 69201599.
10. Sambungkan kabel oranye/putih dari harnes pemancar ke kabel ungu/biru dalam harnes 69201599.
11. Amankan harnes yang telah terpasang dengan pengikat kabel.
12. Rakit komponen yang sebelumnya telah dibongkar.
1Putih dan kabel Oranye/Putih
2Kabel hitam
3Masukkan sarung pelindung
4Sarung pelindung
5Pemancar
Gambar 20.
Model Street 2014-Setelahnya
1.
CATATAN
Memerlukan pembelian terpisah rumah soket Deutsch enam arah (No. Komponen 72136-94GY), kunci sekunder (No. Komponen 72156-94), dua terminal soket (No. Komponen 72191-94), dan empat pin segel (No. Komponen 72195-94).
Lepaskan hanya kabel oranye/putih dari saluran pemancar. JANGAN lepas kabel putih dari saluran.
2. Rutekan kabel putih ke arah depan kendaraan. Jika pemancar yang baru dipasang memiliki kabel putih dan kabel kuning (pemancar empat kabel) , rutekan kabel kuning ke depan di sepanjang kabel putih.
3. Temukan kabel biru/putih dekat konektor lampu depan empat arah [38].
4. Lihat Gambar 34. Ambil konektor sambatan bersegel biru (5) dari kit. Sambatkan kabel pemancar putih ke kabel lampu depan sorot jauh biru/putih. Jika pemancar juga memiliki kabel kuning, sambatkan ITU ke kabel sorot dekat biru/kuning.
5. Ambil konektor sambatan bersegel merah (4) dari kit. Sambatkan kabel hitam (13) dari kit ke kabel arde pemancar hitam.
6. Rutekan kabel hitam dan kabel oranye/putih ke konektor tautan data enam arah [91] di bawah penutup sisi kanan. Potong panjang kabel.
7. Lihat lampiran manual servis. Putuskan kedua ujung kabel dengan terminal soket (No. Komponen 72191-94, dibeli terpisah).
8. Sisipkan kabel hitam yang diputus ke dalam lubang 2 dari rumah soket enam arah Deutsch (No. Komponen 72136-94GY, juga dibeli terpisah). Sisipkan kabel berwarna oranye/putih ke dalam lubang 5. Sisipkan pin segel (No. Komponen 72195-94) ke dalam empat lubang terbuka. Pasang pengunci sekunder (No. Komponen 72156-94).
9. Cocokkan rumah soket ke konektor tautan data [91]. Kencangkan dengan tali strap kabel dari kit.
Model FLHT, FLHX, dan FLTR 2013-Sebelumnya, atau Model Trike
1. Potong kabel pemancar putih dan oranye/putih dengan panjang hampir sama dengan kabel arde hitam pemancar. Potong hingga cukup memungkinkan kabel untuk terbuka dan menyambat kabel dengan mudah.
1Kabel hitam (arde)
2Kabel putih
3Kabel oranye/putih
Gambar 21. Kabel untuk Sambungan Pemancar (FLHR 2013-Sebelumnya)
2.
a. Model FLHR Touring 2013-sebelumnya:Gambar 21 Potong kabel lampu depan hitam (1) dan putih (2) di dalam nasel , susun panjangnya sedikit untuk menghindari sambungan menyatu.
b. Model FLHT 2013-sebelumnya dan Model FLHX Touring dan Trike :Gambar 11 Potong kabel lampu depan hitam (4) dan putih (5) di dalam fairing , susun panjangnya sedikit untuk menghindari sambungan menyatu.
c. Model FLTR Touring 2013-sebelumnya:Gambar 12 Potong kabel lampu depan hitam (4) dan putih (5) di dalam fairing , susun panjangnya sedikit untuk menghindari sambungan menyatu.
d. SEMUA Model Touring/Trike 2013-Sebelumnya: Geser saluran kawat anyaman dari kit (lihat Gambar 34 , Item 9) di atas kabel lampu depan hitam dan putih.
3. Lihat Gambar 22 . Konfigurasi sambatan “dua menjadi satu”. Ambil konektor sambatan bersegel merah (4) (lihat Gambar 34 , Item 4) dari kit. Sambatkan kabel pemancar pembuka pintu garasi hitam ke kabel hitam dari lampu depan. Potong kembali selubung kabel pemancar untuk membantu penyambatan.
CATATAN
Konektor listrik diidentifikasi dalam manual servis berdasarkan nomor dan huruf yang ditunjukkan di sini dalam tanda kurung.
1sambatan “satu menjadi satu”
2sambatan “dua menjadi satu”
3sambatan tiga menjadi satu”
Gambar 22. Konfigurasi Sambungan
4. Gunakan sisa konektor sambatan merah bersegel untuk menyambatkan kabel pemancar oranye/putih ke kabel oranye/putih pada konektor lampu posisi yang tidak digunakan [29B]:
a. Untuk Model FLHR Touring 2013-Sebelumnya, kabel oranye/putih diikat pada harnes utama dalam nasel.
b. Untuk SEMUA Model LAIN Touring/Trike 2013-Sebelumnya, kabel oranye/putih diikat ke harnes interkoneksi dekat lampu depan.
5. Lihat Gambar 34 . Ambil konektor sambatan bersegel biru (5) dari kit. Sambatkan kabel pemancar putih ke kabel lampu depan biru.
6. Geser saluran kabel di atas area sambatan kedua kabel lampu depan.
7. Lanjutkan ke bagian Pemrograman Penerima dan Pemancar untuk memprogram kontrol pembuka pintu garasi.
Model Touring atau Trike 2014-2016
1. Lepas penutup samping kiri. Temukan konektor [4A], konektor pin Molex delapan arah kelabu pada caddy listrik.
2. Jika memasang harnes koneksi listrik: Rutekan harnes sesuai instruksi dalam kit tersebut , tetapi JANGAN tancapkan ke konektor [4A] sekarang.
3. Jika harnes sambungan listrik sudah terpasang: Cabut harnes dari konektor [4A].
a. Sambatkan kabel ke ujung tutup bersegel harnes sambungan listrik sesuai kebutuhan. Jika harnes sambungan listrik disambatkan pada pemasangan aksesori sebelumnya, potong sambungan yang ada. JANGAN LEPAS tutup bersegel dari kabel MERAH. Gambar 22 untuk beberapa konfigurasi sambungan.
b. Jepit tutup dari kabel Hitam, buka kembali, rapatkan dan segel ke kabel HITAM harnes kabel dari kit ini , menggunakan kabel hitam tambahan (10) dari paket perangkat keras sebagai perpanjangan.
c. Jepit tutup kabel Violet/Biru, buka kembali, rapatkan dan segel ke kabel Oranye/Putih dari harnes kabel kit ini .
4. Lepaskan tutup cuaca dari konektor [4A] dan pasangkan konektor delapan arah.
5. Lanjutkan ke bagian Sambungan Timah Putih untuk model spesifik.
Model Touring 2017-setelahnya atau Trike dan Model Softail 2018-setelahnya
1. Temukan konektor [325B], konektor pin Molex tiga arah kelabu pada caddy listrik.
a. Touring dan Trike: Lepaskan penutup sisi kanan.
b. Softail: Lepaskan penutup sisi kiri.
2. Jika memasang harnes koneksi listrik: Rutekan harnes sesuai instruksi dalam kit tersebut , tetapi JANGAN tancapkan ke konektor [325B] sekarang.
3. Jika harnes sambungan listrik sudah terpasang: Cabut harnes dari konektor [325B].
a. Sambatkan kabel ke ujung tutup bersegel harnes sambungan listrik sesuai kebutuhan. Jika harnes sambungan listrik disambatkan pada pemasangan aksesori sebelumnya, potong sambungan yang ada. JANGAN LEPAS tutup bersegel dari kabel MERAH. Gambar 22 untuk beberapa konfigurasi sambungan.
b. Jepit tutup dari kabel Hitam, buka kembali, rapatkan dan segel ke kabel HITAM harnes kabel dari kit ini , menggunakan kabel hitam tambahan (10) dari paket perangkat keras sebagai perpanjangan.
c. Jepit tutup kabel Violet/Biru, buka kembali, rapatkan dan segel ke kabel Oranye/Putih dari harnes kabel kit ini .
4. Lepaskan tutup cuaca dari konektor [325B] dan pasangkan konektor tiga arah.
5. Lanjutkan ke bagian Sambungan Timah Putih untuk model spesifik.
SAMBUNGAN KABEL SAMBUNG HITAM KE ARDE
Model Dyna 2011 dan yang Lebih Lama
1. Lepaskan mur dari baut arde, di atas rangka, di bawah jok di dekat tangki bahan bakar.
2. Lihat Gambar 34. Pilih terminal cincin yang benar (6 atau 7) dari kit agar pas dengan baut arde.
3. Lihat Gambar 3 . Potong kabel arde hitam (2) pada harnes kabel pembuka pintu garasi untuk mencapai lokasi arde dengan mudah. Lakukan crimping pada terminal cincin ke ujung kabel sesuai instruksi Packard crimping tool (alat crimping Packard) pada lampiran manual servis.
4. Pasang terminal cincin ke sambungan arde. Kencangkan sesuai spesifikasi torsi pada manual servis.
5. Lanjutkan ke bagian Sambungan Timah Oranye/Putih untuk model spesifik.
Model Softail 2010 dan yang Lebih Lama
1. Lepaskan sekrup arde, di atas rangka, di bawah jok di dekat tangki bahan bakar.
2. Lihat Gambar 34. Pilih terminal cincin yang benar (6 atau 7) dari kit agar pas dengan sekrup arde.
3. Potong kabel hitam pada harnes kabel pembuka pintu garasi untuk mencapai lokasi arde dengan mudah. Lakukan crimping pada terminal cincin ke ujung kabel sesuai instruksi Packard crimping tool (alat crimping Packard) pada lampiran manual servis.
4. Lihat Gambar 6. Pasang terminal cincin ke ulir sekrup arde. Kencangkan sekrup arde ke rangka. Kencangkan sesuai spesifikasi torsi pada manual servis.
5. Lanjutkan ke bagian Sambungan Timah Oranye/Putih untuk model spesifik.
Model Sportster 2013 dan yang Lebih Lama
1. Lepaskan penutup sisi listrik, pada sisi kiri dekat baterai.
2. Rutekan harnes kabel pembuka pintu garasi melalui bagian atas rangka di bawah jok. Rute ke pemutus arus di bagian dalam penutup samping listrik.
3. Lihat Gambar 25. Lepas sekrup arde (1), yang berlokasi:
a. Di bawah jok untuk beberapa model 1996-2003
b. Dekat garpu belakang pada model 1995-sebelumnya, dan model 1996-2003 tanpa sekrup di bawah jok
c. Pada mesin dekat starter pada model 2004-setelahnya
4. Lihat Gambar 34. Pilih terminal cincin yang benar (6 atau 7) dari kit agar pas dengan sekrup arde.
5. Potong kabel hitam pada harnes kabel pembuka pintu garasi untuk mencapai lokasi arde dengan mudah. Lakukan crimping pada terminal cincin ke ujung kabel sesuai instruksi Packard crimping tool (alat crimping Packard) pada lampiran manual servis.
6. Pasang terminal cincin ke ulir sekrup arde. Kencangkan sekrup arde di lokasi awal. Kencangkan sesuai spesifikasi torsi pada manual servis.
7. Lanjutkan ke bagian Sambungan Timah Oranye/Putih untuk model spesifik.
1Sekrup arde (kabel hitam)
Gambar 23. Sambungan Arde (Model Sportster)
Model V-Rod 2002-2003
1. Potong kabel arde pemancar hitam agar mudah menjangkau salah satu sekrup arde pada penutup cam mesin. Lepaskan sekrup arde.
2. Lihat Gambar 34. Pilih terminal cincin diameter lebih kecil (7) dari kit. Rapatkan terminal cincin ke kabel pemancar hitam sesuai instruksi alat perapat Packard dalam lampiran manual servis.
3. Kencangkan terminal cincin ke mesin dengan sekrup arde. Kencangkan sesuai spesifikasi torsi pada manual servis.
4. Lanjutkan ke bagian Sambungan Timah Oranye/Putih untuk model spesifik.
Model V-Rod 2004-Setelahnya
1. Lihat Gambar 24. konfigurasi sambatan “dua menjadi satu”. Ambil konektor sambatan bersegel merah (4) (lihat Gambar 34 , Item 4) dari kit. Sambatkan kabel hitam (13) dari kit ke kabel arde pemancar hitam sesuai lampiran manual servis. Selipkan saluran (10) dari kit di atas kabel arde sambatan.
2. Rutekan kabel arde dan saluran
a. Sepanjang rangka sepeda motor di sebelah kiri kotak udara
b. Di sebelah harnes utama
c. Ke lokasi di bawah penutup louver sisi kiri
3. Potong kabel arde pemancar hitam dan saluran agar mudah menjangkau salah satu baut arde pada ujung kabel arde baterai.
4. Pilih terminal cincin diameter lebih kecil (7) dari kit. Rapatkan terminal cincin ke kabel pemancar hitam sesuai instruksi alat perapat Packard dalam lampiran manual servis.
5. Kencangkan terminal cincin kabel hitam ke dudukan jok terminal negatif pada baterai. Kencangkan pengencang terminal.
Torque: 7–10 N·m (60–96 in-lbs) Mur segienam
6. Lanjutkan ke bagian Sambungan Timah Oranye/Putih untuk model spesifik.
SAMBUNGAN KABEL SAMBUNG ORANYE/PUTIH KE SUMBER DAYA SAKELAR
Gunakan skema jaringan kabel pada manual servis untuk model dan tahun kendaraan spesifik guna menemukan lokasi sumber daya yang dimasukkan langsung dari sakelar ignisi.
Model Dyna 2003 dan yang Lebih Lama
Sumber daya sakelar pembuka pintu garasi adalah kabel daya harnes utama oranye/putih (O/W) di bawah jok atau di dalam penutup samping.
1. Lepaskan penutup sisi listrik, pada sisi kiri dekat baterai.
2. Lihat Gambar 3 . Buka dengan mengiris secara perlahan area bungkus harnes utama di bawah jok atau di dalam penutup samping pada titik yang dapat diakses. Potong kabel daya harnes utama oranye/putih.
3. Tarik kabel oranye/putih saja dari saluran yang lebih panjang pada harnes kabel pembuka pintu garasi. Potong kelebihan panjang dari kabel oranye/putih agar mudah menjangkau kabel oranye/putih yang dipotong pada harnes kendaraan utama.
4. Lihat Gambar 22 . Konfigurasi sambatan “dua menjadi satu”. Ambil konektor sambatan bersegel merah (4) (lihat Gambar 34 , Item 4) dari kit. Sambatkan kabel daya harnes pembuka pintu garasi ke kabel harnes utama oranye/putih sesuai lampiran manual servis.
5. Lanjutkan ke bagian Sambungan Timah Putih untuk model spesifik.
Model Dyna 2004-2011
Sumber daya sakelar pembuka pintu garasi adalah posisi sekring terbuka pada panel sekring. Lihat bagian FUSES (SEKRING) pada manual servis dan skema jaringan kabel yang tepat pada lampiran manual servis.
1. Cari penutup samping listrik di sisi kiri dekat baterai, Sambil memegang kedua sisi dengan kuat, tarik keluar untuk melepaskannya.
2. Lepas panel elektrik dari kendaraan sesuai instruksi manual servis.
3. Lihat Gambar 34. Ambil kabel adaptor blok sekring warna oranye/putih (12) dari kit. Perhatikan terminal di setiap ujungnya ( Gambar 34 ). Hanya terminal dengan tab pegas yang sesuai dengan blok sekring ini. Potong terminal yang tidak dipakai dengan hati-hati untuk memisahkannya dari kabel, lalu sisihkan.
4. Lihat Gambar 25. Temukan lubang sekring yang ditandai “TERBUKA” pada penutup blok sekring di blok sekring kanan. Masukkan terminal ke kabel adaptor warna oranye/putih hingga terhenti. Lihat terminal yang dipasang oleh pabrik terdekat sebagai pembanding untuk memastikan orientasi dan kedalaman yang sesuai.
5. Tarik kabel oranye/putih saja dari saluran yang lebih panjang pada harnes kabel pembuka pintu garasi. Potong kelebihan panjang dari kabel oranye/putih agar mudah menjangkau kabel adaptor.
6. Lihat Gambar 24. Konfigurasi sambatan “satu menjadi satu”. Ambil konektor sambatan bersegel biru (lihat Gambar 34 , Item 5) dari kit. Sambatkan kabel daya harnes pembuka pintu garasi ke kabel adaptor sesuai lampiran manual servis.
7. Lihat Gambar 34. Pasang sekring 2A (11) dari kit ke lubang sekring “TERBUKA” untuk menuntaskan perangkaian sirkuit.
8. Pasang panel elektrik sesuai instruksi pada manual servis. Pasang penutup panel listrik dengan menyejajarkan pin dengan bushing karet dalam panel listrik. Dorong dengan kuat ke tempatnya.
9. Lanjutkan ke bagian Sambungan Timah Putih untuk model spesifik.
1POTONG terminal ini dari kabel
2BIARKAN terminal ini tersambung dengan kabel
3Tab pegas (2)
Gambar 24. Kabel Adaptor Blok Sekring (Dyna dan Softail)
Gambar 25. Lubang Blok Sekring “TERBUKA” (Dyna 2004-Setelahnya)
Model Softail 2003 dan yang Lebih Lama
Sumber daya sakelar pembuka pintu garasi adalah kabel oranye/putih (O/W) di harnes lampu belakang di bawah jok.
1. Lihat Gambar 3 . Buka dengan mengiris secara perlahan area bungkus harnes lampu belakang (1) pada titik yang dapat diakses di bawah jok. Potong kabel oranye/putih.
2. Tarik kabel oranye/putih saja dari saluran yang lebih panjang pada harnes kabel pembuka pintu garasi. Potong kelebihan panjang dari kabel oranye/putih agar mudah menjangkau kabel oranye/putih yang dipotong di bawah jok.
3. Lihat Gambar 3 . Konfigurasi sambatan “dua menjadi satu”. Ambil konektor sambatan bersegel merah (4) (lihat Gambar 34 , Item 4) dari kit. Sambatkan kabel daya harnes pembuka pintu garasi ke kabel oranye/putih yang dipotong sesuai lampiran manual servis.
4. Lanjutkan ke bagian Sambungan Timah Putih untuk model spesifik.
Model Softail 2004-2010
Sumber daya sakelar pembuka pintu garasi adalah posisi sekring terbuka pada panel sekring. Lihat bagian FUSES (SEKRING) pada manual servis dan skema jaringan kabel yang tepat pada lampiran manual servis.
1. Lepas penutup blok sekring. Lepas kedua sekrup kepala segienam yang mengencangkan braket blok sekring. Tarik keluar braket dan unit blok sekring dari rangka kendaraan.
2. Tekan tab yang menahan blok sekring kiri. Geser blok keluar dari slot dudukan.
3. Lihat Gambar 34. Ambil kabel adaptor blok sekring warna oranye/putih (12) dari kit. Perhatikan terminal di setiap ujungnya (lihat Gambar 24 ). Hanya terminal dengan tab pegas yang sesuai dengan blok sekring ini. Potong terminal yang tidak digunakan dengan hati-hati untuk memisahkannya dari kabel lalu sisihkan.
4. Lihat Gambar 26. Temukan lubang sekring yang ditandai “P&A IGN” pada penutup blok sekring di blok sekring kanan. Masukkan terminal ke kabel adaptor warna oranye/putih hingga terhenti. Lihat terminal yang dipasang oleh pabrik terdekat sebagai pembanding untuk memastikan orientasi dan kedalaman yang sesuai.
5. Tarik kabel oranye/putih saja dari saluran yang lebih panjang pada harnes kabel pembuka pintu garasi. Potong kelebihan panjang dari kabel oranye/putih agar mudah menjangkau kabel adaptor.
6. Lihat Gambar 22 . Konfigurasi sambatan “satu menjadi satu”. Ambil konektor sambatan bersegel biru (lihat Gambar 34 , Item 5) dari kit. Sambatkan kabel daya harnes pembuka pintu garasi ke kabel adaptor sesuai lampiran manual servis.
7. Lihat Gambar 34. Pasang sekring 2A (11) dari kit ke lubang sekring “P&A IGN” untuk menuntaskan perangkaian sirkuit.
8. Dorong masuk blok sekring ke slot dudukan pada braket blok sekring hingga terpasang kencang. Pasang braket dan rakitan blok sekring pada posisinya. Kencangkan dengan dua sekrup kepala heksagonal yang dilepas sebelumnya. Kencangkan.
9. Lanjutkan ke bagian Sambungan Timah Putih untuk model spesifik.
Gambar 26. Lubang Blok Sekring "P&A IGN" (Softail 2004-2010)
Model Sportster 2013 dan yang Lebih Lama
Sumber daya sakelar pembuka pintu garasi adalah kabel daya harnes utama oranye/putih (O/W) di dalam penutup samping listrik atau di bawah jok.
CATATAN
Pada beberapa model Sportster, modul pengapian harus dilepas untuk mengakses kabel oranye/putih pada harnes utama.
1. Lihat Gambar 27. Buka dengan mengiris secara perlahan area bungkus harnes utama di dalam penutup samping listrik atau di bawah jok pada titik yang dapat diakses. Potong kabel daya harnes utama oranye/putih.
1Penutup samping kiri memuat terminal perak pemutus sirkuit (kabel merah)
2Harnes kabel bawaan (kabel oranye/putih)
Gambar 27. Sambungan Daya (Model Sportster)
2. Tarik kabel oranye/putih saja dari saluran yang lebih panjang pada harnes kabel pembuka pintu garasi. Potong kelebihan panjang dari kabel oranye/putih agar mudah menjangkau kabel oranye/putih yang dipotong di dalam penutup samping atau di bawah jok.
3. Lihat Gambar 22 , konfigurasi sambatan “dua menjadi satu”. Ambil konektor sambatan bersegel merah (4) (lihat Gambar 34 , Item 4) dari kit. Sambatkan kabel daya harnes pembuka pintu garasi ke kabel harnes utama oranye/putih sesuai lampiran manual servis.
4. Lanjutkan ke bagian Sambungan Timah Putih untuk model spesifik.
Model V-Rod 2002-2004
CATATAN
Konektor listrik diidentifikasi dalam manual servis berdasarkan nomor dan huruf yang ditunjukkan di sini dalam tanda kurung.
1. Lihat Gambar 28 atau Gambar 29 . Potong kabel harnes kendaraan berwarna oranye/putih di dekat konektor lampu posisi yang tidak digunakan [29A] (1).
2. Tarik kabel oranye/putih saja dari saluran yang lebih panjang pada harnes kabel pembuka pintu garasi. Potong kelebihan panjang dari kabel oranye/putih agar mudah menjangkau kabel oranye/putih yang dipotong pada konektor [29A].
3. Lihat Gambar 22 . Konfigurasi sambatan “dua menjadi satu”. Ambil konektor sambatan bersegel merah (4) (lihat Gambar 34 , Item 4) dari kit. Sambatkan kabel daya harnes pembuka pintu garasi ke kabel harnes utama oranye/putih sesuai lampiran manual servis.
4. Lanjutkan ke bagian Sambungan Timah Putih untuk model spesifik
1Konektor [29A] dengan kabel oranye/putih
2Kabel lampu depan putih
Gambar 28. Lokasi Sambatan Kabel (V-Rod 2002-2003)
1Konektor [29A] dengan kabel oranye/putih
2Harnes lampu depan
Gambar 29. Lokasi Sambatan Kabel (V-Rod 2004)
Model V-Rod 2005-Setelahnya
CATATAN
Konektor listrik diidentifikasi dalam manual servis berdasarkan nomor dan huruf yang ditunjukkan di sini dalam tanda kurung.
1. Lihat Gambar 30 . Potong kabel harnes kendaraan utama oranye/putih dekat konektor pin lampu depan [38A] (1).
2. Tarik kabel oranye/putih saja dari saluran yang lebih panjang pada harnes kabel pembuka pintu garasi. Potong kelebihan panjang dari kabel oranye/putih agar mudah menjangkau kabel oranye/putih yang dipotong pada konektor [38A].
3. Lihat Gambar 22 . Konfigurasi sambatan “dua menjadi satu”. Ambil konektor sambatan bersegel merah (4) (lihat Gambar 34 , Item 4) dari kit. Sambatkan kabel daya harnes pembuka pintu garasi ke kabel harnes utama oranye/putih sesuai lampiran manual servis.
4. Lanjutkan ke bagian Sambungan Timah Putih untuk model spesifik.
1Konektor Lampu Depan [38]
Gambar 30. Lokasi Sambatan Kabel (V-Rod 2005-Setelahnya)
SAMBUNGAN TIMAH PUTIH KE LAMPU DEPAN
Model Dyna
1. Lihat Gambar 31. Gunakan pengencang kabel dari kit untuk mengencangkan sisa kabel pemancar (putih) dan menyalurkan ke kabel kendaraan yang mengarah ke lampu depan. Angkat tangki bahan bakar. Lewatkan kabel di bawah tangki menuju lampu depan.
Gambar 31. Rute Kabel Pemancar ke Lampu Depan (Dyna)
2. Rutekan kabel ke rumah lampu depan melalui gromet di belakang bagian bawah rumah.
CATATAN
Untuk merutekan kabel pemancar melalui gromet, dorong sepotong kabel yang dikaitkan melalui gromet dari bagian dalam rumah lampu depan.
Oleskan sedikit sabun cair, pembersih jendela, atau pelumas serbaguna untuk menarik kabel kembali melalui gromet dengan kabel yang dikaitkan.
Dalam beberapa penggunaan, kabel pemancar tidak pas melalui gromet rumah lampu depan. Dalam hal ini, sambatkan kabel di luar rumah lampu depan.
3. Potong kabel putih di rumah lampu depan beberapa inci dari konektor lampu depan. Potong kelebihan panjang dari kabel pemancar putih jika perlu. Potong hingga cukup memungkinkan kabel untuk terbuka dan menyambat kabel dengan mudah.
4. Lihat Gambar 22 . Konfigurasi sambatan “satu menjadi satu”. Ambil konektor sambatan bersegel biru (lihat Gambar 34 , Item 5) dari kit. Sambatkan kabel pemancar putih ke kabel lampu depan biru.
5. Lanjutkan ke bagian Pemrograman Penerima dan Pemancar untuk memprogram kontrol pembuka pintu garasi.
Model Softail
1.
CATATAN
Untuk Model Softail 2018-setelahnya Arahkan kabel putih ke atas tulang punggung rangka, hingga memasuki dekat bagian depan sadel dan keluar melalui gromet di sisi kiri rangka dekat kepala kemudi.
Gunakan pengencang kabel dari kit untuk mengencangkan sisa kabel pemancar (putih) dan menyalurkan ke kabel sepeda motor yang mengarah ke lampu depan. Lepas tangki bahan bakar. Lewatkan kabel di bawah tangki menuju lampu depan.
2.
CATATAN
Untuk model Softail 2011-setelahnya , kabel sirkuit lampu depan di harnes kendaraan berwarna biru dengan pelacak putih, bukan putih solid seperti dijelaskan dalam langkah-langkah berikut.
Potong kabel putih di sirkuit utama lampu depan harnes kendaraan pada titik yang dapat dijangkau di dekat bagian depan kendaraan. Potong kelebihan panjang dari kabel pemancar putih jika perlu. Potong kembali selubung kabel pemancar untuk membantu penyambatan. Potong hingga cukup memungkinkan kabel untuk terbuka dan menyambat kabel dengan mudah.
3. Geser saluran kabel anyaman (9) dari kit di atas kabel pemancar putih.
4. Lihat Gambar 22 . Konfigurasi sambatan “satu menjadi satu”. Ambil konektor sambatan bersegel biru (lihat Gambar 34 , Item 5) dari kit. Sambatkan kabel pemancar putih ke kabel lampu depan biru.
5. Geser saluran kabel anyaman di atas sambungan kabel putih setelah penyambatan.
6. Lanjutkan ke bagian Pemrograman Penerima dan Pemancar untuk memprogram kontrol pembuka pintu garasi.
Model Sportster
1. Rutekan sisa kabel pemancar (putih) dan saluran melalui bagian atas rangka di bawah tangki bahan bakar, dan hingga ke lampu depan. Gunakan pengencang kabel dari kit untuk mengencangkan kabel pada harnes.
2. Rutekan kabel ke rumah lampu depan melalui gromet di belakang bagian bawah rumah.
CATATAN
Untuk merutekan kabel pemancar melalui gromet, dorong sepotong kabel yang dikaitkan melalui gromet dari bagian dalam rumah lampu depan.
Oleskan sedikit sabun cair, pembersih jendela, atau pelumas serbaguna untuk menarik kabel kembali melalui gromet dengan kabel yang dikaitkan.
Dalam beberapa penggunaan, kabel pemancar tidak pas melalui gromet rumah lampu depan. Dalam hal ini, sambatkan kabel di luar rumah lampu depan. Lihat Gambar 32 .
1Kabel lampu depan putih
2Potong selubung kabel lampu depan untuk mengakses kabel putih
Gambar 32. Lokasi Sambungan Eksternal Opsional Kabel Putih (Model Sportster)
3. Potong kabel putih di rumah lampu depan beberapa inci dari konektor lampu depan. Potong kelebihan panjang dari kabel pemancar putih jika perlu. Potong hingga cukup memungkinkan kabel untuk terbuka dan menyambat kabel dengan mudah.
4. Lihat Gambar 22 . Konfigurasi sambatan “satu menjadi satu”. Ambil konektor sambatan bersegel biru (lihat Gambar 34 , Item 5) dari kit. Sambatkan kabel pemancar putih ke kabel lampu depan biru.
5. Lanjutkan ke bagian Pemrograman Penerima dan Pemancar untuk memprogram kontrol pembuka pintu garasi.
Model Touring atau Trike 2014-Setelahnya
1. Temukan konektor lampu depan ([38B] atau [38HB]) yang berisi kabel Biru/Putih. Buka kembali saluran secukupnya untuk memotong kabel Biru/Putih dari sirkuit lampu depan harnes kendaraan pada titik yang dapat diakses beberapa inci dari konektor lampu depan. Potong kelebihan panjang dari kabel pemancar putih jika perlu. Potong kembali selubung kabel pemancar untuk membantu penyambatan. Potong hingga cukup memungkinkan kabel untuk terbuka dan menyambat kabel dengan mudah.
2. Lihat Gambar 34. Geser saluran kabel anyaman (9) dari kit di atas kabel pemancar putih.
3. Lihat Gambar 22 . Konfigurasi sambatan “satu menjadi satu”. Ambil konektor sambatan bersegel biru (lihat Gambar 34 , Item 5) dari kit. Sambatkan kabel pemancar putih ke kabel lampu depan biru/putih.
4. Geser saluran kabel anyaman di atas sambungan kabel putih dan putih/biru setelah penyambatan.
5. Lanjutkan ke bagian Pemrograman Penerima dan Pemancar untuk memprogram kontrol pembuka pintu garasi.
Model V-Rod
1. Potong kabel putih di sirkuit lampu depan harnes kendaraan utama pada titik yang dapat diakses beberapa inci dari konektor lampu depan. Potong kelebihan panjang dari kabel pemancar putih jika perlu. Potong kembali selubung kabel pemancar untuk membantu penyambatan. Potong hingga cukup memungkinkan kabel untuk terbuka dan menyambat kabel dengan mudah.
2. Lihat Gambar 34. Geser saluran kabel anyaman (9) dari kit di atas kabel pemancar putih.
3. Lihat Gambar 22 . Konfigurasi sambatan “satu menjadi satu”. Ambil konektor sambatan bersegel biru (lihat Gambar 34 , Item 5) dari kit. Sambatkan kabel pemancar putih ke kabel lampu depan biru.
4. Geser saluran kabel anyaman di atas sambungan kabel putih setelah penyambatan.
5. Pasang penutup louver kiri depan ke sepeda motor.
6. Pasang penutup kotak udara jika sebelumnya dilepas.
7. Lanjutkan ke bagian Pemrograman Penerima dan Pemancar untuk memprogram kontrol pembuka pintu garasi.
PEMROGRAMAN PENERIMA DAN PEMANCAR
Setelah penerima dan pemancar dipasang, program penerima untuk menerima frekuensi pemancar. Proses ini memerlukan dua orang, tergantung seberapa jauh jarak penerima dari pemancar selama pemrograman.
CATATAN
Pastikan sakelar ignisi berada pada posisi OFF sebelum memasang sekring utama atau memasang kabel baterai negatif.
1. Model dengan sekring utama: Baca manual servis dan ikuti petunjuk untuk memasang sekring utama.
2. Model dengan pemutus arus utama: Baca manual servis dan ikuti petunjuk memasang kabel baterai negatif. Berikan lapisan tipis petroleum jelly atau bahan pencegah karat pada terminal baterai.
3. Pastikan LED merah menyala pada bagian depan penerima pembuka pintu garasi Harley-Davidson (di garasi), yang menandakan daya sudah masuk ke penerima.
4. Lihat Gambar 33 . Tekan dan tahan tombol SET (1) pada penerima pembuka pintu garasi Harley-Davidson. Lampu LED (2) pada penerima akan terus berkedip selama tombol SET ditekan.
1Tombol SET
2LED
Gambar 33. Penerima Pembuka Pintu Garasi. Tampilan Depan
5.
CATATAN
Saat penerima mendapatkan sinyal dari pemancar , lampu LED pada (pemancar?)(penerima?) mati.
Putar sakelar ignisi ke posisi ON, tetapi jangan nyalakan kendaraan. Operasikan sakelar lampu depan menggunakan salah satu dari rangkaian berikut ini:
a. Dengan lampu depan pada sorot DEKAT, alihkan ke JAUH. Alihkan ke DEKAT.
b. Dengan lampu depan pada sorot JAUH, alihkan ke DEKAT. Alihkan ke JAUH.
6. Lepas tombol SET pada penerima.
7. Pastikan semua lampu dan sakelar berfungsi dengan baik sebelum mengoperasikan sepeda motor.
8.
CATATAN
Pastikan tidak ada halangan di antara pemancar dan penerima sebelum menguji pengoperasian pembuka pintu garasi.
Saat pemancar diaktifkan dengan mengalihkan sakelar lampu depan, lampu LED merah pada pemancar menyala selama satu detik untuk menandakan bahwa pemancar berfungsi dengan benar.
Uji pengoperasian pembuka pintu garasi, dan lampu depan sorot jauh dan lampu depan dekat.
9. Putar sakelar ignisi ke posisi OFF.
10. Lihat manual servis. Pasang jok. Setelah memasang jok, pastikan jok terpasang kencang dengan menariknya ke atas.
11. Pasang komponen yang dilepas untuk pemasangan pemancar.
CARA MENGATASI MASALAH
Togel Sakelar Lampu Depan, tetapi Pembuka Pintu Garasi Tidak Berfungsi.
Nyalakan pengapian pada posisi ON:
  1. Apakah LED pada pemancar kendaraan berkedip ketika sakelar lampu depan diaktifkan?
  • YA Lanjutkan ke Langkah 2.
  • TIDAK Lanjutkan ke Langkah 3.
  1. Apakah LED pada penerima yang dipasang di garasi berkedip sekali ketika sinyal ditransmisikan dari kendaraan?
  • YA Lanjutkan ke Langkah 4.
  • TIDAK. Lanjutkan Mengatur Ulang Penerima .
  1. Pastikan sambungan yang benar ke kabel listrik kendaraan, kabel lampu depan dan arde.
  2. Lihat Pemasangan Penerima dekat bagian depan instruksi ini.
    1. Pastikan penerima telah terhubung dengan kabel ke unit pembuka pintu garasi yang ada.
    2. Pastikan penerima berada pada jarak yang cukup dari penerima pembuka pintu garasi yang ada.
Atur ulang Penerima
1. Cabut penerima dari stopkontak daya 110 Volt.
2. Tunggu sepuluh detik.
3. Tekan dan tahan tombol program pada penerima. Sambil menahan tombol, colokkan penerima ke stopkontak daya. LED merah berkedip cepat.
4. Lepaskan tombol program. Penerima sekarang diatur ulang, dan semua memori dihapus.
5. Program kembali penerima. Lihat bagian Pemrograman Penerima dan Pemancar sebelumnya dalam instruksi ini.
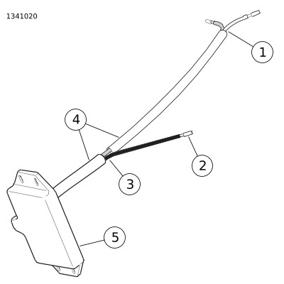
KOMPONEN SERVIS
Gambar 34. Komponen Servis, Kit Pembuka Pintu Garasi Dengan Kendali Jarak Jauh
Tabel 4. Komponen Servis, Kit Pembuka Pintu Garasi 91558-01B
Item
Deskripsi (Jumlah)
Nomor Komponen
1
Rakitan pemancar
Tidak dijual terpisah
2a
Kit perangkat keras (termasuk item 3-13)
91650-01A
3
Bantalan busa, perekat di kedua sisi.
2,54 x 3,81 cm (1.0 x 1.5 in)
Tidak dijual terpisah
4
Konektor sambatan bersegel, #18-20 AWG (merah) (2)
70585-93
5
Konektor sambatan bersegel, #14-16 AWG (biru) (2)
70586-93
6
Terminal Ring, #18-22 AWG, untuk baut diameter 5/16 inci
9859
7
Terminal Ring, #18-22 AWG, untuk baut diameter 1/4 inci
9858
8
Pengencang kabel, hitam.
20 cm (8 in) panjang (8)
10006
9
Saluran kabel, anyaman poliester,
76 mm (3 in) panjang
70599-02
10
Saluran kabel, #8 x
0,84 m (33 in) panjang (untuk Model V-Rod 2004-setelahnya/Touring 2014-setelahnya)
Tidak dijual terpisah
11
Sekring, jenis bilah, 2 Amp
54305-98
12
Kabel adaptor blok sekring, oranye/putih
70329-04
13
Kabel, insulasi, hitam, #20 AWG,
0,86 m (34 in) panjang
Tidak dijual terpisah
14
Rakitan penerima
91560-01
15
Rakitan kabel penerima
Tidak dijual terpisah
Tabel 5. Komponen Servis, Kit Pemancar 91561-01B
Item
Deskripsi (Jumlah)
Nomor Komponen
1
Rakitan pemancar
Tidak dijual terpisah
2b
Kit perangkat keras (termasuk item 3-9)
91650-01
3
Bantalan busa, perekat di kedua sisi.
2,54 x 3,81 cm (1.0 x 1.5 in)
Tidak dijual terpisah
4
Konektor sambatan bersegel, #18-20 AWG (merah) (2)
70585-93
5
Konektor sambatan bersegel, #14-16 AWG (biru) (2)
70586-93
6
Terminal Ring, #18-22 AWG, untuk baut diameter 5/16 inci
9859
7
Terminal Ring, #18-22 AWG, untuk baut diameter 1/4 inci
9858
8
Pengencang kabel, hitam.
20 cm (8 in) panjang (8)
10006
9
Saluran kabel, anyaman poliester,
76 mm (3 in) panjang
70599-02
Tabel 6. Komponen Servis, Kit Penerima 91562-01
Item
Deskripsi (Jumlah)
Nomor Komponen
14
Rakitan penerima
91560-01
15
Rakitan kabel penerima
Tidak dijual terpisah