מוטות דחיפים מתכווננים מהירי התקנה ובעלי ביצועים גבוהים
J063062019-05-09
כללי
מספר ערכה
17900058, 17900073, 17900081
דגמים
למידע אודות התאמה לדגם, עיין בסעיף P & A בקטלוג הקמעונאי או בפרק על חלקים ואביזרים של www.harley-davidson.com (אנגלית בלבד).
תכולת הערכה
ראה איור 5 ו- טבלה 1 .
אזהרה
הבטיחות של הרוכב והנוסע תלויה בהתקנה נכונה של הערכה הזאת. השתמש בהליכי הטיפול המתאימים שבמדריך. אם אינך מסוגל לבצע את הנוהל או אם אין לך הכלים הנכונים, בצע את ההתקנה בסוכנות Harley-Davidson. התקנה לא נאותה של הערכה הזאת עלולה לגרום למוות או פגיעה חמורה. (00333b)
הערה
ניתן לקבל מדריך טיפולים מסוכן Harley-Davidson שלך.
1גליל מוט הדחיפה של צינור פליטה מסומן כאגזוז.
2אום נעילה
3בורג כוונון
4גליל מוט דחיפה
5גליל מוט הדחיפה של היניקה מסומן כיניקה.
איור 1. מוט דחיף מתכוונן
התקנה
אזהרה
כדי למנוע התנעה בשוגג של הרכב העלולה לגרום למוות או פציעה חמורה, נתק תחילה את כבל המצבר השלילי (-) לפני שתמשיך. (00307a)
אזהרה
נתק תחילה את כבל הסוללה השלילי (-). אם הכבל החיובי (+) נוגע בהארקה כאשר הכבל השלילי (-) מחובר, עלולים להיווצר ניצוצות אשר יגרמו להתפוצצות המצבר, וכתוצאה מכך לגרום למוות או פגיעה חמורה. (00049a)
הערה
כאשר מסירים את המוטות הדחיפים המקוריים כמתואר בשלב 1 להלן, אין לחתוך את המוטות הדחיפים באמצעות שיטה שיוצרת פסולת מתכת משום שהיא עשויה להגיע, בסופו של דבר, אל המנוע (כגון שימוש במסור או כלי עבודה חשמליים) ולגרום לנזק חמור.
  1. הסר את מוטות הדחיפה באמצעות חותך בריח.
  2. מניחים את האופנוע על מעמד הידראולי מרכזי כאשר הגלגל האחורי מורם מעל האדמה. הסר את המצתים.
  3. ראה איור 4 . כאשר משולב הילוך השתמש בגלגל האחורי כדי לסובב את המנוע עד ששני הדחיפים של הצילינדר הקדמי נמצאים בנקודה הנמוכה ביותר שלהם (1).
  4. הערה
    ראה איור 2 . לצורך כוונון הנעילה, לא נעשה שימוש בחלקים התחתונים של בורג כוונון עם גובה תבריג מופחת ואזורים שטוחים מהוקצעים. יש להשתמש באום נעילה רק בקטע עם תבריגים מלאים.
  5. ראה איור 1 . שחרר את האום על כל המוטות הדחיפים והתאם אותם לאורך הקצר ביותר שלהם.
  6. ראה איור 3 ו איור 5 . התקן את המוטות הדחיפים של היניקה לתוך כיסויי המוט הדחיף. החלף טבעות O, כיסוי מוט דחיפה תחתון ואת מגן כיסוי הקפיץ ברכיבים חדשים המסופקים בערכה. ודא שקצה המתאם של מוט הדחיפה למטה.
  7. הכנס את המוט הדחיף (הנתון בתוך גליל המוט הדחיף) לתוך קדח המוט הדחיף הקדמי בצד היניקה של ראש הצילינדר (הקדח הקרוב ביותר לצילינדר) ולאחר מכן החלק את קצה המתאם של מוט הדחיף לתוך מכסה מרים השסתום.
  8. מלא אחר הליך הכוונון שלהלן כדי לכוונן את המוט הדחיף.
  9. הערה
    התאמת מוט הדחיפה חייבת להיעשות עם מנוע קר.
1גובה תבריג מופחת ואזורים שטוחים מהוקצעים
2תבריגים מלאים
איור 2. תבריגי בורג הכוונון
הליך הכוונון
  1. איור 4 . התאם את אורך מוט הדחיפה לטווח אפס ביד. ודא שהחלק העליון של גליל המוט הדחיף (5) נמצא בתוך הגביע בנדנד (6) ושהקצה התחתון של בורג הכוונון (3) נמצא בגביע של מרים השסתום (2).
  2. ראה איור 1 . מנע את סיבוב הבורג המתאם של מוט הדחיפה בעזרת מפתח ברגים 5/16 אינץ‘ סובב לאט את גליל מוט הדחיפה עם מפתח 1/2 אינץ‘, 2-1/2 סיבובים מלאים בכיוון השעון (הארכה של מוט הדחיפה) כפי שנראה מלמטה. (ישנה נקודה על החלק השטוח של גליל מוט הדחיפה היכולה לשמש כסימן.)
  3. אחוז את בורג הכוונון והדק את האום עם מפתח ברגים פתוח 1/2 אינץ‘ נגד גליל מוט הדחיפה. אם מוט הדחיפה מסתובב עם האום השתמש בשלושה מפתחות ברגים פתוחים, אחד כדי להחזיק את גליל מוט הדחיפה, אחד להחזיק את הבורג המתאם ואחד לסיבוב האום.
  4. חזור על שלבי ההתקנה 4 עד „הליך הכוונון“ שלב 3 עבור המוט הדחיף.
  5. הערה
    המתן עשר דקות לפני סיבוב המנוע לאחר כיוון מוטות הדחיפה הקדמי והאחורי של הצילינדר. המתנה זו מאפשרת ל-tappets להתרוקן ומונעת כיפוף מוטות הדחיפה או שסתומים. מוטות הדחיפה צריכים להסתובב בחופשיות והשסתומים חייבים להיות בתושבת שלהם (סגורים) לפני סיבוב המנוע.
  6. חכה 10 דקות. כאשר משולב הילוך, השתמש בגלגל האחורי כדי לסובב מנוע עד ששני ה-tappets של הצילינדר האחורי נמצאים בנקודה הנמוכה ביותר שלהם.
  7. חזור על השלבים התקנה שלב 4 עד „הליך הכוונון“ שלב 4 עבור הצילינדר האחורי.
  8. התקן את מחברי כיסוי הקפיץ של מוט הדחיפה על כיסויי מוט הדחיפה. התקן מצתים והחזר להילוך נייטרלי.
  9. חבר את כבלי הסוללה.
איור 3. מוט הדחיפה מותקן בכיסוי מוט הדחיפה
1הנקודה הנמוכה ביותר של גל הזיזים
2מרים שסתום
3בורג כוונון
4אום נעילה
5גליל מוט דחיפה
6נדנד
7מכסה המוט הדחיף, תחתון
איור 4. מיקום מוט הדחיף
אזהרה
חבר תחילה את הכבל החיובי (+) של המצבר. אם הכבל החיובי (+) נוגע בהארקה כאשר הכבל השלילי (-) מחובר, עלולים להיווצר ניצוצות אשר יגרמו להתפוצצות המצבר, וכתוצאה מכך לגרום למוות או פגיעה חמורה. (00068a)
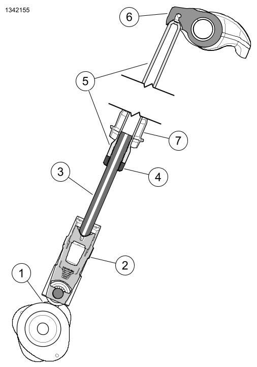
חלקי שירות
איור 5. חלקי שירות
טבלה 1. טבלת חלקי שירות
פריט
תיאור (כמות)
חלק
מספר
1
מכלול מוט דחיפה (יניקה) (2)
לא נמכר בנפרד
1
מכלול מוט דחיפה (פליטה) (2)
לא נמכר בנפרד
2
כיסוי מוט דחיפה, נמוך, כרום (4)
כיסוי מוט דחיפה, נמוך, שחור מבריק (4)
17938-83
לא נמכר בנפרד
3
מגן, כיסוי קפיץ המוט הדחיף, כרום (4)
לא נמכר בנפרד
4
טבעת O, כיסוי מוט דחיפה, עליון (4)
11293
5
טבעת O, כיסוי מוט דחיפה, תחתון (4)
11145A
6
טבעת O כיסוי מוט דחיפה, אמצעי (4)
11132A
7
צוואר גליל מוט דחיפה, כרום (4)
צוואר גליל מוט דחיפה, שחור מבריק (סט של 4)
17945-36B
17900076
8
דסקית (4)
6762D
פריטי OE ומעל פריט 7 צוואר גליל מוט דחיפה, כרום (בלבד) משמשים שוב במהלך ההרכבה הסופית
A
כיסוי מוט דחיפה עליון (2)
B
קפיץ כיסוי (2)