תאורת LED ויחידת תכנות
J067202021-05-28
כללי
מספרי ערכה
68000287, 68000288, 68000276
דגמים
דגמי Police Touring משנת 2014 ואילך
דרישות התקנה
נדרשת רכישה בנפרד של רתמת חיווט לתאורה קדמית (69202610).
השתמש ב מתכנת בקרת בחירת תבנית (מספר חלק:68000276) כדי לתכנת את תבנית ההבהוב.
ייתכן שיהיה צורך בחיווט שאותו יספק הלקוח, בהתאם למיקום הנבחר.
כדי להשתמש במחברי ציוד מקורי (OE) בגוף תאורה עצמאי, נדרשת בנוסף רכישה של הפריטים הבאים:
דגמי FLHTP
  • 72169-07 הדק - [1A] הדק 13
  • 73191-96 הדק - [299A] הדק 2
דגמי FLHP
  • 72511-07BK בית - [325A] בית מחבר
  • 72169-07 הדק - [325A] הדק 2
  • 72168-07 הדק - [146A] הדק 6
דרישות נוספות
לקוחות שרוצים להפעיל את אורות הסנוור חייבים לרכוש את הערכות הבאות ולפעול לפי הוראות ההתקנה בערכות:
  • 70255-02B
  • 71718-02
בשימוש עם ערכות תאורת LED
ניתן להשתמש בערכה זו עם הערכות ורתמות החיווט הבאות.
  • 68000279 (רכזת חיבורים לתאורה קדמית) - נדרש אם מתקינים את ארבע האורות הבאים.
  • 68000274 (אור צדדי אדום)
  • 68000275 (אור צדדי כחול)
  • 68000289, 68000289A (אור עם נורת Par 36 אדומה)
  • 68000290, 68000290A (אור עם נורת Par 36 כחולה)
תכולת הערכה
68000287
68000288
הכנה
1.
הערה
למידע על השלבים שלהלן, עיין במדריך הטיפולים לשנת הייצור והדגם של האופנוע שבו מבצעים את הטיפול.
הסר את הנתיך הראשי.
2. FLHTP: הסר את המעטפת החיצונית.
רכזת חיבורים ורתמת חיווט לכניסת הזנת מתח
התקנה
1. חבר את רתמת החיווט/כניסת הזנת המתח.
a. הסר את התיבה העליונה. עיין במדריך הטיפולים.
b. הסר את בורג הקוטב השלילי (-) של המצבר.
c. התקן את נעל הקוטב של 69202610 על בורג הקוטב השלילי (-) של המצבר.
d. התקן את בורג הקוטב השלילי (-) של המצבר. הדק.
מומנט סיבוב: 6.8–7.9 N·m (60–70 in-lbs)
e. הסר את הכיסוי שבצד השמאלי. עיין במדריך הטיפולים.
f. העבר את החוט האדום עם סופית הלהב מתחת לצינור השמאלי של המסגרת.
g. אם מתקינים את 68000289, 68000289A או 68000290, 68000290A, הסר את המשואה המהבהבת והתקן את סופית הלהב בשקע 86 של שקע ממסר אורות המרדף [69B].
h. אם אין מתקינים את 68000289, 68000289A או 68000290, 68000290A, השאר את המשואה המהבהבת במקומה וחבר לחוט בשקע 86.
i. התקן את כיסוי הצד השמאלי. עיין במדריך הטיפולים.
j. התקן את המכל העליון. עיין במדריך הטיפולים.
2. אם מתקינים מתג "מצב סנוור":
a. העבר את שני החוטים הלבנים דרך מארז רתמת החיווט הראשית כלפי מעלה דרך הבקרים של יד ימין.
b. חבר את שני החוטים הלבנים מרתמת החיווט/כניסת הזנת המתח לחוט ממתג ההפעלה/כיבוי המשני.
c. קבע את החוטים בין מארז רתמת החיווט הראשי למתג ההפעלה/כיבוי המשני.
d. ודא שהחוטים אינם מתוחים כאשר הכידון מופנה באופן מלא לימין או לשמאל עד סוף המהלך של המזלג.
3. התקן את רכזת החיבורים.
a. שים את רכזת החיבורים בקצה העליון של מארז מודול בקרה אלקטרוני (ECM) .
התקנה
דגמי FLHP
1. חבר והעבר את החיווט. סעיף חיווט
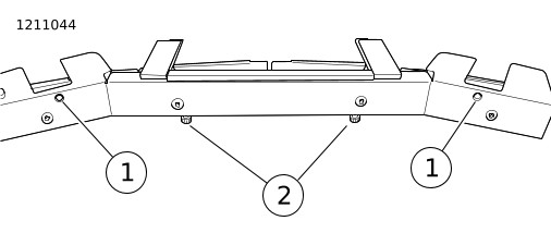
2. איור 1 אתר את הברגים של התמוכה המרכזית במגן הרוח.
איור 1. ברגים מרכזיים
3. איור 2 הסר את הבורג (2) ואת אום הכיפה (1) והשלך אותם.
1אום כיפה משושה
2בורג
איור 2. הסרת הברגים (מגן הרוח הוסר כדי לאפשר מבט ברור)
4. איור 3 שים את התאורה (5) מול הפתחים באביזרי החיבור של התמוכה המרכזית (6).
5. התקן את הבורג החדש (4) ואת הדסקית השטוחה החדשה (3) בצד הקדמי של הפתחים באביזרי החיבור של התמוכה המרכזית במגן הרוח.
6. התקן את דסקית הנעילה החדשה (2) ואת אום הכיפה החדש (1). הדק.
מומנט סיבוב: 2.3–2.8 N·m (20–25 in-lbs)
1אום כיפה משושה
2דסקית נעילה
3דסקית שטוחה
4בורג
5תאורה
6פתח באביזר חיבור של תמוכה מרכזית
איור 3. חיבור אביזרי ההתקנה והחיבור (מגן הרוח הוסר כדי לאפשר מבט ברור)
דגמי FLHTP
1. חבר והעבר את החיווט. סעיף חיווט
2. איור 13 אתר את התושבות (2) ואת הברגים (3).
3. איור 4 שים את התאורה באזור העבודה כשהברגים עם ראשי האחיזה (2) פונים כלפי מטה והחורים בתושבת (1) פונים כלפי מעלה.
1חור בתושבת (2)
2בורג עם ראש אחיזה (2)
איור 4. חורי תושבת ההתקנה
4. איור 5 שים את תושבת ההתקנה (1) בתוך הפתח כשהצד הפינתי של התושבת פונה כלפי מעלה.
הערה
בעת מיקום תושבת ההתקנה במקומה אסור למעוך את החיווט.
5. התקן את הבורג באופן רופף (2).
1תושבת התקנה
2בורג
איור 5. תושבת ובורג
6. איור 6 ודא שמתג פתח האוורור (2) במצב פתיחה.
7. שים את התאורה על פתח האוורור (3) כשהברגים עם ראשי האחיזה (1) פונים כלפי מעלה.
8. מקם את תושבות ההתקנה בצד שמאל ובצד ימין מעל התותב המתוברג (4).
1בורג עם ראש אחיזה
2מתג פתח אוורור
3פתח אוורור
4תותב מתוברג (2)
איור 6. מיקום התאורה
9. איור 7 ודא שתושבות ההתקנה (2) מונחות באופן מלא סביב התותב המתוברג (1).
1תותב מתוברג
2תושבת
איור 7. תושבת ותותב מתוברג (מוצג צד שמאל, צד ימין זהה)
10. איור 13 ודא שכל החוטים מועברים במיקום הנכון ומוחזקים היטב באמצעות אזיקון (6).
11. התקן את המעטפת החיצונית ואת מגן הרוח. עיין במדריך הטיפולים.
12. איור 4 הדק את בורג תושבת ההתקנה (2) כדי לחבר את התאורה למגן הרוח.
הפעלת פתח האוורור
פעולת האוורור נשלטת מעתה באמצעות שחרור של הבורג עם הראש האחיזה והחלקת כיסוי פתח האוורור ימינה או שמאלה.
1. פתיחת פתח האוורור.
a. שחרר את הבורג עם ראש האחיזה.
b. החלק את כיסוי פתח האוורור ימינה.
c. הדק את הבורג עם ראש האחיזה.
2. סגירת פתח האוורור.
a. שחרר את הבורג עם ראש האחיזה.
b. החלק את כיסוי פתח האוורור שמאלה.
c. הדק את הבורג עם ראש האחיזה.
תכנות התאורה
הערה
חובה לתכנת את התאורה לפני חיבור החיווט שלה לרכב.
בעת תכנות התאורה, מומלץ להבין את התפקודים של החוטים השונים הכלולים בערכה. ראה טבלה 1 לקבלת רשימה של חוטים אלה, המשותפים ל-68000287 ול-68000288.
טבלה 1. החוט לתכנות
חוט
מיקום
כמות
תפקיד
אדום
מחבר JAE
1
החשמל של הפנס
שחור
מחבר JAE
1
החשמל של הפנס
כחול
תאורה
2
בחירת דפוס
ירוק
תאורה
4/5 (בהתאם לדגם)
בחירת צבע
צהוב
מחבר JAE
1
לא בשימוש
כתום
מחבר JAE
1
לא בשימוש*
* חוט זה מיועד להפעלה של "תאורת סנוור" בנוהל הכנת החיווט, אך אסור להשתמש בו בנוהל התכנות.
טבלה 1 יש שני סטים את חוטים כחולים וירוקים המשמשים לבחירת תבנית ההבהוב והצבע, בהתאמה. הסיבה לכך היא ראשי תאורה נפרדים המחוברים בשתי תצורות נפרדות כדי לאפשר תבניות הבהוב הפועלות בשלבים .
הערה
שני גופי התאורה "הפועלים בשלבים" מתוכנתים כך שיפעלו בסדר הפוך באופן מסונכרן. לפיכך, תבניות ההבהוב שלהם יפעלו בשלבים מנוגדים זה לזה ב-180 מעלות.
איור 8 כדי לקבל ייצוג ויזואלי של תצורות ראשי התאורה האלה, השונות עבור 68000287 (1) ועבור 68000288 (2).
168000287
268000288
איור 8. תצורות ראשי התאורה
חיבור
1. העבר את הכבל במעלה מגן המנוע אל מארז רתמת החיווט הראשית, וקבע אותו למגן ולמסגרת.
2. המשך להעביר את הכבל דרך מארז רתמת החיווט הראשית אל רכזת החיבורים (2).
3. התקן את מחבר ה-JAE ברכזת החיבורים (2).
תכנות הצבע
ניתן לתכנת את התאורה להציג 7 שילובים שונים של צבעים, כפי שמוצג ב- טבלה 2 . יש לעשות זאת באופן ידני בעזרת החוטים הירוקים .
1. איור 9 חבר מקור חשמל 12 וולט למערך התאורה (נדרש לשם כך החוט המסופק מהסוכנות).
a. חבר את ההדק האדום במחבר ה-JAE אל החיובי.
b. חבר את ההדק השחור במחבר ה-JAE אל הארקה.
2. איור 9 חשוף את קצות החוטים הירוקים בתאורה.
3. חבר את שני החוטים לחוט בעל הקצה החופשי.
4. טבלה 2 יש לטפוח על הקצה החופשי של החוט בהדק השלילי במקור הזנת המתח במרווחים של שנייה אחת עד שיושג שילוב הצבעים המבוקש.
a. לאחר 7 טפיחות, התאורה תתחיל להציג מחדש את תבנית הצבעים החל מ-1.
איור 9. הגדרת תכנות הצבע
טבלה 2. שילובי הצבעים
צבע
מברזים
אדום
1
כחול
2
לבן
3
אדום/כחול
4
אדום/לבן
5
כחול/לבן
6
אדום/לבן/כחול
7
תכנות התבנית
ניתן לתכנת את התאורה להציג 24 תבניות שונות של הבהוב, כפי שמוצג ב- טבלה 3 . יש לעשות זאת באמצעות יחידת הבקרה לתכנות התבנית (PSCP) בעזרת החוטים הכחולים .
1. איור 10 חבר את מקור החשמל 12 וולט אל ה-PSCP.
a. חבר את חוט הארקה להדק GDN בהדקי ה-IPUT של ה-PSCP.
b. חבר את החוט החיובי להדק PWR בהדקי ה-INPUT של ה-PSCP.
2. איור 10 חבר את התאורה להדקי OUTPUT של ה-PSCP (יש צורך בחוט המסופק מהסוכנות).
a. חבר את ההדק האדום במחבר ה-JAE להדק PWR בהדקי OUTPUT של ה-PSCP.
b. חבר את ההדק השחור במחבר ה-JAE להדק GND בהדקי OUTPUT של ה-PSCP.
c. אם קיימת הפעלה בשלבים: חשוף את קצות החוטים הכחולים בתאורה וחבר חוט כחול אחד להדק P.SEL בהדקי OUTPUT של ה-PSCP. המשך לשלב 3.
d. אם לא קיימת הפעלה בשלבים: חשוף את קצות החוטים הכחולים בתאורה וחבר את שני החוטים הכחולים להדק P.SEL בהדקי OUTPUT של ה-PSCP. המשך לשלב 3.
3. טבלה 3 סובב את הכפתור PATTERN SELECT/RESET בכיוון השעון כדי לבחור את המספר של התבנית המבוקשת.
a. אם קיימת הפעלה בשלבים: שלב 1 (Ph1) המיועד לחוט כחול אחד ושלב 2 (Ph2) לחוט הכחול השני. המשך לשלב 4.
b. אם לא קיימת הפעלה בשלבים: המשך לשלב 4.
4. לחץ על הכפתור START.
a. ה-PSCP יעבור על התבניות עד שהוא יגיע לתבנית המבוקשת. התאורה תמשיך להאיר למשך שניות אחדות כדי להציג את התבנית שתוכנתה.
b. אם קיימת הפעלה בשלבים: נתק את החוט הכחול הנוכחי וחבר את החוט הכחול השני להדק P.SEL. חזור על שלבים 3 ו-4.
c. אם לא קיימת הפעלה בשלבים: המשך לשלב 5.
5. לאחר תכנות התבנית המבוקשת, נתק את מערך התאורה מה-PSCP.
a. חתוך את הקצוות החשופים של החוטים הכחולים.
b. תחוב את החוטים הכחולים והירוקים לתוך התאורה.
1הארקה
2כניסת 12 וולט
3אל החוט(ים) הכחול(ים) במערך התאורה
4אל החוט השחור במחבר ה-JAE
5אל החוט האדום במחבר ה-JAE
איור 10. הגדרות תכנות התבנית
קודי תבנית ההבהוב
טבלה 3. קודי תבנית ההבהוב
דפוס הבהוב
תדירות
שלב
קוד PSCP
תקף לכל 7 שילובי הצבעים
הבהוב בודד
75 FPM
שלב 1
1
שלב 2
2
120 הבהובים בדקה
שלב 1
3
שלב 2
4
75 FPM
שלב 1
5
שלב 2
6
הבהוב כפול
75 FPM
שלב 1
7
שלב 2
8
120 FPM
שלב 1
9
שלב 2
10
הבהוב משולש
75 FPM
שלב 1
11
שלב 2
12
הבהוב מרובע
75 FPM
שלב 1
13
שלב 2
14
150 FPM
שלב 1
15
שלב 2
16
תקף לשילובי הצבעים 1 עד 3 בלבד
הבהוב בודד CA 13
75 FPM
שלב 1
17
שלב 2
הבהוב כפול CA 13
75 FPM
שלב 1
18
שלב 2
הבהוב מרובע NFPA
75 FPM
שלב 1
19
שלב 2
ModuFlash
לא רלוונטי
שלב 1
20
שלב 2
2 הבהובים כפולים, 2 הבהובים מרובעים
לא רלוונטי
שלב 1
21
שלב 2
4 הבהובים בודדים, שני הבהובים משולשים
לא רלוונטי
שלב 1
22
שלב 2
Autorun
לא רלוונטי
שלב 1
23
שלב 2
פעולה רצופה
(יש להפעיל עבור הערכות 68000289A ו-68000290A בלבד )
לא זמין (75 הבהובים בדקה)
שלב 1
24
שלב 2
עצות לשימוש ב-PSCP
היעזר בעצות הבאות בעת תכנות התאורה באמצעות PSCP:
  • כדי להציג את תבנית ההבהוב הנוכחית, לחץ על הלחצן DEMO . מערך התאורה יאיר למשך שניות אחדות.
  • לחץ על הכפתור PATTERN SELECT/RESET כדי לאפס את מחוון מספר התבנית ל-0.
  • הערה
    פעולה זו איננה מאפסת את תבנית ההבהוב או הצבעים של מערך התאורה.
  • כדי לאפס את תבנית ההבהוב של התאורה, בחר את מספר תבנית 24 ובחר START .
  • הערה
    נכון לרגע זה, לא ניתן לאפס את הצבעים בדרך זו.
חיווט
הערה
  • חובה לתכנת את התאורה לפני חיבור החיווט שלה לרכב.
  • עיין במדריך האבחון האלקטרוני של השנה והדגם הישימים לרכב שבו יותקן מערך התאורה לקבלת פרטים על מיקום המחבר ותיאור של המחבר.
הפעלת אורות הסנוור
1. התקן את הערכה 70255-02B או 71718-02. פעל לפי הוראות ההתקנה בערכות.
2. אתר את החוט של הדק 2 (W) במחבר JAE (‏5).
3. חבר את המתג (מס' חלק 71718-02) (7) לחוט אורות הסנוור (W) (6).
הערה
ייתכן שאורכי החוטים יהיו שונים מרכב לרכב בהתאם לניתוב החיווט ומיקום המודולים.
4. הצד של כניסת הזנת המתח במתג יתחבר יחד עם חיבור מהבהבי החירום (9).
ללא אורות סנוור
1. אתר את החוט של הדק 2 (W) במחבר JAE (‏5).
2. חמם את הצינור המתכווץ בחום (8) מעל החוט הלבן שאינו בשימוש. אסור לחבר לחיבור מהבהבי החירום (9).
איור 11. אפשרויות בתאורת ה-LED הקדמית
סיום
1.
הערה
למידע על השלבים שלהלן, עיין במדריך הטיפולים לשנת הייצור והדגם של האופנוע שבו מבצעים את הטיפול.
התקן את הנתיך הראשי. עיין במדריך הטיפולים.
חלקי שירות
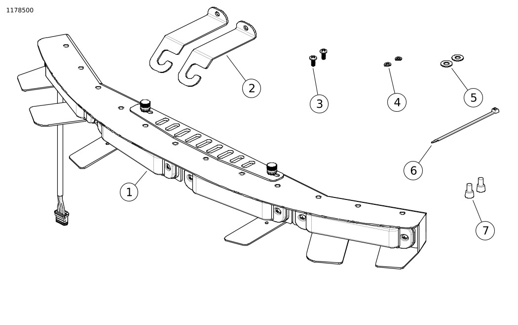
ערכה 68000287
איור 12. חלקי שירות - ערכת תאורה (מס' חלק )
טבלה 4. חלקי שירות - ערכת תאורה (מס' חלק 68000287)
פריט
תיאור
כמות
מספר חלק
1
תאורה
1
לא נמכר בנפרד
2
בורג, פיליפס 1/4 ‏x ‏20 x‏ 1
2
3
דסקית שטוחה, 1/4
2
4
דסקית נעילה, 1/4
2
5
אום, כיפה 1/4 ‏x ‏20
2
6
רצועת הכבל
1
7
מחבר שזירה
2
ערכה 68000288
איור 13. חלקי שירות - ערכת תאורה (מס' חלק 68000288)
טבלה 5. חלקי שירות - ערכת תאורה (מס' חלק 68000288)
פריט
תיאור
כמות
מספר חלק
1
תאורה
1
לא נמכר בנפרד
2
מסגרת ההרכבה
2
3
בורג, פיליפס 6 ‏x ‏32 x‏ ‎.375
2
4
דסקית נעילה, #6
2
5
דסקית שטוחה, #10
2
6
רצועת הכבל
1
7
מחבר שזירה
2