Lampu LED dan Kotak Pemogram
J067202021-05-28
UMUM
Nomor Kit
68000287, 68000288, 68000276
Model
Model Police Touring 2014 dan Setelahnya
Persyaratan Pemasangan
Diperlukan pembelian Terpisah dari Harnes Daya Lampu Depan (69202610).
Gunakan PATTERN SELECT CONTROL PROGRAMMER (Nomor Komponen:68000276) untuk memprogram pola lampu kilat.
Kabel yang disediakan pelanggan mungkin diperlukan tergantung pada lokasi yang dipilih.
Untuk menggunakan konektor Peralatan Asli (OE) dalam lampu yang berdiri sendiri, Anda harus membeli item berikut:
Model FLHTP
  • Terminal 72169-07 - [1A] terminal 13
  • Terminal 73191-96 - [299A] terminal 2
Model FLHP
  • Kotak 72511-07BK - [325A] rumah konektor
  • Terminal 72169-07 - [325A] terminal 2
  • Terminal 72168-07 - [146A] terminal 6
Persyaratan Tambahan
Pelanggan yang ingin mengaktifkan lampu terang benderang (takedown) harus membeli kit berikut dan mengikuti petunjuk pemasangan yang terdapat di dalamnya:
  • 70255-02B
  • 71718-02
Digunakan dengan Kit LED
Kit ini dapat digunakan dengan kit dan harnes berikut.
  • 68000279 (Hub Penghubung Lampu Depan) - diperlukan untuk pemasangan dengan empat lampu berikut.
  • 68000274 (Penanda Samping Merah)
  • 68000275 (Penanda Samping Biru)
  • 68000289, 68000289A (Par Merah 36)
  • 68000290, 68000290A (Par Biru 36)
Isi Kit
68000287
Lihat Gambar 12 dan Tabel 4
68000288
Lihat Gambar 13 dan Tabel 5
PERSIAPAN
1.
CATATAN
Baca manual servis dari tahun dan model kendaraan yang sedang diservis untuk langkah-langkah berikut ini.
Lepas sekring utama.
2. FLHTP: Lepaskan fairing luar.
HUB PENGHUBUNG DAN HARNES INPUT DAYA
PASANG
1. Sambungkan harnes daya/input.
a. Lepas caddy atas. Lihat manual servis.
b. Lepaskan baut terminal baterai negatif (-) .
c. Pasang terminal cincin 69202610 ke baut terminal baterai negatif (-).
d. Lepaskan baut terminal baterai negatif (-). Kencangkan.
Torque: 6,8–7,9 N·m (60–70 in-lbs)
e. Lepas penutup samping kiri. Lihat manual servis.
f. Arahkan kabel merah dengan terminal pipih di bawah rel rangka kiri.
g. Jika memasang 68000289, 68000289A atau 68000290, 68000290A, lepaskan flasher dan pasang terminal pipih ke rongga 86 dari rongga relai pemantauan [69B].
h. Jika tidak memasang 68000289, 68000289A atau 68000290, 68000290A, biarkan flasher di tempatnya dan sambungkan dengan kabel di rongga 86.
i. Pasang penutup samping kiri. Lihat manual servis.
j. Pasang caddy atas. Lihat manual servis.
2. Jika memasang sakelar Mode Lampu Terang Benderang:
a. Rutekan dua kabel putih melalui kotak harnes utama dan lanjutkan ke atas melalui kontrol tangan kanan.
b. Sambungkan kedua kabel putih dari harnes kabel daya/input ke kabel dari sakelar ON/OFF tambahan.
c. Kencangkan kabel di antara kotak harnes utama dan sakelar ON/OFF tambahan.
d. Pastikan kabel kopling tidak menegang ketika setang diputar sepenuhnya hingga mencapai batas putaran garpu ke kiri atau ke kanan.
3. Pasang sambungan hub.
a. Tempatkan hub penghubung di atas Modul Kontrol Elektronik (ECM) caddy atas.
PASANG
Model FLHP
1. Sambungkan dan rutekan kabel. Sistem kabel
2. Gambar 1 Tempatkan baut penopang tengah pada kaca depan.
Gambar 1. Sekrup Tengah
3. Gambar 2 Lepaskan sekrup (2) dan mur dop (1), lalu sisihkan.
1Mur acorn
2Sekrup
Gambar 2. Pelepasan Sekrup (Lepaskan Pelindung Agar Mudah Dilihat)
4. Gambar 3 Sejajarkan lampu (5) dengan bukaan penyangga tengah perangkat (6).
5. Pasang sekrup baru (4) dan cincin pipih baru (3) ke depan lubang penopang perangkat tengah kaca depan.
6. Pasang cincin pengunci baru (2) dan mur dop baru (1). Kencangkan.
Torque: 2,3–2,8 N·m (20–25 in-lbs)
1Mur acorn
2Cincin pengunci
3Cincin pengunci datar
4Sekrup
5Lampu
6Lubang penopang perangkat tengah
Gambar 3. Pemasangan perangkat (Pelindung Dilepas Agar Dilihat)
Model FLHTP
1. Sambungkan dan rutekan kabel. Sistem kabel
2. Gambar 13 Tempatkan braket (2) dan sekrup (3).
3. Gambar 4 Letakkan lampu di area kerja dengan roda kontrol ibu jari (2) menghadap ke bawah dan lubang di braket (1) menghadap ke atas.
1Lubang braket (2)
2Roda kontrol ibu jari (2)
Gambar 4. Lubang Dudukan Braket
4. Gambar 5 Tempatkan braket pemasangan (1) ke dalam lubang dengan sudut braket menghadap ke atas.
CATATAN
Saat memosisikan braket pemasangan, Jangan Sampai kabel tidak terjepit.
5. Pasang sekrup secara longgar (2).
1Braket pemasangan
2Sekrup
Gambar 5. Braket dan Sekrup
6. Gambar 6 Pastikan sakelar ventilasi (2) dalam posisi terbuka.
7. Letakkan lampu di atas ventilasi (3) dengan roda kontrol ibu jari (1) menghadap ke atas.
8. Sejajarkan braket pemasangan kiri dan kanan di atas insert berulir (4).
1Roda kontrol ibu jari
2Sakelar ventilasi
3Ventilasi
4Insert berulir (2)
Gambar 6. Penempatan Lampu
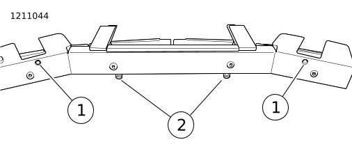
9. Gambar 7 Pastikan braket pemasangan (2) terpasang sepenuhnya di sekitar insert berulir (1).
1Insert berulir
2Braket
Gambar 7. Braket dan Insert Berulir (Sisi Kiri Ditunjukkan, Kanan Serupa)
10. Gambar 13 Periksa apakah semua perutean kabel berada di tempatnya dan ditahan dengan benar dengan pengikat kabel (6).
11. Pasang bagian luar fairing dan kaca depan. Lihat manual servis.
12. Gambar 4 Kencangkan sekrup braket pemasangan (2) untuk menahan lampu ke kaca depan.
Pengoperasian Ventilasi
Pengoperasian ventilasi kini dikendalikan dengan melonggarkan roda kontrol ibu jari dan menggeser penutup ventilasi ke kanan atau kiri.
1. Untuk membuka ventilasi.
a. Longgarkan roda kontrol ibu jari.
b. Geser penutup ventilasi ke kanan.
c. Kencangkan roda kontrol ibu jari.
2. Untuk menutup ventilasi.
a. Longgarkan roda kontrol ibu jari.
b. Geser penutup ventilasi ke kiri.
c. Kencangkan roda kontrol ibu jari.
Lampu Pemrograman
CATATAN
Lampu harus diprogram sebelum menghubungkannya ke kendaraan.
Saat memprogram lampu, akan sangat membantu untuk memahami fungsi berbagai kabel yang disertakan dalam kit. Lihat Tabel 1 untuk daftar kabel ini, yang universal untuk 68000287 dan 68000288.
Tabel 1. Kabel untuk Pemrograman
Kabel
Lokasi
Jumlah
Fungsi
Merah
Konektor JAE
1
Daya Lampu
Hitam
Konektor JAE
1
Daya Lampu
Biru
Lampu
2
Pilihan Pola
Hijau
Lampu
4/5 (per model)
Pilih Warna
Kuning
Konektor JAE
1
Tidak Digunakan
Oranye
Konektor JAE
1
Tidak Digunakan*
* Kabel ini digunakan untuk mengaktifkan Terang Benderang selama proses pemasangan kabel, tetapi tidak digunakan selama proses pemrograman.
Tabel 1 Ada dua set kabel biru dan hijau yang digunakan untuk memilih pola dan warna lampu kilat. Ini karena masing-masing kepala lampu terhubung dalam dua konfigurasi terpisah, memungkinkan pola lampu kilat berfase .
CATATAN
Kedua cahaya "berfase" diprogram untuk menyinkronkan secara terbalik. Oleh karena itu, pola lampu kilat akan keluar dari fase 180 derajat.
Gambar 8 untuk representasi visual dari konfigurasi kepala lampu ini, yang berbeda untuk 68000287 (1) dan 68000288 (2).
168000287
268000288
Gambar 8. Konfigurasi Kepala Lampu
HUBUNGKAN
1. Rutekan kabel melalui pelindung motor ke kotak harnes dan kencangkan ke pelindung dan rangka.
2. Lanjutkan perutean kabel melalui kotak harnes utama untuk hub penghubung (2).
3. Pasang konektor JAE ke hub penghubung (2).
Pemrograman warna
Cahaya dapat diprogram untuk menampilkan 7 warna berbeda, seperti yang ditunjukkan pada Tabel 2 . Ini harus dilakukan secara manual menggunakan kabel hijau .
1. Gambar 9 Hubungkan sumber daya 12V ke susunan lampu (memerlukan kabel yang disediakan dealer).
a. Hubungkan terminal MERAH dari konektor JAE ke positif.
b. Hubungkan terminal HITAM dari konektor JAE ke pembumian.
2. Gambar 9 Lepaskan ujung kabel HIJAU pada lampu.
3. Hubungkan kedua kabel ke kabel dengan ujungnya longgar.
4. Tabel 2 Sentuh ujung kabel yang longgar ke terminal negatif sumber daya dengan interval 1 detik hingga Anda mendapatkan kombinasi warna yang diinginkan.
a. Setelah 7 sentuhan, lampu akan mengatur ulang pola warna kembali ke 1.
Gambar 9. Pengaturan Pemrograman Warna
Tabel 2. Kombinasi Warna
Warna
Pencabangan Kabel
Merah
1
Biru
2
Putih
3
Merah/Biru
4
Merah/Putih
5
Biru/Putih
6
Merah/Putih/Biru
7
Pemrograman Pola
Lampu dapat diprogram untuk menampilkan 24 pola lampu kilat berbeda seperti yang ditunjukkan pada Tabel 3 . Ini harus dilakukan dengan PSCP (Pemrogram Kontrol Pilihan Pola) kabel menggunakan biru.
1. Gambar 10 Sambungkan sumber daya 12V ke PSCP.
a. Hubungkan kabel arde ke terminal GDN dari terminal IPUT PSCP.
b. Hubungkan kabel positif ke terminal PWR (daya) dari terminal INPUT PSCP.
2. Gambar 10 Hubungkan lampu ke terminal OUTPUT PSCP (memerlukan kabel yang disediakan dealer).
a. Hubungkan terminal MERAH dari konektor JAE ke terminal PWR (daya) dari terminal OUTPUT PSCP.
b. Hubungkan terminal HITAM dari konektor JAE ke terminal GND dari terminal OUTPUT PSCP.
c. Untuk Berfase: Potong ujung kabel biru ke lampu dan hubungkan salah satu kabel biru ke terminal P.SEL pada terminal OUTPUT PSCP. Lanjutkan ke langkah 3.
d. Untuk Non-Berfase: Potong ujung kabel biru ke lampu dan sambungkan kedua kabel biru ke terminal P.SEL pada terminal OUTPUT PSCP. Lanjutkan ke langkah 3.
3. Tabel 3 Putar kenop PILIH/ATUR ULANG POLA searah jarum jam untuk memilih nomor pola yang diinginkan.
a. Berfase: Ph1 ditujukan ke kabel biru dan Ph2 ke kabel biru lainnya. Lanjutkan ke langkah 4.
b. Non-Fase: Lanjutkan ke langkah 4.
4. Tekan tombol START (nyalakan).
a. PSCP akan meningkatkan pola sampai ke pola yang diinginkan. Lampu akan tetap menyala selama beberapa detik untuk menampilkan pola terprogram.
b. Berfase: Lepaskan kabel biru saat ini dan sambungkan kabel biru lain ke terminal P.SEL. Ulangi langkah 3 dan 4.
c. Non-Fase: Lanjutkan ke langkah 5.
5. Setelah pola yang diinginkan diprogram, lepaskan sambungan susunan lampu dari PSCP.
a. Potong ujung kabel biru yang terbuka.
b. Masukkan kabel biru dan hijau ke lampu.
1Arde
2Input 12V
3Untuk kabel biru pada susunan lampu
4Untuk kabel hitam pada konektor JAE
5Untuk kabel merah pada konektor JAE
Gambar 10. Pengaturan Pemrograman Pola
KODE POLA LAMPU KILAT
Tabel 3. Kode Pola Lampu Kilat
Pola Nyala Lampu
Frekuensi
Fase
Kode PSCP
Berlaku untuk KETUJUH Kombinasi Warna
Lampu Denyar Tunggal
75 FPM
Fase 1
1
Fase 2
2
120 FPM
Fase 1
3
Fase 2
4
75 FPM
Fase 1
5
Fase 2
6
Lampu Denyar Dobel
75 FPM
Fase 1
7
Fase 2
8
120 FPM
Fase 1
9
Fase 2
10
Lampu Denyar Tripel
75 FPM
Fase 1
11
Fase 2
12
Lampu Denyar Rangkap Empat
75 FPM
Fase 1
13
Fase 2
14
150 FPM
Fase 1
15
Fase 2
16
HANYA berlaku untuk kombinasi warna 1 sampai 3
Nyala Lampu Tunggal CA 13
75 FPM
Fase 1
17
Fase 2
Nyala Lampu Dobel CA 13
75 FPM
Fase 1
18
Fase 2
Nyala Lampu Segi Empat NFPA
75 FPM
Fase 1
19
Fase 2
ModuFlash
n/a
Fase 1
20
Fase 2
2 Dobel, 2 Nyala Lampu Segi Empat
n/a
Fase 1
21
Fase 2
4 Tunggal, 2 Nyala Lampu Tripel
n/a
Fase 1
22
Fase 2
Autorun
n/a
Fase 1
23
Fase 2
Menyala Terus Menerus
(Aktifkan untuk Kit 68000289A dan 68000290A SAJA )
n/a / (75FPM)
Fase 1
24
Fase 2
TIPS PSCP
Gunakan tips berikut saat memprogram lampu dengan PSCP:
  • Untuk menampilkan pola lampu kilat yang sedang diprogram, tekan tombol DEMO . Ini hanya akan menyalakan susunan lampu selama beberapa detik.
  • Tekan PILIH/ATUR ULANG POLA untuk mengatur ulang indikator nomor pola ke 0.
  • CATATAN
    Ini tidak mengatur ulang pola atau warna lampu kilat susunan lampu.
  • Untuk mengatur ulang pola lampu kilat, pilih nomor pola 24 dan pilih MULAI .
  • CATATAN
    Saat ini, warna tidak dapat diatur ulang menggunakan metode ini.
Sistem kabel
CATATAN
  • Lampu harus diprogram sebelum menghubungkannya ke kendaraan.
  • Lihat Manual Diagnostik Elektronik untuk tahun dan model kendaraan tempat memasang serangkaian lampu, untuk lokasi konektor dan deskripsi konektor yang terperinci.
Fungsikan Lampu Terang Benderang
1. Pasang kit 70255-02B atau 71718-02. Ikuti petunjuk pemasangan dalam kit.
2. Tempatkan kabel terminal 2 (W) konektor JAE (5).
3. Sakelar penghubung (P/N 71718-02) (7) ke kabel (6) lampu terang benderang (W).
CATATAN
Panjang semua kabel dapat bervariasi dari kendaraan ke kendaraan tergantung pada perutean kabel dan lokasi modul.
4. Sisi input daya sakelar akan terhubung dengan sambungan lampu kilat darurat (9).
Tanpa Lampu Terang Benderang
1. Tempatkan kabel terminal 2 (W) konektor JAE (5).
2. Selang Susut Panas (8) di atas kabel putih tidak digunakan. JANGAN menghubungkan ke sambungan lampu kilat darurat (9).
Gambar 11. Pilihan Lampu Depan LED
SELESAI
1.
CATATAN
Baca manual servis dari tahun dan model kendaraan yang sedang diservis untuk langkah-langkah berikut ini.
Pasang sekring utama. Lihat manual servis.
KOMPONEN SERVIS
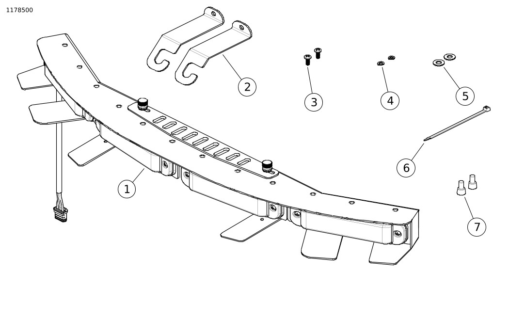
Kit 68000287
Gambar 12. Komponen Servis - Kit Lampu (P/N)
Tabel 4. Komponen Servis - Kit Lampu (P/N 68000287)
Item
Deskripsi
JML
Nomor Komponen
1
Lampu
1
Tidak Dijual Terpisah
2
Sekrup, Phillips 1/4 x 20 x 1
2
3
Cincin pipih, 1/4
2
4
Cincin Pengunci, 1/4
2
5
Mur, dop 1/4 x 20
2
6
Tali strap kabel
1
7
Konektor penghubung
2
Kit 68000288
Gambar 13. Komponen Servis - Kit Lampu (P/N 68000288)
Tabel 5. Komponen Servis - Kit Lampu (P/N 68000288)
Item
Deskripsi
JML
Nomor Komponen
1
Lampu
1
Tidak Dijual Terpisah
2
Braket Pemasangan
2
3
Sekrup, Phillips 6 x 32 x .375
2
4
Cincin Pengunci, #6
2
5
Cincin pipih, #10
2
6
Tali strap kabel
1
7
Konektor penghubung
2