ערכת עיגון קדמית נתיקה
J037052022-05-26
מידע כללי
טבלה 1. מידע כללי
ערכות
כלים מוצעים
רמת המיומנות(1)
זמן
53803-06
משקפי בטיחות, מפתח מומנט
1.5 שעות
(1) נדרש הידוק עד לערך המומנט או כלים וטכניקות מתונים אחרים
תכולת הערכה
איור 1. תכולת הערכה: ערכת עיגון קדמית המותקנת לבד
טבלה 2. תכולת הערכה: ערכות חלקי עיגון מסוג Holdfast ‏
פריט
כמות
תיאור
מספר חלק
הערות
1
1
תושבת התקנה, צד ימין
53759-96B
1
תושבת התקנה, צד שמאל (לא מוצגת בתמונה)
53758-96C
2
1
רצועת הכבל
10073
3
2
נקודת עיגון
53684-96A
4
2
בורג, ראש כפתור, שקע משושה 3/8-16 x 2 אינץ‘ (51 מ"מ)
4215
28.5–37 N·m (21–27 ft-lbs)
5
6
דסקית, מוקשחת, 3/8 אינץ‘ קוטר פנימי, בעובי 1/8 אינץ‘ (3.2 מ"מ)
6532
6
2
דסקית שטוחה, כרום, 3/8 אינץ‘ קוטר פנימי, בעובי 1/16 אינץ‘ (1.6 מ"מ)
94067-90T
7
2
אום נעילה משושה, Nylok, דק, 3/8-16
7667
8
4
בורג מכסה, ראש משושה, 5/16-18 x 1 אינץ‘ (25.4 מ"מ)
4017
20.3–25.8 N·m (15–19 ft-lbs)
9
2
בורג מכסה, ראש משושה, 1/4-20 x 7/8 אינץ‘ (22.2 מ"מ)
3802W
לכל הדגמים מלבד FLHRC/I ו-FLHRS/I 13.6–19 N·m (10–14 ft-lbs)
2
בורג מכסה, ראש משושה, 1/4-20 x 1-1/2 אינץ‘ (38.1 מ"מ)
2872W
לדגמי FLHRC/I ו-FLHRS/I 13.6–19 N·m (10–14 ft-lbs)
10
2
תותב מרווח, 1/4 אינץ‘ קוטר פנימי, בעובי 1/8 אינץ‘ (3.2 מ"מ)
5735
11
2
תותב מרווח, 1/4 אינץ‘ קוטר פנימי, בעובי 9/16 אינץ‘ (14.3 מ"מ)
5839
לדגמי FLHRC/I ו-FLHRS/I
12
2
בורג, ראש כפתור, שקע משושה 5/16-18 x 1 אינץ‘
94394-92T
20.3–25.8 N·m (15–19 ft-lbs)
13
2
דסקית, שטוחה
94066-90T
14
2
תותב, נקודת עיגון - עם מגרעות
53123-96
פריטים שהוזכרו בטקסט אבל אינם נכללים בערכה:
A
תושבת תמיכה מקורית לתיק אוכף
B
תושבת לנקודת עיגון אחורית מערכה 53804-06
C
נקודת עיגון מערכה 53804-06
D
בורג עם ראש כפתור ארוך באורך 2-1/4 אינץ‘ (57 מ“מ) ודסקית נעילה מערכה 53804-06
E
דסקית בעובי 0.385 אינץ‘ (9.8 מ“מ) מערכה 53804-06
F
דסקית מקורית
G
תושבת התקנה מקורית לתיק אוכף
הערות:
H
חובה לחבר את נקודת העיגון בכל צד בחור הקדמי (לכיוון החזית) בדגמים משנת 1997 ומעלה, ובחור האחורי (לכיוון הצד האחורי) בדגמים משנת 1994 עד 1996.
J
בדגמים משנת 1997 עד 2001, יש להתקין את שני מתאמי האוויר בשני החורים התחתונים.
בדגמים משנת 2002, יש להתקין את מתאם האוויר היחיד בחור הקדמי (לכיוון החזית) שבתושבת הימנית.
בדגמים משנת 2003 ומעלה, יש למקם מחדש את מתאם האוויר בחור הקדמי בתושבת השמאלית.
K
תושבת מערכה למדף מטען או Sissy Bar זקוף.
ליטר
אום נעילה מערכה 53658-05 (לדגמים משנים 1994 עד 1996).
הלחם את האום לתושבת התמיכה של תיק האוכף (A) (לדגמים משנת 1997 ומעלה).
מ.
הלחם את האום לתושבת התמיכה של תיק האוכף (A).
N
2
תותב, נקודת עיגון - ללא מגרעת (מערכה 53660-05, לדגמים משנים 1994 עד 1996).
O
2
אום (מערכה 53660-05, לדגמים משנים 1994 עד 1996).
הערה
יש לוודא שכל התכולה נמצאת בערכה לפני שמתקינים אותה או שמסירים פריטים מכלי הרכב.
כללי
דגמים
למידע אודות התאמת דגם עיין בסעיף P & A בקטלוג הקמעונאי או בפרק על חלקים ואביזרים של www.harley-davidson.com (אנגלית בלבד).
ודא כי אתה משתמש בגירסה העדכנית ביותר של גיליון ההוראות אשר זמין ב: www.harley-davidson.com/isheets
יש ליצור קשר עם מרכז התמיכה ללקוחות של Harley-Davidson בטלפון 1-800-258-2464 (ארה“ב בלבד) או 1-414-343-4056.
הערה
איור 2 מראה את מיקומי החיבור לערכת העיגון הקדמית (53803-06) ולערכת העיגון האחורית (53804-06).
חובה להתקין את הערכות האלו כדי לאפשר חיבור תקין של חלק מהאביזרים הנתיקים המקוריים של Harley-Davidson Motor.
1ערכת עיגון קדמית (53803-06). גם ערכה 53660-05 וערכה 53658-05 לדגמים מהשנים 1994-1996.
2ערכת עיגון אחורית (53804-06).
איור 2. מיקומי נקודות העיגון
חלקים נוספים הדרושים לדגמים מהשנים 1994-1996
עבור האביזר מסגרת אחיזה נתיקה לנוסע Sissy Bar זקוף (52805-97A) יש לרכוש את הערכה 53660-05 ( איור 2 , פריט 1) ואת הערכה 53658-05, הכוללת שתי אומי נעילה 5/16-18. ניתן לרכוש ערכות אלו בנפרד מסוכן Harley-Davidson.
הכנה
1. הסר את תיקי האוכף. ראה מדריך למשתמש.
2. הסר את כיסוי הצד. ראה מדריך למשתמש.
3. הסר את הנתיך הראשי. ראה מדריך למשתמש.
4. הסר את המושב. ראה מדריך למשתמש.
5. הסר את כיסוי תומך הפגוש בצד שבו נמצאים מתאם(י) האוויר ושמור אותו להתקנה.
6. הסר את מתאם(י) האוויר מהתושבת והשלך את התושבת.
7. ראה איור 3 . הסר והשלך את הברגים הקיימים (3) הנמצאים בכל אחד מצדי האופנוע.
8. שמור את הדסקית מהבורג התחתון לצורך ההתקנה של תושבת תיק האוכף.
1תומך תיק האוכף
2תושבת תיק האוכף
3ברגים מקוריים
4אום ריתוך (לא מוצגת בתמונה)
איור 3. ברגים מקוריים (בתמונה מוצגים אלה שבצד שמאל)
התקנה
1.
הערה
ההתקנה של ערכת עיגון קדמית המותקנת לבדה שונה מזו של ערכת עיגון קדמית המותקנת עם ערכת עיגון אחורית.
ראה איור 1 . כל תושבת חיבור לנקודת עיגון קדמית (1) מיועדת לצד מסוים. האותיות המוטבעות ליד החורים התחתונים חייבות לפנות כלפי חוץ, ומזהות את המיקום הקדמי (F) ואת המיקום האחורי (R).
שים תושבת חיבור (1) בצד אחד של האופנוע.
2. ללא ערכת עיגון אחורית: ראה איור 1 . התקן את תושבת החיבור באופן הבא:
a. התקן בורג באורך 5/16-18 x 1 אינץ' (25 מ"מ) (8) בשני החורים העליונים.
b. התקן דסקית בעובי 1/8 אינץ' (3.2 מ"מ) (5) על כל בורג, בין תושבת החיבור (1) לבין ציוד מקורי (OE) תושבת התמיכה המקורית של תיק האוכף (A).
c. הדק את שני הברגים בעזרת האצבעות.
3. עם ערכת עיגון אחורית: ראה איור 1 . התקן את תושבת החיבור באופן הבא:
a. התקן בורג באורך 5/16-18 x 1 אינץ' (25 מ"מ) (8) מערכת העיגון הקדמית (53803-06) בחור הקדמי העליון של התושבת (1), ודרך הצד הקדמי של תושבת (B) מערכת העיגון האחורית (53804-06), שבין תושבת החיבור (1) לבין תושבת התמיכה המקורית של תיק האוכף (A).
b. התקן בורג באורך 5/16-18 x 2-1/4 אינץ' (57 מ"מ), דסקית נעילה (D), נקודת עיגון (C), ודסקית בעובי 0.386 אינץ' (9.8 מ"מ) (E) מערכת העיגון האחורית (53804-06) בחור הקדמי העליון של התושבת (B) מערכת העיגון האחורית (53804-06), שבין תושבת החיבור (1) לבין תושבת התמיכה המקורית של תיק האוכף (A).
c. הדק את שני הברגים בעזרת האצבעות.
4. ראה איור 1 ו טבלה 2 . התקן את התושבת האחורית של תיק האוכף.
a. הכנס בורג 1/4-20 (פריט 9, באורך 1 אינץ' או 7/8 אינץ' בהתאם לדגם) דרך הדסקית (F) והחריץ בתושבת החיבור של תיק האוכף (G).
b. עבור דגמי FLHR, FLHT, או FLTR: הכנס את התבריגים דרך החור התחתון של תושבת החיבור (1), ישירות מתחת לברגים שהותקנו קודם לכן.
c. עבור דגמי FLHRC או FLHRS: שים דסקית בעובי 9/16 אינץ' (14.3 מ"מ) (11) על תבריגי הבורג, והכנס את התבריגים דרך החור התחתון של תושבת החיבור (1), ישירות מתחת לברגים שהותקנו קודם לכן.
d. שים דסקית בעובי 1/8 אינץ' (3.2 מ"מ) (10) על תבריגי הבורג, והכנס את התבריגים דרך תושבת התמיכה של תיק האוכף (A) ולתוך אום התפס. הדק.
מומנט סיבוב: 13.6–19 N·m (120–168 in-lbs)
e. אבטח את שני הברגים העליונים. הדק.
מומנט סיבוב: 20.3–25.8 N·m (15–19 ft-lbs)
f. חזור על הפעולה בצד השני.
5. הדק את צינור האוויר והמתאם(ים) כנדרש:
a. בדגמים מהשנים 1997-2001: הדק את שני מתאמי האוויר דרך שני החורים התחתונים ביותר (מסומנים ב-F וב-R) שבתושבת הימנית.
b. בדגמי 2002: בדגם זה יש רק מתאם אוויר אחד, שאותו חובה להתקין בחור המסומן ב-F בתושבת שבצד ימין.
c. דגמי 2003 ומעלה: ראה איור 4 . הסר את צינור האוויר של בולם הזעזועים בצד שמאל (1) משסתום האוויר, ונתב אותו מחדש מתחת לקצה העליון של כן בולם הזעזועים. השתמש באזיקון (2) כדי לעגן את צינור האוויר כמתואר בציור ובכך למנוע ממנו להתפתל או להימעך. התקן מחדש את צינור האוויר על שסתום האוויר, והתקן את שסתום האוויר בחור המסומן ב-F בתושבת שבצד שמאל.
1צינור אוויר
2רצועת הכבל
איור 4. ניתוב צינור האוויר בדגמי 2003 ומעלה
6. הוסף אוויר לבולמי הזעזועים. ראה מדריך למשתמש.
7. ראה איור 7 ו איור 1 . שים דסקית (6) על התבריגים של בורג עם ראש כפתור (4) מערכה זו.
8. שים נקודת עיגון (3), לפי הכיוון המתואר בתמונה, על תבריגי הבורג, ואחריה שים דסקית (5).
9. הכנס את תבריגי הבורג באופן הבא:
a. עבור דגמים מהשנים 1994-1996: דרך החור האחורי ביותר (H) בתושבת החיבור (1).
b. עבור דגמי 1997 והלאה: דרך החור הקדמי ביותר (H) בתושבת החיבור (1).
c. הכנס את תבריגי הבורג דרך החור הגדול יותר בתושבת (53805-99, פריט K, חלק מערכת מדף מטען או מסגרת אחיזה לנוסע Sissy Bar זקוף) והדק באופן רפוי באמצעות אום נעילה (7).
d. השאר את אום הנעילה מעט רפויה עבור הכוונון של נקודת העיגון.
e. חזור על הפעולה בצד השני.
10. התקן את נקודת העיגון הקדמית.
a. ראה איור 1 . קח מהערכה תותבת לנקודת העיגון (14 או N), בורג (12) ודסקית שטוחה (13).
b. שים מעל תבריגי הבורג את הדסקית השטוחה ולאחר מכן את התותב.
c. התקן את כיסוי תומך הפגוש שהוסר קודם לכן.
d. הכנס את הבורג דרך החור הקטן יותר בתושבת (K) וכיסוי תומך הפגוש.
e. הברג את הבורג באום הריתוך בתומך הפגוש (או באום (O) בדגמי 1994-1996).
f. ראה איור 6 . סובב את מגרעת התותב (4) למיקום "הנכון" (1).
g. אבטח את הבורג. הדק.
מומנט סיבוב: 26 N·m (19 ft-lbs)
h. חזור על הפעולה בצד השני.
1בורג קיים
2בורג חיבור של בולם זעזועים
3כיסוי תומך הפגוש
איור 5. מיקומי נקודת העיגון הקדמית
1התקנה נכונה
2התקנה שגויה
3בולם זעזועים אחורי
4מגרעת בתותב של נקודת העיגון הקדמית
איור 6. מיקום מגרעת נקודת העיגון
11.
הערה
אביזרים נתיקים שונים מתחברים במקומות שונים.
כוונן את נקודות העיגון.
a. הדק את האביזר הנתיק לנקודות העיגון כמתואר בגיליון ההוראות של אותו אביזר.
b. אבטח את מהדקי נקודת העיגון האחורית. הדק.
מומנט סיבוב: 61–63.7 N·m (45–47 ft-lbs)
12. התקן את התושבת הקדמית של תיק האוכף הימני באמצעות OE מהדק. הדק.
מומנט סיבוב: 6.8–10.8 N·m (5–8 ft-lbs)
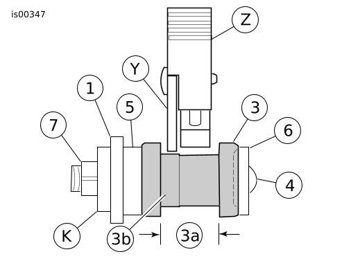
איור 7. מיקום נכון של סגר בנקודת העיגון
טבלה 3. מיקום נכון של סגר בנקודת העיגון
פריט
תיאור (כמות)
המספרים והאותיות זהים לאלה שברשימת תכולת הערכה.
1
תושבת התקנה
3
נקודת עיגון
3a
צוואר נקודת העיגון
3b
משטח מוגבה של נקודת העיגון
4
בורג ראש כפתור
5
תותב מרווח
6
דסקית שטוחה
7
אום נעילה
K
תושבת מערכת מדף המטען או מסגרת האחיזה
פריטים שאינם ברשימת תכולת הערכה.
Y
לוחית צד של מדף מטען או של מסגרת אחיזה של הנוסע
Z
סגר של מדף מטען או של מסגרת אחיזה של הנוסע
סיום
1. התקן את הנתיך הראשי. ראה מדריך למשתמש.
2. התקן את כיסוי הצד. ראה מדריך למשתמש.
3. התקן את תיקי האוכף. ראה מדריך למשתמש.
4. התקן את המושב. ראה מדריך למשתמש.