KIT GANDENG DEPAN YANG DAPAT DILEPAS
J037052022-05-26
INFORMASI UMUM
Tabel 1. Informasi Umum
Kit
Alat-alat yang Disarankan
Level Keahlian(1)
Waktu
53803-06
Kaca Mata Pelindung, Kunci Torsi
1,5 jam
(1) Perlu mengencangkan hingga nilai torsi atau peralatan dan teknik lain yang memadai
ISI KIT
Gambar 1. Isi Kit: Kit Gandeng Depan Dipasang Sendiri
Tabel 2. Isi Kit: Kit Perangkat Keras Docking Kencang
Item
Jumlah
Deskripsi
No. Komponen
Catatan
1
1
Braket Pemasangan, sisi kanan
53759-96B
1
Braket pemasangan, sisi kiri (tidak ditunjukkan)
53758-96C
2
1
Tali strap kabel
10073
3
2
Titik gandeng
53684-96A
4
2
Sekrup, kepala kancing, soket heksagon, 3/8-16 x 2 in. (51 mm)
4215
28,5–37 N·m (21–27 ft-lbs)
5
6
Cincin, keras, tebal 3/8 in. I.D., 1/8 in. (3,2 mm)
6532
6
2
Cincin datar, chrome, tebal 3/8 in. I.D., 1/16 in. (1,6 mm)
94067-90T
7
2
Mur pengunci heksagon, Nylok, tipis, 3/8-16
7667
8
4
Sekrup berkepala, kepala heksagon, 5/16-18 x 1 in. (25,4 mm)
4017
20,3–25,8 N·m (15–19 ft-lbs)
9
2
Sekrup berkepala, kepala heksagon, 1/4-20 x 7/8 in. (22,2 mm)
3802W
Untuk semua model kecuali FLHRC/I dan FLHRS/I 13,6–19 N·m (10–14 ft-lbs)
2
Sekrup berkepala, kepala heksagon, 1/4-20 x 1-1/2 in. (38,1 mm)
2872W
Untuk model FLHRC/I dan FLHRS/I 13,6–19 N·m (10–14 ft-lbs)
10
2
Spacer, tebal 1/4 in. I.D., 1/8 in. (3,2 mm)
5735
11
2
Spacer, tebal 1/4 in. I.D., 9/16 in. (14,3 mm)
5839
Untuk model FLHRC/I dan FLHRS/I
12
2
Sekrup, kepala kancing, soket heksagon, 5/16-18 x 1 in.
94394-92T
20,3–25,8 N·m (15–19 ft-lbs)
13
2
Cincin, datar
94066-90T
14
2
Bos, titik gandeng - bertakik
53123-96
Item yang disebutkan dalam teks, tetapi tidak disertakan dalam kit:
A
Braket penopang tas sadel Original Equipment
B
Braket titik gandeng belakang dari Kit 53804-06
C
Titik gandeng dari Kit 53804-06
D
Sekrup kepala kancing dengan panjang 2-1/4 in. (57 mm) dan cincin pengunci dari Kit 53804-06
E
Spacer 0,385 in. (9,8 mm) dari Kit 53804-06
F
Cincin Original Equipment
G
Braket pemasangan tas sadel Original Equipment
Catatan:
H
Titik gandeng pada setiap sisi mesti dipasang di lubang depan (menghadap ke depan) untuk model 1997 dan setelahnya, dan di lubang belakang (menghadap ke belakang) untuk model 1994 hingga 1996.
J
Untuk model 1997 hingga 2001, dua air fitting dipasang pada dua lubang bawah.
Untuk model 2002, pasang air fitting tunggal di lubang depan (menghadap ke depan) pada braket sisi kanan.
Untuk model 2003 dan setelahnya, air fitting mesti dipindahkan ke lubang yang menghadap ke depan pada braket sisi kiri.
K
Braket dari Kit Rak Bagasi atau Sissy Bar Upright.
L
Mur pengunci dari Kit 53658-05 (untuk model 1994 hingga 1996).
Mur las pada braket penopang tas sadel (A) (untuk model 1997 dan setelahnya).
M
Mur las pada braket penopang tas sadel (A).
N
2
Bos, titik gandeng - tidak ada takik (dari Kit 53660-05, untuk model 1994 hingga 1996).
O
2
Mur (dari Kit 53660-05, untuk model 1994 hingga 1996).
CATATAN
Pastikan semua isi kit lengkap sebelum memasang atau melepaskan item dari kendaraan.
UMUM
Model
Untuk informasi kesesuaian model, lihat Katalog Retail P&A atau bagian Komponen dan Aksesori di www.harley-davidson.com (hanya tersedia dalam Bahasa Inggris).
Pastikan Anda menggunakan lembar petunjuk versi terbaru yang tersedia di: www.harley-davidson.com/isheets
Hubungi Pusat Dukungan Pelanggan Harley-Davidson di 1-800-258-2464 (khusus AS) atau 1-414-343-4056.
CATATAN
Gambar 2 menunjukkan lokasi pemasangan untuk Kit Gandeng Depan (53803-06) dan Kit Gandeng Belakang (53804-06).
Kit ini mesti dipasang untuk memungkinkan pemasangan yang tepat dari Detachable Harley-Davidson Genuine Motor Accessories tertentu.
1Kit Gandeng Depan (53803-06). Juga Kit 53660-05 dan 53658-05 untuk Model 1994-1996.
2Kit Gandeng Belakang (53804-06).
Gambar 2. Lokasi Titik Gandeng
Komponen Tambahan Diperlukan Untuk Model 1994-1996
Aksesori Detachable Passenger Sissy Bar Upright (52805-97A) memerlukan pembelian kit 53660-05 ( Gambar 2 , item 1) dan 53658-05, terdiri dari dua mur pengunci 5/16-18. Kit ini tersedia secara terpisah di Dealer Harley-Davidson Anda.
PERSIAPAN
1. Lepas tas kargo. Lihat manual pemilik.
2. Lepas penutup samping. Lihat manual pemilik.
3. Lepas sekring utama. Lihat manual pemilik.
4. Lepas jok. Lihat manual pemilik.
5. Lepas penutup penopang sepatbor pada sisi yang memiliki air fitting dan simpan untuk pemasangan.
6. Lepas air fitting dari braket dan singkirkan braket.
7. Lihat Gambar 3 . Lepas dan singkirkan sekrup yang ada (3) dari setiap sisi sepeda motor.
8. Simpan cincin dari sekrup bawah untuk pemasangan braket tas sadel.
1Penopang tas sadel
2Braket tas sadel
3Sekrup Original Equipment
4Mur las (tidak ditunjukkan)
Gambar 3. Sekrup Original Equipment (sisi kiri ditunjukkan)
PASANG
1.
CATATAN
Kit Gandeng Depan Dipasang Sendiri pasang secara berbeda daripada Kit Gandeng Depan Yang Dipasang Bersama Kit Gandeng Belakang.
Lihat Gambar 1 . Braket pemasangan titik gandeng depan (1) khusus untuk setiap sisi. Tulisan yang ada di dekat lubang bawah mesti menghadap ke luar, dan identifikasi posisi depan (F) dan belakang (R).
Posisikan braket pemasangan (1) pada satu sisi sepeda motor.
2. Tanpa kit gandeng belakang: Lihat Gambar 1 . Pasang braket pemasangan sebagai berikut:
a. Pasang sebuah sekrup dengan panjang 5/16-18 x 1 in. (25 mm) (8) pada kedua lubang atas.
b. Pasang sebuah spacer dengan tebal 1/8 in. (3.2 mm) (5) pada setiap sekrup, di antara braket pemasangan (1) dan Peralatan Asli (OE) braket penopang tas sadel (A).
c. Kencangkan kedua sekrup menggunakan tangan.
3. Dengan kit gandeng belakang: Lihat Gambar 1 . Pasang braket pemasangan sebagai berikut:
a. Pasang sekrup dengan panjang 5/16-18 x 1 in. (25 mm) (8) dari kit gandeng depan (53803-06) di lubang depan atas braket (1), dan melalui depan braket (B) dari kit gandeng belakang (53804-06), ditempatkan di antara braket pemasangan (1) dan braket penopang tas sadel Original Equipment (A).
b. Pasang sekrup dengan panjang 5/16-18 x 2-1/4 in. (57 mm) dan cincin pengunci (D), titik gandeng (C), dan spacer tebal 0,386 in. (9,8 mm) (E) dari kit gandeng belakang (53804-06) di lubang belakang atas braket (B) dari kit gandeng belakang (53804-06), ditempatkan di antara braket pemasangan (1) dan braket penopang tas sadel Original Equipment (A).
c. Kencangkan kedua sekrup menggunakan tangan.
4. Lihat Gambar 1 dan Tabel 2 . Pasang pemasangan tas sadel belakang.
a. Masukkan sekrup 1/4-20 (item 9, panjang 1 in. atau 7/8 in. berdasarkan model) melalui cincin (F) dan slot di braket pemasangan tas sadel (G).
b. Untuk model FLHR, FLHT, atau FLTR: Masukkan ulir melalui lubang bawah braket pemasangan (1), secara langsung di bawah sekrup yang dipasang sebelumnya.
c. Untuk model FLHRC atau FLHRS: Masukkan spacer dengan tebal 9/16 in. (14.3 mm) (11) pada ulir sekrup, dan masukkan ulir melalui lubang bawah di braket pemasangan (1), secara langsung di bawah sekrup yang dipasang sebelumnya.
d. Pasang spacer dengan tebal 1/8 in. (3.2 mm) (10) pada ulir sekrup, dan masukkan ulir melalui braket penopang tas sadel (A) dan ke dalam mur klip. Kencangkan.
Torque: 13,6–19 N·m (120–168 in-lbs)
e. Kencangkan kedua sekrup bagian atas. Kencangkan.
Torque: 20,3–25,8 N·m (15–19 ft-lbs)
f. Ulangi untuk sisi sebelahnya.
5. Pasang selang udara dan air fitting jika diperlukan:
a. Untuk model 1997-2001: Pasang dua air fitting melalui dua lubang paling bawah (bertanda "F" dan "R") di braket sisi kanan.
b. Untuk model 2002: Model ini hanya memiliki satu air fitting yang harus dipasang di lubang bertanda "F" pada braket sisi kanan.
c. Untuk model 2003 dan setelahnya: Lihat Gambar 4 . Lepas selang udara peredam kejut sisi kiri (1) dari katup udara, dan salurkan ulang di bawah pemasangan shock bagian atas. Gunakan tali kabel (2) untuk menambatkan selang udara sebagaimana ditunjukkan dan mencegahnya melipat dan terjepit. Pasang lagi selang udara pada katup udara, dan pasang katup udara di lubang bertanda “F” pada braket sisi kiri.
1Selang udara
2Tali strap kabel
Gambar 4. Perutean Selang Udara untuk Model 2003 dan Setelahnya
6. Masukkan udara pada peredam kejut. Lihat manual pemilik.
7. Lihat Gambar 7 dan Gambar 1 . Pasang sebuah washer (6) pada ulir sekrup kepala kancing (4) dari kit ini.
8. Tempatkan titik gandeng (3), dengan arah seperti yang ditunjukkan, pada ulir sekrup, diikuti sebuah spacer (5).
9. Masukkan ulir sekrup sebagai berikut:
a. Untuk model 1994-1996: Melalui lubang paling belakang (H) di braket pemasangan (1).
b. Untuk model 1997 dan setelahnya: Melalui lubang paling depan (H) di braket pemasangan (1).
c. Masukkan ulir sekrup melalui lubang besar di braket (53805-99, item K, bagian dari Kit Rack atau Sissy Bar Upright) dan pasang secara longgar di tempatnya dengan menggunakan mur pengunci (7).
d. Biarkan mur pengunci sedikit longgar untuk penyetelan titik gandeng.
e. Ulangi untuk sisi sebelahnya.
10. Pasang titik gandeng depan.
a. Lihat Gambar 1 . Ambil bos titik gandeng (14 atau N), sekrup (12), dan cincin datar (13) dari kit.
b. Masukkan cincin datar dan kemudian bos pada ulir sekrup.
c. Pasang penutup penopang sepatbor yang telah dilepas.
d. Masukkan sekrup melalui lubang kecil di braket (K) dan penutup penopang sepatbor.
e. Masukkan sekrup ke dalam mur las di penopang sepatbor (atau mur (O) untuk model 1994-1996).
f. Lihat Gambar 6 . Putar takik bos (4) ke posisi yang “benar” (1).
g. Pasang sekrup. Kencangkan.
Torque: 26 N·m (19 ft-lbs)
h. Ulangi untuk sisi sebelahnya.
1Sekrup yang ada
2Baut pemasangan peredam kejut
3Penutup penopang sepatbor
Gambar 5. Lokasi Titik Gandeng Depan
1Pemasangan yang benar
2Pemasangan yang salah
3Peredam kejut belakang
4Takik bos titik gandeng depan
Gambar 6. Posisi Takik Titik Gandeng
11.
CATATAN
Gerendel berbeda di lokasi berbeda.
Sesuaikan titik docking.
a. Pasang aksesori yang dapat dilepas ke titik gandeng sebagaimana dijelaskan di dalam lembar instruksi untuk aksesori itu.
b. Kencangkan pengancing titik gandeng belakang. Kencangkan.
Torque: 61–63,7 N·m (45–47 ft-lbs)
12. Pasang braket tas sadel depan sisi kanan dengan menggunakan OE pengancing. Kencangkan.
Torque: 6,8–10,8 N·m (5–8 ft-lbs)
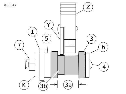
Gambar 7. Kelurusan Gerendel Yang Tepat Di Titik Gandeng
Tabel 3. Kelurusan Gerendel Yang Tepat Di Titik Gandeng
Item
Deskripsi (Jumlah)
Nomor dan huruf sama dengan yang ada di dalam Daftar Isi Kit.
1
Braket pemasangan
3
Titik gandeng
3a
Leher titik gandeng
3b
Permukaan terangkat dari titik gandeng
4
Sekrup kepala tombol
5
Spacer
6
Cincin pengunci datar
7
Mur pengunci
K
Braket dari kit rak atau upright
Item tidak ada di dalam Daftar Isi Kit.
Y
Pelat samping rak bagasi atau sissy bar upright
Z
Gerendel rak bagasi atau sissy bar upright
SELESAI
1. Pasang sekring utama. Lihat manual pemilik.
2. Pasang penutup samping. Lihat manual pemilik.
3. Pasang tas kargo. Lihat manual pemilik.
4. Pasang jok. Lihat manual pemilik.