ערכת עיגון אחורית נתיקה
J037042019-01-15
מידע כללי
טבלה 1. מידע כללי
ערכות
כלים מוצעים
רמת המיומנות(1)
זמן
53804-06
משקפי בטיחות, מפתח מומנט
1 שעה
(1) נדרש הידוק עד לערך המומנט או כלים וטכניקות מתונים אחרים
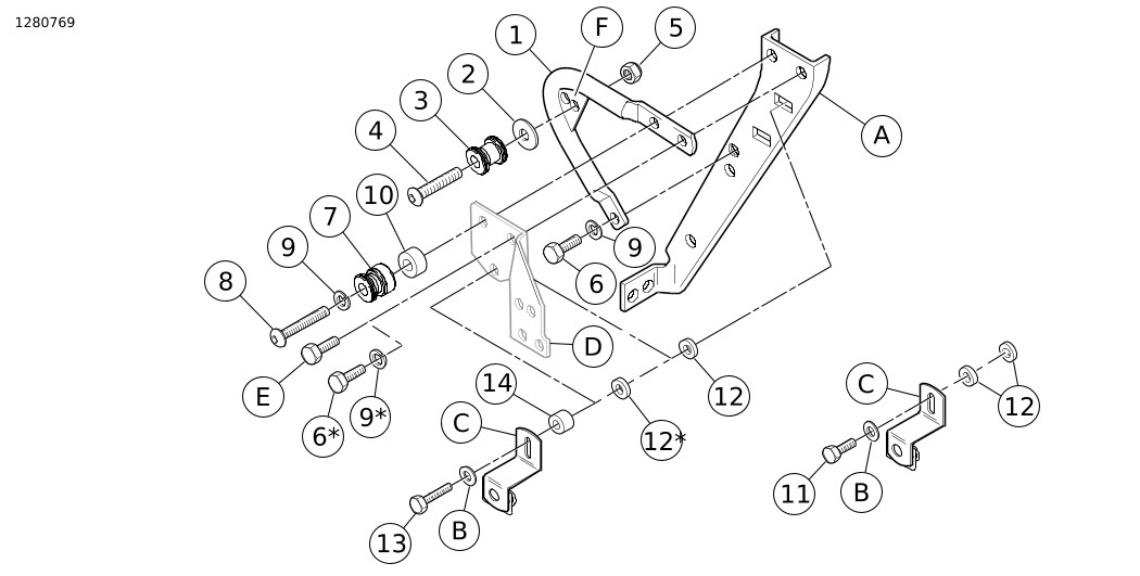
תכולת הערכה
איור 1. תכולת הערכה: ערכת עיגון אחורית
טבלה 2. תכולת הערכה: ערכת עיגון אחורית
פריט
כמות
תיאור
מספר חלק
הערות
1
1
תושבת חיבור, אחורית, צד ימין
53705-95
1
תושבת חיבור, אחורית, צד שמאל (לא מוצגת בתמונה)
53706-95
2
2
דסקית שטוחה, 3/8 אינץ' (9.5 מ"מ), קוטר פנימי
53129-96
3
2
נקודת עיגון, אחורית
53684-96A
4
2
בורג, ראש כפתור, שקע משושה 3/8-16 x 1-1/2 אינץ‘ (38.1 מ"מ)
4127
25.8 N·m (19 ft-lbs)
5
2
אום נעילה משושה, Nylok, דק, 3/8-16
7667
6
4
בורג אלן, 5/16-18 x 3/4 אינץ‘ (19 מ"מ)
3987
20.3–25.8 N·m (15–19 ft-lbs)
7
2
נקודת עיגון, קדמית
53685-96
8
2
בורג, ראש כפתור, שקע משושה 5/16-18 x 2-1/4 אינץ‘ (57 מ"מ)
4158
20.3–25.8 N·m (15–19 ft-lbs)
9
6
דסקית קפיצית, 5/16, כרום
94081-90T
10
2
תותב מרווח, 5/16 אינץ‘ קוטר פנימי, בעובי 0.445 אינץ‘ (11.3 מ"מ)
53747-97
כאשר ערכה 53804-06 מותקנת לבד.
10
2
תותב מרווח, 5/16 אינץ‘ קוטר פנימי, בעובי 0.385 אינץ‘ (9.8 מ"מ)
53760-97
כאשר ערכה 53804-06 מותקנת עם ערכה 53803-06.
11
2
בורג אלן, 1/4-20 x 7/8 אינץ‘ (22.2 מ"מ)
3802W
רק בדגמי FLHR, FLHT או FLTR 13.6–19 N·m (10–14 ft-lbs)
12
4
תותב מרווח, 1/4 אינץ‘ קוטר פנימי, בעובי 1/8 אינץ‘ (3.2 מ"מ)
5735
13
2
בורג אלן, באורך 1/4-20 x 1-1/2 אינץ‘ (38.1 מ"מ)
2872W
רק בדגמי FLHRC או FLHRS 13.6–19 N·m (10–14 ft-lbs)
14
2
תותב מרווח, 1/4 אינץ‘ קוטר פנימי, בעובי 9/16 אינץ‘ (14.3 מ"מ)
5839
רק בדגמי FLHRC או FLHRS
* ברכיבים המסומנים בכוכבית משתמשים כאשר מתקינים ערכת עיגון אחורית נתיקה לבד.
פריטים שהוזכרו בטקסט אבל אינם נכללים בערכה:
A
ציוד מקורי (OE) תושבת תמיכה של תיק אוכף
B
OE דסקית
C
OE תושבת חיבור של תיק האוכף
D
תושבת נקודת עיגון מערכת עיגון קדמית (53803-06)
E
בורג באורך 1 אינץ' (25.4 מ"מ) מערכת עיגון קדמית (53803-06)
F
הערה: חובה להתקין את נקודת העיגון האחורית (פריט 3) בכל צד בחור הקדמי (בכיוון החזית).
הערה
יש לוודא שכל התכולה נמצאת בערכה לפני שמתקינים אותה או שמסירים פריטים מכלי הרכב.
כללי
דגמים
למידע על אודות ההתאמה לדגם, נא לעיין בקטלוג הקמעונאי לחלקים ולאביזרים או בדף "Parts and Accessories " באתר www.harley-davidson.com (אנגלית בלבד).
ודא כי אתה משתמש בגירסה העדכנית ביותר של גיליון ההוראות אשר זמין ב: www.harley-davidson.com/isheets
יש ליצור קשר עם מרכז התמיכה ללקוחות של Harley-Davidson בטלפון 1-800-258-2464 (ארה“ב בלבד) או 1-414-343-4056.
הערה
איור 1 מראה את מיקומי נקודת העיגון לערכת העיגון הקדמית (53803-06) ולערכת העיגון האחורית (53804-06).
חובה להתקין את הערכות האלו כדי לאפשר חיבור תקין של חלק מהאביזרים הנתיקים המקוריים של Harley-Davidson Motor.
1ערכת עיגון קדמית (53803-06). גם ערכה 53660-05 וערכה 53658-05 לדגמים מהשנים 1994 עד 1996.
2ערכת עיגון אחורית (53804-06).
איור 2. מיקומי נקודות העיגון
הכנה
1. הסר את תיקי האוכף. ראה מדריך למשתמש.
2. הסר את הנתיך הראשי. ראה מדריך למשתמש.
3. ראה איור 1 . הסר OE את המהדקים המקוריים בשני החורים העליונים של תושבת התמיכה של תיק האוכף (1) בצד אחד של הרכב. המהדקים המקוריים מתברגים לאומי הריתוך בתושבת התמיכה.
4. הסר את תושבת החיבור של תיק האוכף (C). שמור את התושבת ואת הדסקית השטוחה (B) להתקנת הערכה.
התקנת ערכת עיגון אחורית
הערה
ראה איור 2 . ההוראות ואביזרי החיבור שבהם משתמשים משתנים, אם ערכת העיגון האחורית (53804-06) מותקנת לבד או עם ערכת עיגון קדמית (53803-06).
1.
הערה
ראה איור 1 . כל תושבת חיבור לנקודת עיגון אחורית (1) מיועדת לצד מסוים. משטחי החיבור בכל אחד מקצוות הצינור מוסטים לעבר הפגוש.
התקן את תושבת החיבור (1).
a. שים את תושבת החיבור (1; בצד שמאל או בצד ימין) בצמוד לתושבת התמיכה של תיק האוכף.
b. ללא ערכת עיגון קדמית: התקן את תושבת החיבור (1) על תושבת התמיכה של תיק האוכף (A) דרך החור הקדמי העליון והחור התחתון, באמצעות הברגים (6) ודסקיות הנעילה (9). אל תהדק את הברגים עד הסוף.
c. עם ערכת עיגון קדמית: התקן את תושבת החיבור (1) על תושבת התמיכה של תיק האוכף (A) דרך החור הקדמי העליון באמצעות הבורג (E) ותושבת נקודת העיגון מערכת העיגון הקדמית (D), ודרך החור התחתון, באמצעות הברגים (6) ודסקיות הנעילה (9). אל תהדק את הברגים עד הסוף.
d. שים את דסקית הנעילה (9) על תבריגי הבורג (8), ולאחר מכן שים את נקודת העיגון האחורית (פריט 3, כשהקצה השקוע בצד הנגדי פונה לעבר הפגוש) ואת הדסקית (10).
e. ללא ערכת עיגון קדמית: הברג את הבורג (8) לתוך החור העליון האחורי ביותר של תושבת התמיכה של תיק האוכף (A). אל תהדק עד הסוף.
f. עם ערכת עיגון קדמית: הברג את הבורג (8) דרך החור העליון האחורי ביותר של תושבת החיבור (D) לתוך החור העליון האחורי ביותר של תושבת התמיכה של תיק האוכף (A). אל תהדק עד הסוף.
g. חזור על הפעולה בצד השני.
2. התקן את נקודת העיגון האחורית (3).
a. שים את נקודת העיגון האחורית (פריט 3, כשהקצה השקוע בצד הנגדי פונה לעבר הפגוש) על התבריגים של הבורג (4) והדסקית (2)
b. הכנס את תבריגי הבורג (4) דרך החור הקדמי בצד האחורי של תושבת החיבור (1).
c. הברג את אום הנעילה (5) על הבורג, אך אל תהדק עד הסוף.
d. חזור על הפעולה בצד השני.
3. בדוק את ההתאמה עם האביזר הנתיק שבו עתידים להשתמש.
a. החריץ הקדמי באביזר אמור להשתלב באופן מלא בנקודת העיגון הקדמית (7).
b. אם זה אינו המצב, הרפה את הידוק אביזרי החיבור של העיגון ודחוף את מכלולי נקודת העיגון האחורית קדימה עד שהחריץ הקדמי ישתלב באופן מלא.
c. כשהאביזר ממוקם היטב ביחס לנקודות העיגון, הדק את בורגי ראש הכפתור.
מומנט סיבוב: 26 N·m (19 ft-lbs)
4. במידת הצורך, כוונן את תושבות החיבור (1) באמצעות לחיצה עדינה עליהן או פישוקן עד שיושג המרווח המבוקש והן ימוקמו באופן תקין ביחס לאביזר.
5. ראה איור 1 . התקן את OE תושבת החיבור המקורית של תיק האוכף כמתואר בחלק הבא.
התקנת תושבת החיבור של תיק האוכף
ערכת עיגון אחורית המותקנת לבד
1. עבור דגמי FLHR, FLHT או FLTR:
a. שים את הדסקית (B) על תבריגי הבורג (11), ולאחר מכן הכנס את הבורג לחריץ בתושבת החיבור של תיק האוכף (C).
b. החלק שתי דסקיות (12) על תבריגי הבורג (11), וחבר אותן באופן רופף לתושבת התמיכה של תיק האוכף (A).
2. עבור דגמי FLHRC או FLHRS:
a. שים את הדסקית (B) על תבריגי הבורג (13), ולאחר מכן הכנס את הבורג לחריץ בתושבת החיבור של תיק האוכף (C).
b. החלק את הדסקית (14) ואת שתי הדסקיות (12) על תבריגי הבורג (13), וחבר אותן באופן רופף לתושבת התמיכה של תיק האוכף (A).
3. בדוק את התאמת תיק האוכף.
4. אבטח את הבורג. הדק.
מומנט סיבוב: 13.6 N·m (10 ft-lbs)
ערכת עיגון אחורית המותקנת עם ערכת עיגון קדמית (53803-06)
1. עבור דגמי FLHR, FLHT או FLTR:
a. שים את הדסקית (B) על תבריגי הבורג (11), ולאחר מכן הכנס את הבורג לחריץ בתושבת החיבור של תיק האוכף (C) וחור החיבור התחתון בתושבת נקודת העיגון (D) מערכת העיגון הקדמית (53803-06).
b. החלק את הדסקית (12) על תבריגי הבורג (11), וחבר אותה באופן רופף לתושבת התמיכה של תיק האוכף (A).
2. עבור דגמי FLHRC או FLHRS:
a. שים את הדסקית (B) על תבריגי הבורג (13), ולאחר מכן הכנס את הבורג לחריץ בתושבת החיבור של תיק האוכף (C) דרך הדסקית (14) וחור החיבור התחתון בתושבת נקודת העיגון (D) מערכת העיגון הקדמית (53803-06).
b. החלק את הדסקית (12) על תבריגי הבורג (13), וחבר אותן באופן רופף לתושבת התמיכה של תיק האוכף (A).
3. בדוק את התאמת תיק האוכף.
4. אבטח את הבורג. הדק.
מומנט סיבוב: 13.6 N·m (10 ft-lbs)
סיום
1. התקן את הנתיך הראשי. ראה מדריך למשתמש.
2. התקן את תיקי האוכף. ראה מדריך למשתמש.