KIT GANDENG BELAKANG YANG DAPAT DILEPAS
J037042019-01-15
INFORMASI UMUM
Tabel 1. Informasi Umum
Kit
Alat-alat yang Disarankan
Level Keahlian(1)
Waktu
53804-06
Kaca Mata Pelindung, Kunci Torsi
1 jam
(1) Perlu mengencangkan hingga nilai torsi atau peralatan dan teknik lain yang memadai
ISI KIT
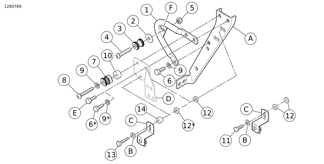
Gambar 1. Isi Kit: Kit Gandeng Belakang
Tabel 2. Isi Kit: Kit Gandeng Belakang
Item
Jumlah
Deskripsi
No. Komponen
Catatan
1
1
Braket Pemasangan, belakang, sisi kanan
53705-95
1
Braket pemasangan, belakang, sisi kiri (Tidak Ditunjukkan)
53706-95
2
2
Cincin datar, 3/8 in. (9,5 mm) I.D.
53129-96
3
2
Titik gandeng, belakang
53684-96A
4
2
Sekrup, kepala kancing, soket heksagon, 3/8-16 x 1-1/2 in. (38,1 mm)
4127
25,8 N·m (19 ft-lbs)
5
2
Mur pengunci heksagon, Nylok, tipis, 3/8-16
7667
6
4
Sekrup, kepala heksagon, 5/16-18 x 3/4 in. (19 mm)
3987
20,3–25,8 N·m (15–19 ft-lbs)
7
2
Titik gandeng, depan
53685-96
8
2
Sekrup, kepala kancing, soket heksagon, 5/16-18 x 2-1/4 in. (57 mm)
4158
20,3–25,8 N·m (15–19 ft-lbs)
9
6
Cincin pengunci, terpisah, 5/16, chrome
94081-90T
10
2
Spacer, 5/16 in. I.D., 0,445 in. (11,3 mm) tebal
53747-97
Jika Kit 53804-06 dipasang sendirian.
10
2
Spacer, 5/16 in. I.D., 0,385 in. (9,8 mm) lebar
53760-97
Jika Kit 53804-06 dipasang dengan 53803-06.
11
2
Sekrup, kepala heksagon, 1/4-20 x 7/8 in. (22,2 mm)
3802W
Hanya untuk model FLHR, FLHT, atau FLTR 13,6–19 N·m (10–14 ft-lbs)
12
4
Spacer, 1/4 in. I.D., 1/8 in. (3,2 mm) tebal
5735
13
2
Sekrup, kepala heksagon, 1/4-20 x 1-1/2 in. (38,1 mm) panjang
2872W
Hanya untuk model FLHRC atau FLHRS 13,6–19 N·m (10–14 ft-lbs)
14
2
Spacer, 1/4 in. I.D., 9/16 in. (14,3 mm) tebal
5839
Hanya untuk model FLHRC atau FLHRS
* Komponen dengan tanda bintang digunakan saat hanya memasang kit gandeng belakang yang dapat dilepas.
Item yang disebutkan dalam teks, tetapi tidak disertakan dalam kit:
A
Peralatan Asli (OE) braket penopang tas sadel
B
OE cincin
C
OE braket pemasangan tas sadel
D
Braket titik gandeng dari Kit Gandeng Depan (53803-06)
E
1 in. (25,4 mm) panjang sekrup dari Kit Gandeng Depan (53803-06)
F
Catatan: Titik gandeng belakang (Item 3) pada setiap sisi mesti dipasang di lubang depan (menghadap ke depan).
CATATAN
Pastikan semua isi kit lengkap sebelum memasang atau melepaskan item dari kendaraan.
UMUM
Model
Untuk informasi kesesuaian model, silakan lihat Katalog Ritel P&A atau bagian Komponen dan Aksesori di www.harley-davidson.com (hanya tersedia dalam Bahasa Inggris).
Pastikan Anda menggunakan lembar petunjuk versi terbaru yang tersedia di: www.harley-davidson.com/isheets
Hubungi Pusat Dukungan Pelanggan Harley-Davidson di 1-800-258-2464 (khusus AS) atau 1-414-343-4056.
CATATAN
Gambar 1 menunjukkan lokasi titik gandeng untuk Kit Gandeng Depan (53803-06) dan Kit Gandeng Belakang (53804-06).
Kit ini mesti dipasang untuk memungkinkan pemasangan yang tepat dari Detachable Harley-Davidson Genuine Motor Accessories tertentu.
1Kit Gandeng Depan (53803-06). Juga Kit 53660-05 dan 53658-05 untuk Model 1994 hingga 1996.
2Kit Gandeng Belakang (53804-06).
Gambar 2. Lokasi Titik Gandeng
PERSIAPAN
1. Lepas tas kargo. Lihat manual pemilik.
2. Lepas sekring utama. Lihat manual pemilik.
3. Lihat Gambar 1 . Lepas OE pengancing di dalam dua lubang bagian atas pada braket penopang tas sadel (A) di satu sisi kendaraan. Pengancing standar masuk ke mur las pada braket penopang.
4. Lepas braket pemasangan tas sadel (C). Simpan braket dan cincin datar (b) untuk pemasangan kit.
PASANG KIT GANDENG BELAKANG
CATATAN
Lihat Gambar 2 . Instruksi dan perangkat yang digunakan akan berbeda, berdasarkan jika Kit Gandeng Belakang (53804-06) dipasang sendirian atau dipasang bersama Kit Gandeng Depan (53803-06).
1.
CATATAN
Lihat Gambar 1 . Braket pemasangan titik gandeng belakang (1) khusus untuk setiap sisi. Permukaan pemasangan di setiap ujung pipa harus seimbang dengan sepatbor.
Pasang braket pemasangan (1).
a. Tempatkan (sisi kiri atau sisi kanan) braket pemasangan (1) pada posisi membelakangi braket penopang tas sadel.
b. Tanpa kit gandeng depan: Pasang braket pemasangan (1) pada braket penopang tas sadel (A) melalui lubang atas dan lubang bawah yang menghadap ke depan dengan menggunakan sekrup (6) dan cincin pengunci (9). Jangan kencangkan sekrup secara penuh.
c. Dengan kit gandeng depan: Pasang braket pemasangan (1) pada braket penopang tas sadel (A) melalui lubang atas yang menghadap ke depan dengan menggunakan sekrup (E) dan braket titik gandeng dari kit gandeng depan (D), dan melalui lubang bawah dengan menggunakan sekrup (6) dan cincin pengunci (9). Jangan kencangkan sekrup secara penuh.
d. Masukkan cincin pengunci (9) pada ulir sekrup (8), diikuti titik gandeng belakang (Item 3, dengan ujung countersunk menghadap sepatbor) dan spacer (10).
e. Tanpa kit gandeng depan: Masukkan sekrup (8) ke dalam lubang atas yang menghadap ke belakang pada braket penopang tas sadel (A). Jangan kencangkan sepenuhnya.
f. Dengan kit gandeng depan: Masukkan sekrup (8) melalui lubang atas yang menghadap ke belakang pada braket pemasangan (D) ke dalam lubang atas bagian belakang pada braket penopang tas sadel (A). Jangan kencangkan sepenuhnya.
g. Ulangi untuk sisi sebelahnya.
2. Pasang titik gandeng belakang (3).
a. Masukkan titik gandeng belakang (Item 3, dengan ujung countersunk menghadap sepatbor) pada ulir sekrup (4) dan cincin (2)
b. Masukkan sekrup (4) melalui lubang yang menghadap ke depan di belakang braket pemasangan (1).
c. Masukkan mur pengunci (5) pada sekrup, tetapi jangan dikencangkan sepenuhnya.
d. Ulangi untuk sisi sebelahnya.
3. Periksa kesesuaian dengan aksesori yang dapat dilepas yang akan digunakan.
a. Slot depan pada aksesori harus sepenuhnya terpasang pada titik gandeng depan (7).
b. Jika tidak, longgarkan perangkat gandeng dan tekan rakitan titik gandeng belakang ke arah depan hingga slot depan terpasang sepenuhnya.
c. Jika aksesori sudah sangat lurus dengan titik gandeng, kencangkan sekrup kepala kancing.
Torque: 26 N·m (19 ft-lbs)
4. Jika perlu, setel braket pemasangan (1) untuk mendapatkan lebar yang tepat dengan sedikit meremasnya atau merentangkannya hingga mendapatkan kelurusan yang tepat dengan aksesori.
5. Lihat Gambar 1 . Pasang OE braket pemasangan tas sadel sebagaimana dijelaskan di dalam bagian selanjutnya.
PASANG BRAKET PEMASANGAN TAS SADEL
Kit Gandeng Belakang Dipasang Sendirian
1. Untuk model FLHR, FLHT, atau FLTR:
a. Masukkan cincin (B) pada ulir sekrup (11), lalu masukkan sekrup ke dalam slot pada braket pemasangan tas sadel (C).
b. Masukkan dua spacer (12) pada ulir sekrup (11), dan pasang secara longgar pada braket penopang tas sadel (A).
2. Untuk model FLHRC atau FLHRS:
a. Masukkan cincin (B) pada ulir sekrup (13), lalu masukkan sekrup ke dalam slot pada braket pemasangan tas sadel (C).
b. Masukkan spacer (14) dan dua spacer (12) pada ulir sekrup (13), dan pasang secara longgar pada braket penopang tas sadel (A).
3. Uji kesesuaian tas sadel.
4. Pasang sekrup. Kencangkan.
Torque: 13,6 N·m (10 ft-lbs)
Kit Gandeng Belakang Dipasang Dengan Kit Gandeng Depan (53803-06)
1. Untuk model FLHR, FLHT, atau FLTR:
a. Masukkan cincin (B) pada ulir sekrup (11), lalu masukkan sekrup ke dalam slot pada braket pemasangan tas sadel (C) dan lubang pemasangan bawah pada braket titik gandeng (D) dari Kit Gandeng Depan (53803-06).
b. Masukkan spacer (12) pada ulir sekrup (11), dan pasang secara longgar pada braket penopang tas sadel (A).
2. Untuk model FLHRC atau FLHRS:
a. Masukkan cincin (B) pada ulir sekrup (13), lalu masukkan sekrup ke dalam slot pada braket pemasangan tas sadel (C), melalui spacer (14) dan lubang pemasangan bawah pada braket titik gandeng (D) dari Kit Gandeng Depan (53803-06).
b. Masukkan spacer (12) pada ulir sekrup (13), dan pasang secara longgar pada braket penopang tas sadel (A).
3. Uji kesesuaian tas sadel.
4. Pasang sekrup. Kencangkan.
Torque: 13,6 N·m (10 ft-lbs)
SELESAI
1. Pasang sekring utama. Lihat manual pemilik.
2. Pasang tas kargo. Lihat manual pemilik.