KIT SELANG REM MODULAR
J056532023-11-01
UMUM
CATATAN
Model Sportster ® ABS dan non-ABS, Touring, Trike, Dyna ® dan Softail ® cakram depan ganda dapat menggunakan kit selang rem bagian atas ini. Hanya petunjuk pemasangan untuk selang rem atas dan bawah pada semua model Sportster ABS dan non-ABS 2014 dan setelahnya yang ada pada dokumen ini.
Petunjuk untuk pemasangan selang rem bagian atas dan bawah pada model-model lainnya dapat ditemukan di Kit Selang Rem Bawah:
  • Pemasangan selang rem bagian atas dan bawah pada model Touring non-ABS dan model Trike 2013 dan sebelumnya dapat ditemukan pada lembar instruksi J04431.
  • Pemasangan selang rem bagian atas dan bawah pada semua model Touring ABS dapat ditemukan pada lembar instruksi untuk model ini pada J04652 atau J05790.
  • Pemasangan selang rem terhubung bagian atas dan bawah pada model Trike 2014 dan setelahnya dapat ditemukan pada lembar instruksi J05690 (Selang Rem Bawah Terhubung) atau J05691 (Kit Adaptor Terhubung).
  • Pemasangan selang rem bagian atas dan bawah pada model Dyna cakram ganda depan dapat ditemukan pada lembar instruksi J04488.
  • Pemasangan selang rem atas dan bawah untuk model Softail dari 2018 dan yang lebih baru dapat ditemukan di manual untuk J06451.
Nomor Kit
Tabel 1. Kit Selang Rem Atas - Sudut Banjo 0° - Lurus
Diamond-Black
Kit
Diamondback
Kit
Panjang
41800534
41800532
13 inci (33,0 cm)
41800248
41800234
15 inci (38,1 cm)
41800250
41800236
16,5 inci (41,9 cm)
---
41800464
18,5 inci (47,0 cm)
41800254
41800240
20,5 inci (52,1 cm)
41800440
41800424
22,5 inci (57,2 cm)
41800258
41800244
24,5 inci (62,2 cm)
41800260
41800246
26,5 inci (67,3 cm)
41800441
41800425
28,5 inci (72,4 cm)
41800456
41800453
30,5 inci (77,5 cm)
41800480
41800465
32,5 inci (82,6 cm)
---
41800466
34,5 inci (87,6 cm)
41800481
41800467
36,5 inci (92,7 cm)
CATATAN
Selang rem bagian atas Diamond-Black dan Diamondback TM tersedia dalam berbagai sudut banjo silinder master, dan panjang selang rem. Dibutuhkan selang pendek atau panjang ketika modifikasi tertentu (seperti setang opsional) dibuat pada kendaraan. Baca katalog retail P&A atau kunjungi dealer Harley-Davidson.
Tabel 2. Kit Selang Rem Atas - Sudut Banjo 35°
Diamond-Black
Kit
Diamondback
Kit
Panjang
---
41800818
15,0 inci (38,0 cm)
41800252
41800238
18,5 inci (47,0 cm)
41800455
41800452
20,5 inci (52,1 cm)
41800256
41800242
22,5 inci (57,2 cm)
41800436
41800420
24,5 inci (62,2 cm)
41800437
41800421
26,5 inci (67,3 cm)
41800438
41800422
28,5 inci (72,4 cm)
41800439
41800423
30,5 inci (77,5 cm)
41800551
41800468
32,5 inci (82,6 cm)
41800482
41800469
34,5 inci (87,6 cm)
---
41800470
36,5 inci (92,7 cm)
41800483
41800471
40,0 inci (101,6 cm)
41800484
41800472
44,0 inci (111,8 cm)
Tabel 3. Kit Selang Rem Atas - Sudut Banjo 90°
Diamond-Black
Kit
Diamondback
Kit
Panjang
41800442
41800426
18,5 inci (47,0 cm)
41800443
41800427
20,5 inci (52,0 cm)
41800457
41800454
22,5 inci (57,2 cm)
41800553
41800473
24,5 inci (62,2 cm)
---
41800474
26,5 inci (67,3 cm)
---
41800475
28,5 inci (72,4 cm)
---
41800476
30,5 inci (77,5 cm)
41800485
41800477
32,5 inci (82,6 cm)
---
41800478
34,5 inci (87,6 cm)
---
41800479
36,5 inci (92,7 cm)
41800907
41800906
12,8 inci (32,5 cm)
Tabel 4. Kit Selang Rem Bawah dan Tengah
Kesesuaian
Kit Diamond-Black
Kit Diamondback
Panjang, Sudut Banjo Kaliper
Instruksi
Lembar No.
APLIKASI NON-ABS
Model Sportster ® 1200V 2012 dan Setelahnya
41800413
41800412
Panjang 20,5 in (52 cm), 10 mm x 65°
-J05653
Model Sportster ® 2004 dan setelahnya ( kecuali 1200V)
41800228
41800226
Panjang 18,5 in (47 cm), 10 mm x 65°
Model Sportster ® 1200CX 2016 dan Setelahnya
41800592A
41800590A
Panjang 16,5 in (43 cm), 10 mm x 65°
Selang Rem Bawah dan Tengah (Hanya Referensi)
Model Road King ® / Road Glide ® 1994-2007
48938-10
45818-07
Panjang 16,0 in (40,6 cm), 3/8 in x 78°
-J04431
Model Electra Glide ® / Street Glide ® 1996-2007
---
45820-07
Panjang 16,0 in (40,6 cm), 3/8 in x 78°
Model Road King ® / Road Glide ® 2008-2013
48942-10
44907-08
Panjang 15,3 in (38,9 cm), 10 mm x 90°
Model Electra Glide ® / Street Glide ® 2008-2013
41800280
44905-08
Panjang 15,3 in (38,9 cm), 10 mm x 90°
Model Street Glide ® Trike/
Tri Glide TM Ultra Classic ® 2008-2013
--
83666-10
Panjang 16,8 in (42,7 cm), 10 mm x 90°
Model FXDF 2008 dan Setelahnya, FXDL 2014-Setelahnya
48928-10
42112-08A
Panjang 18,5 in (47,0 cm), 3/8 in x 78°
-J04488
Model Electra Glide ® /Street Glide ® /
Road King ® 2014 dan Setelahnya
41800338
41800336
Panjang 22,3 in (54 cm), 10 mm x 65°
-J05792
APLIKASI REM ABS DAN REM TERHUBUNG
Model Sportster ® 1200V 2014 dan Setelahnya
41800417A
41800416A
Panjang 21,3 in (54 cm), 10 mm x 65°
-J05653
Model Sportster ® 2014 dan Setelahnya ( kecuali 1200V)
41800232A
41800230A
Panjang 19,3 in (49 cm), 10 mm x 65°
Model Sportster ® 1200CX 2016 dan Setelahnya
41800587
41800585
Panjang 16,9 in (43 cm), 10 mm x 65°
Selang Rem Bawah dan Tengah (Hanya Referensi)
Model Electra Glide ® / Street Glide ® /
Road King ® 2014 dan Setelahnya
48946-10
41825-09
Panjang 15,0 in (38,1 cm), 10 mm x 90°
-J04652
Model Road Glide ® 2009-2013
---
46049-09
Panjang 14,0 in (35,6 cm), 10 mm x 90°
Model FXDF 2012 dan Setelahnya, FXDL 2014 dan Setelahnya
41800078
41800048
Panjang 19,0 in (48,3 cm), 3/8 in x 78°
-J04488
Model Electra Glide ® /Street Glide ® /
Road King ® 2014 dan Setelahnya
Tengah Atas 41800321
(lapisan akhir bawaan)
Panjang 64,0 in (163 cm), blok 12 mm
-J05790
Tengah Bawah 41800323
(lapisan akhir bawaan)
Panjang 68,5 in (174 cm), blok 10 mm
41800333
41800332
Panjang 14,9 in (37,8 cm), 10 mm x 90°
Tri GlideTM Ultra Classic ® 2014 dan Setelahnya,
(Sistem Rem Terhubung)
Adaptor 41600094 (Krom)
1,0 in (2,5 cm), 12 mm x 80 °
-J05690
---
41800292
Panjang 16,8 in (42,7 cm), 10 mm x 60°
-J05691
Model
Untuk informasi kesesuaian model, baca katalog retail P&A atau bagian Komponen dan Aksesori di www.harley-davidson.com (hanya tersedia dalam Bahasa Inggris).
Persyaratan Pemasangan
Yang diperlukan adalah minyak rem hidraulis segar dan tidak terkontaminasi. Lihat manual pemilik untuk minyak rem yang benar.
PERINGATAN
Rem merupakan komponen keselamatan penting. Hubungi dealer Harley-Davidson untuk perbaikan atau penggantian rem. Rem yang tidak diservis dengan benar dapat memengaruhi performa rem dan menyebabkan kematian atau cedera parah. (00054a)
PERINGATAN
Keselamatan pengendara bergantung pada pemasangan kit ini secara benar. Pemasangan kit harus dilakukan di dealer untuk kendaraan yang dilengkapi rem ABS. Pemasangan kit yang benar memerlukan alat khusus yang hanya tersedia di Dealer Harley-Davidson. Sistem rem yang tidak diservis dengan benar dapat memengaruhi performa rem, yang dapat menyebabkan kematian atau cedera parah. (00578b)
PERINGATAN
Keselamatan pengendara dan penumpang bergantung pada pemasangan kit yang benar. Gunakan prosedur manual servis yang benar. Jika Anda tidak mampu menjalankan prosedur ini atau tidak memiliki alat yang tepat, mintalah dealer Harley-Davidson untuk melakukan pemasangan. Pemasangan yang salah terkait perangkat ini dapat menyebabkan kematian atau cedera parah. (00333b)
CATATAN
Lembar instruksi ini mengacu pada informasi manual servis. Manual servis kendaraan tahun/model ini dibutuhkan untuk pemasangan. Manual servis tersebut tersedia di dealer Harley-Davidson.
Isi Kit
Lihat Tabel 5 , Tabel 6 dan Tabel 7 .
PERSIAPAN
PERINGATAN
Untuk mencegah starter kendaraan tiba-tiba, yang dapat menyebabkan kematian atau cedera parah, lepas sekring utama sebelum melakukan pemasangan lampu depan. (00251b)
CATATAN
  • DILENGKAPI sirene keamanan: Dengan fob berada dalam jangkauan, putar sakelar ignisi ke posisi ON. Lihat manual servis. Nonaktifkan sistem keamanan. Putar sakelar ignisi ke posisi OFF. SEGERA lepas sekring utama.
  • TANPA sirene keamanan: Lihat manual servis. Lepas sekring utama.
PERINGATAN
Kontak dengan minyak rem DOT 4 dapat memberikan dampak buruk yang serius pada kesehatan. Kelalaian untuk mengenakan pelindung mata dan kulit yang tepat dapat menyebabkan kematian atau cedera parah.
  • Jika terhirup: Tetaplah tenang, hirup udara segar, cari bantuan medis.
  • Jika mengenai kulit: Lepas pakaian yang terkena minyak. Basuh kulit dengan air selama 15-20 menit. Jika iritasi semakin parah, cari bantuan medis.
  • Jika mengenai mata: Biarkan kelopak mata terbuka dan cuci mata yang terkena minyak dengan air mengalir selama setidaknya 15 menit. Jika iritasi semakin parah, cari bantuan medis.
  • Jika tertelan: Bersihkan mulut dan minum banyak air. Jangan paksa untuk muntah. Hubungi Layanan Penanggulangan Keracunan. Segera cari bantuan medis.
  • Lihat Lembar Data Keselamatan (SDS) untuk perinciannya di sds.harley-davidson.com
(00240e)
PEMBERITAHUAN
Permukaan yang dicat dan panel bodi dapat rusak jika terkena minyak rem DOT 4. Selalu berhati-hati dan lindungi permukaan dari tumpahan ketika melakukan servis pada rem. Kelalaian dalam mematuhi petunjuk ini dapat menyebabkan kerusakan penampilan kendaraan. (00239c)
CATATAN
Jika minyak rem DOT 4 mengenai permukaan yang dicat, SEGERA bersihkan permukaan dengan air bersih.
Tutupi komponen yang dicat untuk melindungi permukaan sepeda motor.
  1. Lihat manual servis. Kuras fluida rem dari selang dan reservoir rem depan.
PEMASANGAN, MODEL SPORTSTER NON-ABS
Pelepasan Kabel Rem Depan Orisinal
PEMBERITAHUAN
Lepas komponen saluran rem dengan saksama. Kerusakan pada permukaan dudukan dapat menyebabkan kebocoran. (00320a)
  1. Perhatikan perutean selang rem depan dan orientasi mur banjo.
  2. Lihat Gambar 1 dan Gambar 2. Putuskan selang rem depan dari silinder master rem depan dan kaliper rem depan. Simpan baut banjo silinder master dan kaliper. Lepaskan semua washer penyegel.
  3. Lihat Gambar 3 dan Gambar 4 . Lepaskan klem-P dan perangkat pemasangan dari lokasi berikut: Simpan perangkat pemasangan untuk pemasangan kemudian. Singkirkan klem-P.
    1. Di bawah klem garpu bagian bawah.
    2. Sepanjang sisi kanan komstir di klem garpu bagian atas.
  4. Perhatikan perutean selang rem depan dan orientasi fiting banjo. Lepaskan selang rem yang ada.
Pemasangan Jalinan Selang Rem Depan
PEMBERITAHUAN
Hindari kebocoran. Pastikan gasket, baut banjo, dan saluran rem bersih dan tidak rusak sebelum dirakit. (00323a)
  1. Pastikan Kit Selang Rem atas dan bawah yang benar telah diperoleh.
  • Dalam beberapa kasus, Kit Selang Rem Atas sudah ditentukan.
  • Dalam kasus lain, tentukan Kit Selang Rem Atas yang tepat (Lihat Tabel 1 , Tabel 2 atau Tabel 3 ) dengan menggunakan Kit Alat Pengukuran Selang Rem dan Kabel. Kunjungi dealer Harley-Davidson untuk mendapatkan bantuan.
  • Lihat Tabel 4 untuk memastikan Kit Selang Rem Bawah yang benar untuk model sepeda motor tertentu.
PERINGATAN
Mengganti gasket saluran rem. Penggunaan kembali gasket asli yang pernah dipakai dapat mengakibatkan masalah pada rem dan hilangnya kontrol pada sepeda motor, yang dapat menyebabkan kematian atau cedera parah. (00318a)
1. Lihat Gambar 1 . Pasang fiting banjo (1) dari selang rem bagian atas (2) di silinder master (3), menggunakan washer penyegel (5) dari Kit Selang Rem Atas di setiap sisi fiting banjo.
2. Pasang baut banjo silinder master (Item 4, yang disimpan sebelumnya). Kencangkan sekrup secukupnya, jangan terlalu kencang.
1Fitting banjo
2Selang rem bagian atas
3Silinder master
4Baut banjo
5Cincin penyegel (2)
Gambar 1. Silinder Master Selang Rem Atas
1Fitting banjo
2Selang rem bawah
3Rangkaian kaliper non-ABS
4Baut banjo
5Cincin penyegel (2)
Gambar 2. Selang Rem Bawah Non-ABS
3. Lihat Gambar 2 . Pasang fiting banjo (1) dari selang rem bagian bawah (2) di kaliper (3), menggunakan washer penyegel (5) dari Kit Selang Rem Bawah di setiap sisi fiting banjo.
a. Posisikan fiting banjo jauh dari kendaraan pada sudut sekitar 10° dari vertikal.
b. Pasang baut banjo kaliper (4, yang disimpan sebelumnya). Kencangkan dengan torsi 19–24,4 N·m (14–18 ft-lbs) .
4. Lihat Gambar 4 . Rutekan sisa selang rem bagian bawah ke arah klem garpu bawah.
1Selang rem bagian atas
2Klem-P, klem garpu bagian atas
3Sekrup klem-P
4Kabel trotel dan siaga (dirutekan di dalam selang rem)
5Sakelar ignisi
Gambar 3. Perutean Selang Rem Atas
Perutean Selang Rem Depan Atas
CATATAN
Perutean selang rem aksesori memiliki tujuan:
  • Perutean yang hati-hati tanpa lipatan tajam atau kekusutan
  • Gerakan bebas tidak terhalang dari kiri ke kanan dalam posisi kunci kemudi
  • Bebas titik jepit dalam pergerakan kemudi
  • Bebas dari potensial hambatan, misalnya sakelar pengapian dengan kunci yang terpasang
Sesuaikan perutean selang rem dengan orientasi P-klem dan fitting banjo dan panjang selang di antara lokasi pemasangan.
5. Rutekan bagian atas dari selang rem atas di sepanjang setang (serupa dengan perutean yang ditunjukkan dalam Gambar 1 ):
a. Setang bawaan model XL1200X, setang drag aksesori atau setang pendek bengkok lainnya: Jika dirutekan ke klem-P bagian atas, selang rem akan kusut. Rutekan langsung dari silinder master di bawah klem garpu bagian bawah tanpa merutekan melalui posisi klem-P sebelumnya.
b. Semua pemasangan lain: Lihat Gambar 3 . Gunakan klem-P baru (2) dari kit selang rem atas untuk memasang selang rem (1) ke klem garpu atas. Pasang sekrup (3) yang dilepaskan sebelumnya secara longgar ke dalam klem garpu atas sehingga penyesuaian selang rem masih dapat dilakukan.
1Selang rem bawah
2Klem-P, klem garpu bawah
3Sekrup klem-P
4Klem garpu bawah
Gambar 4. Perutean Selang Rem Bawah Non-ABS (kaliper tunggal)
1Selang rem bawah
2Klem-P, klem garpu bawah
3Sekrup klem-P
4Klem garpu bawah
Gambar 5. Perutean Selang Rem Bawah Non-ABS (kaliper ganda)
1Selang rem bagian atas
2Mur putar female
3Selang rem bawah
4Fiting male
Gambar 6. Fiting Selang Rem Atas ke Bawah
6. Rutekan sisa selang rem bagian atas di bawah klem garpu bawah. Lihat Gambar 4 . Pada model kaliper tunggal, pasang secara longgar klem-P berbantal karet (2) dari kit selang rem bagian bawah di atas ujung mur putar dari selang rem bagian atas. Posisikan sehingga dapat dikencangkan menggunakan pengencang di belakang selang rem.
7. Lihat Gambar 6. Pasang secara longgar fiting mur putar female (2) dari selang rem bagian atas (1) ke fiting male (4) di selang rem bagian bawah (3). Putar sejauh yang Anda bisa dengan tangan.
CATATAN
Saat mengencangkan fitting, yang diputar hanya mur putar. Jangan sampai fitting male atau tabung manifol berputar.
8. Pastikan hanya mur putar yang berputar, kencangkan mur putar dengan jari hingga 45° (1/8 putaran) atau:
Torque: 5,1–7,3 N·m (45–65 in-lbs) mur putar
9. Pasang rangkaian selang rem ke bagian bawah batang klem garpu bawah.
  • Lihat Gambar 4 . Untuk model kaliper tunggal, posisikan klem-P berbantal karet di atas sambungan fiting, dan sejajarkan dengan bagian bawah batang klem garpu bawah. Sisi datar klem berada di atas bagian bawah klem garpu bawah. Lingkaran klem berbantal karet menghadap ke bagian depan kendaraan.
  • Lihat Gambar 5 . Untuk model kaliper ganda, tempatkan manifol pada bagian bawah klem garpu bawah, pastikan lubang pengikat berada di belakang selang rem.
10. Pasang selang rem menggunakan sekrup asli (3) yang dilepas sebelumnya. Kencangkan sekrup ke:
Torque: 10,8–13,6 N·m (8–10 ft-lbs) sekrup
11. Untuk menyelesaikan pemasangan, sesuaikan perutean selang rem bagian atas dengan menyesuaikan sudut rotasi banjo silinder master dan orientasi klem-P bagian atas. Tujuannya adalah:
  • Perutean yang hati-hati tanpa lipatan tajam atau kekusutan
  • Gerakan bebas tidak terhalang dari kiri ke kanan dalam posisi kunci kemudi
  • Bebas titik jepit dalam pergerakan kemudi
  • Bebas dari potensial hambatan, misalnya sakelar pengapian dengan kunci yang terpasang
12. Kencangkan baut banjo silinder master (yang dipasang sebelumnya) ke:
Torque: 19–24,4 N·m (14–18 ft-lbs) baut banjo
13. Kencangkan pengikat klem-P bagian atas ke:
Torque: 4–5,4 N·m (3–4 ft-lbs) Sekrup Klem-P
14. Kencangkan perutean selang rem dengan pengikat kabel dari kit selang rem bagian atas.
15. Kunjungi PENYESUAIAN DAN PEMERIKSAAN PERUTEAN SELANG REM .
PEMASANGAN, MODEL SPORTSTER ABS
PERINGATAN
Keselamatan pengendara bergantung pada pemasangan kit ini secara benar. Pemasangan kit harus dilakukan di dealer untuk kendaraan yang dilengkapi rem ABS. Pemasangan kit yang benar memerlukan alat khusus yang hanya tersedia di Dealer Harley-Davidson. Sistem rem yang tidak diservis dengan benar dapat memengaruhi performa rem, yang dapat menyebabkan kematian atau cedera parah. (00578b)
Pelepasan Kabel Rem Depan Orisinal
CATATAN
Tutupi komponen yang dicat untuk melindungi permukaan sepeda motor.
PEMBERITAHUAN
Lepas komponen saluran rem dengan saksama. Kerusakan pada permukaan dudukan dapat menyebabkan kebocoran. (00320a)
1. Perhatikan perutean kabel Sensor Kecepatan Roda (WSS) dan lokasi pengikat kabel. Lepaskan pengikat kabel dan klip yang menahan WSS ke selang rem. Simpan klipnya.
2. Lihat Gambar 8 . Lepaskan sekrup bahu (2) yang menahan manifol selang rem (1) ke batang garpu bawah. Simpan sekrup bahu untuk pemasangan nanti dengan selang rem baru.
3. Lepaskan sambungan mur tabung selang rem (3) di bagian belakang manifol selang rem bagian bawah.
4. Lihat Gambar 3 . Lepaskan pengencang klem-P (3) dan klem-P (2) dari braket garpu bagian atas. Simpan pengencang. Buang klem-P.
5. Lihat Gambar 1 . Lepaskan selang rem (2) dari silinder master rem depan (3). Buang cincin penyegel (5), tetapi simpan baut banjo (4).
1Fitting banjo
2Selang rem bawah
3Rangkaian kaliper ABS
4Baut banjo
5Cincin penyegel (2)
6Kabel sensor kecepatan roda
Gambar 7. Perutean Selang Rem Bagian Bawah ABS
6. Lihat Gambar 7 . Perhatikan orientasi fitting banjo. Lepaskan baut banjo (4). Copot semua cincin penyegel (5). Simpan baut banjo.
Pemasangan Jalinan Selang Rem Depan
PERINGATAN
Mengganti gasket saluran rem. Penggunaan kembali gasket asli yang pernah dipakai dapat mengakibatkan masalah pada rem dan hilangnya kontrol pada sepeda motor, yang dapat menyebabkan kematian atau cedera parah. (00318a)
PEMBERITAHUAN
Hindari kebocoran. Pastikan gasket, baut banjo, dan saluran rem bersih dan tidak rusak sebelum dirakit. (00323a)
CATATAN
Perutean selang rem aksesori memiliki tujuan:
  • Perutean yang hati-hati tanpa lipatan tajam atau kekusutan
  • Gerakan bebas tidak terhalang dari kiri ke kanan dalam posisi kunci kemudi
  • Bebas titik jepit dalam pergerakan kemudi
  • Bebas dari potensial hambatan, misalnya sakelar pengapian dengan kunci yang terpasang
Sesuaikan perutean selang rem dengan orientasi P-klem dan fitting banjo dan panjang selang di antara lokasi pemasangan.
1Manifol selang rem
2Sekrup shoulder
3Sambungan mur tabung selang ABS (2)
Gambar 8. Manifol Selang Rem
1. Lihat Gambar 8 . Posisikan manifol selang rem (1) di bagian bawah batang garpu dengan kaki bagian bawah dari selang rem yang turun di bagian belakang garpu depan ke kaliper rem.
2. Kencangkan manifol ke batang garpu dengan sekrup bahu yang dilepas sebelumnya (2). Kencangkan sekrup ke:
Torque: 4,1–5,4 N·m (36–48 in-lbs)
3. Hubungkan fitting mur tabung selang rem ABS (3) ke manifol jalinan selang rem. Kencangkan mur tabung ke:
Torque: 14,5–19,3 N·m (10,7–14,4 ft-lbs) Mur Tabung
4. Lihat Gambar 7 . Di kaliper rem, pasang cincin penyegel baru (5) dari Kit Selang Rem Bawah di setiap sisi fitting banjo selang rem (1). Masukkan baut banjo (4, yang dilepas sebelumnya) melalui cincin penyegel dan fitting. Masukkan baut ke dalam kaliper.. Kencangkan ke:
Torque: 19–24,4 N·m (14–18 ft-lbs) Baut Banjo
5. Ambil rangkaian selang rem atas yang baru. Rutekan selang rem atas dari silinder master di sepanjang bagian depan setang, di belakang klem garpu atas dan turun ke fitting male di ujung atas dari selang rem bagian bawah.
6. Lihat Gambar 1 . Pasang fitting banjo (1) dari selang rem bagian atas yang baru di silinder master. Gunakan cincin penyegel baru (5) dari Kit Selang Rem Bagian Atas di setiap sisi fitting.
7. Pasang baut banjo (4, yang dilepaskan sebelumnya), tetapi jangan kencangkan sepenuhnya dahulu.
8. Rutekan bagian atas dari selang rem atas di sepanjang setang (mirip dengan perutean yang ditunjukkan pada Gambar 1 ).
a. Setang bawaan model XL1200X, setang drag aksesori atau setang pendek bengkok lainnya: Jika dirutekan ke klem-P bagian atas, selang rem akan kusut. Rutekan langsung dari silinder master di bawah klem garpu bagian bawah tanpa merutekan melalui posisi klem-P sebelumnya.
b. Semua pemasangan lain: Lihat Gambar 3 . Gunakan klem-P baru (2) dari kit selang rem atas untuk memasang selang rem (1) ke klem garpu atas. Pasang sekrup (3) yang dilepaskan sebelumnya secara longgar ke dalam klem garpu atas sehingga penyesuaian selang rem masih dapat dilakukan.
9. Periksa perutean selang rem atas dari silinder master, di sepanjang setang dan melalui klem-P, ke persimpangan selang rem bagian atas dan bawah. Pastikan perutean selang rem lancar dan tidak mengganggu komponen kendaraan. Jika perlu, sesuaikan orientasi klem-P.
10. Sambungkan fiting female di selang rem bagian atas ke fitting male pada manifol. Masukkan fitting male ke fitting female dan kencangkan dengan jari.
CATATAN
Saat mengencangkan fitting, yang diputar hanya mur putar. Jangan sampai fitting male atau tabung manifol berputar.
11. Sambil memutar mur putar saja, kencangkan mur putar dengan jari hingga 45° (1/8 putaran) atau
Torque: 5,1–7,3 N·m (45–65 in-lbs)
12. Untuk menyelesaikan pemasangan, sesuaikan perutean selang rem bagian atas dengan menyesuaikan sudut rotasi banjo silinder master dan orientasi klem-P bagian atas. Tujuannya adalah:
  • Perutean yang hati-hati tanpa lipatan tajam atau kekusutan
  • Gerakan bebas tidak terhalang dari kiri ke kanan dalam posisi kunci kemudi
  • Bebas titik jepit dalam pergerakan kemudi
  • Bebas dari potensial hambatan, misalnya sakelar pengapian dengan kunci yang terpasang
13. Kencangkan baut banjo silinder master (yang dipasang sebelumnya) ke:
Torque: 19–24,4 N·m (14–18 ft-lbs) baut banjo
14. Kencangkan pengikat klem-P bagian atas ke:
Torque: 4–5,4 N·m (3–4 ft-lbs) Sekrup Klem-P
15. Kencangkan perutean selang rem dengan pengikat kabel dari kit selang rem atas.
Penyesuaian dan Pemeriksaan Perutean Selang Rem
1. Angkat kendaraan sehingga garpu depan mencapai ekstensi maksimum. Pastikan bahwa selang rem bawah tidak ditarik kencang ketika garpu dipanjangkan sepenuhnya.
2. Periksa perutean selang rem atas dan bawah dan orientasi fitting banjo:
a. Pastikan bahwa selang rem bawah cukup panjang untuk memungkinkan ekstensi penuh garpu tanpa membuat selang rem tertarik.
b. Sepenuhnya pampatkan garpu untuk memeriksa bahwa selang rem bagian bawah tidak mengganggu komponen sepeda motor.
3.
CATATAN
Perutean selang rem aksesori ini bertujuan untuk:
  • Perutean yang hati-hati tanpa lipatan tajam atau kekusutan
  • Gerakan bebas tidak terhalang dari kiri ke kanan dalam posisi kunci kemudi
  • Bebas titik jepit dalam pergerakan kemudi
  • Bebas dari potensial hambatan, misalnya sakelar pengapian dengan kunci yang terpasang
  • Menghindari kontak dengan permukaan yang dicat sepanjang gerakan kemudi (sepatbor, tangki bensin, bermacam-macam komponen bodi)
  • Kontak struktur ringan dengan rangka, tabung bawah, atau klem tripel dapat terjadi tetapi hanya pada gerakan kemudi penuh
Penyesuaian terhadap perutean selang rem dapat mencakup:
  • Penggunaan klem-P sebagai pengganti retensi bentuk kawat bawaan (pada beberapa model)
  • Orientasi fitting adaptor manifol bagian rendah (pada beberapa model)
  • Panjang selang antara lokasi dudukan dan sudut fitting banjo
  • Orientasi klem-P
  • Orientasi fitting banjo
Pastikan semua selang rem dirutekan dengan benar. Ini termasuk memutar setang dari penguncian ke penguncian, dan memastikan bahwa semua saluran rem tidak merobek, membelit, menggosok bagian sekitarnya, atau terjepit di antara bagian. Jika terjadi salah satu di atas, periksa perutean selang rem, dan menyesuaikan seperlunya.
4. Sesuaikan selang rem dan/atau orientasi fitting banjo sesuai kebutuhan. Jika selang rem bersentuhan dengan kunci yang dimasukkan atau kunci jarak jauh selama setang dibelokkan ke kanan sejauh mungkin:
a. Saat penyesuaian selesai, kencangkan baut banjo silinder master ke:
Torque: 19–24,4 N·m (14–18 ft-lbs) Baut banjo
b. Sambil memegang klem-P dalam orientasi yang benar, kencangkan sekrup klem-P pada klem garpu ke:
Torque: 4–5,4 N·m (3–4 ft-lbs) Baut banjo
c. Pasang pengikat kabel di lokasi yang sama seperti pengikat kabel awal atau jika perlu untuk mempertahankan perutean jalur rem yang tepat.
d. Putar klem berbantal karet di bawah klem garpu bagian bawah ke sisi kiri kendaraan. Pindahkan bagian vertikal dari selang rem di antara klem bagian atas dan bawah sejauh mungkin ke kanan. Penyesuaian ini menjauhkan selang rem dari kunci kontak.
e. Jika selang rem menyentuh klem garpu bagian bawah, putar klem berbantal karet ke sisi kanan kendaraan.
RANGKAIAN AKHIR
Pembuangan dan Pengujian Selang Rem Depan
CATATAN
Tutupi komponen krom dan yang dicat untuk melindungi permukaan sepeda motor.
1. Lepaskan penutup silinder master rem depan, kecuali jika sudah dilakukan.
2. Posisikan sepeda motor tegak lurus (tidak bersandar pada standar samping) pada permukaan yang datar.
PERINGATAN
Hanya gunakan minyak rem hidraulis DOT 4 pada silinder master rem. Penggunaan jenis minyak rem lain dapat merusak sistem rem dan memengaruhi pengereman, yang dapat menyebabkan kematian atau cedera parah. (00597c)
3. Tambahkan hanya minyak rem hidraulis DOT 4 ke reservoir silinder master hingga tinggi minyak 3,2 mm (1/8 inci) dari atas. Jangan menggunakan minyak rem bekas. Gunakan hanya minyak rem yang belum dibuka sebelumnya.
PERINGATAN
Pastikan port pelepas silinder master tidak tersumbat. Port pelepas yang tersumbat dapat mengakibatkan rem seret atau terkunci dan hilangnya kontrol pada sepeda motor, yang dapat menyebabkan kematian atau cedera parah. (00317a)
4. Pastikan porta pelepasan silinder master dioperasikan secara tepat dengan menggerakkan pedal atau tuas rem. Sedikit semburan cairan akan memecah permukaan fluida di dalam reservoir jika komponen internal berfungsi dengan baik.
CATATAN
Model ABS: Model ABS memerlukan alat khusus untuk membuang angin rem yang hanya tersedia di dealer Harley-Davidson.
PERINGATAN
Setelah menyervis rem dan sebelum menjalankan sepeda motor, tekan tuas rem untuk membangun tekanan sistem rem. Tekanan yang tidak memadai dapat memengaruhi performa pengereman, yang dapat menyebabkan kematian atau cedera parah. (00279a)
5. Buang angin rem mengikuti instruksi dalam manual servis.
6. Periksa fitting silinder master dan banjo kaliper serta sambungan male/female di bawah klem garpu bagian bawah untuk melihat tanda-tanda kebocoran.
7. Kencangkan sekrup cerat. Pasang penutup cerat.
Torque: 3,9–6,9 N·m (34,5–61 in-lbs) mur segienam
8. Tambahkan minyak rem ke reservoir silinder master hingga tinggi minyak sekitar 3,2 mm (1/8 inci) dari atas.
CATATAN
Sebelum memasang penutup silinder master, pastikan ubub (bellow) gasket penutup tidak mengembang. Jika ubub mengembang, minyak rem akan dikeluarkan dari reservoir pada saat pemasangan penutup, yang dapat merusak permukaan kendaraan.
9. Salah satu ujung penutup silinder master lebih tipis dari yang lain. Pasang penutup (dengan kondisi gasket terkompresi) pada reservoir silinder master, dengan ujung yang lebih tebal diposisikan di atas fitting selang rem. Kencangkan sekrup ke:
Torque: 1–2 N·m (8,8–17,7 in-lbs) sekrup
PENYELESAIAN
CATATAN
Untuk mencegah kerusakan pada sistem suara, pastikan ignisi dalam posisi OFF sebelum memasang sekring utama.
1. Lihat manual servis. Pasang sekring utama.
PERINGATAN
Setelah memasang jok, tarik ke atas untuk memastikan jok terpasang kencang. Saat berkendara, jok yang kendur dapat bergeser dan menimbulkan hilang kendali yang dapat menyebabkan kematian atau cedera parah. (00070b)
2. Lihat manual servis. Pasang jok.
PERINGATAN
Setelah memperbaiki sistem rem, lakukan pengujian rem dengan kecepatan rendah. Jika rem tidak berfungsi dengan baik, pengujian dengan kecepatan tinggi dapat mengakibatkan sepeda motor kehilangan kontrol, yang dapat menyebabkan kematian dan cedera parah. (00289a)
3. Lakukan uji berkendara dengan kecepatan rendah. Ulangi prosedur pembuangan angin jika rem terasa ringan.
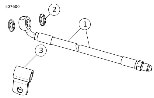
KOMPONEN SERVIS
Gambar 9. Komponen Servis: Kit Selang Rem Atas
Tabel 5. Komponen Servis: Kit Selang Rem Atas
Item
Deskripsi (Jumlah)
Nomor Komponen
1
Selang rem bagian atas
Tidak Dijual Terpisah
2
Cincin penyegel, 10 mm (2)
41756-08
3
P-klem
10059A
4
Pengikat kabel (3)
10065
Gambar 10. Komponen Servis: Kit Selang Rem Bawah non-ABS Sportster
Tabel 6. Komponen Servis: Kit Selang Rem Bawah non-ABS Sportster
Item
Deskripsi (Jumlah)
Nomor Komponen
1
Selang rem bawah, non-ABS
Tidak Dijual Terpisah
2
Cincin penyegel, 10 mm (2)
41756-08
3
Klem-P, berbantal karet
42364-07
Gambar 11. Komponen Servis: Kit Selang Rem Bawah ABS Sportster
Tabel 7. Komponen Servis: Kit Selang Rem Bawah ABS Sportster
Item
Deskripsi (Jumlah)
Nomor Komponen
1
Selang rem bawah, ABS
Tidak Dijual Terpisah
2
Cincin penyegel, 10 mm (2)
41756-08
3
Pengikat kabel (3)
10065
KOMPONEN SERVIS
Gambar 12. Komponen Servis: Selang Rem Bawah Cakram Ganda Non-ABS
Tabel 8. Komponen Servis: Kit Selang Rem Bawah Cakram Ganda Non-ABS
Item
Deskripsi (Jumlah)
Nomor Komponen
1
Selang rem bawah, Non-ABS
Tidak Dijual Terpisah
2
Cincin penyegel, 10 mm (4)
41756-08
3
Pengikat kabel (6)
10065
Gambar 13. Komponen Servis: Selang Rem Bawah Cakram Ganda ABS
Tabel 9. Komponen Servis: Selang Rem Bawah Cakram Ganda ABS
Item
Deskripsi (Jumlah)
Nomor Komponen
1
Selang rem bawah, ABS
Tidak Dijual Terpisah
2
Cincin penyegel, 10 mm (4)
41756-08
3
Pengikat kabel (6)
10065