ערכת המרה עבור ארגז מטען TOUR-PAK שניתן להסרה, דגמי FL TOURING משנת ייצור 2014 ומאוחר יותר
941003082023-02-08
מידע כללי
טבלה 1.
ערכות
כלים מוצעים
רמת המיומנות
זמן
53000916, 53000917, 53001012, 53001013
משקפי בטיחות, מפתח מומנט, עיפרון שמן, אלכוהול איזופרופיל
תכולת הערכה
איור 1. תכולת הערכה: תושבת של ארגז מטען Tour-Pak שניתן להסרה
טבלה 2. תכולת הערכה
פריט
כמות
תיאור
מספר ערכה
מספר חלק
הערות
1
1
ערכת חלקי העיגון
53000917
52300353
53000916
52300354
2
1
ערכת ניתוק, תושבת של Tour-Pak
53000917
53000221
53000916
53000459
3
1
ערכת פנס עזר אחורי
53000916, 53000917
67801023
4
1
מסגרת, לוחית רישוי
53000917
67900167
53000916
67900362
5
3
רצועת הכבל
10006
6
2
רפלקטור
67900256
7
4
תפס, קיבוע רתמת החיווט
69202780
8
1
ערכת פנס עזר אחורי
53001012, 53001013
67801446
הערה
יש לוודא שכל התכולה נמצאת בערכה לפני שמתקינים אותה או שמסירים פריטים מכלי הרכב.
כללי
דגמים
למידע אודות החלקים המתאימים לדגם עיין בסעיף P & A בקטלוג הקמעונאי או בפרק על חלקים ואביזרים של www.harley-davidson.com (אנגלית בלבד).
ודא כי אתה משתמש בגירסה העדכנית ביותר של גיליון ההוראות אשר זמין ב: www.harley-davidson.com/isheets
דרישות התקנה
הערה
אם עדיין נעשה שימוש באנטנה חיצונית, ראה להלן.
פריטים אלה זמינים בסוכנות Harley-Davidson המקומית.
  • דגמים עם מכשיר קשר: נדרשת ערכת מיקום מחדש של אנטנת מכשיר קשר (מס' חלק 76000308).
  • דגמים עם אנטנת AM/FM: רכישה אופציונלית של ערכת מיקום מחדש של אנטנה (מס' חלק 76000582).
  • דגמים עם אנטנת AM/FM: רכישה אופציונלית של אנטנה פנימית מוסתרת (מס' חלק 76000862). ניתן להתקין אופציה זו בדגמי Tour-Pak או בדגמים עם מעטפת קדמית לקבלת מראה נקי יותר.
ייתכן שתידרש לרכוש ולהתקין בנפרד חלקים או אביזרים נוספים כדי להתקין ערכה זו בדגם האופנוע שלך כמו שצריך. נא לעיין בקטלוג הקמעונאי לחלקים ולאביזרים או בדף "Parts and Accessories" באתר www.harley-davidson.com (אנגלית בלבד) כדי לראות מה הם החלקים או האביזרים הנחוצים.
אזהרה
הבטיחות של הרוכב והנוסע תלויה בהתקנה נכונה של הערכה הזאת. השתמש בהליכי הטיפול המתאימים שבמדריך. אם אינך מסוגל לבצע את הנוהל או אם אין לך הכלים הנכונים, בצע את ההתקנה בסוכנות Harley-Davidson. התקנה לא נאותה של הערכה הזאת עלולה לגרום למוות או פגיעה חמורה. (00333b)
הכנה
1. הסר את המושב. עיין במדריך הטיפולים.
2. הסר את תיקי האוכף. עיין במדריך הטיפולים.
3. הסר את הכיסוי שבצד השמאלי. עיין במדריך הטיפולים.
אזהרה
כדי למנוע התנעה בשוגג של הרכב העלולה לגרום למוות או פציעה חמורה, הסר את הנתיך הראשי לפני שתמשיך. (00251b)
4.
הערה
עבור כלי רכב המצוידים במערכת אבטחה עם אזעקה: כאשר מבטח fob נמצא בתחום ההפעלה, סובב את מתג ההצתה למצב ON (מחובר). העבר את מתג ההצתה למצב OFF (הדממה). הסר מיד את הנתיך הראשי.
הסר את הנתיך הראשי. עיין במדריך הטיפולים.
5.
הערה
בתמוכת ה-TOUR-PAK יש חריצים שמאפשרים לכוונן את המיקום. תעד את המיקום לפני ההסרה.
הערה
בדגמי APC אין אפשרות לכוונון. לוחית המתאם ממקמת את ה-Tour-Pak כך שהוא יעמוד בתקנות השוק.
הסר את ה-Tour-Pak ® .
5.1. ראה איור 2 . הפרד את מחברי החשמל.
1שמע
2אנטנת CB:
3אנטנת רדיו
4אורות אחוריים
איור 2. מחברי Tour-Pak
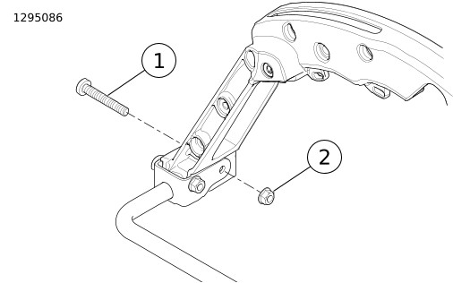
5.2. ראה איור 3 . הסר את אומי האוגן (3) שמצמידים את ה-Tour-Pak אל מתלה התמיכה.
1TOUR-PAK
2מתלה תמיכה
3אום אוגן (4)
איור 3. תושבת ה-Tour-Pak
d. הסר את המכלול.
5.3. דגמי APC: ראה איור 4 . הסר את ארבעת הברגים, הדסקיות ולוחית המתאם ממתלה התמיכה. החליק קדימה כדי לשחרר את ווי ה-L.
איור 4. בורגי תושבת Tour-Pak (דגמי APC/China)
6.
הערה
בדגמים ללא Tour-Pak יש מרווחים היכן שמרכיבים את תומכות ה-Tour-Pak. מסירים ומתקינים באופן דומה.
הסר את תמוכת ה-TOUR-PAK.
a. ראה איור 5 . הסר את מחברי הרתמה מהעוגנים שעל התמוכה (1).
b. הסר שני ברגים (3) מכל צד.
c. הסר את תמוכת ה-TOUR-PAK.
1תמיכה
2כיסוי (2)
3בורג (4)
4בורג (4 בכל צד)
5תוספת (2) (דגמים ללא TOUR-PAK)
איור 5. תמיכה ב-TOUR-PAK
7. ראה איור 7 . הסר את הפנס האחורי ואת בסיס הפנס האחורי.
a. הסר את הברגים (1).
b. נתק את הפנס האחורי ואת מכלול העדשות והסר אותם (2).
c. שים לב היכן מוקמו המחברים בבסיס הפנס האחורי (4) כדי להקל על ההתקנה.
d. נתק את כל החיבורים הבסיס הפנס האחורי.
e. הסר את הבורג (3) ואת בסיס הפנס האחורי.
8. הברג החוצה את המוט של אנטנת הרדיו מהבסיס שלו. שמור את המוט בצד כדי להתקין אותו מאוחר יותר.
9. ראה איור 6. הסר את האום בצד הפנימי מימין (2). השלך את הבורג (1).
1בורג
2האום בצד הפנימי
איור 6. הסרת הבורג המקורי של היצרן
התקנה
1. ראה איור 1 . התקן את ערכת חלקי העיגון (1) על פי ההוראות שכלולות בערכה .
2. התקן ערכת נורת LED תיק אוכף נסיעה/בלימה/פנייה (3) לפי ההוראות הכלולות בערכה .
3. ראה איור 7 . התקן את מסגרת לוחית הרישוי.
a. התקן את מסגרת לוחית הרישוי (5) בפגוש.
b. נתב את רתמות החיווט דרך מסגרת לוחית הרישוי.
c. התקן את בסיס הפנס האחורי מעל מסגרת לוחית הרישוי. הדק למקום בעזרת בורג (3).
d. הרכב את המחברים על בסיס הפנס האחורי.
e. חבר את הפנס האחורי ואת מכלול העדשות אל בסיס הפנס האחורי. הרכב את הפנס האחורי ואת מכלול העדשות על הבסיס והדק למקום בעזרת ברגים (1).
4. התקן את ה-Tour-Pak על גבי מתלה ה-Tour-Pak הניתן להסרה (מספר חלק 53000221) לפי ההוראות הכלולות בערכה שלו.
5.
הערה
  • הדבק את מחזירי האור בטמפרטורות סביבה בין 21–38 °C (70–100 °F) .
  • לא ניתן לשנות את המיקום של מחזירי האור לאחר ההדבקה הראשונית. אל תסיר את הסרט המגן מהדבק עד שתהיה מוכן להדביק את מחזיר האור.
  • לאחר ההדבקה יש להמתין 24 שעות לפחות לפני שחושפים את האזור לשטיפה נמרצת, לריסוס מים בעוצמה או למזג אוויר קיצוני.
  • חוזק ההדבקה יגדל לכוח המרבי לאחר 72 שעות בטמפרטורת חדר רגילה.
ראה איור 1 . סמן את המיקום של מחזיר האור (12).
a. נקה את המשטח שעליו מציבים את מחזיר האור בתערובת 50:50 של איזופרופיל אלכוהול ומים. יש לאפשר התייבשות גמורה.
b. ראה איור 8 . הנח את מחזיר האור (2) על החלק האחורי של תיק האוכף כשהוא ממוקם במרכז 13 mm (0.5 in) ומתחת לפנס העזר האחורי (1).
c. סמן את המיקום בעיפרון שמן.
6.
הערה
אחרי שמחזירי האור הודבקו כבר, אין להעביר אותם.
התקן את מחזיר האור.
a. הסר את הציפוי הדביק ממחזיר האור.
b. הנח את מחזיר האור במקום המסומן.
c. אחרי שאתה מניח את מחזיר האור, הפעל לחץ שווה על פני כל המשטח למשך 15 שניות.
d. המתן 20 דקות לפני שתיגע במחזירי האור.
1בורג (2)
2פנס אחורי ומכלול עדשות
3בורג
4מכלול בסיס פנס אחורי
5מסגרת לוחית רישוי
6אום J
איור 7. התקן את מסגרת לוחית הרישוי
1פנס עזר אחורי
2רפלקטור
A13 mm (0.5 in)
איור 8. הנחת מחזיר האור
תפס מחוט ברזל
הערה
הקפד להוציא את הכבלים ואת הרתמות מתפסי הנעילה לפני הסרת Tour-Pak. לאחר הסרת Tour-Pak, ניתן לגלול את הכבלים ואת הרתמות ולשים אותם מתחת למושב.
1. איור 9 הרם את המגן (1) כדי להשיג גישה לאזור ההתקנה.
2. איור 10 התקן את התפסים לקיבוע רתמת החיווט.
a. נקה את אזור ההתקנה בעזרת תערובת של איזופרופיל אלכוהול ומים ביחס 50:50.
b. אפשר לאזור ההתקנה (2) להתייבש לחלוטין.
c. איור 1 הסר את הציפוי מהצד האחורי של חומר ההדבקה של התפסים (7).
d. התקן את התפסים באזור ההתקנה (2) כנדרש.
3.
הערה
ודא שהכבלים והרתמות אינן נשענות על הכנף האחורית מכיוון שעלול להיגרם נזק למשטחים הצבועים.
התקן את הכבלים ואת הרתמות בתוך תפסי הקיבוע.
1מגן
איור 9. מגן
2משטח התקנה
איור 10. אזור התקנה
סיום
הערה
כדי למנוע נזק אפשרי למערכת הקול, ודא שההצתה במצב OFF (מנותק) לפני התקנת הנתיך הראשי.
1. התקן את הנתיך הראשי. עיין במדריך הטיפולים.
2. בדוק שהרדיו פועל בצורה תקינה.
3. התקן את המושב. לאחר התקנת המושב, משוך אותו כלפי מעלה כדי לוודא שהוא מאובטח. עיין במדריך הטיפולים.
4. התקן את כיסוי הצד השמאלי. עיין במדריך הטיפולים.
5. התקן את תיקי האוכף. עיין במדריך הטיפולים.
6. התקן את ה-Tour-Pak לפי ההוראות בערכת מתלה ה-Tour-Pak הניתן להסרה (מספר חלק 53000221).
הערה
בעת הסרת ה-Tour-Pak ניתן לגלגל את רתמת החיווט ולתחוב אותה מתחת למושב.