KIT KONVERSI BAGASI TOUR-PAK YANG DAPAT DILEPAS, MODEL FL TOURING 2014 DAN SETELAHNYA
941003082023-02-08
INFORMASI UMUM
Tabel 1.
Kit
Alat-alat yang Disarankan
Level Keahlian
Waktu
53000916, 53000917, 53001012, 53001013
Kacamata pelindung, Kunci torsi, Pensil minyak, Isopropil alkohol
ISI KIT
Gambar 1. Isi Kit: Rak Pemasangan Tour-Pak Yang Dapat Dilepas
Tabel 2. Isi Kit
Item
Jumlah
Deskripsi
Nomor Kit
No. Komponen
Catatan
1
1
Kit Perangkat Gandeng
53000917
52300353
53000916
52300354
2
1
Kit Pelepas, Rak Tour-Pak
53000917
53000221
53000916
53000459
3
1
Kit Lampu Belakang Pembantu
53000916, 53000917
67801023
4
1
Braket, pelat nomor
53000917
67900167
53000916
67900362
5
3
Tali strap kabel
10006
6
2
Reflektor
67900256
7
4
Klip, penahan kabel harnes
69202780
8
1
Kit lampu belakang pembantu
53001012, 53001013
67801446
CATATAN
Pastikan semua isi kit lengkap sebelum memasang atau melepaskan item dari kendaraan.
UMUM
Model
Untuk informasi kesesuaian model, baca katalog retail P&A atau bagian Komponen dan Aksesori di www.harley-davidson.com (hanya tersedia dalam Bahasa Inggris).
Pastikan Anda menggunakan lembar petunjuk versi terbaru yang tersedia di: www.harley-davidson.com/isheets
Persyaratan Pemasangan
CATATAN
Jika antena eksternal masih digunakan, lihat di bawah ini.
Item-item ini tersedia di dealer Harley Davidson setempat.
  • Model yang dilengkapi CB: Memerlukan Kit Relokasi Antena CB (No. Komponen 76000308).
  • Kendaraan dengan Antena AM/FM: Pembelian opsional Kit Relokasi Antena (No. Komponen 76000582).
  • Kendaraan dengan Antena AM/FM: Pembelian opsional Antena Tersembunyi Internal (No. Komponen 76000862). Pilihan ini dapat dipasang di Tour-Pak atau Fairing Depan untuk penampilan yang lebih bersih.
Pemasangan kit yang benar pada model sepeda motor Anda dapat memerlukan pembelian dan pemasangan komponen atau aksesori lain secara terpisah. Baca Katalog Retail P&A atau bagian Komponen dan Aksesori di www.harley-davidson.com (hanya tersedia dalam Bahasa Inggris) untuk informasi komponen atau aksesori yang diperlukan.
PERINGATAN
Keselamatan pengendara dan penumpang bergantung pada pemasangan kit yang benar. Gunakan prosedur manual servis yang benar. Jika Anda tidak mampu menjalankan prosedur ini atau tidak memiliki alat yang tepat, mintalah dealer Harley-Davidson untuk melakukan pemasangan. Pemasangan yang salah terkait perangkat ini dapat menyebabkan kematian atau cedera parah. (00333b)
PERSIAPAN
1. Lepas jok. Lihat manual servis.
2. Lepas tas kargo. Lihat manual servis.
3. Lepas penutup samping kiri. Lihat manual servis.
PERINGATAN
Untuk mencegah starter kendaraan tiba-tiba, yang dapat menyebabkan kematian atau cedera parah, lepas sekring utama sebelum melakukan pemasangan lampu depan. (00251b)
4.
CATATAN
DILENGKAPI sirene keamanan: Dengan fob berada dalam jangkauan, putar sakelar ignisi ke posisi ON. Putar sakelar ignisi ke posisi OFF. SEGERA lepas sekring utama.
Lepas sekring utama. Lihat manual servis.
5.
CATATAN
Slot pada penopang Tour-Pak memungkinkan penyetelan posisi. Catat posisi sebelum melepas.
CATATAN
Model APC tidak dapat disetel. Pelat adaptor menempatkan Tour-Pak sesuai regulasi pasar.
Lepaskan Tour-Pak ® .
5.1. Lihat Gambar 2 . Pisahkan konektor listrik.
1Audio
2Antena CB
3Antena radio
4Lampu belakang
Gambar 2. Konektor Tour-Pak
5.2. Lihat Gambar 3 . Lepaskan mur flensa (3) yang menahan Tour-Pak pada rak penopang.
1Tour-Pak
2Rak penopang
3Mur flensa (4)
Gambar 3. Dudukan Tour-Pak
d. Lepaskan rakitan.
5.3. Model APC: Lihat Gambar 4 . Lepaskan empat sekrup, cincin pengunci pipih, dan pelat adaptor dari rak penopang. Geser ke depan untuk melepaskan L-hooks.
Gambar 4. Sekrup Braket Tour-Pak (Model APC/China)
6.
CATATAN
Model tanpa Tour-Pak memiliki spacer yang terpasang di dudukan penopang Tour-Pak. Pelepasan dan pemasangan dilakukan dengan cara yang sama.
Lepaskan penopang Tour-Pak.
a. Lihat Gambar 5 . Lepaskan konektor harnes dari anchor pada penopang (1).
b. Lepaskan dua sekrup (3) dari setiap sisi.
c. Lepaskan penopang Tour-Pak.
1Penopang
2Penutup (2)
3Sekrup (4)
4Sekrup (4 di setiap sisi)
5Sisipan (2) (model tanpa Tour-Pak)
Gambar 5. Penopang Tour-Pak
7. Lihat Gambar 7 . Lepaskan lampu belakang dan dasar lampu belakang.
a. Lepas sekrup (1).
b. Putuskan dan lepaskan lampu belakang dan rakitan lensa (2).
c. Catat lokasi konektor di dasar lampu belakang (4) untuk memudahkan pemasangan.
d. Putuskan semua sambungan dasar lampu belakang.
e. Lepaskan sekrup (3) dan dasar lampu belakang.
8. Lepaskan tiang antena radio dari dasar tiang antena. Singkirkan tiang antena untuk pemasangan selanjutnya.
9. Lihat Gambar 6. Lepaskan mur bagian dalam sisi kanan (2). Singkirkan sekrup (1).
1Sekrup
2Mur bagian dalam
Gambar 6. Pelepasan Sekrup OE
PASANG
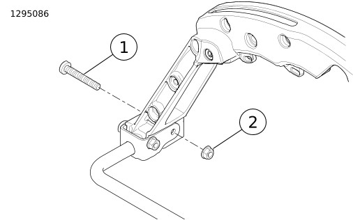
1. Lihat Gambar 1 . Pasang Kit Perangkat Gandeng (1) berdasarkan petunjuk pada kit itu .
2. Pasang Kit Lampu Belok/Rem/Run LED Pada Tas Sadel (3) berdasarkan petunjuk pada kit itu .
3. Lihat Gambar 7 . Pasang braket pelat nomor.
a. Pasang braket pelat nomor (5) pada sepatbor.
b. Arahkan semua harnes kabel melalui braket pelat nomor.
c. Pasang dasar lampu belakang pada braket pelat nomor. Kencangkan dengan menggunakan sekrup (3).
d. Pasang konektor pada dasar lampu belakang.
e. Hubungkan lampu belakang dan rakitan lensa pada dasar lampu belakang. Pasang lampu belakang dan rakitan lensa pada dasar lampu belakang dan kencangkan dengan menggunakan sekrup (1).
4. Pasang Tour-Pak pada Rak Tour-Pak Yang Dapat Dilepas (No. Komponen 53000221) berdasarkan petunjuk yang disertakan pada kit.
5.
CATATAN
  • Gunakan reflektor pada suhu antara 21–38 °C (70–100 °F) .
  • Reflektor tidak dapat diposisikan ulang setelah pemasangan awal. Jangan lepaskan film pelindung dari perekat sampai siap untuk digunakan.
  • Biarkan setidaknya 24 jam setelah pemasangan sebelum area pemasangan dicuci bersih, terkena semprotan air yang kuat, atau menghadapi cuaca ekstrem.
  • Tingkat kerekatan akan mencapai titik maksimum setelah dibiarkan selama 72 jam pada suhu ruangan normal.
Lihat Gambar 1 . Tandai lokasi reflektor (12).
a. Bersihkan permukaan dudukan reflektor dengan campuran isopropil alkohol dan air 50:50. Biarkan hingga kering sepenuhnya.
b. Lihat Gambar 8 . Tempatkan reflektor (2) di bagian belakang tas kargo, ditempatkan di tengah dan 13 mm (0,5 in) di bawah lampu belakang tambahan (1).
c. Tandai lokasi dengan pensil minyak.
6.
CATATAN
Setelah digunakan, jangan geser reflektor.
Pasang reflektor.
a. Lepaskan kertas penahan perekat dari reflektor.
b. Tempatkan reflektor di lokasi yang ditandai.
c. Setelah menempatkan reflektor, berikan tekanan merata di seluruh permukaan selama 15 detik.
d. Tunggu 20 menit sebelum menyentuh reflektor.
1Sekrup (2)
2Lampu belakang dan rakitan lensa
3Sekrup
4Rakitan dasar lampu belakang
5Braket pelat nomor
6Mur J
Gambar 7. Pasang Braket Pelat Nomor
1Lampu Belakang Tambahan
2Reflektor
A13 mm (0,5 in)
Gambar 8. Penempatan Reflektor
Klip Kabel
CATATAN
Pastikan untuk melepas kabel dan harnes dari klip penahan sebelum melepas Tour-Pak. Setelah Tour-Pak dilepas, kabel dan harnes dapat digulung dan disimpan bawah kursi.
1. Gambar 9 Angkat penutup (1) untuk mendapatkan akses ke area pemasangan.
2. Gambar 10 Pasang klip penahan harnes kabel.
a. Bersihkan permukaan pemasangan dengan campuran isopropil alkohol dan air dalam jumlah yang sama.
b. Biarkan permukaan pemasangan (2) sampai benar-benar kering.
c. Gambar 1 Lepaskan kertas penahan perekat dari klip (7).
d. Pasang klip pada permukaan pemasangan (2) sesuai kebutuhan.
3.
CATATAN
Pastikan kabel dan harnes kabel tidak bertumpu pada spatbor belakang karena akan merusak permukaan yang dicat.
Pasang kabel dan harnes ke klip penahan.
1Penutup
Gambar 9. Penutup
2Permukaan Dudukan
Gambar 10. Permukaan Pemasangan
SELESAI
CATATAN
Untuk mencegah kerusakan pada sound system, pastikan kunci kontak dalam posisi OFF sebelum memasang sekring utama.
1. Pasang sekring utama. Lihat manual servis.
2. Uji radio jika dapat digunakan dengan baik.
3. Pasang jok. Setelah memasang jok, pastikan jok terpasang kencang dengan menariknya ke atas. Lihat manual servis.
4. Pasang penutup samping kiri. Lihat manual servis.
5. Pasang tas kargo. Lihat manual servis.
6. Pasang Tour-Pak berdasarkan petunjuk pada Kit Rak Tour-Pak Yang Dapat Dilepas (No. Komponen 53000221).
CATATAN
Ketika melepas Tour-Pak, harnes kabel dapat digulung dan diselipkan di bawah sadel.