מערכת שמע H-D מבית ROCKFORD FOSGATE - ערכה לסאב וופר ראשי ומשני
941003142022-01-18
מידע כללי
טבלה 1. מידע כללי
ערכות
כלים מוצעים
רמת המיומנות(1)
76001163, 76001164
משקפי בטיחות, מפתח ברגים, מקדחה חשמלית, סט מקדחים (עם מקדח 25/64 אינץ' ומקדח 3/4 אינץ'), נייר דבק, כלי להורדת גרדים, אלכוהול איזופרופיל, מטליות נקיות למוסך, כלי חיתוך מתאים (מסור חרב או מסור יד)
(1) נדרש הידוק עד לערך המומנט או כלים וטכניקות מתונים אחרים
תכולת הערכה
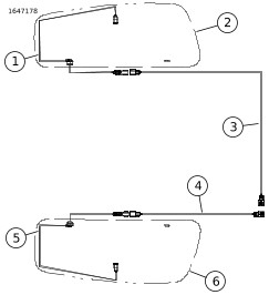
איור 1. תכולת הערכה: סאב וופר, ראשי (תיק אוכף ימני)
איור 2. תכולת הערכה: סאב וופר, משני (תיק אוכף שמאלי)
טבלה 2. תכולת הערכה: סאב וופר
יש לוודא שכל התכולה נמצאת בערכה לפני שמתקינים אותה או שמסירים פריטים מכלי הרכב.
פריט
כמות
תיאור
מספר חלק
הערות
1
1
סאב וופר, ראשי (תיק אוכף ימני)
לא נמכר בנפרד
1
סאב וופר, משני (תיק אוכף שמאלי)
לא נמכר בנפרד
2
2
דסקית, EPDM
57765-99
3
1
לוח תקעים, ימין
76001188
1
לוח תקעים, שמאל
76001176
4
2
בורג כנפיים
10500211
5
1
שבלונת קדיחה, תיק אוכף ימני
76001189
1
שבלונת קדיחה, תיק אוכף שמאלי
76001177
6
1
רתמה פנימית
69203012
7
1
רתמה חיצונית, התקן ראשי (תיק אוכף ימני)
69203031
1
רתמה חיצונית, התקן משני (תיק אוכף שמאלי)
69203032
8
6
רצועת הכבל
10065
9
6
סוגר
69200342
10
1
מדבקה, אביזר חיבור לתיק אוכף
14003212
11
1
מסגרת פנימית, ימין
76001186
1
מסגרת פנימית, שמאל
76001185
12
1
מכלול מסגרת חיצונית, ימין
76001187
1
מכלול מסגרת חיצונית, שמאל
76001175
13
1
בורג, תושבת תיק האוכף
10201365
14
8
בורג
10201347
15
1
לוח מארז עליון, ימין
76001170
1
לוח מארז עליון, שמאל
76001193
16
3
בורג פח
לא נמכר בנפרד
פריטים שהוזכרו בטקסט אבל אינם נכללים בערכה
A
1
תיק אוכף ימני
B
1
תיק אוכף שמאלי
הערה
יש לוודא שכל התכולה נמצאת בערכה לפני שמתקינים אותה או שמסירים פריטים מכלי הרכב.
כללי
הערה
הרמקולים ומערכת השמע החדשים שהותקנו יאפשרו את פעולת השמע רק לאחר הגדרת התצורה שלהם באמצעות האפליקציה לשמע של Harley-Davidson או על ידי סוכנות מורשית של Harley-Davidson.
הערה
הרמקולים, המגברים והחיווט של כלי רכב של Harley-Davidson מדורות שונים לא תוכננו לפעול יחד ופעולתם המשותפת לא נבדקה. עיין בקטלוג החלקים והאביזרים לקבלת המלצות על ההתאמה ולהתייעץ עם הסוכנות שלך כדי להבטיח ביצועים ותאימות מיטביים.
דגמים
למידע על ההתאמה לדגמים ניתן לעיין בקטלוג הקמעונאי של חלקים ואביזרים (Parts and Accessories) (P&A) או בדף "Parts and Accessories" (חלקים ואביזרים) באתר www.harley-davidson.com .
ודא שאתה משתמש בגרסה העדכנית ביותר של דף ההוראות. היא זמינה ב: h-d.com/isheets
יש ליצור קשר עם מרכז התמיכה ללקוחות של Harley-Davidson בטלפון 1-800-258-2464 (ארה“ב בלבד) או 1-414-343-4056.
עומס יתר חשמלי
אזהרה
בעת התקנת אביזר חשמלי כלשהו, הקפד שלא לחרוג מעבר לדירוג המרבי של עוצמת הזרם המרבית של הנתיך או מפסק המעגל המגן על המעגל שבו מבוצע השינוי. חריגה מעבר לעוצמת הזרם המרבית עלולה לגרום לתקלות חשמליות, וכתוצאה מכך לגרום למוות או פציעה חמורה. (00310a)
התראה
ניתן להעמיס יתר על המידה את מערכת הטעינה של הרכב על ידי הוספת יותר מדי אביזרי חשמל. אם כלל הציוד החשמלי הפועל בעת ובעונה אחת צורך יותר חשמל מכפי שהמערכת יכולה להפיק, צריכת החשמל עלולה לגרום להתרוקנות המצבר ולגרום נזק למערכת החשמל של הרכב. (00211d)
ראה איור 3 , איור 4 , איור 7 ו- איור 5 . נדרשים שני ערוצים מהמגבר עבור מערכות הסאב וופר (למגברים יש ארבעה ערוצים), ולכן התקנה הן של ערכת הסאב וופר הראשי והן סאב הוופר המשני אפשרית רק עם מערכות בעלות שניים או ארבעה רמקולים. מערכות בעלות שישה רמקולים יכולות לפעול רק עם הערכה של סאב וופר ראשי.
איור 3. סאב וופר יחיד, מגבר יחיד, שני רמקולים
איור 4. סאב וופר כפול, שני מגברים, ארבעה רמקולים
איור 5. סאב וופרים יחידים, שני מגברים, שישה רמקולים
איור 6. סאב וופרים כפולים, שני מגברים, שני רמקולים
1רמקולים קדמיים (מעטפת)
2סט מגברים שני (יחידות מעטפת תחתונה, תיקי אוכף, Tour-Pak)
2aסט מגברים שלישי (יחידות מעטפת תחתונה, Tour-Pak)
3מגבר ראשי
4סאב וופר ימני (ראשי)
5מגבר משני
6סאב וופר שמאלי (משני)
איור 7. סאב וופרים כפולים, שני מגברים, ארבעה רמקולים
דרישות התקנה
אזהרה
הבטיחות של הרוכב והנוסע תלויה בהתקנה נכונה של הערכה הזאת. השתמש בהליכי הטיפול המתאימים שבמדריך. אם אינך מסוגל לבצע את הנוהל או אם אין לך הכלים הנכונים, בצע את ההתקנה בסוכנות Harley-Davidson. התקנה לא נאותה של הערכה הזאת עלולה לגרום למוות או פגיעה חמורה. (00333b)
הערה
גיליון הנחיות זה מתייחס למידע במדריך השירות. יש צורך במדריך הטיפולים לאופנועים מהשנה ומהדגם המסוימים לצורך ההתקנה הזו. ניתן לקבל אותו דרך:
  • סוכנות של Harley-Davidson.
  • פורטל המידע על תיקונים של Harley-Davidson (H-D Service Information Portal): הגישה היא למנויים; מכיל מידע עבור רוב דגמי שנת 2001 והדגמים החדשים יותר. למידע נוסף ראה את השאלות הנפוצות על מנויים .
הערה
תיק(י) האוכף חייבים להיות ריקים לחלוטין מבלי שיהיו בהם פריטים רופפים כלשהם או מבלי שיהיו מותקנים בהם רכיבים של P&A כגון ארגונית לדופן תיק האוכף או בטנה פרימיום לתיק האוכף.
פריטים אלה זמינים בסוכנות Harley-Davidson שלך:
  • דגמי CVO ו-Touring משנת 2014-2016 (מלבד FLHRC):נדרשת רכישה נפרדת של ערכת ידיות התקנה לתיק אוכף של Harley-Davidson (מס' חלק 90201540) לצורך התקנה זו. יש צורך בשני בורגי ידית מהערכה על מנת להתקין את תיק האוכף.
  • דגמי FLHTKSE‏, FLTRUSE ו-Touring משנת 2014 ואילך:נדרשת רכישה נפרדת של ערכת מגבר ראשי של Harley-Davidson (מס' חלק 76000974) לצורך התקנה זו.
  • דגמי FLHTKSE‏, FLTRUSE ו-Touring משנת 2014 ואילך:נדרשת רכישה נפרדת של ערכת דונגל ומגבר ראשי של Harley-Davidson (מס' חלק 76000997) לצורך התקנה זו.
  • דגמי FLHTKSE‏, FLTRUSE ו-Touring משנת 2014 ואילך:ייתכן שתידרש רכישה נפרדת של ערכת מגבר שמע משני של Harley-Davidson (מס' חלק 76000990) לצורך התקנה זו.
  • דגמי FLHTKSE‏, FLTRUSE ו-Touring משנת 2014 ואילך:ייתכן שתידרש רכישה נפרדת של ערכת התקנה למגבר משני של Harley-Davidson (מס' חלק 76000975) לצורך התקנה זו.
  • דגמי FLHTKSE ו-FLTRUSE משנת 2014 ואילך:ייתכן שתידרש רכישה נפרדת של ערכה להתקנת רתמת חיווט לרמקול במעטפת של Harley-Davidson (מס' חלק 76001100) לצורך התקנה זו.
  • דגמי FLHXSE ו-FLTRXSE משנת 2021 ואילך:נדרשת רכישה נפרדת של דונגל Bluetooth של Harley-Davidson (מס' חלק 41000771) לצורך התקנה זו. לשימוש עם אפליקציית השמע של Harley-Davidson.
  • דגמי FLHXSE ו-FLTRUSE משנת 2021 ואילך:נדרשת רכישה נפרדת של ערכת מגבר שמע משני של Harley-Davidson (מס' חלק 76000990) לצורך התקנה זו.
  • דגמי FLHXSE ו-FLTRXSE משנת 2021 ואילך:נדרשת רכישה נפרדת של ערכת התקנה למגבר משני של Harley-Davidson (מס' חלק 76000975) לצורך התקנה זו.
  • דגמי FLHXSE ו-FLTRXSE משנת 2021 ואילך:נדרשת רכישה נפרדת של רצועת צמדן של Harley-Davidson (מס' חלק 76434-06) לצורך התקנה זו.
  • דגמי FLTRKSE משנת 2022 ואילך:נדרשת רכישה נפרדת של דונגל Bluetooth של Harley-Davidson (מס' חלק 41000771) לצורך התקנה זו. לשימוש עם אפליקציית השמע של Harley-Davidson.
  • דגמי FLTRKSE משנת 2022 ואילך:נדרשת רכישה נפרדת של ערכת התקנה למגבר משני של Harley-Davidson (מס' חלק 76000975) לצורך התקנה זו.
  • דגמי FLTRKSE משנת 2022 ואילך:נדרשת רכישה נפרדת של דונגל Bluetooth של Harley-Davidson (מס' חלק 41000771) לצורך התקנה זו. לשימוש עם אפליקציית השמע של Harley-Davidson.
  • ייתכן שיהיה צורך ב- טכנאי דיגיטלי II (DT II) על מנת לבדוק ולעדכן את תוכנת המגבר. פנה לסוכנות Harley-Davidson המקומית.
  • בדגמים המצוידים ברדיו Boom!™ Box 4.3, ייתכן שיהיה צורך ב- DT II על מנת לעדכן את התוכנה. פנה לסוכנות Harley-Davidson המקומית.
  • בדגמים המצוידים ברדיו Boom!™ Box 6.5 GT, ייתכן שיהיה צורך ב- DT II על מנת לעדכן את התוכנה. פנה לסוכנות Harley-Davidson המקומית.
אזהרה
הבטיחות של הרוכב והנוסע תלויה בהתקנה נכונה של הערכה הזאת. השתמש בהליכי הטיפול המתאימים שבמדריך. אם אינך מסוגל לבצע את הנוהל או אם אין לך הכלים הנכונים, בצע את ההתקנה בסוכנות Harley-Davidson. התקנה לא נאותה של הערכה הזאת עלולה לגרום למוות או פגיעה חמורה. (00333b)
מומלץ שטכנאי בסוכנות Harley-Davidson יבצע את ההתקנה.
הכנה
1. הסר את שני תיקי האוכף. עיין במדריך הטיפולים.
2. הסר כיסויי צד. עיין במדריך הטיפולים.
3. הסר את הנתיך הראשי. עיין במדריך הטיפולים.
4. הסר את המושב. עיין במדריך הטיפולים.
5. הסר את המכל שבצד השמאלי. עיין במדריך הטיפולים.
6. הסר את התיבה העליונה. עיין במדריך הטיפולים.
7. הסר את המכל של החלק התחתון של השלדה. עיין במדריך הטיפולים.
תיקי אוכף
תיק אוכף ימני
1. איור 8 שים את שבלונת הקדיחה על תיק האוכף הימני.
הערה
בצע שינויים בתיק האוכף השמאלי רק אם מתקינים סאב וופר שני.
a. שים כיסוי על כל שטח שבלונת הקדיחה (2) על תיק האוכף הימני (1) וקבע אותו בעזרת נייר דבק.
b. התקן את שבלונת הקדיחה (2).
c. קבע את מלוא ההיקף של שבלונת הקדיחה (2) בעזרת נייר דבק.
d. התקן בורגי פח (3) כדי להחזיק את שבלונת הקדיחה במקומה (2).
2. איור 9 השתמש בעט סימון כדי לשרטט קו מסביב להיקף שבלונת הקדיחה (1) על נייר הדבק שעל תיק האוכף.
3. איור 8 בצע את השינויים בתיק האוכף הימני (1).
a. קדח חורים מובילים במיקומי הקדיחה (4, 5, 6) בעזרת מקדח 1/8 אינץ'.
b. חורי הקלת העומס: קדח שישה חורים להקלת העומס בקוטר 25/64 אינץ' (4).
c. חורי ברגים: קדח שמונה חורי ברגים בקוטר 25/64 אינץ' (6).
הערה
כאשר רוכבים בגשם, מים עלולים לחדור דרך סבכת מסגרת הנוי. יש צורך בחור ניקוז לניקוז המים.
d. איור 10 חורי ניקוז: קדח שני חורי ניקוז בקוטר 1/4 אינץ' (3) במיקום המשוער.
e. איור 9 כששבלונת הקדיחה עדיין מונחת במקום, השתמש במסור מתאים וחתוך לאורך החלק החיצוני בהיקף השבלונה (1).
f. הסר את בורגי הפח (3), שבלונת הקדיחה וסרט ההדבקה מתיק האוכף.
g. חור טבעת: קדח חור טבעת בקוטר 3/4 אינץ' (5) במקם שממנו הוסר בורג הפח (3).
h. שייף קלות את המשטח כדי להסיר שבבים מהחורים ומהיקף השבלונה.
i. נקה כל משטחי הפחחות עם 50-70% אלכוהול איזופרופיל ו- 30-50% מים מזוקקים. יש לאפשר התייבשות גמורה.
4. איור 1 התקן את מדבקת אביזר החיבור לתיק האוכף (10).
a. התקן את המדבקה סמוך לבורג ידית ההתקנה האחורית.
5. איור 11 בדוק את ההתאמה של המסגרת הפנימית (2) והמסגרת החיצונית (1) לתיק האוכף.
a. התקן והדק קלות את הברגים (8).
b. ודא שהרכיבים מתאימים כראוי.
c. הסר את הברגים והמסגרות (1, 2).
d. בצע כוונונים כנדרש.
6. הסר את הציפוי מהצד האחורי של סרט ההדבקה VHB שעל מסגרת הנוי.
7. איור 12 שים מרק סיליקון (3) על המסגרת הפנימית (1) והמסגרת החיצונית (2).
הערה
כדי לסייע במניעת חדירה של מים לתיק האוכף, יש לשים מרק סיליקון כאמצעי הגנה נוסף.
8. איור 11 התקן את המסגרת הפנימית (2) והמסגרת החיצונית (1) בתיק האוכף.
a. התקן את הברגים (3).
הערה
אין להדק יתר על המידה את בורגי מסגרת הנוי.
b. איור 13 הדק לפי הסדר.
מומנט סיבוב: 0.4–0.6 N·m (4–5 in-lbs) בורגי המסגרת
9. איור 14 כדי להשיג אטימה מרבית, השתמש בטריזי עץ במסגרת הפנימית (1). החזק במקום למשך 24 שעות.
a. כדי להשיג הדבקה מרבית בפינות, שים טריז עץ באזור לפי כיוון החץ.
10. איור 15 התקן את רתמה 69203012 (5) בתוך תיק האוכף הימני.
a. איור 17 סובב את הטבעת עד שיושג ניתוב רתמה כראוי.
11. איור 15 חבר את רתמה 69203031 (4) לרתמה 69203012 (5).
הערה
יש להתקין את ערכה 90201540 כדי לקבע את תיקי האוכף. ראה סעיף דרישות התקנה
12. התקן את תיק האוכף הימני.
a. התקן את בורג התושבת האחורית של תיק האוכף המקורי.
b. איור 1 התקן את בורג התושבת הקדמית של תיק האוכף (13) מהערכה. הדק.
מומנט סיבוב: 5–5.6 N·m (44–50 in-lbs) בורג התושבת הקדמית של תיק האוכף
13. חבר את רתמה 69203012 אל:
a. איור 3 עבור מערך הכולל סאב וופר יחיד, מגבר יחיד ושני רמקולים. יהיה צורך לחבר מחדש את החוטים של מחבר רתמת החיווט. סעיף חיבור מחדש של רתמת החיווט 69203031 אם אין מחברים מחדש את החוטים של המחבר, לא יופק שמע. הערה: אם מוסיפים רמקולים לתיק אוכף כשהסאב וופר כבר מותקן, יהיה צורך להשתמש בתצורה המקורית של רתמת החיווט 69203031. חוטים בשקעים אחד וארבע.
b. מחבר רתמת המגבר הראשי [351A] (יציאת שמע). איור 3עם סאב וופר יחיד, מגבר יחיד, שני רמקולים.
c. מחבר רתמת המגבר המשני [352A_1] או [352A_2] (יציאת שמע). איור 4 עם סאב וופר יחיד, מגברים כפולים, ארבעה או שישה רמקולים.
14. איור 16 העבר את רתמות החיווט והצמד אותן למקומן באזיקונים.
a. ודא שהרתמות אינן מפריעות לחלקים נעים.
b. השתמש בנקודות עיגון הרתמה המסופקות מהמפעל.
15. איור 19 התקן את הסאב וופר (2).
16. איור 15 חבר את רתמה 69203012 (5) לתוך מחבר הסאב וופר (2). איור 19
17.
1תיק אוכף ימני
2שבלונת קדיחה
3בורג פח (3)
4חור הקלת עומס בקוטר 25/64 אינץ' (6 נקדחו)
5חור טבעת בקוטר 3/4 אינץ' (1 נקדח)
6חור בורג בקוטר 25/64 אינץ' (8 נקדחו)
איור 8. שבלונת קדיחה לתיק אוכף ימני
1קו מתאר לשבלונה
איור 9. היקף השבלונה
1תיק אוכף שמאלי
2תיק אוכף ימני
3מיקומי חורי הניקוז בקוטר 1/4 אינץ'
איור 10. מיקום חור הניקוז
1מסגרת חיצונית
2מסגרת פנימית
3בורג (8)
איור 11. בדיקת התאמת המסגרות
1מסגרת פנימית
2מסגרת חיצונית
3מרק סיליקון
איור 12. מסגרות
איור 13. רצף מומנט ההידוק - בורגי המסגרת
1מסגרת פנימית
2סדי עץ (2)
איור 14. טריז עץ
1רתמה 69203012
2היקף חיצוני של תיק אוכף שמאלי
3רתמה 69203032
4רתמה 69203031
5רתמה 69203012
6היקף חיצוני של תיק אוכף ימני
איור 15. ניתוב רתמת החיווט של הסאב וופר
1נקודת עיגון
2תמוכת כנף אחורית
איור 16. תמוכת כנף אחורית
1תיק אוכף ימני
2ניתוב הרתמה
3טבעת (רתמה 69203012)
איור 17. ניתוב רתמת החיווט של תיק האוכף הימני
1תיק אוכף ימני
2מסגרת חיצונית
3גריל
איור 18. מסגרת חיצונית
1סאב וופר ימני
2מחבר הסאב וופר
2תיק אוכף ימני
איור 19. התקנת הסאב וופר
תיק אוכף שמאלי
1. איור 20 חזור על שלבים 1-8 בנוהל בתיק האוכף הימני.
2. איור 15 התקן את רתמה 69203012 (5) בתוך תיק האוכף הימני.
a. איור 17 סובב את הטבעת עד שיושג ניתוב רתמה כראוי.
3. איור 15 חבר את רתמה 69203032 (3) לרתמה 69203012 (5).
4. התקן את תיק האוכף שמאלי.
a. התקן את בורג התושבת האחורית של תיק האוכף המקורי.
b. איור 1 התקן את בורג התושבת הקדמית של תיק האוכף (13) מהערכה.
5. חבר את רתמה 69203032 אל:
a. מחבר רתמת המגבר המשני [352A_1] או [352A_2] (יציאת שמע). איור 7 עם סאב וופרים כפולים, שני מגברים, ארבעה רמקולים.
6. העבר את רתמות החיווט והצמד אותן למקומן באזיקונים.
a. ודא שהרתמות אינן מפריעות לחלקים נעים.
b. השתמש בנקודות התקנת הרתמה המסופקות מהמפעל.
7. איור 19 התקן את הסאב וופר (2).
8. איור 15 חבר את רתמה 69203012 (5) לתוך מחבר הסאב וופר (2). איור 19
1שבלונת קדיחה שמאלית
2חור טבעת בקוטר 3/4 אינץ' (1 נקדח)
3תיק אוכף שמאלי
איור 20. שבלונת קדיחה לתיק אוכף שמאלי
הסרת הסאב וופר
1. נתק את הסאב וופר.
2. הסר את הסאב וופר מתיק האוכף.
3. איור 1 שים את דסקית ה-EPDM‏ (2) בצד הפנימי של לוח התקעים (3).
4. איור 21 שים את לוח התקעים (1) מעל המסגרת הפנימית.
5. התקן את בורגי הכנפיים (2). הדק.
1לוח תקעים
2בורג כנפיים (2)
3תיק אוכף ימני
איור 21. לוח תקעים
חיבור מחדש של רתמת החיווט 69203031
הערה
דבר זה נחוץ עבור תצורה מיוחדת. אסורו בהחלט לשנות את רתמת החיווט אלא אם ניתנה הנחיה לכך בנוהל.
1. 1. איור 22 השתמש בכלי ייעודי כדי להסיר את ההדקים מהמחבר.

כלי מיוחד: כלי להסרת הדק מחבר חשמלי של MOLEX (HD-48114)

2. הסר את החוט בצבע תכלת (5) משקע אחד (1).
3. התקן את החוט בצבע תכלת (5) בשקע שלוש (3).
4. הסר את החוט בצבע תכלת/שחור (6) משקע ארבע (4).
5. התקן את החוט בצבע תכלת/שחור (6) בשקע שתיים (2).
1שקע אחד
2שקע שתיים
3שקע שלוש
4שקע ארבע
5חוט בצבע תכלת
6חוט בצבע תכלת/שחור
איור 22. חיבור מחדש של רתמת החיווט 69203031
סיום
1. התקן את המכל של החלק התחתון של השלדה. עיין במדריך הטיפולים.
2. התקן את המכל העליון. עיין במדריך הטיפולים.
3. התקן את המכל של של הצד השמאלי. עיין במדריך הטיפולים.
4. התקן את המושב. עיין במדריך הטיפולים.
5. התקן את הנתיך הראשי. עיין במדריך הטיפולים.
6. התקן את כיסויי הצד. עיין במדריך הטיפולים.
7. התקן את שני תיקי האוכף. עיין במדריך הטיפולים.