SISTEM AUDIO H-D DIKEMBANGKAN OLEH ROCKFORD FOSGATE DAN- KIT SUBWOOFER PRIMER DAN SEKUNDER
941003142022-01-18
INFORMASI UMUM
Tabel 1. Informasi Umum
Kit
Alat-alat yang Disarankan
Level Keahlian(1)
76001163, 76001164
Kacamata pelindung, kunci torsi, bor listrik, mata bor (termasuk 25/64 dan 3/4 inci), selotip, alat mengasah, alkohol isopropil, kain lap bersih, alat pemotong yang sesuai (gergaji bolak-balik atau gergaji tangan)
(1) Perlu mengencangkan hingga nilai torsi atau peralatan dan teknik lain yang memadai
ISI KIT
Gambar 1. Isi Kit: Sub Woofer, Primer (Tas Sadel Kanan)
Gambar 2. Isi Kit: Sub Woofer, Sekunder, (Tas Sadel Kiri)
Tabel 2. Isi Kit: Sub Woofer
Pastikan semua isi kit lengkap sebelum memasang atau melepaskan item dari kendaraan.
Item
Jumlah
Deskripsi
No. Komponen
Catatan
1
1
Sub Woofer, primer (tas sadel kanan)
Tidak dijual terpisah
1
Sub Woofer, sekunder, (tas sadel kiri)
Tidak dijual terpisah
2
2
Cincin, EPDM
57765-99
3
1
Pasang Panel, kanan
76001188
1
Pasang Panel, kiri
76001176
4
2
Sekrup thumb
10500211
5
1
Templat pengeboran, tas sadel kanan
76001189
1
Templat pengeboran, tas sadel kiri
76001177
6
1
Harnes Internal
69203012
7
1
Harnes eksternal, primer (tas sadel kanan)
69203031
1
Harnes eksternal, sekunder (tas sadel kiri)
69203032
8
6
Tali strap kabel
10065
9
6
Penahan
69200342
10
1
Label, pengencang tas sadel
14003212
11
1
Bezel dalam, kanan
76001186
1
Bezel dalam, kiri
76001185
12
1
Perakitan bezel luar, kanan
76001187
1
Perakitan bezel luar, kiri
76001175
13
1
Sekrup, dudukan tas sadel
10201365
14
8
Sekrup
10201347
15
1
Panel kotak atas, kanan
76001170
1
Panel kotak atas, kiri
76001193
16
3
Sekrup pengetap
Tidak dijual terpisah
Item disebutkan dalam teks, tetapi tidak disertakan dalam kit
A
1
Tas sadel kanan
B
1
Tas sadel kiri
CATATAN
Pastikan semua isi kit lengkap sebelum memasang atau melepaskan item dari kendaraan.
UMUM
CATATAN
Sistem audio dan speaker yang baru dipasang tidak akan memutar audio kecuali jika dikonfigurasikan menggunakan aplikasi audio Harley-Davidson atau oleh dealer resmi Harley-Davidson.
CATATAN
Berbagai generasi speaker, amplifier, dan pemasangan kabel untuk kendaraan Harley-Davidson tidak dirancang atau diuji untuk bekerja bersama. Baca katalog P&A untuk rekomendasi kesesuaian dan konsultasikan dengan dealer Anda untuk memastikan kinerja dan kompatibilitas yang optimal.
Model
Untuk informasi kesesuaian model, baca Katalog Retail Komponen dan Aksesori (P&A) atau bagian Komponen dan Aksesori dari www.harley-davidson.com .
Pastikan Anda menggunakan lembar instruksi versi terkini. Tersedia di: h-d.com/isheets
Hubungi Pusat Dukungan Pelanggan Harley-Davidson di 1-800-258-2464 (khusus AS) atau 1-414-343-4056.
Kelebihan Muatan Kelistrikan
PERINGATAN
Saat memasang setiap aksesori kelistrikan, pastikan tidak melebihi nilai ampere maksimum pada sekring agar dapat melindungi sirkuit yang sedang diperbaiki. Jika menggunakan ampere maksimum di luar batas yang ditetapkan, kegagalan kelistrikan akan terjadi, yang dapat mengakibatkan kematian atau cedera parah. (00310a)
PEMBERITAHUAN
Menambahkan terlalu banyak aksesori listrik dapat membebani sistem pengisian daya kendaraan Anda. Jika gabungan aksesori elektrik yang beroperasi bersamaan menggunakan arus listrik yang lebih besar daripada yang dapat dihasilkan oleh sistem pengisian daya kendaraan, konsumsi listrik tersebut dapat menghabiskan daya baterai dan menyebabkan kerusakan pada sistem kelistrikan kendaraan. (00211d)
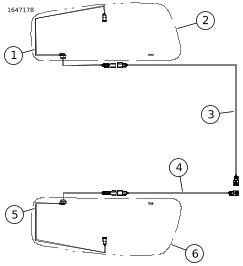
Lihat Gambar 3 , Gambar 4 , Gambar 7 dan Gambar 5 . Sistem subwoofer membutuhkan dua saluran amplifier (amplifier memiliki empat saluran); oleh karena itu, pemasangan kit subwoofer primer dan sekunder hanya dapat berfungsi dengan dua atau empat sistem speaker. Sistem enam speaker hanya akan berfungsi dengan kit subwoofer utama.
Gambar 3. Satu Subwoofer, Satu Amplifier, Dua Speaker
Gambar 4. Subwoofer Tunggal, Amplifier Ganda, Empat Speaker
Gambar 5. Subwoofer Tunggal, Amplifier Ganda, Enam Speaker
Gambar 6. Subwoofer Ganda, Amplifier Ganda, Dua Speaker
1Speaker depan (fairing)
2Set speaker ke-2 (fairing bagian bawah, tas sadel, Tour-Pak)
2aSet speaker ke-3 (fairing bagian bawah, Tour-Pak)
3Amplifier primer
4Subwoofer kanan (primer)
5Amplifier sekunder
6Subwoofer kiri (sekunder)
Gambar 7. Subwoofer Ganda, Amplifier Ganda, Empat Speaker
Persyaratan Pemasangan
PERINGATAN
Keselamatan pengendara dan penumpang bergantung pada pemasangan kit yang benar. Gunakan prosedur manual servis yang benar. Jika Anda tidak mampu menjalankan prosedur ini atau tidak memiliki alat yang tepat, mintalah dealer Harley-Davidson untuk melakukan pemasangan. Pemasangan yang salah terkait perangkat ini dapat menyebabkan kematian atau cedera parah. (00333b)
CATATAN
Lembar instruksi ini merujuk pada informasi manual servis. Manual servis tahun sepeda motor dan model sepeda motor dibutuhkan untuk pemasangan ini dan tersedia dari:
  • Dealer Harley-Davidson.
  • Portal Informasi Layanan H-D, akses berbasis langganan untuk sebagian besar model mulai tahun 2001 dan yang lebih baru. Lihat Pertanyaan Umum tentang Berlangganan untuk informasi lebih lanjut.
CATATAN
Tas sadel harus benar-benar dikosongkan dari semua barang tidak terikat atau komponen terpasang P&A seperti Pengatur Dinding Tas Sadel atau Pelapis Tas Sadel Premium.
Item-item ini tersedia di dealer Harley-Davidson Anda:
  • Model CVO dan Touring tahun 2014-2016 (kecuali FLHRC)Diperlukan pembelian terpisah Kit Tuas Pemasangan Tas Sadel Harley-Davidson (No. Komponen 90201540) untuk pemasangan ini. Dua sekrup pengungkit dari kit diperlukan untuk memasang tas sadel.
  • Model FLHTKSE, FLTRUSE, dan Touring tahun 2014 dan setelahnya: Diperlukan pembelian terpisah Kit Amplifier Primer Harley-Davidson (No. Komponen 76000974) untuk pemasangan ini.
  • Model FLHTKSE, FLTRUSE, dan Touring tahun 2014 dan setelahnya:Diperlukan pembelian terpisah Kit Amplifier Primer Harley-Davidson dan Dongle (No. Komponen 76000997) untuk pemasangan ini.
  • Model FLHTKSE, FLTRUSE, dan Touring tahun 2014 dan setelahnya: Mungkin diperlukan pembelian terpisah Kit Amplifier Audio Sekunder Harley- (No. Komponen 76000990) untuk pemasangan ini.
  • Model FLHTKSE, FLTRUSE, dan Touring tahun 2014 dan setelahnya:Mungkin diperlukan pembelian terpisah Kit Pemasangan Amplifier Sekunder Harley-Davidson (No. Komponen 76000975) untuk pemasangan ini.
  • Model FLHTKSE, FLTRUSE, dan Touring 2014 dan Setelahnya: Mungkin diperlukan pembelian terpisah Kit Pemasangan Harnes Speaker Fairing Harley-Davidson (No. Komponen 76001100) untuk pemasangan ini.
  • FLHXSE dan FLTRXSE 2021 dan Setelahnya:Diperlukan pembelian terpisah dari Dongle Bluetooth Harley-Davidson (No. Komponen 41000771) untuk pemasangan ini. Untuk digunakan dengan aplikasi audio Harley-Davidson.
  • Model FLHXSE dan FLTRXSE tahun 2021 dan setelahnya:Diperlukan pembelian terpisah Kit Amplifier Audio Sekunder Harley Davidson (No. Komponen 76000990) untuk pemasangan ini.
  • Model FLHXSE dan FLTRXSE tahun 2021 dan setelahnya:Diperlukan pembelian terpisah Kit Pemasangan Amplifier Sekunder Harley-Davidson (No. Komponen 76000975) untuk pemasangan ini.
  • FLHXSE dan FLTRXSE 2021 dan Setelahnya:Diperlukan pembelian terpisah dari Velkro Ganda Harley-Davidson (No. Komponen 76434-06) untuk pemasangan ini.
  • Model FLTRKSE tahun 2022 dan setelahnya:Diperlukan pembelian terpisah Dongle Bluetooth Harley-Davidson (No. Komponen 41000771) untuk pemasangan ini. Untuk digunakan dengan aplikasi audio Harley-Davidson.
  • Model FLTRKSE tahun 2022 dan setelahnya:Diperlukan pembelian terpisah atas Kit Pemasangan Amplifier Sekunder Harley-Davidson (No. Komponen 76000975) untuk pemasangan ini.
  • Model FLTRKSE tahun 2022 dan setelahnya:Diperlukan pembelian terpisah Dongle Bluetooth Harley-Davidson (No. Komponen 41000771) untuk pemasangan ini. Untuk digunakan dengan aplikasi audio Harley-Davidson.
  • Digital Technician II (DT II)Mungkin diperlukan untuk memeriksa dan memperbarui perangkat lunak amplifier. Hubungi dealer Harley-Davidson setempat Anda.
  • Kendaraan dilengkapi dengan radio Boom!™ Box 4.3, DT IImungkin perlu memperbarui perangkat lunak. Hubungi dealer Harley-Davidson setempat Anda.
  • Kendaraan dilengkapi dengan radio Boom!™ Box 6.5 GT, DT IImungkin disyaratkan untuk memperbarui perangkat lunak. Hubungi dealer Harley-Davidson setempat Anda.
PERINGATAN
Keselamatan pengendara dan penumpang bergantung pada pemasangan kit yang benar. Gunakan prosedur manual servis yang benar. Jika Anda tidak mampu menjalankan prosedur ini atau tidak memiliki alat yang tepat, mintalah dealer Harley-Davidson untuk melakukan pemasangan. Pemasangan yang salah terkait perangkat ini dapat menyebabkan kematian atau cedera parah. (00333b)
Sebaiknya pemasangan dilakukan oleh teknisi di dealer Harley-Davidson.
PERSIAPAN
1. Lepaskan kedua tas sadel. Lihat manual servis.
2. Lepas penutup samping. Lihat manual servis.
3. Lepas sekring utama. Lihat manual servis.
4. Lepas jok. Lihat manual servis.
5. Lepaskan caddy sisi kiri. Lihat manual servis.
6. Lepas caddy atas. Lihat manual servis.
7. Lepaskan caddy tulang punggung bawah. Lihat manual servis.
TAS KARGO
Tas Sadel Kanan
1. Gambar 8 Posisikan templat pengeboran di kanan tas sadel.
CATATAN
Jangan memodifikasi tas sadel kiri kecuali Anda memasang subwoofer kedua.
a. Tutupi seluruh area pola pengeboran (2) di tas sadel kanan (1) dengan selotip.
b. Pasang templat pengeboran (2).
c. Amankan seluruh perimeter templat pengeboran (2) dengan selotip.
d. Pasang sekrup pengetap (3) yang akan menahan templat pengeboran (2).
2. Gambar 9 Dengan menggunakan spidol hitam, telusuri garis tepi templat pengeboran (1) pada selotip perekat tas sadel.
3. Gambar 8 Ubah tas sadel kanan (1).
a. Menggunakan mata bor 1/8 inci, bor lubang pilot di titik pengeboran (4, 5, 6).
b. Lubang bor: Bor enam lubang bor 25/64 inci (4).
c. Lubang Sekrup: Bor delapan lubang sekrup 25/64 inci (6).
CATATAN
Jika berkendara saat hujan, air berpotensi masuk melalui kisi-kisi bezel. Lubang pembuangan diperlukan untuk drainase air.
d. Gambar 10 Lubang Drainase: Bor dua lubang drainase 1/4 inci (3) di lokasi perkiraan.
e. Gambar 9 Dengan templat pengeboran masih di tempatnya dan menggunakan gergaji yang sesuai, potong di sepanjang bagian luar garis tepi templat (1).
f. Lepaskan sekrup pengetap (3), templat pengeboran dan selotip dari tas sadel.
g. Lubang Gromet: Lubang bor untuk gromet 3/4 inci (5) tempat sekrup pengetap (3) dilepas.
h. Bersihkan lubang dan garis tepi templat dengan mengampelasnya dengan ringan.
i. Bersihkan semua permukaan bidang kerja pada bodi dengan isopropil alkohol 50-70% dan air suling 30-50%. Biarkan hingga kering sepenuhnya.
4. Gambar 1 Pasang label pengencang tas sadel (10).
a. Pasang label di dekat sekrup tuas pemasangan belakang.
5. Gambar 11 Uji kesesuaian bezel dalam (2) dan luar (1) pada tas sadel.
a. Pasang dan kencangkan sekrup sedikit saja (8).
b. Pastikan komponen terpasang dengan benar.
c. Lepas sekrup dan bezel (1, 2).
d. Lakukan penyesuaian sesuai kebutuhan.
6. Lepaskan bagian belakang selotip lakban VHB dari bezel.
7. Gambar 12 Oleskan dempul silikon (3) ke bezel dalam (1) dan luar (2).
CATATAN
Dempul silikon digunakan sebagai tindakan tambahan untuk mencegah air masuk ke tas sadel.
8. Gambar 11 Pasang bezel dalam (2) dan luar (1) pada tas sadel.
a. Pasang sekrup (3).
CATATAN
JANGAN kencangkan sekrup bezel terlalu kuat.
b. Gambar 13 Kencangkan secara berurutan.
Torque: 0,4–0,6 N·m (4–5 in-lbs) Sekrup bezel
9. Gambar 14 Untuk memaksimalkan kinerja sealant, gunakan penganjal kayu pada bevel bagian dalam (1). Tahan di tempat selama 24 jam.
a. Untuk daya rekat sudut maksimum, letakkan penganjal kayu di area seperti yang ditunjukkan oleh panah.
10. Gambar 15 Pasang harnes 69203012 (5) di tas sadel kanan.
a. Gambar 17 Putar gromet sampai tercapai jalur harnes yang tepat.
11. Gambar 15 Hubungkan harnes 69203031 (4) ke harnes 69203012 (5).
CATATAN
Kit 90201540 perlu dipasang untuk mengamankan tas sadel. Lihat Persyaratan Pemasangan
12. Pasang tas sadel sisi kanan.
a. Pasang sekrup pemasangan tas sadel belakang asli.
b. Gambar 1 Pasang sekrup pemasangan depan tas sadel (13) dari kit. Kencangkan.
Torque: 5–5,6 N·m (44–50 in-lbs) Sekrup pemasangan depan tas sadel
13. Hubungkan harnes 69203031ke:
a. Gambar 3 Untuk subwoofer tunggal, amplifier tunggal dan dua pengaturan speaker. Konektor harnes perlu dipasang kembali. Pemasangan Kembali Harness 69203031 Jika konektor tidak dipasang ulang, tidak akan ada audio. CATATAN: Jika speaker tas sadel ditambahkan setelah subwoofer dipasang, konfigurasi asli harnes 69203031 harus digunakan. Kabel di rongga satu dan empat.
b. Konektor harnes utama amplifier [351A] (output audio). Gambar 3 Dilengkapi dengan Satu Subwoofer, Satu Amplifier, Dua Speaker.
c. Konektor harnes amplifier sekunder [352A_1] atau [352A_2] (output audio). Gambar 4 Dilengkapi dengan Subwoofer Tunggal, Amplifier Ganda, Empat atau Enam Speaker.
14. Gambar 16 Arahkan dan ikat harnes menggunakan pengikat kabel.
a. Pastikan harnes tidak menghalangi bagian yang bergerak.
b. Gunakan titik jangkar harnes kabel pabrik.
15. Gambar 19 Pasang subwoofer (2).
16. Gambar 15 Hubungkan harnes 69203012 (5) ke konektor subwoofer (2). Gambar 19
17.
1Tas sadel kanan
2Templat bor
3Sekrup pengetap (3)
4Lubang bor 25/64 inci (6 dibor)
5Lubang gromet 3/4 inci (1 dibor)
6Lubang sekrup 25/64 inci (8 dibor)
Gambar 8. Templat pengeboran Tas Sadel Kanan
1Garis luar templat
Gambar 9. Garis Tepi Templat
1Tas sadel kiri
2Tas sadel kanan
3Lokasi lubang pembuangan 1/4 inci
Gambar 10. Penempatan Lubang Drainase
1Bezel bagian luar
2Bezel bagian dalam
3Sekrup (8)
Gambar 11. Uji Kesesuaian Bezel
1Bezel bagian dalam
2Bezel bagian luar
3Dempul silikon
Gambar 12. Bezel
Gambar 13. Urutan Pengencangan - Sekrup Bezel
1Bezel bagian dalam
2Balok kayu (2)
Gambar 14. Penganjal Kayu
1Harnes 69203012
2Garis tepi tas sadel kiri
3Harnes 69203032
4Harnes 69203031
5Harnes 69203012
6Garis tepi tas sadel kanan
Gambar 15. Pengaturan Jalur Harnes Subwoofer
1Titik jangkar
2Penopang sepatbor belakang
Gambar 16. Penopang Sepatbor Belakang
1Tas sadel kanan
2Pengaturan jalur harnes
3Gromet (Harness 69203012)
Gambar 17. Jalur Harnes Tas Sadel Kanan
1Tas sadel kanan
2Bezel bagian luar
3Gril
Gambar 18. Bezel bagian luar
1Subwoofer kanan
2Konektor subwoofer
2Tas sadel kanan
Gambar 19. Pasang Subwoofer
Tas Sadel Kiri
1. Gambar 20 Ulangi prosedur 1-8 dari tas sadel kanan.
2. Gambar 15 Pasang harnes 69203012 (5) di tas sadel kanan.
a. Gambar 17 Putar gromet sampai tercapai jalur harnes yang tepat.
3. Gambar 15 Hubungkan harnes 69203032 (3) ke harnes 69203012 (5).
4. Pasang saddlebag sebelah kiri.
a. Pasang sekrup pemasangan tas sadel belakang asli.
b. Gambar 1 Pasang sekrup pemasangan tas sadel bagian depan (13) dari kit.
5. Hubungkan harnes 69203032 ke:
a. Konektor harnes amplifier sekunder [352A_1] atau [352A_2] (output audio). Gambar 7 Dilengkapi Subwoofer Ganda, Amplifier Ganda, Empat Speaker.
6. Arahkan dan ikat harnes menggunakan pengikat kabel.
a. Pastikan harnes tidak menghalangi bagian yang bergerak.
b. Gunakan titik pemasangan harnes kabel pabrik.
7. Gambar 19 Pasang subwoofer (2).
8. Gambar 15 Hubungkan harnes 69203012 (5) ke konektor subwoofer (2). Gambar 19
1Templat pengeboran kiri
2Lubang gromet 3/4 inci (1 dibor)
3Tas sadel kiri
Gambar 20. Templat pengeboran Tas Sadel Kiri
Lepas Subwoofer
1. Putuskan sambungan subwoofer.
2. Lepas subwoofer dari tas sadel.
3. Gambar 1 Tempatkan cincin EPDM (2) di bagian dalam panel steker (3).
4. Gambar 21 Posisi panel steker (1) di atas bezel bagian dalam.
5. Pasang sekrup kepala kupu-kupu (2). Kencangkan.
1Pasang panel
2Sekrup kepala kupu-kupu (2)
3Tas sadel kanan
Gambar 21. Pasang Panel
Pemasangan Kembali Harness 69203031
CATATAN
Ini untuk konfigurasi khusus. JANGAN mengubah harnes kecuali diinstruksikan dalam prosedur.
1. 1. Gambar 22 Gunakan alat khusus untuk melepaskan terminal dari konektor.

Special Tool: MOLEX ELECTRICAL CONNECTOR TERMINAL REMOVER (PELEPAS TERMINAL KONEKTOR ELEKTRIK MOLEX) (HD-48114)

2. Lepaskan kawat biru muda (5) dari rongga satu (1).
3. Pasang kawat biru muda (5) ke dalam rongga tiga (3).
4. Lepaskan kawat biru muda/hitam (6) dari rongga satu (4).
5. Pasang kawat biru muda/hitam (6) ke dalam rongga tiga (2).
1Rongga satu
2Rongga dua
3Rongga tiga
4Rongga empat
5Kawat biru muda
6Kawat biru muda/hitam
Gambar 22. Pemasangan Kembali Harness 69203031
SELESAI
1. Pasang caddy tulang punggung bawah. Lihat manual servis.
2. Pasang caddy atas. Lihat manual servis.
3. Pasang caddy sisi kiri. Lihat manual servis.
4. Pasang jok. Lihat manual servis.
5. Pasang sekring utama. Lihat manual servis.
6. Pasang penutup samping. Lihat manual servis.
7. Pasang kedua tas sadel. Lihat manual servis.