ערכות מגן רוח לדגמי FLHR/FLHP
J003152023-06-07
מידע כללי
טבלה 1. מידע כללי
ערכות
כלים מוצעים
רמת המיומנות(1)
57768-00, 57809-04, 57921-98, 57924-98, 58135-94, 58193-94, 58194-94, 58195-94, 58327-97, 58327-06, 58433-96, 57400005, 57400640, 57400641
משקפי בטיחות, מפתח מומנט
(1) נדרש הידוק עד לערך המומנט או כלים וטכניקות מתונים אחרים
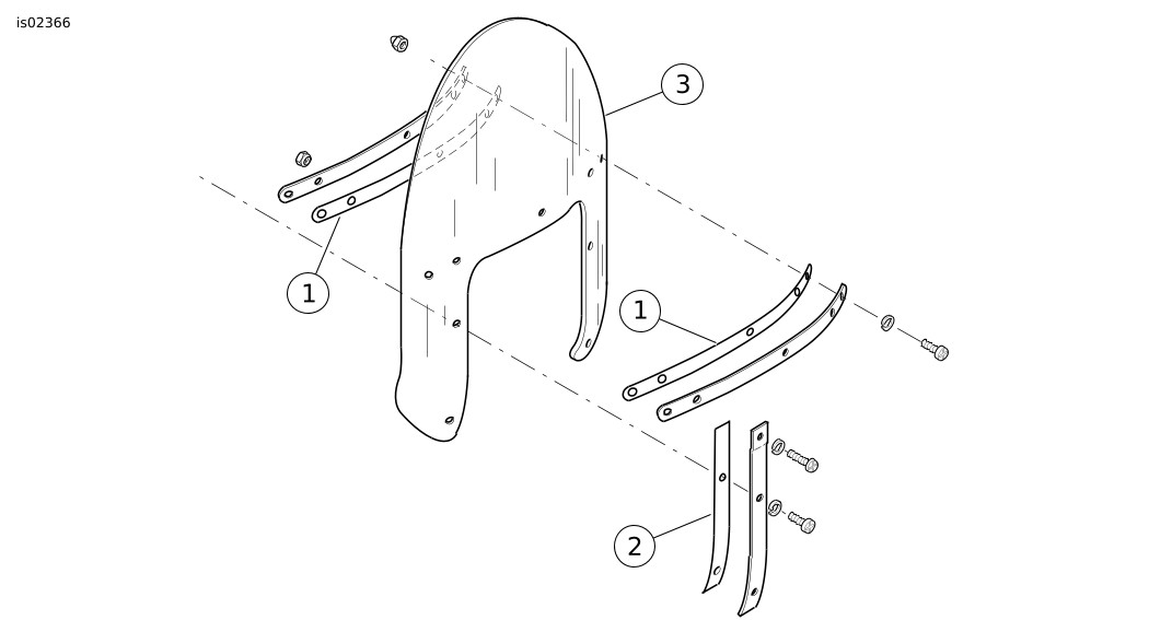
תכולת הערכה
איור 1. תכולת הערכה: ערכת מגן רוח
טבלה 2. תכולת הערכה: ערכת מגן רוח
יש לוודא שכל התכולה נמצאת בערכה לפני שמתקינים אותה או שמסירים פריטים מכלי הרכב.
פריט
כמות
תיאור
מספר חלק
הערות
1
2
סרט לתומכים האופקיים
58416-77A
2
2
סרט לתומכים האנכיים
58417-77
3
1
מגן רוח
לא נמכר בנפרד
כללי
הערה
ייתכן שסרטון עזר כלול בגיליון הוראות זה על מנת לסייע למתקין ולהראות בבירור חלק מסוים בהרכבה. ניתן לאתר קישור לסרטון בסופו של גיליון הוראות זה.
דגמים
למידע על ההתאמה לדגמים ניתן לעיין בקטלוג הקמעונאי של חלקים ואביזרים (Parts and Accessories) (P&A) או בדף "Parts and Accessories" (חלקים ואביזרים) באתר www.harley-davidson.com .
ודא שאתה משתמש בגרסה העדכנית ביותר של דף ההוראות. היא זמינה ב: h-d.com/isheets
יש ליצור קשר עם מרכז התמיכה ללקוחות של Harley-Davidson בטלפון 1-800-258-2464 (ארה“ב בלבד) או 1-414-343-4056.
דרישות התקנה
חלקי השירות ישימים לכל הערכות. עיין בקטלוג החלקים של הרכב למידע מספרי החלקים של התומכים ואביזרי החיבור וההתקנה.
אזהרה
הבטיחות של הרוכב והנוסע תלויה בהתקנה נכונה של הערכה הזאת. השתמש בהליכי הטיפול המתאימים שבמדריך. אם אינך מסוגל לבצע את הנוהל או אם אין לך הכלים הנכונים, בצע את ההתקנה בסוכנות Harley-Davidson. התקנה לא נאותה של הערכה הזאת עלולה לגרום למוות או פגיעה חמורה. (00333b)
הערה
גיליון הנחיות זה מתייחס למידע במדריך השירות. יש צורך במדריך הטיפולים לאופנועים מהשנה ומהדגם המסוימים לצורך ההתקנה הזו. ניתן לקבל אותו דרך:
  • סוכנות של Harley-Davidson.
  • פורטל המידע על תיקונים של Harley-Davidson (H-D Service Information Portal): הגישה היא למנויים; מכיל מידע עבור רוב דגמי שנת 2001 והדגמים החדשים יותר. למידע נוסף ראה את השאלות הנפוצות על מנויים .
התראה
אל תשתמש בתיקים למגני רוח במגני רוח עם עיטורי להבה. ייגרם נזק לעיטורים. (00393f)
טבלה 3. מידע על מגן הרוח
ערכות
תוכן העניינים
57768-00
קצר יותר ב-4 אינצ'ים מהפריט המקורי (שקוף)
57809-04
באורך זהה לפריט המקורי (שקוף עם להבות)
57921-98
(בינלאומי): ארוך יותר ב-2 אינצ'ים מהפריט המקורי (שקוף)
58193-94
באורך זהה לפריט המקורי (שקוף)
58327-97
(בינלאומי): באורך זהה לפריט המקורי (שקוף)
58327-06
(בינלאומי): קצר יותר ב-2 אינצ'ים מהפריט המקורי (שקוף)
58433-96
ארוך יותר ב-2 אינצ'ים מהפריט המקורי (שקוף)
58135-94
באורך זהה לפריט המקורי (מעושן)
58194-94
ארוך יותר ב-2 אינצ'ים מהפריט המקורי (מעושן)
58195-94
קצר יותר ב-4 אינצ'ים מהפריט המקורי (מעושן)
57924-98
(בינלאומי): קצר יותר ב-4 אינצ'ים מהפריט המקורי (מעושן)
57400005
(סין), קצר יותר ב-4 אינצ'ים מהפריט המקורי (שקוף)
57400640
באורך זהה לפריט המקורי (גוון כתום)
57400641
באורך זהה לפריט המקורי (גוון מג'נטה)
הסר
1. הסר את מגן הרוח. ראה מדריך למשתמש.
2. הסר את כל אביזרי החיבור והקיבוע המקבעים את תושבות ההתקנה והתומכים אל מגן הרוח. שמור את אביזרי ההתקנה והחיבור לשימוש בהמשך.
הערה
ודא שהסרט הישן הוסר במלואו מתומכי מגן הרוח. השארת הסרט תגרום לחוסר אחידות בפני השטח ותושבות ההתקנה לא ישתלבו כראוי במגן הרוח.
3. הסר את כל הסרט הישן ממגן הרוח או מהתומכים.
התקנה
אזהרה
התקנה לא נאותה של אביזרים או העמסה לא נכונה של מטען עלולות להשפיע על יציבות האופנוע והשליטה, וכתוצאה מכך לגרום למוות או לפגיעה חמורה. (00455b)
התראה
אל תחרוג מערך המומנט המומלץ בעת התקנת בורגי החיבור. נזק עלול להיגרם למגן הרוח. (00385a)
1. התקן סרט חדש מהערכה על אותם אזורים במגן הרוח החדש שהיה עליהם סרט הדבקה במגן הרוח המקורי.
2. חבר באופן רופף את תושבות ההתקנה, התומכים ואביזרי החיבור וההתקנה למגן הרוח. הדק את האומים.
מומנט סיבוב: 2.6–3 N·m (23–27 in-lbs) אום
סיום
אזהרה
העדר מרווח נאות בין חלקים נייחים וניידים עלול לגרום לאובדן שליטה, וכתוצאה מכך לגרום למוות או פציעה חמורה. (00378a)
הערה
בדוק באופן סדיר את אביזרי החיבור. אסור בהחלט לרכוב עם חיבורים רופפים. חיבור רופף עלול לגרום ללחץ מוגבר על החיבורים הנותרים, וכן על מגן הרוח עצמו, ועשוי לגרום לכשל מוקדם של הרכיבים.
1. התקן את מגן הרוח. ראה מדריך למשתמש.
2. בדוק את השמשה הקדמית עם סיום ההתקנה.
a. ודא שהרכבת השמשה לא תגביל תנועה מלאה שמאלה או ימינה של מכלול המזלג הקדמי.
b. אם קיימת הגבלה, התאם את השמשה לפי הצורך עד קבלת טווח תנועה תקין.
טיפול וניקוי
התראה
כדי לשמור על מגני רוח/מסיטי זרימת האוויר מפוליקרבונט יש לטפל בהם ולתחזק אותם בצורה נאותה. אם אין מטפלים בפוליקרבונט כראוי עלול להיגרם נזק למגן הרוח/מסיט זרימת האוויר. (00483e)
התראה
השתמש רק במוצרים המומלצים מטעם Harley-Davidson על מגיני רוח של Harley-Davidson. אין להשתמש בכימיקלים חזקים או בתכשירים דוחי-מים אשר עלולים לגרום נזק לפני מגן הרוח, כגון התכהות או התערפלות. (00231c)
הערה
השתקפויות אור השמש מאזור פנים קימור השמשה יכול, בשעות מסוימות של היום, לגרום להצטברות חום קיצוני על אביזרי האופנוע. היזהר בעת חניה. חנה מול השמש, הנח חפץ אטום על אביזרי הרכב או כוון את השמשה כך שתימנע השתקפות.
כיסוי מגן הרוח במטלית נקייה ורטובה למשך כ-15 דקות לפני הרחיצה מקילה על הסרת חרקים מתים שהתייבשו.
אל תנקה פוליקרבונט תחת שמש קופחת או במקום עם טמפרטורות גבוהות. אבקות ניקוי וחומרי ניקוי שוחקים או אלקליים עלולים לגרום נזק לשמשה. אין לגרד את השמשה עם סכין גילוח או מכשירים חדים אחרים כי ייגרם נזק בלתי הפיך.