KIT KACA DEPAN FLHR/FLHP
J003152023-06-07
INFORMASI UMUM
Tabel 1. Informasi Umum
Kit
Alat-alat yang Disarankan
Level Keahlian(1)
57768-00, 57809-04, 57921-98, 57924-98, 58135-94, 58193-94, 58194-94, 58195-94, 58327-97, 58327-06, 58433-96, 57400005, 57400640, 57400641
Kaca Mata Pelindung, Kunci Torsi
(1) Perlu mengencangkan hingga nilai torsi atau peralatan dan teknik lain yang memadai
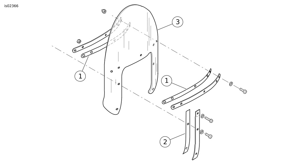
ISI KIT
Gambar 1. Isi Kit: Kit Kaca Depan
Tabel 2. Isi Kit: Kit Kaca Depan
Pastikan semua isi kit lengkap sebelum memasang atau melepaskan item dari kendaraan.
Item
Jumlah
Deskripsi
No. Komponen
Catatan
1
2
Selotip untuk penjepit horizontal
58416-77A
2
2
Selotip untuk penjepit vertikal
58417-77
3
1
Kaca Depan
Tidak dijual terpisah
UMUM
CATATAN
Lembar instruksi ini mungkin berisi Video Tambahan untuk membantu pemasang dengan penjelasan bagian tertentu dari rakitan. Tautan ke video akan ditempatkan di akhir lembar instruksi ini.
Model
Untuk informasi kesesuaian model, baca Katalog Retail Komponen dan Aksesori (P&A) atau bagian Komponen dan Aksesori dari www.harley-davidson.com .
Pastikan Anda menggunakan lembar instruksi versi terkini. Tersedia di: h-d.com/isheets
Hubungi Pusat Dukungan Pelanggan Harley-Davidson di 1-800-258-2464 (khusus AS) atau 1-414-343-4056.
Persyaratan Pemasangan
Komponen Servis berlaku untuk semua kit. Lihat Katalog Komponen kendaraan untuk informasi nomor penjepit dan komponen perangkat keras.
PERINGATAN
Keselamatan pengendara dan penumpang bergantung pada pemasangan kit yang benar. Gunakan prosedur manual servis yang benar. Jika Anda tidak mampu menjalankan prosedur ini atau tidak memiliki alat yang tepat, mintalah dealer Harley-Davidson untuk melakukan pemasangan. Pemasangan yang salah terkait perangkat ini dapat menyebabkan kematian atau cedera parah. (00333b)
CATATAN
Lembar instruksi ini merujuk pada informasi manual servis. Manual servis tahun sepeda motor dan model sepeda motor dibutuhkan untuk pemasangan ini dan tersedia dari:
  • Dealer Harley-Davidson.
  • Portal Informasi Layanan H-D, akses berbasis langganan untuk sebagian besar model mulai tahun 2001 dan yang lebih baru. Lihat Pertanyaan Umum tentang Berlangganan untuk informasi lebih lanjut.
PEMBERITAHUAN
Jangan menggunakan tas kaca depan untuk kaca depan yang dihiasi nyala api. Kerusakan pada grafik akan terjadi. (00393f)
Tabel 3. Informasi Kaca Depan
Kit
Isi
57768-00
Lebih pendek 4 inci dari bawaan (transparan)
57809-04
Tinggi bawaan (transparan dengan nyala api)
57921-98
(Internasional): Lebih tinggi 2 inci dari bawaan (transparan)
58193-94
Tinggi bawaan (transparan)
58327-97
(Internasional): Tinggi bawaan (transparan)
58327-06
(Internasional): Lebih pendek 2 inci dari bawaan (transparan)
58433-96
Lebih tinggi 2 inci dari bawaan (transparan)
58135-94
Tinggi bawaan (gelap)
58194-94
Lebih tinggi 2 inci dari bawaan (gelap)
58195-94
Lebih pendek 4 inci dari bawaan (gelap)
57924-98
(Internasional): Lebih pendek 4 inci dari bawaan (gelap)
57400005
(Cina), lebih pendek 4 inci dari bawaan (transparan)
57400640
Tinggi bawaan (warna oranye)
57400641
Tinggi bawaan (warna magenta)
PELEPASAN
1. Lepaskan kaca depan. Lihat manual pemilik.
2. Lepaskan semua perangkat keras yang menahan braket pemasangan dan penjepit ke kaca depan. Simpan perangkat keras untuk digunakan nanti.
CATATAN
Pastikan semua selotip lama benar-benar terlepas dari penjepit kaca depan. Selotip yang tersisa akan membuat permukaan tidak rata, mencegah braket pemasangan terpasang dengan benar ke kaca depan.
3. Lepaskan semua selotip lama dari kaca depan atau penyangga.
PASANG
PERINGATAN
Pemasangan aksesori atau pengisian kargo yang tidak benar dapat memengaruhi stabilitas dan kemudi, yang dapat menyebabkan kematian atau cedera parah. (00455b)
PEMBERITAHUAN
Jangan melebihi torsi yang dianjurkan saat memasang sekrup rumahan. Kerusakan pada kaca depan dapat terjadi. (00385a)
1. Pasang selotip baru yang disertakan dalam kit di atas area kaca depan baru yang dengan selotip pada kaca depan bawaan.
2. Pasang braket pemasangan, penjepit, dan perangkat keras secara longgar ke kaca depan. Kencangkan mur.
Torque: 2,6–3 N·m (23–27 in-lbs) Mur
SELESAI
PERINGATAN
Kelalaian untuk menyediakan ruang yang cukup antara komponen bergerak dan komponen tidak bergerak dapat mengakibatkan sepeda motor kehilangan kontrol, yang dapat menyebabkan kematian atau cedera parah. (00378a)
CATATAN
Periksa perangkat keras dudukan secara berkala. Jangan mengendarai sepeda motor jika kaca depan kendur. Dudukan yang longgar dapat memberikan tekanan tambahan pada dudukan yang lain, juga pada kaca depan, serta dapat menyebabkan kerusakan komponen sebelum waktunya.
1. Pasang kaca depan. Lihat manual pemilik.
2. Periksa kaca depan setelah selesai pemasangan.
a. Pastikan dudukan kaca depan tidak membatasi kemampuan belok penuh ke kiri atau ke kanan pada unit fork depan.
b. Jika mengganggu pemutaran unit fork, sesuaikan kaca depan seperlunya hingga didapatkan jarak bebas yang tepat.
PERAWATAN DAN PEMBERSIHAN
PEMBERITAHUAN
Kaca depan/deflektor angin polikarbonat memerlukan perhatian dan perawatan yang tepat dalam pemeliharaannya. Kelalaian memelihara polikarbonat dengan tepat dapat menyebabkan kerusakan pada kaca depan/deflektor angin. (00483e)
PEMBERITAHUAN
Hanya gunakan produk yang direkomendasikan Harley-Davidson pada kaca depan Harley-Davidson. Jangan gunakan bahan kimia keras atau produk pelindung dari hujan, yang dapat menyebabkan kerusakan permukaan kaca depan, seperti menjadi kusam atau kabur. (00231c)
CATATAN
Pantulan sinar matahari di lengkungan bagian dalam kaca depan secara terus-menerus dapat menyebabkan penumpukan panas yang ekstrem pada instrumen sepeda motor. Pilih tempat parkir dengan cermat. Jika memarkir kendaraan di bawah sinar matahari, letakkan benda yang tidak tembus cahaya di atas instrumen, atau atur kaca depan untuk mencegah pantulan.
Tutup kaca depan dengan kain basah bersih sekitar 15 menit sebelum mencuci motor agar serangga kering lebih mudah dibersihkan.
Jangan bersihkan polikarbonat di bawah sinar matahari atau pada suhu tinggi. Pembersih bubuk, abrasif, dan bersifat alkali akan merusak kaca depan. Jangan gesek kaca depan dengan pisau tajam atau alat tajam lainnya karena dapat menyebabkan kerusakan permanen.