ערכת ידיות כידון מחוממות
J052962024-01-24
מידע כללי
טבלה 1. מידע כללי
ערכות
כלים מוצעים
רמת המיומנות(1)
56100034, 56100318, 56100331, 56100342, 56100436, 56100437, 56100438, 56100568, 56100569
משקפי בטיחות, מפתח ברגים להידוק מומנט, אקדח חום, כלי איחוי
(1) נדרש הידוק עד לערך המומנט או כלים וטכניקות מתונים אחרים
תכולת הערכה
איור 1. תכולת הערכה: ידיות כידון מחוממות
טבלה 2. תכולת הערכה: ערכות ידיות כידון מחוממות
יש לוודא שכל התכולה נמצאת בערכה לפני שמתקינים אותה או שמסירים פריטים מכלי הרכב.
פריט
כמות
תיאור
מספר חלק
הערות
1
1
ידית אחיזה מחוממת, שמאל
56209-10
ערכה 56100034
56100325
ערכה 56100318
56100338
ערכה 56100331
56100316
ערכה 56100342
56100430
ערכה 56100436, כרום
56100431
ערכה 56100437, שחור
56100432
ערכה 56100438, קולקציית Edge
56100572
ערכה 56100568
56100573
ערכה 56100569
2
1
ידית אחיזה מחוממת, ימין
56249-10
ערכה 56100034
56100326
ערכה 56100318
56100339
ערכה 56100331
56100317
ערכה 56100342
56100433
ערכה 56100436, כרום
56100434
ערכה 56100437, שחור
56100435
ערכה 56100438, קולקציית Edge
56100570
ערכה 56100568
56100573
ערכה 56100569
3
1
מכסה, ידית כידון מחוממת, ימין
56250-10
ערכה 56100034
56100329
ערכה 56100318
56100337
ערכה 56100331
56100168
ערכה 56100342
56100472
ערכה 56100436, כרום
56100471
ערכה 56100437, שחור
56100470
ערכה 56100438, קולקציית Edge
56100598
ערכה 56100568
56100599
ערכה 56100569
4
1
רתמת מתאם
69200232
משותף לכל הערכות
5
2
מחבר שזירה
70586-93
6
1
מחבר ביניים מגשר, שחור-לבן, 14 אינץ'
62901809
7
1
מגשר הזנת מתח/ארקה, אדום-שחור, 20 אינץ'
69201808
כללי
דגמים
למידע על ההתאמה לדגמים ניתן לעיין בקטלוג הקמעונאי של חלקים ואביזרים (Parts and Accessories) (P&A) או בדף "Parts and Accessories" (חלקים ואביזרים) באתר www.harley-davidson.com .
ודא שאתה משתמש בגרסה העדכנית ביותר של דף ההוראות. היא זמינה ב: h-d.com/isheets
יש ליצור קשר עם מרכז התמיכה ללקוחות של Harley-Davidson בטלפון 1-800-258-2464 (ארה“ב בלבד) או 1-414-343-4056.
דרישות התקנה
עבור דגמי 2008 ו-2009 נדרשת רכישה בנפרד של חלקים נוספים:
  • רתמת קישור לחיווט של חיישן ידית מסתובבת (TGS) 70415-08A (‏1)
  • מחבר 72902-01BK ‏(1)
  • סופית מבודדת 72990-01 (2)
ערכות חיבור חשמליות לפי שנה ודגם:
  • לדגם Road King מהשנים 2014 - 2016 נדרשת רכישה בנפרד של 69200722
  • לדגמי Road King ו-FLTRU משנת 2017 ואילך נדרשת רכישה בנפרד של 69201599A
  • לדגמי Softail ו-Dyna מהשנים 2016 ו-2017 נדרשת רכישה בנפרד של 72673-11
  • לדגמי Softail משנת 2018 ואילך נדרשת רכישה בנפרד של 69201750
אזהרה
הבטיחות של הרוכב והנוסע תלויה בהתקנה נכונה של הערכה הזאת. השתמש בהליכי הטיפול המתאימים שבמדריך. אם אינך מסוגל לבצע את הנוהל או אם אין לך הכלים הנכונים, בצע את ההתקנה בסוכנות Harley-Davidson. התקנה לא נאותה של הערכה הזאת עלולה לגרום למוות או פגיעה חמורה. (00333b)
הערה
גיליון הנחיות זה מתייחס למידע במדריך השירות. יש צורך במדריך הטיפולים לאופנועים מהשנה ומהדגם המסוימים לצורך ההתקנה הזו. ניתן לקבל אותו דרך:
  • סוכנות של Harley-Davidson.
  • פורטל המידע על תיקונים של Harley-Davidson (H-D Service Information Portal): הגישה היא למנויים; מכיל מידע עבור רוב דגמי שנת 2001 והדגמים החדשים יותר. למידע נוסף ראה את השאלות הנפוצות על מנויים .
אזהרה
בעת התקנת אביזר חשמלי כלשהו, הקפד שלא לחרוג מעבר לדירוג המרבי של עוצמת הזרם המרבית של הנתיך או מפסק המעגל המגן על המעגל שבו מבוצע השינוי. חריגה מעבר לעוצמת הזרם המרבית עלולה לגרום לתקלות חשמליות, וכתוצאה מכך לגרום למוות או פציעה חמורה. (00310a)
התראה
ניתן להעמיס יתר על המידה את מערכת הטעינה של הרכב על ידי הוספת יותר מדי אביזרי חשמל. אם כלל הציוד החשמלי הפועל בעת ובעונה אחת צורך יותר חשמל מכפי שהמערכת יכולה להפיק, צריכת החשמל עלולה לגרום להתרוקנות המצבר ולגרום נזק למערכת החשמל של הרכב. (00211d)
לערכת ידיות כידון מחוממות זו דרושים עד 3.5 אמפר של זרם נוסף מהמערכת החשמלית.
ידית כידון מחוממת
הסר
אזהרה
כדי למנוע התנעה בשוגג של הרכב העלולה לגרום למוות או פציעה חמורה, הסר את הנתיך הראשי לפני שתמשיך. (00251b)
התראה
אין להסיר או להתקין את מכלול משאבת הבלם הראשית מבלי להציב תחילה תותב בעובי של 5/32-אינץ‘(4 מ“מ) בין ידית הבלם לבין תושבת הידית. הסרה או התקנה של מכלול משאבת הבלם הראשית מבלי שהתותב במקומו עלולות לגרום נזק לנעל הגומי ולטובלן במתג אור הבלימה הקדמי. (00324a)
1. הסר את ידיות הכידון. עיין במדריך הטיפולים.
הערה
לחיישן הידית המסתובבת בצד ימין של הכידון יש כיסוי איטום המגן על האלקטרודות הפנימיות מפני לכלוך ולחות, ומשרתת גם כהתקן נעילה לידית המצערת בכידון.
כדי להסיר את ידית הכידון, ייתכן שיהיה צורך במשיכה קלה כדי לשחרר את פיני המיקום בידית מהחלק השקוע בכיסוי האיטום.
לאחר הסרת ידית, בדוק את מיקומו של כיסוי האיטום.
אם כיסוי האיטום עדיין מהודק אל הפינים בתוך ידית המצערת הישנה, ניתן להשליך אותו יחד עם הידית.
אם כיסוי האיטום עדיין מחובר אל קצה חיישן הידית המסתובבת:
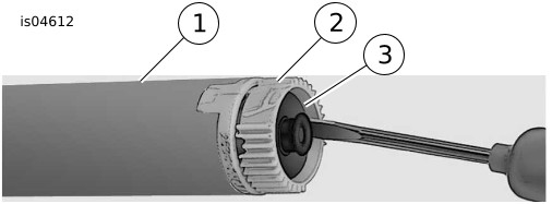
  • איור 2 הכנס מברג קטן או כלי אחר בעל להב שטוח אל האזור השטוח בצד אחד של מכסה האטימה.
  • דחוף את הרגלית שבצד התחתון של המכסה כדי לשחרר אותה מהחריץ שבקצה חיישן הידית המסתובבת. הרם קצה אחד של הכיסוי.
  • חזור על הפעולה בצד השני של המכסה.
  • הסיר בזהירות את המכסה והשלך אותו.
2. דגמי 2008 ו-2009: הסר את חיישן הידית המסתובבת (TGS) ואת רתמת הקישור לחיווט של ה-TGS. עיין במדריך הטיפולים.
הערה
לפני הסרת חיישן הידית המסתובבת, חבר חוט משיכה לרתמת הקישור לחיווט.
3. איור 3 נתק את רתמת הקישור לחיווט של ה-TGS מה-TGS ומהרתמה הראשית. השלך את רתמת הקישור המקורית לחיווט (2).
4. איור 4 חבר את רתמת הקישור החדשה לחיווט של ה-TGS אל ה-TGS.
a. חבר את המחבר (3) לרתמת החיווט של ה-TGS.
b. חבר את המחבר (4) למחבר ידית הכידון המחוממת.
1כידון
2חיישן ידית מצערת מפותלת
3כיסוי איטום
איור 2. הסר את כיסוי האטם
1צינור מתכווץ בחום
2רתמת קישור מקורית לחיווט בדגמי 2008-2009
איור 3. רתמת חיווט ו-TGS בדגמי 2008 ו-2009
1מחבר רתמת החיווט הראשית של TGS
2מחבר ידית הכידון המחוממת הימנית (אל ידית הכידון השמאלית)
3אל ה-TGS
4לחוטי ה-TGS של ידית הכידון המחוממת
איור 4. רתמת גישור TGS
התקנה
הערה
בעת ניתוב וסגירה מודולי בקרה ליד ימין וליד שמאל (R&LHCMs), יש לוודא שאין חוטים צבוטים. עיין במדריך הטיפולים.
הערה
אם לא נעשה שימוש בחוט משיכה, ניתן להשתמש בלחץ אוויר או בסרט משיכה של חשמלאים כדי להשחיל את רתמת החיווט במלואה דרך הכידון.
1. דגמי 2008 ו-2009: השחל את רתמות החיווט של חיישן הידית המסתובבת לתוך צד ימין של הכידון.
a. תוך כדי השחלת החיווט לתוך הכידון, משוך בעדינות את המחברים בקצה רתמת הקישור לחיווט כדי למשוך את חיישן הידית המסתובבת דרך אמצע הכידון.
b. התאם את לשוניות ההכוונה שעל חיישן הידית המסתובבת לתוך החריצים בכידון. לשונית מיקום אחת וחריץ אחד קטנים יותר מהאחרים מונעים הרכבה לא נכונה.
2. כל הדגמים: השחל את רתמת החיווט של ידית הכידון המחוממת השמאלית באופן מלא החוצה דרך אמצע הכידון.
הערה
בעת התקנת מודול בקרה ליד ימין (RHCM), יש לודא שמשחק סיום המצערת מוגדר כראוי. עיין במדריך הטיפולים.
a. בדגמים מסוימים ייתכן שיהיה צורך ברתמת קישור נוספת לחיווט כדי להגיע מידית הכידון בצד שמאל אל המחבר שאליו מחברים אותו בחיישן הידית המסתובבת (בהתאם לגובה הכידון, דגם הרכב ושנת הייצור של הרכב).
b. איור 1 מגשר 14 אינץ' זה המצויד בחוטים בצבע שחור/לבן מסופק בערכה.
3. איור 5 הצב את ידית הכידון המחוממת בצד שמאל (4)כך שהחלק הגדול יותר של קוטר האגן (5) נמצא בקצה התחתון. דחוף את ידית האחיזה על הכידון באופן מלא.
הערה
  • ודא שפני השטח של הכידון חלקים, יבשים ונוקו ביסודיות להסרת כל הלכלוך מהם.
  • לפני משיכת החוט דרך ידיות הכידון, העבר את החוט לאורך הכידון כדי לקבוע אם יש צורך בהארכה. אם אכן יש צורך בהארכה נוספת, עיין ברשימת החלקים.
  • בחלק מהכידונים בעלי חיווט פנימי, כמו דגמים מגולפים או דגמים בעלי מאותתי פנייה שמורכבים על הכידון, ייתכן ותידרש הוצאת הפינים של מחבר הידית המחוממת.
  • צלם את כל המחברים לפני הפירוק לשם ההרכבה מחדש.
  • לעזרה במשיכה, רסס או שפשף במי סבון.
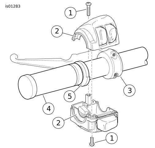
4. ראה איור 5 , שבו מוצגת ההתקנה הנעשית באופן דומה בצד שמאל. הצב את החלק התחתון של בית המתגים מתחת לידית כך שהחריצים (2) בצד החיצוני של בית המתגים יתאימו מעל לאוגן שבקצה הידית.
5. הצב את החלק העליון של בית המתגים על הכידון מעל לחלון התחתון של בית המתגים.
6. התחל בהברגת בורגי תושבות המתג העליון והתחתון, אך אל תהדק.
a. ודא שתעלת רתמת החיווט עוברת בשקע שבתחתית הכידון.
7. מקם את מכלול ידית המצמד בתוך מכלול בית המתגים, ושלב את הלשונית שבחלק התחתון של בית המתגים בחריץ שבתחתית תושבת ידית המצמד.
8. הצב את החור בחבק הכידון מול החור בתושבת ידית המצמד, והתחל בהברגת הבורג התחתון עם דסקית שטוחה.
a. כוונן את המיקום של ידית המצמד ושל בית המתגים לנוחות הרוכב.
9. בעזרת מברג עם ראש טורקס T-27, הדק תחילה את הבורג העליון ולאחר מכן את הבורג התחתון של בורגי חבק הכידון. הדק.
מומנט סיבוב: 6.8–9 N·m (60–80 in-lbs)
10. בעזרת מברג עם ראש טורקס T-25, הדק תחילה את הבורג התחתון ולאחר מכן את הבורג העליון של בורגי בית המתגים. הדק.
מומנט סיבוב: 4–5.4 N·m (35–48 in-lbs)
11. קח את ידית המצערת הימנית המחוממת ה חדשה (2) מהערכה.
הערה
בעת התקנת RHCM, יש לודא שמשחק סיום המצערת מוגדר כראוי. עיין במדריך הטיפולים.
12. בתוך הקצה החיצוני של ידית המצערת חבוי תקע פלסטיק עגול, שתי סופיות מבודדות בצד אחד.
a. משוך החוצה את התקע בזהירות מידית הכידון דרך הפתח בצד החיצוני.
13. החלק את ידית המצערת המחוממת ה חדשה מעל לקצה הכידון.
הערה
ודא שפני השטח של הכידון חלקים, ושהצד הפנימי של ידית המצערת החדשה יבש ונוקה ביסודיות להסרת כל הלכלוך ממנו.
a. סובב את ידית הכידון כדי לוודא שבליטות החיבור הפנימיות משולבות עם אלו שבחיישן הידית המסתובבת.
14. הצב את החלק התחתון של בית המתגים מתחת לידית כך שהחריצים (2) בצד החיצוני של בית המתגים יתאימו מעל לאוגן שבקצה הידית.
15. הצב את החלק העליון של בית המתגים על הכידון מעל לחלון התחתון של בית המתגים.
16. התחל בהברגת בורגי החלק העליון והתחתון של בית המתגים, אך אל תהדק.
a. ודא שתעלת רתמת החיווט עוברת בשקע שבתחתית הכידון.
17. מקם את בית משאבת הבלם הראשית בצד הפנימי של מכלול בית המתגים, תוך שילוב הלשונית בחלק התחתון של בית המתגים בחריץ שבתחתית בית משאבת הבלם הראשית.
18. הצב את החור בחבק הכידון מול החור בבית המשאבה הראשית, והתחל בהברגת הבורג התחתון עם דסקית שטוחה.
a. כוונן את המיקום של ידית הבלם ושל בית המתגים לנוחות הרוכב.
19. בעזרת מברג עם ראש טורקס T-27, הדק תחילה את הבורג העליון ולאחר מכן את הבורג התחתון של בורגי חבק הכידון. הדק.
מומנט סיבוב: 6.8–9 N·m (60–80 in-lbs)
20. בעזרת מברג עם ראש טורקס T-25, הדק תחילה את הבורג התחתון ולאחר מכן את הבורג העליון של בורגי בית המתגים. הדק.
מומנט סיבוב: 4–5.4 N·m (35–48 in-lbs)
הערה
אל תמשוך את בית המתגים יותר מדי פנימה כדי שלא לגרום להיתפסות או לגרירה של ידית המצערת על הכידון. הפעל את ידית המצערת כדי לוודא שהיא חוזרת בחופשיות למצב סרק.
אזהרה
לפני הפעלת מנוע, ודא שבקרת המצערת חוזרת למצב סרק לאחר עזיבתה. בקרת מצערת המונעת מהמנוע לחזור באופן אוטומטי למצב סרק עלולה לגרום לאובדן שליטה, וכתוצאה מכך לגרום למוות או פציעה חמורה. (00390a)
21. ודא כי ידית הכידון/שרוול המצערת בצד ימין מסתובבים וחוזרים בחופשיות ואינם נתפסים בכידון או בבית המתגים.
22. באמצעות שפיץ-פלייר או כלי דומה, תפוס בזהירות את תקע הפלסטיק העגול בקצה החיצוני של ידית המצערת.
הערה
שקעי ההדקים בחיישן הידית המסתובבת מוסטים לצד אחד, וניתן להכניס את הפינים רק בכיוון אחד.
a. הכנס את התקע חזרה דרך הפתח בידית הכידון, והכנס את הסופיות המבודדות לתוך השקעים בקצה חיישן הידית המסתובבת, כך ששני הפינים של התקע ישתלבו בפתחים של חיישן הידית המסתובבת.
b. לחץ היטב על תקע הפלסטיק כדי לוודא שהפינים נכנסו באופן מלא לשקעים.
23. התקן את מכסה הקצה על קצה ידית המצערת.
1בורג בית המתג (2).
2חריצים
3מהדר כידון
4ידית כידון שמאלי
5קוטר גדול יותר של האוגן
איור 5. תושבות מתג הכידון השמאלי
חיבור לחיווט הרכב
הערה
  • ודא שידיות הכידון המחוממות מותקנות כהלכה. התקנה שגויה עלולה לגרום להתחממות יתר.
  • ייתכן שכלי הרכב יהיו מצוידים במחבר חשמלי ירוק או שחור, בהתאם לשנת הדגם.
  • ייתכן שידית הכידון השמאלית ורתמת הקישור לחיווט יכללו מחבר שחור או ירוק בהתאם לשנת הייצור.
דגמי FLH מהשנים 2008 - 2013
1. הסר את המעטפת החיצונית. עיין במדריך הטיפולים.
2. איור 6 חבר את מחצית המחבר החשמלי מידית הכידון השמאלית למחבר החשמלי של ידית הכידון (3).
הערה
איור 6 המחבר החשמלי של ידית הכידון (3) מצויד במכסה שחובה להסיר לפני החיבור לחיווט הרכב.
3. חבר (1) למחבר ידית הכידון בצד שמאל.
4. דגמים מהשנים 2008 ו-2009 בלבד:
a. הסר את החיווט מהצד האחורי של המצית. הבא את מכלול רתמת החיווט מהערכה. חבר את ההדקים מהרתמה למצית.
b. ודא שצבעי החוטים תואמים זה לזה לפני ביצוע האיחוי. התקן את החיווט שהוסר מהמצית בשלב הקודם ללשונית ברתמה.
c. חבר את הרתמה הראשית של TGS מרתמת הקישור לחיווט אל המחבר (2).
5. חבר את מחצית מחבר ידית הכידון המחוממת מידית הכידון השמאלית למחבר הביניים של ידית הכידון המחוממת בצד ימין (1).
הערה
בשלב הבא, ודא שצבעי החוטים תואמים זה לזה לפני ביצוע האיחוי.
6. התקן את המעטפת החיצונית. עיין במדריך הטיפולים.
1מחבר ביניים
2מחבר רתמת הקישור לחיווט של חיישן הידית המסתובבת
3מחבר חשמלי של ידית הכידון המחוממת
איור 6. חיווט המעטפת (דגמי FLH)
דגמי FLTR מהשנים 2008 - 2013
1. הסר את המעטפת החיצונית. עיין במדריך הטיפולים.
2. הסר את החיווט מהצד האחורי של המצית.
a. הבא את מכלול רתמת החיווט מהערכה.
b. חבר את ההדקים מהרתמה למצית.
3. התקן את החיווט שהוסר מהמצית בשלב הקודם ללשונית ברתמה.
הערה
בשלב הבא, ודא שצבעי החוטים תואמים זה לזה לפני ביצוע האיחוי.
4. > איור 7 חבר את מחצית מחבר TGS מידית הכידון הימנית למחצית מחבר הרתמה (1).
5. חבר את מחצית מחבר הביניים מידית הכידון השמאלית למחצית מחבר הביניים מידית הכידון בצד ימין.
הערה
בשלב הבא, ודא שצבעי החוטים תואמים זה לזה לפני ביצוע האיחוי.
6. התקן את המעטפת החיצונית. עיין במדריך הטיפולים.
1מחבר ביניים
2מחבר רתמת הקישור לחיווט של חיישן הידית המסתובבת
3מחבר חשמלי של ידית הכידון המחוממת
איור 7. מחבר רתמת הקישור לחיווט של חיישן הידית המסתובבת (דגמי FLTR)
דגמי ROAD KING מהשנים 2008 - 2013
הערה
ודא שצבעי החוטים תואמים זה לזה לפני ביצוע האיחוי.
1. איור 1 הבא את מכלול רתמת החיווט מהערכה. חתוך את שתי סופיות המזלג מהרתמה.
2. הסר את מכלול הפנס הראשי. עיין במדריך הטיפולים.
3. דגמים המצוידים באור קצה כנף:
a. איור 8 אתר את החיווט של אור קצה הכנף.
b. איור 1 בצע איחוי עם חיווט אור קצה הכנף סמוך למחבר בעזרת שני מחברי שזירה (5) מהערכה.
c. חתוך את החוטים בצבע כתום-לבן ובצבע שחור במרחק של כ-2.52 ס"מ מהמחבר.
d. חשוף מקטע באורך 9.5 מ"מ מהבידוד בקצוות רתמת הערכה וחיווט הרכב.
e. איור 9 מהקצוות החתוכים, הכנס חוט אחד בצבע כתום-לבן לתוך קצה אחד של מחבר השזירה. בקצה השני של מחבר השזירה, הכנס את החוט השני בצבע כתום-לבן עם חוט אדום מרתמת המתאם.
f. חזור על הנוהל עם החוטים השחורים.
4. דגמים שאינם מצוידים באור קצה כנף:
a. איור 8 אתר את החיווט של אור קצה הכנף (2).
b. חתוך את החוטים במרחק 5.08 ס"מ (2) מהמחבר.
c. חשוף מקטע באורך 9.5 מ"מ מהבידוד בקצוות רתמת הערכה וחיווט הרכב.
d. איור 9 הכנס את החוט בצבע כתום-לבן משלב 4b לתוך קצה אחד של מחבר השזירה האטום.
e. איור 9 הכנס את החוט האדום מרתמת המתאם לקצה השני של מחבר השזירה האטום.
f. חזור על הנוהל עם החוטים השחורים.
דגמי ROAD KING מהשנים 2008 - 2013:
1. התאם את צבע מחבר השזירה האטום לצבע של שקע האיחוי בכלי האיחוי.
a. אחה את החוטים לתוך המחבר.
2. חזור על כל הנהלים המפורטים לעיל גם בצד הנגדי.
אזהרה
הקפד למלא אחר הוראות היצרן בעת השימוש ב-UltraTorch UT-100 או בכל מכשיר מקרין חום אחר. אי ציות להוראות היצרן עלול לגרום לשריפה, וכתוצאה מכך לגרום למוות או פגיעה חמורה. (00335a)
3. בעזרת אקדח חום Ultratorch UT-100 עם חיבור מסוג Heatshrink או מכשיר חימום מתאים אחר, חמם את נקודת איחוי השזירה בלחיצה כדי לבצע עיטוף של חיבור השזירה האטום.
a. הקרן חום ממרכז האיחוי כלפי חוץ לכל אחד מהקצוות עד שהאטם נמס ויוצא החוצה משני קצוות המחבר.
4. חבר את מחצית המחבר החשמלי מידית הכידון השמאלית לרתמת מחבר ידית הכידון (3).
5. איור 8 חבר את מחצית מחבר TGS מידית הכידון הימנית למחצית מחבר הרתמה (1).
6. חבר את מחצית מחבר הביניים מידית הכידון השמאלית למחצית מחבר הביניים מידית הכידון בצד ימין.
7. התקן את הפנס הראשי. עיין במדריך הטיפולים.
1מחבר רתמת קישור לחיווט TGS
2מחבר רתמת קישור לחיווט של אור קצה הכנף
איור 8. חיווט פנס ראשי בדגם Road King
1קצוות החוטים החשופים מוכנסים לתוך המחבר
2איחוי של קצוות החוטים במחבר
3המחבר לאחר חימום
איור 9. חיבורי שזירה אטומים
דגמי TOURING משנת 2014 ואילך (למעט Road King ו-FLTRU)
1. הסר את המעטפת החיצונית.
2. אתר את מחבר הביניים של ידית הכידון המחוממת [206]. עיין במדריך הטיפולים.
3. איור 10 חבר את מחבר הביניים של ידית הכידון המחוממת (1) אל ידית הכידון השמאלית.
4. אתר את המחבר חשמלי של ידית הכידון המחוממת [189B]. עיין במדריך הטיפולים.
5. איור 10 חבר את חוט הזנת המתח/הארקה של ידית הכידון המחוממת (2) מידית הכידון השמאלית.
6. אבטח בעזרת אזיקונים.
הערה
הערכה כוללת מגשרים אם יש צורך בהארכה נוספת לחוטים.
דגמי ROAD KING ו-FLTRU משנת 2014 ואילך, דגמי SOFTAILו-DYNA FXDLS משנת 2016 ואילך
1. הסר את מיכל הדלק ואת המושב (כיסויי צד בדגמי Touring ו-Dyna). עיין במדריך הטיפולים.
2. אתר את מחבר הביניים של ידית הכידון המחוממת [206]. עיין במדריך הטיפולים.
3. איור 10 חבר את מחבר הביניים של ידית הכידון המחוממת (1) אל ידית הכידון השמאלית.
4. חבר מגשר (3), 20 אינץ' בצבע אדום-שחור, מהערכה למחבר הזנת המתח/הארקה (2) של ידית הכידון השמאלית.
הערה
הערכה כוללת מגשרים אם יש צורך בהארכה נוספת לחוטים.
5. דגמי Softail משנת 2018 ואילך:
a. התקן את 69201750 לפי ההוראות באותה ערכה.
הערה
ייתכן שחלק מהדגמים מצוידים במשקולת שיכוך שצריך להסיר מתוך צד שמאל של ידית הכידון.
b. איור 10 חבר את המחבר ל-2 פינים מידית הכידון המחוממת (2) אל המחבר ל-2 פינים של 69201750 מאחורי הפנס הראשי.
c. הוסף מגשר (3) אם צריך הארכה נוספת.
d. המשך לשלב 10.
6. אתר את ערכת החיבורים החשמליים לפי הדגם והשנה, שים את המחבר במקומו והעבר את הרתמה. אל תבצע איחוי.
7. חתוך את המגשר (4) לאורך המספיק כדי לאחות אותו לערכה (6).
8. חשוף את החוטים ובצע איחוי לרתמת החיבורים החשמליים (7).
a. שחור לשחור (כולם)
b. Dyna ודגמי Softail מהשנים 2016 - 2017: אדום אל אדום-צהוב (72673-11)
c. דגמי Touring משנת 2014 ואילך: אדום אל סגול-כחול (69200722 או 69201599A)
9. אבטח בעזרת אזיקונים.
10. סיים את ההתקנה של ערכת החיבורים החשמליים (6) לפי ההוראות בערכה.
11. התקן את המושב. לאחר התקנת המושב, משוך אותו כלפי מעלה כדי לוודא שהוא מאובטח. עיין במדריך הטיפולים.
12. התקן את מיכל הדלק. עיין במדריך הטיפולים.
1מחבר ידית כידון מחוממת (הכנס את המגשר 69201809 במידת הצורך)
2מחבר הזנת מתח/ארקה
3מגשר 69201808 (Softail‏, Dyna‏, Road King ו-FLTRU)
4רתמת מתאם 69200232
5מחבר ידית כידון מחוממת [C189B]
6ערכת חיבורים חשמליים: (כל שחור לשחור) 69200722, 69201599A סגול-כחול אל אדום, 72673-11 אדום-צהוב לאדום, 69201750 יש להשתמש במחבר
7רתמת החיווט של הרכב
8מחבר חיישן הידית המסתובבת
9חיישן ידית פיתול
10ידית אחיזה, שמאל
11ידית אחיזה, ימין
איור 10. חיבורים חשמליים
לחזור לשירות
הערה
אין לבצע את השלבים הבאים עד שידיות הכידון המחוממות וכל החיווט הקשור הותקנו בהתאם לנהלים שפורטו בגיליון הוראות זה.
1. ודא כי הידית הימנית/שרוול המצערת מסתובבים וחוזרים בחופשיות ואינם נתקעים על הכידון או תושבת המתג.
a. אין להפעיל את הרכב אלא אם כן המצערת מתפקדת כראוי.
2. לפני התנעת הרכב, בדוק שהידיות לא מפיקות חום.
הערה
הפעל וכבה את ידיות הכידון המחוממות לאחר התנעה כדי למנוע את פריקת המצבר. הידיות מפיקות את שיא החום כאשר המנוע פועל במהירות שיוט.
דרגות החימום בבורר ידיות הכידון המחוממות נעות בין 1 (מינימום) ל-6 (מקסימום).
3. התנע את המנוע ובדוק שהחימום של ידיות הכידון פועל כהלכה בכל דרגות החימום.
a. ודא שלא מתבצע חימום של ידיות הכידון במצב מנותק.