KIT GAGANG SETANG BERPEMANAS
J052962024-01-24
INFORMASI UMUM
Tabel 1. Informasi Umum
Kit
Alat-alat yang Disarankan
Level Keahlian(1)
56100034, 56100318, 56100331, 56100342, 56100436, 56100437, 56100438, 56100568, 56100569
Kaca Mata Pelindung, Kunci Torsi, Pistol Pemanas, Alat Krimping
(1) Perlu mengencangkan hingga nilai torsi atau peralatan dan teknik lain yang memadai
ISI KIT
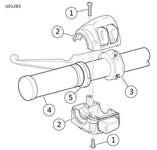
Gambar 1. Isi Kit: Gagang Setang Berpemanas
Tabel 2. Isi Kit: Kit Gagang Setang Berpemanas
Pastikan semua isi kit lengkap sebelum memasang atau melepaskan item dari kendaraan.
Item
Jumlah
Deskripsi
No. Komponen
Catatan
1
1
Gagang setang berpemanas, kiri
56209-10
Kit 56100034
56100325
Kit 56100318
56100338
Kit 56100331
56100316
Kit 56100342
56100430
Kit 56100436, Krom
56100431
Kit 56100437, Hitam
56100432
Kit 56100438, Edge
56100572
Kit 56100568
56100573
Kit 56100569
2
1
Gagang setang berpemanas, kanan
56249-10
Kit 56100034
56100326
Kit 56100318
56100339
Kit 56100331
56100317
Kit 56100342
56100433
Kit 56100436, Krom
56100434
Kit 56100437, Hitam
56100435
Kit 56100438, Edge
56100570
Kit 56100568
56100573
Kit 56100569
3
1
Tutup gagang setang berpemanas,.kanan
56250-10
Kit 56100034
56100329
Kit 56100318
56100337
Kit 56100331
56100168
Kit 56100342
56100472
Kit 56100436, Krom
56100471
Kit 56100437, Hitam
56100470
Kit 56100438, Edge
56100598
Kit 56100568
56100599
Kit 56100569
4
1
Harnes adaptor
69200232
Umum untuk semua kit
5
2
Konektor penghubung
70586-93
6
1
Jumper interkoneksi, hitam/putih, 14 inci
62901809
7
1
Jumper Daya/Arde, merah/hitam, 20 inci
69201808
UMUM
Model
Untuk informasi kesesuaian model, baca Katalog Retail Komponen dan Aksesori (P&A) atau bagian Komponen dan Aksesori dari www.harley-davidson.com .
Pastikan Anda menggunakan lembar instruksi versi terkini. Tersedia di: h-d.com/isheets
Hubungi Pusat Dukungan Pelanggan Harley-Davidson di 1-800-258-2464 (khusus AS) atau 1-414-343-4056.
Persyaratan Pemasangan
Model 2008 dan 2009 memerlukan pembelian komponen tambahan:
  • Harnes jumper 70415-08A (1) sensor tuas gas (STG)
  • Konektor 72902-01BK (1)
  • Pin terminal 72990-01 (2)
Kit Sambungan Listrik Berdasarkan Tahun dan Model:
  • Model Road King 2014 - 2016 memerlukan pembelian terpisah dari 69200722
  • Model Road King dan FLTRU 2017 dan yang lebih baru memerlukan pembelian kit 69201599A secara terpisah
  • Model Softail 2016 dan 2017 dan Dyna membutuhkan pembelian 72673-11 secara terpisah
  • Model Softail 2018 dan yang lebih baru membutuhkan pembelian 69201750 secara terpisah
PERINGATAN
Keselamatan pengendara dan penumpang bergantung pada pemasangan kit yang benar. Gunakan prosedur manual servis yang benar. Jika Anda tidak mampu menjalankan prosedur ini atau tidak memiliki alat yang tepat, mintalah dealer Harley-Davidson untuk melakukan pemasangan. Pemasangan yang salah terkait perangkat ini dapat menyebabkan kematian atau cedera parah. (00333b)
CATATAN
Lembar instruksi ini merujuk pada informasi manual servis. Manual servis tahun sepeda motor dan model sepeda motor dibutuhkan untuk pemasangan ini dan tersedia dari:
  • Dealer Harley-Davidson.
  • Portal Informasi Layanan H-D, akses berbasis langganan untuk sebagian besar model mulai tahun 2001 dan yang lebih baru. Lihat Pertanyaan Umum tentang Berlangganan untuk informasi lebih lanjut.
PERINGATAN
Saat memasang setiap aksesori kelistrikan, pastikan tidak melebihi nilai ampere maksimum pada sekring agar dapat melindungi sirkuit yang sedang diperbaiki. Jika menggunakan ampere maksimum di luar batas yang ditetapkan, kegagalan kelistrikan akan terjadi, yang dapat mengakibatkan kematian atau cedera parah. (00310a)
PEMBERITAHUAN
Menambahkan terlalu banyak aksesori listrik dapat membebani sistem pengisian daya kendaraan Anda. Jika gabungan aksesori elektrik yang beroperasi bersamaan menggunakan arus listrik yang lebih besar daripada yang dapat dihasilkan oleh sistem pengisian daya kendaraan, konsumsi listrik tersebut dapat menghabiskan daya baterai dan menyebabkan kerusakan pada sistem kelistrikan kendaraan. (00211d)
Kit Gagang Setang Berpemanas membutuhkan arus tambahan hingga 3,5 Amp dari sistem kelistrikan.
GAGANG SETANG BERPEMANAS
PELEPASAN
PERINGATAN
Untuk mencegah starter kendaraan tiba-tiba, yang dapat menyebabkan kematian atau cedera parah, lepas sekring utama sebelum melakukan pemasangan lampu depan. (00251b)
PEMBERITAHUAN
Jangan melepas atau memasang unit silinder master tanpa menempatkan terlebih dahulu insert dengan tebal 5/32 inci (4 mm) di antara tuas rem dan braket tuas. Melepas atau memasang unit silinder master tanpa insert terpasang dapat menyebabkan kerusakan pada rumahan lampu karet dan plunyer pada sakelar lampu stop depan. (00324a)
1. Lepaskan gagang setang. Lihat manual servis.
CATATAN
Sensor tuas gas di sisi kanan setang dilengkapi tutup segel yang melindungi elektrode internal dari debu dan kelembapan, dan juga berfungsi sebagai alat penahan untuk gagang gas.
Untuk melepaskan pegangan setang, mungkin diperlukan sedikit tarikan untuk melepaskan pin indeks di gagang setang dari penyangga di tutup segel.
Saat melepas gagang setang, periksa lokasi tutup segel.
Jika masih terpasang pada pin indeks di dalam gagang gas yang lama, tutup segel dapat dilepas bersama dengan gagang.
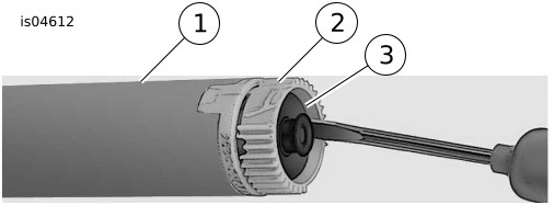
Jika tutup segel masih terpasang di ujung sensor tuas gas:
  • Gambar 2 Sisipkan obeng kecil atau alat cungkil lain dengan bilah datar (minus) ke dalam celah di satu sisi tutup segel.
  • Tekan kaki pada sisi bawah tutup untuk melepaskannya dari slot di ujung gagang puntir gas. Cungkil tutup di satu sisi.
  • Ulangi di sisi tutup.
  • Lepaskan tutup dengan hati-hati dan buang.
2. Model 2008 dan 2009: Lepas sensor gagang puntir gas (TGS) dan harnes jumper TGS. Lihat manual servis.
CATATAN
Sebelum melepas sensor tuas gas, pasang kabel pelacak ke harnes jumper.
3. Gambar 3 Lepas harnes jumper TGS dari TGS dan harnes utama. Buang harnes jumper bawaan (2).
4. Gambar 4 Pasang harnes jumper TGS baru ke TGS.
a. Sambungkan konektor (3) ke harnes STG.
b. Sambungkan konektor (4) ke konektor gagang setang berpemanas.
1Setang
2Sensor tuas gas
3Tutup segel
Gambar 2. Lepas Tutup Segel
1Selang susut panas
2Harnes jumper bawaan 2008-2009
Gambar 3. STG dan Harnes 2008 dan 2009
1Konektor harnes utama STG
2Konektor gagang setang berpemanas kanan (ke gagang setang kiri)
3Ke STG
4Ke kabel gagang setang berpemanas STG
Gambar 4. Harnes Jumper TGS
PASANG
CATATAN
Saat membuat jalur dan menutup Modul Kontrol Tangan Kanan dan Kiri (R&LHCMs), pastikan tidak ada kabel yang terjepit. Lihat manual servis.
CATATAN
Jika kabel pelacak tidak digunakan, tekanan udara atau penarik kabel untuk kabel listrik dapat digunakan untuk mengulur harnes kabel sepenuhnya melalui setang.
1. Model 2008 dan 2009: Masukkan harnes kabel sensor gagang puntir gas ke dalam sisi kanan setang.
a. Saat memasukkan kabel ke dalam setang, tarik perlahan konektor di ujung harnes jumper untuk menarik keluar sensor gagang puntir gas dari bagian tengah setang.
b. Sesuaikan tab indeks pada sensor gagang puntir gas ke dalam slot di setang. Satu tab indeks dan satu slot berukuran lebih kecil dari yang lainnya untuk mencegah perakitan yang salah.
2. SEMUA MODEL: Ulurkan harnes kabel gagang berpemanas sisi kiri sepenuhnya hingga melewati dan keluar dari tengah setang.
CATATAN
Saat memasang Modul Kontrol Tangan Kanan (RHCM), pastikan setelan gas sudah diatur dengan benar. Lihat manual servis.
a. Beberapa model mungkin memerlukan jumper tambahan untuk menjangkau dari gagang tangan kiri ke konektor yang sesuai pada sensor gagang puntir gas (tergantung pada tinggi setang, model dan tahun kendaraan).
b. Gambar 1 Ini 14 inci jumper dengan kabel hitam/putih disediakan dalam kit.
3. Gambar 5 Posisikan gagang setang berpemanas sisi kiri (4) agar porsi diameter yang lebih besar dari flensa (5) berada di bagian bawah. Dorong pegangan sepenuhnya ke setang.
CATATAN
  • Pastikan permukaan setang mulus, kering, dan benar-benar bersih dari kotoran.
  • Sebelum menarik kabel melalui setang, ukur kabel di sepanjang sisi setang untuk menentukan apakah diperlukan perpanjangan. Jika diperlukan perpanjangan TAMBAHAN , lihat daftar komponen.
  • Untuk setang dengan kabel dalam, seperti chizeled atau model dengan lampu sein yang dipasang pada setang, konektor gagang berpemanas mungkin perlu dilepas.
  • Foto semua konektor terlebih dahulu sebelum melepasnya agar mudah dipasang kembali.
  • Agar kabel mudah ditarik, semprotkan atau usapkan air sabun.
4. Lihat Gambar 5 yang menunjukkan pemasangan sakelar sisi kiri yang serupa. Posisikan rumahan sakelar bawah di bawah gagang setang sehingga alur (2) di sisi luar rumahan sakelar pas dengan flensa di ujung gagang setang.
5. Posisikan rumahan sakelar atas di atas setang dan rumah sakelar bawah.
6. Putar masuk sedikit sekrup rumahan sakelar atas dan bawah, tapi jangan dikencangkan.
a. Periksa apakah saluran harnes kabel melewati lubang di bagian bawah setang.
7. Posisikan rakitan tuas tangan kopling di dalam rakitan rumah sakelar, pasang tab pada rumah sakelar bawah dalam alur di bagian bawah braket tuas kopling.
8. Sejajarkan lubang di klem setang dengan lubang di braket tuas kopling dan pasang baut bawah dan cincin pipih.
a. Sesuaikan rumah sakelar dan posisi kontrol kopling manual untuk kenyamanan pengendara.
9. Kencangkan sekrup klem setang atas terlebih dahulu, lalu lanjutkan sekrup bawah menggunakan kepala obeng T-27 TORX. Kencangkan.
Torque: 6,8–9 N·m (60–80 in-lbs)
10. Kencangkan sekrup rumah sakelar bawah terlebih dahulu, lalu lanjutkan dengan sekrup atas menggunakan kepala obeng T-25 TORX. Kencangkan.
Torque: 4–5,4 N·m (35–48 in-lbs)
11. Ambil gagang gas berpemanas kanan yang baru (2) dari kit.
CATATAN
Saat memasang RHCM, pastikan setelan gas sudah diatur dengan benar. Lihat manual servis.
12. Terdapat sumbat plastik bundar terselip di dalam ujung sisi luar gagang gas dan dua terminal pin di sisi lainnya.
a. Tarik sumbat keluar dengan hati-hati dari gagang setang melalui bukaan sisi luar.
13. Geser gagang setang berpemanas yang baru melewati ujung setang.
CATATAN
Pastikan permukaan setang dan bagian dalam gagang gas yang baru mulus, kering, dan sepenuhnya bersih dari segala macam kotoran.
a. Putar gagang untuk memastikan splin internal sudah terkait pada sensor gagang puntir gas.
14. Posisikan rumahan sakelar bawah di bawah gagang setang sehingga alur (2) di sisi luar rumahan sakelar pas dengan flensa di ujung gagang setang.
15. Posisikan rumahan sakelar atas di atas setang dan rumah sakelar bawah.
16. Posisikan sekrup rumah sakelar atas dan bawah, tetapi jangan kencangkan.
a. Periksa apakah saluran harnes kabel melewati lubang di bagian bawah setang.
17. Tempatkan bagian dalam rumah silinder master rem di sisi dalam unit rumah sakelar, pasang tab rumah sakelar bawah ke alur pada bagian bawah rumah silinder master.
18. Sejajarkan lubang di klem setang dengan lubang di rumah silinder master dan pasang sekrup bawah dan cincin pipih.
a. Sesuaikan rumah sakelar dan posisi kontrol tangan rem untuk kenyamanan pengendara.
19. Kencangkan sekrup klem setang atas terlebih dahulu, lalu lanjutkan sekrup bawah menggunakan kepala obeng T-27 TORX. Kencangkan.
Torque: 6,8–9 N·m (60–80 in-lbs)
20. Kencangkan sekrup rumah sakelar bawah terlebih dahulu, lalu lanjutkan dengan sekrup atas menggunakan kepala obeng T-25 TORX. Kencangkan.
Torque: 4–5,4 N·m (35–48 in-lbs)
CATATAN
Jangan menarik rumah sakelar terlalu jauh ke dalam untuk menghindari menyebabkan gagang gas macet atau menarik setang. Fungsikan gagang gas untuk memastikannya dapat kembali ke posisi idle dengan lancar.
PERINGATAN
Sebelum menyalakan mesin, pastikan kontrol gas dapat kembali ke posisi idle saat dilepas. Kontrol gas yang menghambat mesin untuk kembali ke posisi idle secara otomatis dapat mengakibatkan sepeda motor kehilangan kontrol, yang dapat menyebabkan kematian dan cedera parah. (00390a)
21. Pastikan pegangan setang kanan/selongsong gas berputar dan berbalik dengan lancar serta tidak macet pada pegangan setang atau rumahan sakelar.
22. Dengan tang ujung lancip atau alat serupa, pegang sumbat plastik bundar dengan hati-hati di ujung sisi luar gagang gas.
CATATAN
Soket terminal di sensor gagang puntir gas sudah diseimbangkan di satu sisi, dan pin hanya dapat dimasukkan dari satu arah.
a. Masukkan steker kembali melalui lubang di gagang setang, dan masukkan pin terminal ke dalam soket di ujung sensor gagang puntir gas, pasang kedua kaki steker ke lubang di sensor gagang puntir gas.
b. Tekan sumbat plastik dengan kuat untuk memastikan pin sepenuhnya terpasang di dalam soket.
23. Pasang tutup ujung ke ujung gagang gas
1Sekrup rumahan sakelar (2)
2Alur
3Klem setang
4Gagang setang kiri
5Porsi diamater flensa yang lebih besar
Gambar 5. Rumahan Sakelar Setang Kiri
Sambungan ke Jaringan Kabel Kendaraan
CATATAN
  • Pastikan gagang setang berpemanas dipasang dengan benar. Pemasangan yang salah akan menghasilkan panas yang berlebihan.
  • Kendaraan mungkin memiliki konektor daya hijau atau hitam tergantung pada tahun produksi.
  • Pegangan kiri dan harnes jumper mungkin memiliki konektor hijau atau hitam, tergantung pada tahun produksi.
MODEL FLH 2008 - 2013
1. Lepas fairing luar. Lihat manual servis.
2. Gambar 6 Sambungkan setengah dari konektor daya gagang setang kiri ke konektor daya gagang setang (3).
CATATAN
Gambar 6 Konektor daya gagang setang (3) memiliki tutup yang harus dilepas sebelum menghubungkannya ke kabel kendaraan.
3. Sambungkan (1) ke konektor gagang setang kiri.
4. Hanya Model 2008 dan 2009:
a. Lepaskan kabel dari belakang pemantik rokok. Ambil rakitan harnes dari kit. Sambungkan terminal dari harnes ke pemantik rokok.
b. Pastikan warna kabel cocok sebelum membuat sambungan. Pasang kabel yang dilepas dari pemantik pada langkah sebelumnya ke tab harnes.
c. Sambungkan konektor harnes utama STG dari harnes jumper ke konektor (2).
5. Sambungkan setengah dari konektor gagang setang berpemanas kiri ke konektor interkoneksi gagang setang berpemanas sisi kanan (1).
CATATAN
Pada langkah berikutnya, pastikan untuk mencocokkan warna kabel sebelum membuat penyambungan.
6. Pasang fairing luar. Lihat manual servis.
1Konektor interkoneksi
2Konektor harnes jumper sensor tuas gas
3Konektor daya gagang setang berpemanas
Gambar 6. Kabel Fairing (Model FLH)
MODEL FLTR 2008 - 2013
1. Lepas fairing luar. Lihat manual servis.
2. Lepaskan kabel dari belakang pemantik rokok.
a. Ambil rakitan harnes dari kit.
b. Sambungkan terminal dari harnes ke pemantik rokok.
3. Pasang kabel yang dilepas dari pemantik pada langkah sebelumnya ke tab harnes.
CATATAN
Pada langkah berikutnya, pastikan untuk mencocokkan warna kabel sebelum membuat penyambungan.
4. > Gambar 7 Sambungkan setengah konektor TGS dari gagang setang kanan ke setengah konektor harnes.
5. Sambungkan setengah dari konektor interkoneksi dari gagang setang kiri ke setengah konektor interkoneksi dari gagang setang kanan
CATATAN
Pada langkah berikutnya, pastikan untuk mencocokkan warna kabel sebelum membuat penyambungan.
6. Pasang fairing luar. Lihat manual servis.
1Konektor interkoneksi
2Konektor harnes jumper sensor tuas gas
3Konektor daya gagang setang berpemanas
Gambar 7. Konektor Harnes Jumper Sensor Tuas Gas (Model FLTR)
MODEL ROAD KING 2008 - 2013
CATATAN
Pastikan warna kabel cocok sebelum membuat sambungan.
1. Gambar 1 Ambil unit harnes dari kit. Potong dua terminal garpu dari harnes.
2. Lepas unit lampu depan. Lihat manual servis.
3. Model dengan lampu di ujung sepatbor:
a. Gambar 8 Cari kabel lampu ujung sepatbor.
b. Gambar 1 Sambungkan kabel lampu ujung sepatbor di dekat konektor menggunakan dua konektor sambungan (5) yang disediakan dalam kit.
c. Potong kabel oranye/putih dan kabel hitam sekitar 2,52 cm (1 inci) dari konektor.
d. Lepaskan bagian insulasi 9,5 mm (3/8 inci) dari ujung harnes kit dan kabel kendaraan.
e. Gambar 9 Dari ujung yang dipotong, masukkan kabel oranye/putih ke salah satu ujung konektor sambungan. Di ujung konektor sambungan yang lain, masukkan kabel oranye/putih lainnya dengan kabel merah dari harnes adaptor.
f. Ulangi prosedur untuk kabel hitam.
4. Model tanpa lampu di ujung sepatbor:
a. Gambar 8 Cari kabel lampu ujung sepatbor (2).
b. Potong kabel 5,08 cm (2 inci) dari konektor.
c. Lepaskan bagian insulasi 9,5 mm (3/8 inci) dari ujung harnes kit dan kabel kendaraan.
d. Gambar 9 Masukkan kabel oranye/putih dari langkah 4b ke salah satu ujung konektor sambungan yang disegel.
e. Gambar 9 Masukkan kabel merah dari harnes adaptor ke ujung lain dari konektor sambungan yang disegel.
f. Ulangi prosedur untuk kabel hitam.
MODEL ROAD KING 2008 - 2013:
1. Cocokkan warna konektor sambungan yang disegel dengan warna rongga krimping pada alat krimping.
a. Krimping kabel ke dalam konektor.
2. Ulangi semua prosedur di atas pada sisi sebelahnya.
PERINGATAN
Pastikan untuk mengikuti instruksi pabrik saat menggunakan UltraTorch UT-100 atau perangkat pemanas radian lainnya. Kelalaian mengikuti instruksi pabrik dapat mengakibatkan kebakaran, yang dapat menyebabkan kematian atau cedera parah. (00335a)
3. Menggunakan Pistol Pemanas UltraTorch dengan Alat Pemanas Kabel, atau alat pemanas lainnya yang sesuai, panaskan sambungan krimping untuk membungkus koneksi sambungan tertutup.
a. Panaskan mulai dari tengah krimping ke arah ujung sampai sealant meleleh keluar dari kedua ujung konektor.
4. Sambungkan setengah dari konektor daya gagang setang kiri ke setengah konektor harnes.
5. Gambar 8 Sambungkan setengah konektor TGS dari gagang setang kanan ke setengah konektor harnes (1).
6. Sambungkan setengah dari konektor interkoneksi dari gagang setang kiri ke setengah konektor interkoneksi dari gagang setang kanan.
7. Pasang lampu depan. Lihat manual servis.
1Konektor harnes jumper STG
2Konektor harnes jumper lampu ujung fender bagian depan
Gambar 8. Pengabelan Lampu Depan Road King
1Ujung kawat yang dikupas dimasukkan ke dalam konektor
2Ujung kabel dikerutkan ke konektor
3Konektor setelah dipanaskan
Gambar 9. Koneksi Sambungan Tertutup
MODEL TOURING 2014 dan setelahnya (kecuali Road King dan FLTRU)
1. Lepas fairing luar.
2. Temukan interkoneksi gagang setang berpemanas [206]. Lihat manual servis.
3. Gambar 10 Sambungkan interkoneksi gagang setang berpemanas (1) ke gagang setang kiri.
4. Temukan konektor daya gagang setang berpemanas [189B]. Lihat manual servis.
5. Gambar 10 Sambungkan kabel arde/daya gagang setang berpemanas (2) dari sisi kiri dari gagang setang.
6. Kencangkan dengan pengikat kabel.
CATATAN
Kit berisi jumper jika panjang kabel tambahan diperlukan.
ROAD KING DAN FLTRU 2014 dan Setelahnya, SOFTAIL DAN DYNA FXDLS 2016 dan Setelahnya
1. Lepaskan tangki bahan bakar dan sadel (penutup samping untuk Touring dan Dyna). Lihat manual servis.
2. Temukan interkoneksi gagang setang berpemanas [206]. Lihat manual servis.
3. Gambar 10 Sambungkan interkoneksi gagang setang berpemanas (1) ke gagang setang kiri.
4. Sambungkan jumper (3), 20 inci merah/hitam, dari kit ke konektor daya/arde (2) dari gagang setang kiri.
CATATAN
Kit berisi jumper jika panjang kabel tambahan diperlukan.
5. Model Softail 2018 dan Setelahnya:
a. Pasang 69201750 sesuai petunjuk dalam kit.
CATATAN
Beberapa model mungkin dilengkapi beban penahan yang perlu dilepas di dalam sisi kiri setang.
b. Gambar 10 Pasang konektor 2 arah pada gagang setang berpemanas (2) ke konektor 2 arah pada 69201750 terletak di belakang lampu depan.
c. Tambahkan jumper (3) jika diperlukan penambahan panjang.
d. Lanjutkan ke langkah 10.
6. Temukan kit sambungan listrik berdasarkan model dan tahun, pasang konektor dan arahkan harnes. Jangan disambung.
7. Potong jumper (4) hingga cukup panjang untuk menyambung kit (6).
8. Lepaskan kabel ke belakang dan sambungkan ke harnes kabel sambungan listrik (7).
a. Hitam di atas Hitam (SEMUA)
b. Dyna dan Softail 2016 - 2017: Merah ke Merah/Kuning (72673-11)
c. Model Touring 2014 dan Setelahnya: Merah ke V/BE (69200722 atau 69201599A)
9. Kencangkan dengan pengikat kabel.
10. Selesaikan pemasangan kit sambungan listrik (6) sesuai dengan petunjuk dalam kit.
11. Pasang jok. Setelah memasang jok, pastikan jok terpasang kencang dengan menariknya ke atas. Lihat manual servis.
12. Pasang tangki bahan bakar. Lihat manual servis.
1Konektor Gagang Setang Berpemanas (masukkan jumper 69201809 jika diperlukan)
2Konektor Daya/Arde
3Jumper 69201808 (Softail, Dyna, Road King dan FLTRU)
4Harnes Adaptor 69200232
5Konektor Gagang Setang Berpemanas [C189B]
6Kit Sambungan Listrik: (Semua Htam di atas Hitam) 69200722, 69201599A V/BE di atas Merah, 72673-11 R/Y di atas Red, 69201750 menggunakan konektor
7Harnes Kendaraan
8Konektor Sensor Tuas Gas
9Sensor Gagang Puntir
10Handel, kiri
11Handel, kanan
Gambar 10. SAMBUNGAN LISTRIK
MENGEMBALIKAN UNTUK DISERVIS
CATATAN
JANGAN lakukan langkah-langkah berikut hingga gagang setang berpemanas beserta seluruh rangkaian kabel telah terpasang sesuai dengan prosedur yang diuraikan dalam lembar instruksi ini.
1. Pastikan gagang setang/selongsong gas sisi kanan berputar dan berbalik dengan lancar serta tidak macet pada rumahan setang atau sakelar.
a. JANGAN operasikan kendaraan kecuali gasnya beroperasi dengan benar.
2. Sebelum menyalakan kendaraan, pastikan gagang setang tidak menghasilkan panas.
CATATAN
Hidupkan/matikan gagang setang berpemanas dengan kunci kontak untuk mencegah baterai terkuras. Gagang setang mencapai panas maksimum saat mesin menyala saat kecepatan berkendara.
Rentang pengaturan panas pada kenop kontrol gagang setang berpemanas adalah 1 (minimum) hingga 6 (maksimum).
3. Nyalakan mesin dan periksa semua pengaturan gagang setang untuk mendapatkan panas yang sesuai.
a. Pastikan gagang setang tidak menghasilkan panas dalam pengaturan posisi mati.