FLD WINDSHIELD KIT
J054242017-08-22
概要
キット番号
57400120
モデル
モデルの備品に関する情報は、最新の純正P&Aカタログをご参照ください。または、最寄りのハーレーダビッドソン ジャパン正規販売網店にお問い合わせください。
取り付け要件
警告
ライダーおよびパッセンジャーの安全を守るため、キットは正しく装着してください。 自分で作業を行うことが難しい場合、または適切な工具を持っていない場合は、最寄りのハーレーダビッドソン正規販売網店に取り付けを依頼してください。 本キットを正しく取り付けないと死亡したり重傷を負うおそれがあります。 (00308b)
注記
お持ちのモデル用サービスマニュアルは、ハーレーダビッドソン ジャパン正規販売網店で入手することができます。
キット内容
図1」および「表1」を参照してください。
取り付け
  1. ボトムノッチがロアグロメットにはまるまでサイドブラケットを慎重に挿入し、ウィンドシールドを所定の位置に下ろします。
  2. 注記
    各ブラケットのノッチが、ゴムのグロメットにしっかりと固定されていることを確認してください。
  3. 車体の前方から、アッパーノッチがアッパーグロメットにしっかりとはまる位置まで、ウィンドシールドの上部を車体後方に向けて押します。
  4. ラバーグロメットの上にスプリングが張り出すところまで、線細工ラッチスプリングを押し下げます。
注記
ファスナーを緩めてラッチスプリングを正しい位置まで回します。
手入れと清浄
ご注意
ポリカーボネート製ウィンドスクリーン/ウィンドシールドには注意を払い、適切に手入れをする必要があります。 ポリカーボネートを適切に手入れしない場合、ウィンドシールド/ウィンドデフレクターが損傷する恐れがあります。 (00483e)
  • ウィンドスクリーン/ウィンドシールドにベンジン、塗装用シンナー、ガソリン、または他の強力なクリーナーを使用しないでください。 表面が損傷します。
  • 日差しが強い、または温度の高い環境で洗車しないでください。
  • 粉末、研磨剤入り、またはアルカリ性クレンザーを使用するとウィンドシールドが損傷します。
  • ウィンドシールド内側の屈曲によって、太陽光がバイクの特定部分に集中して非常に高温になることがあります。 駐車時は注意してください。 太陽に向けて駐車するか、半透明素材を計器にかぶせるか、またはウィンドシールドを反射しないように調整してください。
  • ラバーブッシングには、ベンジン、塗装用シンナー、ガソリン、またはその他の洗浄剤を使用しないでください。 ブッシュの表面が損傷します。
注記
ウィンドシールドにあらかじめ濡らしたきれいな布を15 分間程度かぶせておくと、洗浄時にこびり付いた虫を簡単に取り除くことができます。
ハーレーダビッドソンウィンドシールド撥水加工処理(部品番号99841-01)は、ハーレーダビッドソンのポリカーボネート製ウィンドシールド用として承認されています。
交換用パーツ
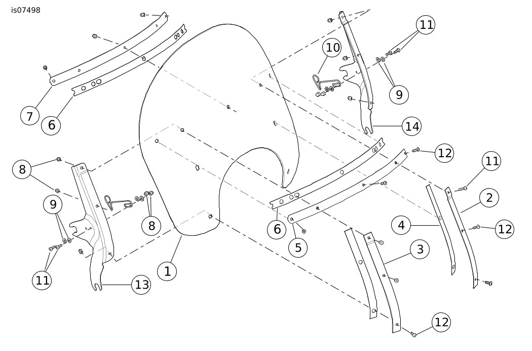
図1。 交換用パーツ: FLDウィンドシールドキット
表1。 交換用パーツ表
アイテム
詳細(数量)
部品番号
1
ウィンドシールド、クリア(留め具テープを含む)
57400124
2
アウター、LH、垂直ブレース
57400072
3
アウター、RH、垂直ブレース
57400073
4
アウター垂直ブレース用テープ(2)
57400085
5
アウター垂直ブレース
57400071
6
水平ブレーステープ(2)
58416-77A
7
インナー水平ブレース
57400070
8
エイコーンナット(13)
7651A
9
平ワッシャー(8)
6119
10
スプリングラッチ(2)
38722-94
11
パンヘッドトルクススクリュー(6)
2452
12
パンヘッドトルクススクリュー(7)
2921A
13
右ブラケット
57673-12
14
左ブラケット
57672-12