КОМПЛЕКТИ РАЗКАЧАЩО СЕ ПРЕДНО СТЪКЛО
J045012021-04-27
ОБЩИ
Номер на комплект
58158-08 и 57838-08
Модели
За информация за съвместимост на моделите, моля вижте каталога за части и аксесоари или раздела „Части и аксесоари“ на www.harley-davidson.com (само на английски).
Таблица 1. Комплекти
Комплект №
Описание
58158-08
Предно стъкло Touring
57838-08
Предно стъкло Super Sport
Съдържание на комплекта
Вижте Figure 13 и Table 2 или Figure 14 и Table 3 .
МОНТАЖ
ПРЕДУПРЕЖДЕНИЕ
Безопасността на водача и пътника зависи от правилното поставяне на този комплект. Ако сметнете, че не можете да извършите процедурата или не разполагате с правилните инструменти, свържете се с дилър на Harley-Davidson да извърши инсталирането. Неправилното поставяне на този комплект би могло да предизвика смърт или сериозно нараняване. (00308b)
ПРЕДУПРЕЖДЕНИЕ
За да не допуснете случайно стартиране на мотоциклета, което от своя страна би могло да доведе до смърт или сериозно нараняване, разкачете кабела за отрицателния полюс (-) на акумулатора, преди да продължите. (00048a)
NOTE
Покрийте предния калник броня и предната част на резервоара за гориво с чисти кърпи за предотвратяване на надраскване. Може да се получи повреждане на покритието.
Преместете кабела на съединителя
Само за модели XL Custom или FXLR: Преместете кабела на съединителя, който в момента е вмъкнат зад скобата на горната вилка, пред кормилото, както следва:
  1. Преместете кабела съединителя от първоначалното му положение в задната лява страна на горната вилка. Регулирайте излишната част, както над, така и под вилката, до най-добра позиция на кабела.
  2. Ако е необходимо, променете позицията на връзките на кабела на съединителя, свързани към долната тръба на рамата, за да може кабелът на съединителя да се движи свободно, когато кормилото се завърта с пълен ляв и десен ход на вилките. За да потвърдите това, завъртете кормилото няколко пъти.
За всички модели, с изключение на XL Custom или FXLR: Преместете кабела на съединителя към вътрешността на кормилото, както следва:
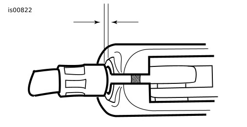
1. Вижте Figure 1 . Плъзнете навън гумения маншон (1) от регулиращия кабел на съединителя (2). Регулаторът се намира на около половината по дължината на кабела на съединителя от предната долна тръба на рамата.
1Гумен маншон
2Регулатора на кабела
3Контрагайка
4Край на кабела
Фигура 1. Регулатор на кабела на съединителя
2. Задръжте регулатора на кабела с 1/2 in. гаечен ключ, разхлабете глухата гайка (3) с 9/16 in. гаечен ключ. Извадете глухата гайка от регулатора на кабела. Преместете регулатора към глухата гайка, за да позволите на кормилото да се движи свободно.
3. Свалете задържащия пръстен от канала на шарнирния щифт в долната част на скобата на лоста на съединителя и извадете шарнирния щифт.
4. Извадете лоста на съединителя от конзолата. Ако е необходимо, използвайте задвижваща глава T27 Torx ® , за да отстраните двата винта с плоски шайби, които задържат скобата на лоста на съединителя към скобата на кормилото.
5. Вижте Figure 2 . Пренасочете кабела на съединителя към вътрешността на кормилото.
Фигура 2. Прекарване на нов кабел на съединителя
6. Поставете лоста на съединителя в жлеба на скобата на лоста, с монтиращата втулка в края на корпуса на кабела, в отвора на вътрешната страна на скобата.
7. Ако се отстрани, закрепете скобата на съединителя към скобата на кормилото с Torx ® винтове. Започвайки от горния винт, затегнете до 60-80 in-lbs (6,8-9,0 Nm).
8. Вижте Figure 1 . Завъртете регулатора на кабелите далеч от глухата гайка, докато не се отстрани луфта в ръчния лост. Издърпайте накрайника на кабела на съединителя от скоба на лоста за съединителя, за да се измери свободния ход.
9. Вижте Figure 3 . Задръжте регулатора с 1/2 in. гаечен ключ и използвайте 9/16 in. гаечен ключ, за да затегнете глухата гайка срещу регулатора на кабела. Покрийте механизма за регулиране на кабела с гумен маншон.
10. Ако е необходимо, променете позицията на връзките на кабела на съединителя, свързани към долната тръба на рамата, за да може кабелът на съединителя да се движи свободно, когато кормилото се завърта с пълен ляв и десен ход на вилките. За да потвърдите това, завъртете кормилото няколко пъти.
Фигура 3. Свободен ход на кабела на съединителя, 1/16-1/8 in. (1,6-3,2 mm)
ПРЕДУПРЕЖДЕНИЕ
След преместване на жилото на съединителя проверете дали лостът за съединителя се отваря и затваря гладко, когато кормилото е завъртяно докрай наляво или надясно. Забавената реакция на лоста за съединителя би могла да причини загуба на управление и смърт или сериозно нараняване. (00424d)
ПРЕДУПРЕЖДЕНИЕ
Уверете се, че кормилото се върти гладко и без пречки. Затрудненото движение на кормилото може да доведе до загуба на управление и смърт или сериозно нараняване. (00371a)
  • Уверете се, че кабелите на съединителя не се обтягат здраво, когато кормилото е завъртяно до крайно ляво или дясно положение на вилката.
NOTE
Може да е необходимо за преместване на кабелите на дросела/за празен ход. (Вижте подтемата за прекарването на жилата и кабелите.)
Прекарване на жилата и кабелите за празен ход
ПРЕДУПРЕЖДЕНИЕ
Уверете се, че кормилото се върти гладко и без пречки. Затрудненото движение на кормилото може да доведе до загуба на управление и смърт или сериозно нараняване. (00371a)
  • Уверете се, че кабелите за дросела/празен ход не се обтягат здраво, когато кормилото е завъртяно до крайно ляво или дясно положение на вилката.
  • Уверете се, че проводниците и кабелите са свободни от ограничителите на вилката при кормилната глава, така че няма да бъдат притиснати, когато вилката е обърната срещу ограничителите.
  • Вижте Figure 4 . Използвайте телената ключалка и шайбата от комплекта.
1Телена ключалка 58558-97
2Шайба 94066-90T
3Плоска шайба от оригиналното оборудване
4Винтов от оригиналното оборудване
Фигура 4. Приставка за кабела на дросела
Модели Sportster
Прекарайте контролните кабели след лявата страна на десния мигач. Навийте наобратно през зоната между фаровете и тръбата на дясната вилка. Прекарайте назад под резервоара за гориво и го закрепете за скобата под ключа за запалване, след това надолу към карбуратора.
Модели Dyna
FXD, FXDX, FXDS-конвенционални модели: Вижте Figure 5 . Прекарайте кабелите за газта и празен ход между фара и дясната предна тръба на вилката, след това под дясната страна на резервоара към карбуратора.
Модели FXDL: Вижте Figure 6 . Прекарайте кабелите на дросела и за празен ход извън (от дясната страна) предните вилки.
Фигура 5. Прекарване на кабели (FXD, FXDX и FXDS-конвенционални модели)
Фигура 6. Прекарване на кабели (Модели FXDL)
Премахване на съществуващи кабели за дросела/празен ход
NOTICE
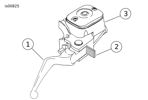
Не сваляйте и не поставяйте блока на главния цилиндър, без преди това да разположите вложка с дебелина 4 mm (5/32 инча) между спирачния лост и лостовата конзола. Свалянето или поставянето на блока на главния цилиндър без поставена вложка на мястото си може да доведе до повреда на гумения маншон и плунжера на ключ на предната стоп светлина. (00324a)
1. Вижте Figure 7 . Поставете картонената вложка между спирачния лост и скобата на лоста.
2. Вижте Figure 8 . Разхлабете глухите гайки за регулиране на кабелите. Завийте кабелните регулатори, докато не станат възможно най-къси. Това ще осигури достатъчно хлабина за лесно отстраняване.
3. С помощта на задвижваща глава T25 Torx ® , свалете десните горни и долни винтове на корпуса на превключвателя.
1Лост за спирачка
2Картон, 5/32 in.
3Скоба за лост за спирачка
Фигура 7. Монтирайте картонената вложка
1Регулатор за глуха гайка (2)
2Регулатор на кабела за празен ход
3Регулатор на кабела на дросела
4Корпус на долен превключвател
5Корпус на горен превключвател
Фигура 8. Управление на дросела от кормилото
4. Използвайки задвижваща глава T27 Torx ® , разхлабете горния винта, закрепящ скобата на кормилото към корпуса на главния цилиндър. Свалете долния винт на клемата с плоската шайба.
NOTE
Ако е възможно, оставете фрикционна обувка на място. Фрикционна обувка е монтирана хлабаво и може да падне или да се размести, ако корпусът на долния ключ се обърне с главата надолу или се разклати.
5. Вижте Figure 9 . Отстранете месинговите накрайници от жлебовете на ръкохватката за контрол на дросела. Отстранете накрайниците от крайните фитинги на кабелите.
6. Издърпайте притиснатите втулки в края на корпусите на дросела и кабелите за контрол на празен ход от корпуса на долния превключвател. За най-добри резултати използвайте люлеещо се движение, докато дърпате. Отстранете кабелите със задържащи пръстени от корпуса на превключвателя. Поставете капка леко масло върху задържащия пръстен, ако е необходимо, за да помогнете при отстраняването му.
NOTE
Сега, ако имате (или монтирате) различни кормила, измерете промяната в разстоянието, което ще бъде необходимо от края на корпуса на кабела до ръкохватката за дросела. Сравнете необходимата допълнителна дължина с кабела, предоставен във вашия комплект.
Ако кабелите са по-дълги с повече от два инча или по-къси с повече от един инч от измереното разстояние, свържете се с търговец на Harley-Davidson за правилната дължина на кабела.
1Кабел за газта
2Жлеб
3Кабел за празен ход
4Месингов накрайник
Фигура 9. Управляващи кабели за газта/празен ход
Монтаж на кабел за газта/кабела за празен ход
1. Вижте Figure 9 . Нанесете малко графит върху ръкохватката на дроселната клапа вътре в корпуса на превключвателя и края за газта на кормилото.
NOTE
Управляващият кабел на дроселната клапа има задържащ пръстен с по-голям диаметър, защипан до кабелния край, отколкото на този на кабела за празен ход.
При монтажа поставете капка леко масло върху задържащите пръстени на защипаните вложки.
2. Вижте Figure 10 . Натиснете корпуса на кабела на дроселната клапа и задържащия пръстен в по-големия отвор на корпуса на превключвателя, разположен пред винта за регулиране на опъването.
3. Натиснете корпуса на кабела за празен ход и задържащия пръстен в по-малкия отвор на корпуса на превключвателя, разположен зад винта за регулиране на опъването.
4. Натиснете корпусите на кабелите за управление на газта и за празен ход в корпуса на долния превключвател, докато всеки се напасне на място.
NOTE
Ако фрикционната обувка е изпаднала или се откъсне, поставете обувката с вдлъбнатата страна, насочена нагоре и ориентирайте така, че отворът на щифта да е над точката на регулиращия винт.
5. Натиснете ръкохватката за управление на дроселната клапа над края на дясното кормило, докато тя спадне до затворения край. Завъртете ръкохватката, докато вдлъбнатите накрайници са на върха. За да предотвратите преплитане, издърпайте обратно ръкохватката с около 1/8 in. (3,2 мм).
1Задържащ пръстен на кабела за празен ход
2Задържащ пръстен на кабела за дросела
3Корпус на долен превключвател
Фигура 10. Монтиране на кабели за долен корпус на превключвателя
6. Вижте Figure 9 . Поставете корпуса на долния превключвател под ръкохватката за управление на дроселната клапа. Монтирайте два месингови накрайника (56508-76) от комплекта върху кабелите, като поставите накрайниците в съответните им жлебове на ръкохватката за управление на дроселната клапа. Кабелите трябва да бъдат захванати в жлебовете, формовани в ръкохватката.
7. Позиционирайте горния корпус на превключвателя над кормилото и долния корпус на превключвателя. Прекарайте проводника на окабеляването през вдлъбнатината в долната част на кормилото.
8. Монтирайте хлабаво горните и долните винтове на корпуса на превключвателя.
9. Позиционирайте спирачния лост/главния цилиндър на борда на корпуса на превключвателя, като се застопори в накрайника на долния корпус на превключвателя в жлеба в горната част на скобата за спирачния лост.
10. Подравнете отворите в скобата на кормилото с тези в корпуса на главния цилиндър и закрепете свободно долния винт и плоската шайба. Позиционирайте за комфорт на водача. Започвайки с горния винт, затегнете винтовете до 60-80 in-lbs (6,8-9,0 Nm) с помощта на задвижваща глава T27 Torx ® .
11. Затегнете долните и горните винтове на корпуса на превключвателя до 35-45 in-lbs (4-5 Nm).
NOTE
Винаги затягайте първо долния винт на корпуса на превключвателя, така че всяка празнина между горния и долния корпус да е в предната част на модула на превключвателя.
12. Регулирайте кабелите на дросела и за празен ход според инструкциите в Ръководството за обслужване.
ПРЕДУПРЕЖДЕНИЕ
Уверете се, че кормилото се върти гладко и без пречки. Затрудненото движение на кормилото може да доведе до загуба на управление и смърт или сериозно нараняване. (00371a)
13. Отстранете картонената вложка между спирачния лост и скобата на лоста.
  • Кабелите не трябва да се закачат за хардуера на фара или да минават пред фара.
  • Кабелите не трябва да се закачат за монтажния хардуер на мигачите или за мигачите.
  • Кабелите не трябва да се закачат за капачката на горивото или на уреда за измерване на горивото.
  • Кабелите не трябва да се закачат към скоростомера или тахометъра.
  • Уверете се, че кабелите не са прищипани между рамката и/или вилките.
  • Уверете се, че кабелите на съединителя не се обтягат здраво, когато кормилото е завъртяно до крайно ляво или дясно положение на вилката.
ПРЕДУПРЕЖДЕНИЕ
Първо свържете кабела за положителния полюс (+) на акумулатора. Ако кабелът за положителния полюс (+) се допре до маса при свързан кабел за отрицателния полюс (-), възникналите искри могат да причинят експлодиране на акумулатора, което от своя страна би могло да доведе до смърт или сериозно нараняване. (00068a)
  1. Свържете кабелите на акумулатора, първо положителния (+).
Сглобяване на скобите към предното стъкло
1. Вижте Figure 11 . Извадете монтажния възел на предното стъкло от опаковката и го поставете с лицевата част надолу върху чиста, мека повърхност с монтажните скоби, обърнати нагоре.
2. Вижте Figure 13 или Figure 14 . Извадете и скобата и комплектите хардуер от опаковките и отделете сходните части, като подготовка за сглобяването.
3. Вижте Figure 12 . Сглобете скобите и крепежните предмети.
ПРЕДУПРЕЖДЕНИЕ
Чашковидната страна на шайбите Belleville (конусовидни) трябва да са обърнати една към друга и да притиснат като в сандвич монтажните конзоли за предното стъкло във всяка монтажна точка. Неправилната ориентация на шайбите може да намали способността на предното стъкло за отделяне при сблъсък, което от своя страна би могло да доведе до смърт или сериозно нараняване. (00422b)
4. Една по една скоба, като скобите да са изправени нагоре и навътре от скобата на предното стъкло (2), затегнете раменните болтовете (1) достатъчно, за да се поддържа ориентацията на скобата спрямо предното стъкло по време на монтажа на предното стъкло на мотоциклета. Болтове ще бъдат напълно затегнати по-късно.
Фигура 11. Монтажни скоби за предното стъкло
1Раменен болт
2Дясна скоба за предното стъкло
3Чашковидна шайба
4Шайби Belleville (чашковидните страни обърнати една срещу друга със скобата на предното стъкло помежду им)
Фигура 12. Монтажна скоба за предното стъкло
Монтирайте предното стъкло
NOTE
Дръжте предното колело право, за да се предотврати надраскване на резервоара за гориво от скобите.
1. Уверете се, че всички четири скоби са в отворена позиция, а след това приближете предното стъкло (със страната на скобата не срещу нас) до предната част на мотоциклета.
NOTE
Предното стъкло Lexan ® е сравнително гъвкаво и може да се огъне, за да раздалечи скобите от фара, с цел да улесни монтажа на мотоциклета. Внимавайте да не надраскате на корпуса на фара със скобите, докато позиционирате предното стъкло към плъзгачите на вилката.
2. Разпънете предния калник и проверете дали кабелите на дросела са разположени между двойката скоби вляво (с поглед пред мотоциклета, придържайки предното стъкло) и няма да бъдат притиснати от скобите. Центрирайте предното стъкло около фара и поставете скобите върху плъзгачите на вилката.
ПРЕДУПРЕЖДЕНИЕ
Прещипването на жилото за газта може да ограничи реакцията на газта, което от своя страна би могло да причини загуба на управление и смърт или сериозно нараняване. (00423b)
3. Започвайки отдолу (от двете страни) с хлабаво завити раменни болтове, затворете всяка скоба, като отбележите, че скобите се самоподравняват към плъзгачите на вилката и една към друга.
NOTE
Не затягайте раменните болтове отвъд препоръчания въртящ момент. Прекомерното натягане може да предизвика огъване на скобата на плъзгача на вилката, при което може челюстта на скобата да поддава.
4. Уверете се, че раменната част на болтовете са напълно поставени във всяко място за скоба на предното стъкло. Завийте всеки раменен болт до 60 in-lbs (6,7 Nm).
NOTE
Ако има намеса, регулирайте предното стъкло, както е необходимо, докато се получи правилното пространство. Уверете се, че опитен персонал на Harley-Davidson поправя каквито и да е проблеми, преди да се шофирате с този монтиран аксесоар.
Премахване и съхраняване на предното стъкло
За да премахнете предното стъкло, отворете четирите скоби, в каквато и да е последователност и извършете процедурите за монтаж в обратния ред, намиращи се в стъпки 3 и 4 от подтемата за Монтаж на предното стъкло. Внимавайте да не одраскате корпуса на фара или резервоара за гориво, както е отбелязано по време на монтажа.
При съхраняване на предното стъкло поставете на място, където скобите на предното стъкло ще получат най-голяма защита. Пазете от места, където предното стъкло може да бъде ударено или изпуснато. Не трупайте нищо върху комплекта.
Преди повторното монтиране след всеки период на съхранение, инспектирайте скобите и хардуера за предварително натоварване на закрепващите елементи и чистота. Всяка скоба трябва да има един чифт гумени уплътнения в седлото на скобата, което се съединява с плъзгача на вилката и трябва прави свободен цикъл на отваряне и затваряне.
ГРИЖИ И ПОЧИСТВАНЕ
NOTE
Отраженията на слънчевата светлина от вътрешната повърхност на предното стъкло могат да причинят екстремно натрупване на топлина върху инструментите на мотоциклета. Бъдете внимателни при паркиране. Паркирайте с лице към слънцето, поставете непрозрачен предмет над инструментите или регулирайте предното стъкло, за да се избегнат отраженията.
NOTICE
Предните стъкла на Harley-Davidson са изработени от Lexan. Lexan е по-траен и устойчив на деформации материал в сравнение с другите видове материали за предни стъкла на мотоциклети, но все пак изисква внимание и грижи за поддръжка. Неправилната техническа поддръжка на Lexan може да доведе до повреда на предното стъкло. (00230b)
  • Не почиствайте с Lexan ® поликарбонат на горещо слънце или висока температура. Прахообразен, абразивен или алкален почистващ препарат ще повреди предното стъкло. Никога не стържете предното стъкло с бръснарско ножче или други остри инструменти, защото това ще доведе до трайно увреждане.
NOTICE
Използвайте само препоръчваните от Harley-Davidson продукти за предните стъкла на Harley-Davidson. Не използвайте агресивни химикали или продукти за защита от проливен дъжд, които могат да повредят повърхността на предното стъкло, като например да го замъглят или потъмнеят. (00231c)
NOTICE
Не използвайте пречистен или непречистен бензин, разредител за бои или друг тип агресивно почистващо средство върху предното стъкло. Това може да повреди повърхността на предното стъкло. (00232c)
  • Не използвайте бензен, разредител за боядисване, бензин. лубриканти (включително Armorall ® ) или други почистващи средства върху гумените втулки. Те ще повредят повърхността на предното стъкло.
NOTE
Покриване на предното стъкло с чиста, влажна кърпа за около 15 минути преди миене ще направи премахването на изсъхналите насекоми по-лесно.
ЧАСТИ ЗА ОБСЛУЖВАНЕ
Фигура 13. Части за обслужване: Предно стъкло Touring
Таблица 2. Части за обслужване: Предно стъкло Touring
Елемент
Описание (Количество)
Номер на част
1
Монтаж на скоба, 39 mm (4)
57400465
2
Комплект, хардуер за монтаж на предно стъкло (4)
58790-04
3
Винт, машинен със специална полукръгла глава (2)
2452
4
Винт, машинен със специална полукръгла глава (7)
2921A
5
Гайка, #12 глуха (9)
7651
6
Подложка, EPDM лепило (от едната страна) (2)
57036-08
7
Шайба, за монтаж на предното стъкло (4)
58152-96
8
Скоба за предното стъкло
58517-08
9
Скоба за предното стъкло
58518-08
10
Телена ключалка за жилата на газта
58558-97
11
Сервизно предно стъкло, touring с разкачане (включва елементи 7, 13 и 16)
58571-96
12
Декоративна лента, вертикална
58575-96
13
Декоративна лента, вертикална
58576-96
14
Външна лента, хоризонтална
58577-96
15
Вътрешна лента, хоризонтална
58578-96
16
Лента, хоризонтална (2)
58582-96
17
Шайба, плоска, хром
94066-90T
18
Уплътнение, скоба
58791-04
Фигура 14. Части за обслужване: Предно стъкло Super Sport
Таблица 3. Части за обслужване: Предно стъкло Touring
Елемент
Описание (Количество)
Номер на част
1
Монтаж на скоба, 39 mm (4)
57400465
2
Комплект, хардуер за монтаж на предно стъкло (4)
58790-04
3
Шайба, обикновена, тип A (4)
6352
4
Конзола, модели предно стъкло с освобождаване 39 mm
57820-08
5
Конзола, модели предно стъкло с освобождаване 39 mm
57823-08
6
Сервизно стъкло, 39 mm Sport с разкачане (включва елемент 7)
57883-08
7
Шайба, монтажна на предното стъкло (8)
57964-97
8
Гайка, глуха 1/4-20 (4)
94007-90T
9
Винт, полукръгла глава със застопоряваща замазка (4)
94639-99
10
Телена ключалка за жилата на газта
58558-97
11
Шайба
94066-90T
12
Уплътнение, скоба
58791-04