KIT KACA DEPAN FLHR
J007182022-10-17
INFORMASI UMUM
Tabel 1. Informasi Umum
Kit
Alat-alat yang Disarankan
Level Keahlian(1)
57981-97, 57994-94, 57994-94A, 57995-96, 57995-96A, 57767-00, 58163-02, 58731-02, 58796-02, 57807-04, 57668-10, 57400380, 57400381, 57400383
Kaca Mata Pelindung, Kunci Torsi
(1) Perlu mengencangkan hingga nilai torsi atau peralatan dan teknik lain yang memadai
ISI KIT
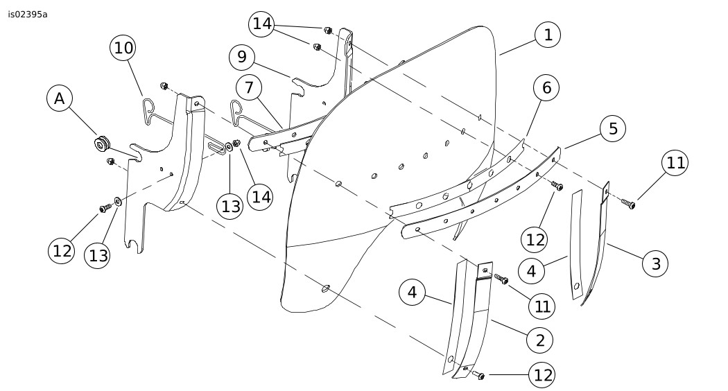
Gambar 1. Isi Kit: Kaca depan (Standar)
Tabel 2. Isi Kit: Kit Kaca Depan 57981-97, 57994-94, 57994-94A, 57995-96, 57995-96A, 57767-00, 57807-04, 57668-10
Pastikan semua isi kit lengkap sebelum memasang atau melepaskan item dari kendaraan.
Item
Jumlah
Deskripsi
No. Komponen
Catatan
1
1
Kaca depan, transparan, 2 inci lebih besar
58433-96
Kaca depan, transparan, standar
58193-04
Kaca depan, transparan, 4 inci lebih kecil
57768-00
Kaca depan, transparan dengan api
57809-04
Kaca depan, buram, 4 inci lebih kecil
58195-94
Kaca depan, Tiongkok
57400005
2
1
Penjepit vertikal, sisi luar, kanan
58406-75A
3
1
Penjepit vertikal, sisi luar, kiri
58408-75A
4
2
Selotip, penjepit vertikal sisi luar
58417-77
5
1
Penjepit, horizontal sisi luar
58428-94
6
2
Selotip, penjepit horizontal
58416-77A
7
1
Penjepit, horizontal sisi dalam
58431-94
8
1
Braket, kanan
58084-94
9
1
Braket, kiri
58088-94
10
2
Gerendel pegas
38722-94
11
2
Sekrup, kepala obeng bulat TORX
2452
12
11
Sekrup, kepala obeng bulat TORX
2921A
13
8
Cincin, datar
6119
14
13
Mur, acorn
7651
Item disebutkan dalam teks, tetapi tidak disertakan dalam kit
A
Peralatan Asli (OE) Gromet karet
Gambar 2. Isi Kit: Deflektor Angin (Standar)
Tabel 3. Isi Kit: Kit Deflektor Angin 58163-02, 58731-02, 58796-02
Pastikan semua isi kit lengkap sebelum memasang atau melepaskan item dari kendaraan.
Item
Jumlah
Deskripsi
No. Komponen
Catatan
1
1
Deflektor angin, buram
58906-02
Deflektor angin, transparan, internasional
58908-02
Deflektor angin, buram, 3 inci lebih besar
58799-02
2
1
Penjepit vertikal, sisi luar, kanan
58674-02
3
1
Penjepit vertikal, sisi luar, kiri
58677-02
4
2
Selotip, penjepit vertikal sisi luar
58664-02
5
1
Penjepit, horizontal sisi luar
58476-02
6
2
Selotip, penjepit horizontal
58573-02
7
1
Penjepit, horizontal sisi dalam
58462-02
8
1
Braket, kanan
58542-02
9
1
Braket, kiri
58543-02
10
2
Gerendel pegas
38722-94
11
2
Sekrup, kepala obeng bulat TORX
2452
12
11
Sekrup, kepala obeng bulat TORX
2921A
13
8
Cincin, datar
6119
14
13
Mur, acorn
7651
Item disebutkan dalam teks, tetapi tidak disertakan dalam kit
A
2
OE Gromet karet
UMUM
CATATAN
Lembar instruksi ini mungkin berisi Video Tambahan untuk membantu pemasang dengan penjelasan bagian tertentu dari rakitan. Tautan ke video akan ditempatkan di akhir lembar instruksi ini.
Model
Untuk informasi kesesuaian model, baca Katalog Retail Komponen dan Aksesori (P&A) atau bagian Komponen dan Aksesori dari www.harley-davidson.com .
Pastikan Anda menggunakan lembar instruksi versi terkini. Tersedia di: h-d.com/isheets
Hubungi Pusat Dukungan Pelanggan Harley-Davidson di 1-800-258-2464 (khusus AS) atau 1-414-343-4056.
Persyaratan Pemasangan
PERINGATAN
Keselamatan pengendara dan penumpang bergantung pada pemasangan kit yang benar. Jika Anda tidak mampu menjalankan prosedur ini atau tidak memiliki alat yang tepat, mintalah dealer Harley-Davidson untuk melakukan pemasangan. Pemasangan yang salah terkait perangkat ini dapat menyebabkan kematian atau cedera parah. (00308b)
PEMBERITAHUAN
Jangan menggunakan tas kaca depan untuk kaca depan yang dihiasi nyala api. Kerusakan pada grafik akan terjadi. (00393f)
Tabel 4. Model
Kit
Isi
57981-97
Kaca depan buram profil rendah
57767-00
Kaca depan transparan profil rendah
57994-94
Kaca depan transparan ketinggian standar
57994-94A
Kaca depan transparan ketinggian standar
57995-96
Kaca depan tinggi transparan
57995-96A
Kaca depan tinggi transparan
58163-02
Deflektor angin Road King, gelap, buram
58731-02
Deflektor angin Road King, transparan, internasional
58796-02
Deflektor angin Road King, gelap buram, 3 inci lebih besar
57807-04
Kaca depan transparan ketinggian standar dengan api
57668-10
Kaca depan, Tiongkok
57400380
Kaca depan transparan 20 inci dengan penyangga hitam
57400381
Kaca depan transparan 18 inci dengan penyangga hitam
57400383
Kaca depan warna terang 16 inci dengan penyangga hitam
PASANG
1. Turunkan kaca depan dengan hati-hati dengan memasukkan braket samping di antara rumah lampu depan dan penahan lampu dim sampai takik pada sisi bawah terpasang pada gromet bawah.
a. Pastikan takik pada setiap braket terpasang dengan kuat pada gromet karet.
2. Berdiri di depan sepeda motor, dorong bagian atas kaca depan ke arah belakang secara lembut sampai takik pada sisi atas sepenuhnya terpasang pada gromet atas.
3. Dorong ke bawah pegas kait wireform sampai pegas menggantung gromet karet.
a. Jika perlu penyesuaian, longgarkan baut penahan dan putar pegas kait ke posisi yang tepat.
PERINGATAN
Pemasangan aksesori atau pengisian kargo yang tidak benar dapat memengaruhi stabilitas dan kemudi, yang dapat menyebabkan kematian atau cedera parah. (00455b)
PERINGATAN
Kelalaian untuk menyediakan ruang yang cukup antara komponen bergerak dan komponen tidak bergerak dapat mengakibatkan sepeda motor kehilangan kontrol, yang dapat menyebabkan kematian atau cedera parah. (00378a)
CATATAN
Periksa kaca depan setelah selesai pemasangan. Pastikan dudukan kaca depan tidak membatasi kemampuan belok penuh ke kiri atau ke kanan pada unit fork depan. Jika mengganggu pemutaran unit fork, sesuaikan kaca depan seperlunya hingga didapatkan jarak bebas yang tepat. Mintalah personel servis Harley-Davidson untuk memperbaiki masalah terkait pemasangan aksesori ini sebelum berkendara.
CATATAN
Periksa perangkat keras dudukan secara berkala. Jangan mengendarai sepeda motor jika kaca depan kendur. Jika salah satu klem pemasangan kaca depan kendur, klem penjepit lainnya dan kaca depan itu sendiri akan mengalami tekanan ekstra, dan dapat menyebabkan komponen-komponen tersebut gagal menahan kaca depan.
PEMELIHARAAN
Perawatan dan Pembersihan
CATATAN
Pantulan sinar matahari di lengkungan bagian dalam kaca depan secara terus-menerus dapat menyebabkan penumpukan panas yang ekstrem pada instrumen sepeda motor. Pilih tempat parkir dengan cermat. Jika memarkir kendaraan di bawah sinar matahari, letakkan benda yang tidak tembus cahaya di atas instrumen, atau atur kaca depan untuk mencegah pantulan.
PEMBERITAHUAN
Kaca depan/deflektor angin polikarbonat memerlukan perhatian dan perawatan yang tepat dalam pemeliharaannya. Kelalaian memelihara polikarbonat dengan tepat dapat menyebabkan kerusakan pada kaca depan/deflektor angin. (00483e)
PEMBERITAHUAN
Hanya gunakan produk yang direkomendasikan Harley-Davidson pada kaca depan Harley-Davidson. Jangan gunakan bahan kimia keras atau produk pelindung dari hujan, yang dapat menyebabkan kerusakan permukaan kaca depan, seperti menjadi kusam atau kabur. (00231c)
Jangan bersihkan polikarbonat di bawah sinar matahari atau pada suhu tinggi. Pembersih bubuk, abrasif, dan bersifat alkali akan merusak kaca depan. Jangan gesek kaca depan dengan pisau tajam atau alat tajam lainnya karena dapat menyebabkan kerusakan permanen.
CATATAN
Tutup kaca depan dengan kain basah bersih sekitar 15 menit sebelum mencuci motor agar serangga kering lebih mudah dibersihkan.
Harley-Davidson Windshield Water Repellent Treatment Nomor Komponen 99841-01 disetujui penggunaannya pada kaca depan polikarbonat Harley-Davidson.