KIT PERANGKAT GANDENG EMPAT TITIK YANG DAPAT DILEPAS DAN DISESUAIKAN
J059992019-01-15
INFORMASI UMUM
Tabel 1. Informasi Umum
Kit
Alat-alat yang Disarankan
Level Keahlian(1)
Waktu
52300353, 52300354
Kaca Mata Pelindung, Kunci Torsi
1 jam
(1) Perlu mengencangkan hingga nilai torsi atau peralatan dan teknik lain yang memadai
ISI KIT
Gambar 1. Isi Kit: Kit Perangkat Gandeng Empat Titik Yang Dapat Dilepas Dan Disesuaikan
Tabel 2. Isi Kit: Kit Perangkat Gandeng Empat Titik Yang Dapat Dilepas Dan Disesuaikan
Item
Jumlah
Deskripsi
No. Komponen
Catatan
1
1
Rakitan pelat gandeng, chrome (sisi kanan, ditunjukkan)
52300348
1
Rakitan pelat gandeng, hitam (sisi kanan, ditunjukkan)
52300355
2
1
Rakitan pelat gandeng, chrome (sisi kiri, ditunjukkan)
52300349
1
Rakitan pelat gandeng, hitam (sisi kiri, ditunjukkan)
52300356
3
2
Spacer, titik docking
12400059
4
4
Titik gandeng
52300345
5
4
Spacer penyetelan lebar, chrome (opsional, gunakan sesuai kebutuhan)
10300079
6
4
Sekrup tutup, TORX kepala datar, panjang 1/4-20 x 16 mm (⅝ in)
10200322
14,2 N·m (126 in-lbs)
Gunakan LOCTITE 243 MEDIUM STRENGTH THREADLOCKER AND SEALANT (BIRU)
7
4
Sekrup tutup, kepala TORX, panjang 5/16-18 x 25 mm (1 in)
10200157
27,1 N·m (20 ft-lbs)
Gunakan LOCTITE 243 MEDIUM STRENGTH THREADLOCKER AND SEALANT (BIRU) dan LOCTITE 262 HIGH STRENGTH THREADLOCKER AND SEALANT (MERAH)
8
4
Cincin datar, lapisan akhir zink
6302
Item disebutkan dalam teks, tetapi tidak disertakan dalam kit
A
2
Peralatan Asli (OE) sisipan penutup slot
B
4
OE sekrup pemasangan sisipan penutup slot
C
2
Pin pelat gandeng panjang
D
1
Sisipan plastik titik gandeng (bentuk elips yang diperbesar untuk kejelasan)
E
1
Posisi paling longgar dari titik gandeng (horizontal ke tanah)
F
2
Jarak penyetelan titik gandeng maksimal 90°
G
1
Flange sisi titik gandeng yang lebih tipis untuk penyetelan lebar
H
1
Flange sisi titik gandeng yang lebih tebal untuk penyetelan lebar
J
2
Takik penyetelan radial dalam sisipan plastik
UMUM
Model
Untuk informasi kesesuaian model, baca katalog retail P&A atau bagian Komponen dan Aksesori di www.harley-davidson.com (hanya tersedia dalam Bahasa Inggris).
Pastikan Anda menggunakan lembar petunjuk versi terbaru yang tersedia di: www.harley-davidson.com/isheets
Hubungi Pusat Dukungan Pelanggan Harley-Davidson di 1-800-258-2464 (khusus AS) atau 1-414-343-4056.
Persyaratan Pemasangan
Diperlukan pembelian terpisah dari komponen dan aksesori lainnya untuk pemasangan yang tepat dari kit ini pada model sepeda motor tertentu. Lihat katalog retail P&A atau bagian Komponen dan Aksesori di www.harley-davidson.com (hanya Bahasa Inggris) untuk menemukan daftar komponen atau aksesori yang diperlukan untuk model tertentu.
PERINGATAN
Keselamatan pengendara dan penumpang bergantung pada pemasangan kit yang benar. Jika Anda tidak mampu menjalankan prosedur ini atau tidak memiliki alat yang tepat, mintalah dealer Harley-Davidson untuk melakukan pemasangan. Pemasangan yang salah terkait perangkat ini dapat menyebabkan kematian atau cedera parah. (00308b)
PERSIAPAN
PERINGATAN
Untuk mencegah starter kendaraan tiba-tiba, yang dapat menyebabkan kematian atau cedera parah, lepas sekring utama sebelum melakukan pemasangan lampu depan. (00251b)
1. Lepas sekring utama.
a. DILENGKAPI sirene keamanan: Dengan fob berada dalam jangkauan, putar sakelar ignisi ke posisi ON. Setelah sistem dinonaktifkan, atur sakelar ignisi ke posisi OFF. SEGERA lepas sekering utama berdasarkan manual pemilik.
b. TANPA sirene keamanan: Lihat manual pemilik.
2. Lepas tas sadel sisi kanan.
3. Lihat Gambar 1 . Lepas dua sekrup (B) dari penopang tas sadel pada setiap sisi.
4. Angkat sisipan penutup slot (A) dari tempatnya.
PASANG
Pasang Braket Gandeng
1.
CATATAN
Pin panjang (C) dipasang menghadap bagian depan sepeda motor.
Sisipkan rakitan pelat gandeng (1,2) ke dalam slot di sisi yang benar dari penopang tas sadel.
2. Tempatkan sebuah cincin (8) pada setiap sekrup (7).
3. Gunakan 2 atau 3 tetes threadlocker pada ulir sekrup.LOCTITE 262 HIGH STRENGTH THREADLOCKER AND SEALANT (MERAH) (94759-99)
4. Kencangkan rakitan pelat gandeng (1,2) pada posisinya dengan menggunakan sekrup (7) dan cincin (8). Kencangkan.
Torque: 27,1 N·m (20 ft-lbs)
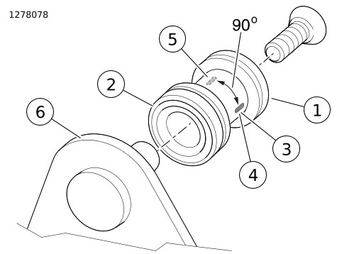
1Titik gandeng
2Flange sisi titik gandeng yang lebih tebal untuk penyetelan lebar
3Takik penyetelan radial dalam sisipan plastik (2)
4Posisi paling longgar dari titik gandeng (horizontal ke tanah)
5Kisaran penyetelan titik docking maksimum 90 derajat (x2)
6Rakitan pelat gandeng
Gambar 2. Pemasangan Titik Gandeng
5.
CATATAN
Lihat Gambar 1 . Jangan pasang spacer penyetelan lebar (5) untuk saat ini.
Pasang titik gandeng.
a. Selipkan sebuah spacer (3) pada pin panjang (C) dari setiap pelat gandeng.
b. Selipkan lebih dahulu sebuah titik gandeng (4), flange tebal (H), pada setiap pin pelat gandeng.
c. Pasang sekrup (6) ke dalam pin pelat gandeng.
d. Lihat Gambar 2 . Putar setiap titik gandeng untuk memosisikan takik secara horizontal (4).
e. Kencangkan sekrup hingga pas.
Periksa Kelurusan dan Kerapatan Titik Gandeng
CATATAN
Lihat Gambar 2 .
  • Titik gandeng depan memungkinkan penyetelan rak tegak dan solo.
  • Titik gandeng belakang memungkinkan penyetelan rak two-up.
1. Pasang aksesori yang dapat dilepas berdasarkan petunjuk kit aksesori yang dapat dilepas.
2. Jika titik gandeng berjarak terlalu lebar:
a. Lepas aksesori.
b. Lihat Gambar 1 . Lepas sekrup (6) dan titik gandeng (4) dari semua 4 pin pelat gandeng.
c. Pasang lebih dahulu titik gandeng, flange tebal , pada setiap pin pelat gandeng.
d. Gunakan 2 atau 3 tetes threadlocker pada ulir setiap sekrup (6). Pasang sekrup.LOCTITE 243 MEDIUM STRENGTH THREADLOCKER AND SEALANT (BIRU) (99642-97)
e. Lihat Gambar 2 . Putar setiap titik gandeng untuk memosisikan takik secara horizontal (4). Kencangkan sekrup hingga pas.
3. Jika titik gandeng berjarak terlalu sempit:
a. Lihat Gambar 1 . Lepas semua komponen dari semua 4 pin pelat gandeng.
b. Pasang spacer penyetelan lebar (5) pada setiap titik gandeng.
c. Pasang spacer (3) pada pin panjang (C) dari setiap pelat gandeng.
d. Pasang titik gandeng (flange tebal lebih dahulu) pada setiap pin titik gandeng.
e. Gunakan 2 atau 3 tetes threadlocker pada ulir setiap sekrup (6). Pasang sekrup.LOCTITE 243 MEDIUM STRENGTH THREADLOCKER AND SEALANT (BIRU) (99642-97)
f. Lihat Gambar 2 . Putar setiap titik gandeng untuk memosisikan takik secara horizontal (4). Kencangkan sekrup hingga pas.
4.
CATATAN
Posisi (5) adalah posisi paling rapat dari titik gandeng. Posisi (4) adalah posisi paling longgar dari titik gandeng.
Jika aksesori tidak terpasang rapat ke titik gandeng:
a. Longgarkan sekrup (6).
b. Lihat Gambar 2 . Putar titik gandeng (1) sedikit menjauhi arah horizontal (4).
c. Periksa kesesuaian aksesori yang dapat dilepas.
d. Lanjutkan memutar sedikit ke arah vertikal (5) menjauhi arah horizontal (4) hingga mencapai kerapatan di setiap tempat.
5. Lihat Gambar 1 . Kencangkan sekrup pin pelat gandeng (6). Kencangkan.
Torque: 14,2 N·m (126 in-lbs)
SELESAI
CATATAN
Untuk mencegah kemungkinan kerusakan sound system, pastikan ignition sedang OFF sebelum memasang sekering utama.
1. Pasang sekring utama. Lihat manual pemilik.
2. Pasang tas kargo. Lihat manual pemilik.
PEMELIHARAAN
Jika titik docking aus, aksesori yang dapat dilepas yang terpasang akan menjadi longgar dan berderak. Kencangkan dengan menggunakan metode berikut.
1. Lihat Gambar 1 . Catat posisi takik saat ini untuk setiap titik gandeng. Lepas sekrup (6) dari semua 4 pin pelat gandeng.
2.
CATATAN
Bersihkan threadlocker dari sekrup titik gandeng dan ulir lubang pemasangan sebelum menggunakan threadlocker pada ulir sekrup.
Gunakan 2 atau 3 tetes threadlocker pada ulir setiap sekrup (6).LOCTITE 243 MEDIUM STRENGTH THREADLOCKER AND SEALANT (BIRU) (99642-97)
3. Pasang titik gandeng, sekrup, dan spacer (jika ada). Kencangkan dengan jari hingga erat.
4. Jika takik tidak dalam posisi vertikal (F), putar sedikit titik gandeng, gerakkan takik menuju (F) hingga mendapatkan kerapatan aksesori yang dapat dilepas pada setiap tempat.
5. Kencangkan sekrup titik gandeng (6). Kencangkan.
Torque: 14,2 N·m (126 in-lbs)
6.
CATATAN
Bersihkan threadlocker dari sekrup titik gandeng dan ulir lubang pemasangan sebelum menggunakan threadlocker pada ulir sekrup.
Jika takik sisipan titik gandeng dalam posisi vertikal (F):
a. Lepas sekrup (6) dari semua 4 pin pelat gandeng.
b. Putar setiap titik gandeng hingga takik kedua mencapai posisi (E).
c. Gunakan 2 atau 3 tetes threadlocker pada ulir setiap sekrup (6).LOCTITE 243 MEDIUM STRENGTH THREADLOCKER AND SEALANT (BIRU) (99642-97)
d. Pasang sekrup dan spacer (jika ada). Kencangkan dengan jari hingga erat.
e. Periksa aksesori yang dapat dilepas di setiap titik gandeng dengan memutar takik menuju (F) hingga mendapatkan kerapatan aksesori yang dapat dilepas di setiap tempat.
f. Kencangkan sekrup (6). Kencangkan.
Torque: 14,2 N·m (126 in-lbs)
7. Setelah beberapa penyesuaian, jika aksesori yang dapat dilepas terus berderak atau tetap longgar, ganti titik docking.