KITS DE PARABRISAS DESMONTABLES
J045012021-04-27
GENERAL
Número de kit
58158-08 y 57838-08
Modelos
Para obtener información sobre la compatibilidad de los modelos, vea el catálogo de venta al detalle de P&A (piezas y accesorios) o la sección Piezas y accesorios en www.harley-davidson.com (inglés solamente).
Tabla 1. Kits
Kit Nº
Descripción
58158-08
Parabrisas Touring
57838-08
Parabrisas Super Sport
Contenido del kit
INSTALACIÓN
ADVERTENCIA
La seguridad del motociclista y del pasajero dependen de la instalación correcta de este kit. Si el procedimiento no está dentro de sus capacidades o no tiene las herramientas correctas, pida a un concesionario Harley-Davidson que realice la instalación. La instalación incorrecta de este kit podría causar la muerte o lesiones graves. (00308b)
ADVERTENCIA
Para evitar el arranque accidental del vehículo, lo que puede ser la causa de muerte o de lesiones graves, desconecte el cable negativo (-) de la batería antes de continuar. (00048a)
NOTA
Cubra el guardabarros delantero y el frente del tanque de combustible con toallas limpias de taller para evitar rayaduras. Podría dañarse el acabado.
Vuelva a ubicar el cable del embrague
Para modelos XL personalizados o FXLR únicamente: Cambie la posición del cable del embrague, ahora apretado detrás de la pieza de soporte superior de la horquilla, adelante de los manillares como se indica a continuación:
  1. Mueva el cable del embrague de su posición inicial a una posición detrás del lado izquierdo trasero de la pieza de soporte superior de la horquilla. Ajuste la holgura, arriba y abajo de la pieza de soporte de la horquilla para colocar el cable en la mejor posición.
  2. Si es necesario, cambie la posición de los amarres de montaje del cable del embrague sujetos al tubo vertical de la estructura para permitir que el cable del embrague se mueva libremente, cuando los manillares se giren completamente hacia los bloqueos izquierdo y derecho de la horquilla. Mueva la palanca manual varias veces para confirmarlo.
Para todos los modelos, excepto el XL personalizado o FXLR: Cambie la posición del cable del embrague al interior de los manillares como sigue:
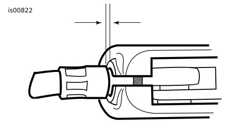
1. Ver Figura 1 . Deslice la funda de caucho (1) para exponer el ajustador del cable del embrague (2). El ajustador está ubicado aproximadamente en el punto medio del cable del embrague cerca del tubo vertical delantero de la estructura.
1Funda de caucho
2Ajustador del cable
3Contratuerca
4Extremo del cable
Figura 1. Ajustador del cable del embrague
2. Sujetando el ajustador del cable con una llave de 1/2 pulg. afloje la contratuerca (3) usando una llave para tuercas de 9/16 pulg. Retroceda la contratuerca, alejándola del ajustador del cable. Mueva el ajustador hacia la contratuerca para permitir juego libre en la palanca manual.
3. Quite el anillo de retención de la ranura del pasador de pivote, en la parte inferior de la pieza de soporte de la palanca del embrague, y quite el pasador de pivote.
4. Quite la palanca manual del embrague de la pieza de soporte. Si es necesario, use un destornillador T27 Torx® para extraer los dos tornillos con las arandelas planas que sujetan la pieza de soporte de la palanca del embrague a la abrazadera del manillar.
5. Ver Figura 2 . Cambie la colocación del cable del embrague al interior de los manillares.
Figura 2. Nueva ubicación del cable del embrague
6. Inserte la palanca del embrague dentro de la ranura de la pieza de soporte de la palanca, colocando la manga en el extremo de la cubierta del cable dentro del diámetro interior en el lado interior de la pieza de soporte.
7. Si se quitó, asegure la pieza de soporte de la palanca del embrague a la abrazadera del manillar con los tornillos Torx®. Empezando por el tornillo superior, ajuste a 60-80 pulg.-lb (6,8-9,0 Nm).
8. Ver Figura 1 . Gire el ajustador del cable para alejarlo de la contratuerca hasta que se elimine la holgura en la palanca manual. Tire del casquillo del cable del embrague para separarlo de la pieza de soporte de la palanca del embrague para medir el juego libre.
9. Ver Figura 3 . Sujete el ajustador con la llave de 1/2 pulg. y use una llave de 9/16 pulg. para ajustar la contratuerca contra el ajustador del cable. Cubra el mecanismo del ajustador del cable con una funda de caucho.
10. Si es necesario, cambie la posición de los amarres de montaje del cable del embrague sujetos al tubo vertical de la estructura para permitir que el cable del embrague se mueva libremente, cuando los manillares se giren completamente hacia los bloqueos izquierdo y derecho de la horquilla. Mueva la palanca manual varias veces para confirmarlo.
Figura 3. Juego libre del cable del embrague, 1/16-1/8 pulg. (1,6 a 3,2 mm)
ADVERTENCIA
Después de cambiar de lugar el cable del embrague, compruebe que la palanca manual del embrague abra y cierre suavemente cuando los manillares estén girados completamente hacia la izquierda o hacia la derecha. La respuesta lenta de la palanca del embrague podría causar la pérdida del control, lesiones graves o la muerte. (00424d)
ADVERTENCIA
Asegúrese de que la dirección sea suave y sin interferencias. Cualquier interferencia con la dirección puede ocasionar la pérdida de control del vehículo y ser la causa de muerte o lesiones graves. (00371a)
  • Asegúrese de que los cables del embrague no se estiren cuando se giren los manillares completamente hacia los topes izquierdo o derecho de la horquilla.
NOTA
Posiblemente sea necesario reubicar los cables del acelerador/marcha al ralentí. (Vea el subtema Ubicación del acelerador y del cable).
Ubicación de los cables del acelerador y de la marcha al ralentí
ADVERTENCIA
Asegúrese de que la dirección sea suave y sin interferencias. Cualquier interferencia con la dirección puede ocasionar la pérdida de control del vehículo y ser la causa de muerte o lesiones graves. (00371a)
  • Asegúrese de que los cables de control del acelerador/marcha al ralentí no se estiren cuando se giren los manillares completamente hacia los topes izquierdo o derecho de la horquilla.
  • Asegúrese de que los cables y los alambres estén libres de los topes de la horquilla en el cabezal de dirección, para que no queden comprimidos cuando la horquilla se gire contra los topes.
  • Ver Figura 4 . Use la forma de alambre y la arandela del kit.
1Forma de alambre 58558-97
2Arandela 94066-90T
3Arandela plana de equipo original
4Tornillo del equipo original
Figura 4. Conexión de los cables del acelerador
Modelos Sportster
Coloque los cables de control pasando el lado izquierdo de la señal de giro a la derecha. Pase de vuelta por el área entre el faro delantero y el tubo derecho de la horquilla. Colóquelos hacia atrás debajo del tanque de gasolina y asegúrelos en la presilla debajo del interruptor de encendido, después hacia abajo al carburador.
Modelos Dyna
Modelos FXD, FXDX, FXDS-Conv: Vea Figura 5. Pase los cables del acelerador y de la marcha al ralentí entre el faro delantero y el tubo derecho de la horquilla delantera, después debajo del lado derecho del tanque al carburador.
Modelos FXDL: Vea Figura 6. Coloque los cables del acelerador y de la marcha al ralentí en el exterior (a la derecha de) las horquillas delanteras.
Figura 5. Ubicación de cables (Modelos FXD, FXDX y FXDS-Conv)
Figura 6. Ubicación de cables (Modelos FXDL)
Extracción del cable del acelerador/de la marcha al ralentí existente
AVISO
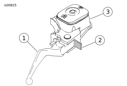
No extraiga ni instale el conjunto de la bomba sin primero colocar un inserto de 4 mm (5/32 pulg.) de grueso entre la palanca del freno y la pieza de soporte de la palanca. Si se extrae o se instala el conjunto de la bomba sin el inserto en su lugar, se podría dañar la funda de caucho y el émbolo del interruptor delantero de la luz de parada. (00324a)
1. Ver Figura 7 . Coloque el inserto de cartón entre la palanca del freno y la pieza de soporte de la palanca.
2. Ver Figura 8 . Afloje las contratuercas del ajustador del cable. Enrosque los ajustadores de los cables hasta que queden lo más corto posible. Esto proporcionará suficiente holgura para facilitar la extracción.
3. Usando un destornillador de cabeza T25 Torx®, quite los tornillos de las cajas superior e inferior derechas de interruptores.
1Palanca del freno
2Cartón, 4 mm (5/32 pulg.)
3Pieza de soporte de la palanca del freno
Figura 7. Instalación del inserto de cartón
1Contratuerca del ajustador (2)
2Ajustador del cable de la marcha al ralentí
3Ajustador del cable del acelerador
4Caja inferior de interruptores
5Caja superior de interruptores
Figura 8. Control del acelerador del manillar
4. Usando un destornillador de cabeza T27 Torx®, afloje el tornillo superior que sujeta la abrazadera del manillar a la caja de la bomba. Quite el tornillo de la abrazadera inferior con la arandela plana.
NOTA
Si es posible, deje la zapata de fricción en su lugar. La zapata de fricción es un accesorio suelto y puede caerse o desalojarse si la caja inferior de interruptores se voltea o agita.
5. Ver Figura 9 . Quite los casquillos de bronce de las ranuras en el lado interior de la empuñadura de control del acelerador. Quite los casquillos de los dispositivos de conexión de extremos de cable.
6. Saque los insertos engarzados en el extremo de las cubiertas de los cables de control del acelerador y de la marcha al ralentí de la caja inferior de interruptores. Para obtener mejores resultados, tire con un movimiento de vaivén. Quite los cables con anillos de retención de la caja de interruptores. Coloque una gota de aceite delgado en el anillo de retención si es necesario para facilitar la extracción.
NOTA
En este punto, si tiene (o está instalando) manillares diferentes, mida el cambio de la distancia necesaria del extremo de la cubierta del cable a la empuñadura del acelerador. Compare esta longitud adicional necesaria con los cables que se proporcionan en su kit.
Si los cables son más largos que dos pulgadas o más cortos que una pulgada en comparación con la distancia medida anteriormente, consulte con un concesionario de Harley-Davidson para obtener la longitud correcta de los cables.
1Cable del acelerador
2Muesca
3Cable de la marcha al ralentí
4Casquillo de bronce
Figura 9. Cables de control del acelerador y de la marcha al ralentí
Instalación de los cables del acelerador/de la marcha al ralentí
1. Ver Figura 9 . Aplique grafito ligeramente a la empuñadura del acelerador dentro de la caja de interruptores y en el extremo del acelerador del manillar.
NOTA
El cable de control del acelerador tiene un anillo de retención con mayor diámetro engarzado al extremo del cable que el que tiene el cable de control de la marcha al ralentí.
Para el armado, coloque una gota de aceite delgado sobre los anillos de retención de los insertos engarzados.
2. Vea la Figura 10. Empuje la cubierta del cable del acelerador y el anillo de retención dentro del agujero mayor de la caja de interruptores, situado delante del tornillo de ajuste de tensión.
3. Empuje la cubierta del cable de la marcha al ralentí y el anillo de retención dentro del agujero más pequeño de la caja de interruptores, situado atrás del tornillo de ajuste de tensión.
4. Empuje las cubiertas de los cables de control del acelerador y de la marcha al ralentí dentro de la caja inferior de interruptores hasta que cada una encaje a presión en su lugar.
NOTA
Si la zapata de fricción se ha caído o movido, instale la zapata con el lado cóncavo hacia arriba y colóquela para que el agujero del pasador esté sobre la punta del tornillo de ajuste.
5. Empuje la empuñadura de control del acelerador sobre el extremo del manillar derecho hasta que tope contra el extremo cerrado. Gire la empuñadura hasta que las ranuras de los casquillos queden hacia arriba. Para evitar que se atasque, retroceda la empuñadura aproximadamente 1/8 pulg. (3,2 mm).
1Anillo de retención del cable de la marcha al ralentí
2Anillo de retención del cable del acelerador
3Caja inferior de interruptores
Figura 10. Instalación de los cables en la caja inferior de interruptores
6. Ver Figura 9 . Coloque la caja inferior de interruptores abajo de la empuñadura de control del acelerador. Instale los dos casquillos de bronce (56508-76) del kit en los cables, asentando los casquillos en sus muescas respectivas en la empuñadura de control del acelerador. Los cables deben quedar atrapados en las ranuras moldeadas en la empuñadura.
7. Coloque la caja superior de interruptores sobre el manillar y sobre la caja inferior de interruptores. Pase el conducto del arnés de cables a través del receso en la parte inferior del manillar.
8. Ajuste con cuidado los tornillos de las cajas superior e inferior de interruptores.
9. Coloque el conjunto de la palanca/bomba del freno en el lado interior del conjunto de las cajas de interruptores enganchando la lengüeta de la caja inferior de interruptores en la ranura en la parte superior de la pieza de soporte de la palanca del freno.
10. Alinee los agujeros en la abrazadera del manillar con los de la caja de la bomba y coloque sin apretar el tornillo inferior y la arandela plana. Colóquelo en una posición cómoda para el motociclista. Comenzando con el tornillo superior, ajuste los tornillos a 60-80 pulg.-lb. (6,8-9,0 Nm) usando un destornillador T27 Torx®.
11. Apriete los tornillos de las cajas inferior y superior de interruptores a 35-45 lb-pulg. (4-5 Nm).
NOTA
Siempre apriete primero el tornillo de la caja inferior de interruptores para que cualquier espacio libre entre las cajas superior e inferior quede al frente del conjunto de interruptores.
12. Ajuste los cables del acelerador y de la marcha al ralentí de acuerdo con las instrucciones del Manual de servicio.
ADVERTENCIA
Asegúrese de que la dirección sea suave y sin interferencias. Cualquier interferencia con la dirección puede ocasionar la pérdida de control del vehículo y ser la causa de muerte o lesiones graves. (00371a)
13. Extraiga el inserto de cartón entre la palanca del freno y la pieza de soporte de la palanca.
  • Los cables no deben trabarse en los elementos de sujeción del faro delantero ni pasar delante del faro delantero.
  • Los cables no deben trabarse en los elementos de sujeción de montaje de las señales de giro ni en las señales de giro.
  • Los cables no deben trabarse en la tapa del combustible ni en el indicador de combustible.
  • Los cables no deben trabarse en el velocímetro ni en el tacómetro.
  • Asegúrese de que los cables no estén comprimidos entre la estructura y/o las horquillas.
  • Asegúrese de que los cables del embrague no se estiren cuando se giren los manillares completamente hacia los topes izquierdo o derecho de la horquilla.
ADVERTENCIA
Primero conecte el cable positivo (+) de la batería. Si el cable positivo (+) llega a tocar tierra con el cable negativo (-) conectado, las chispas resultantes pueden hacer explotar la batería, lo que podría causar la muerte o lesiones graves. (00068a)
  1. Primero conecte el cable positivo (+) de la batería.
Armado de las abrazaderas en el parabrisas
1. Ver Figura 11 . Extraiga el subconjunto del parabrisas del empaque y colóquelo hacia abajo sobre una superficie limpia y suave con las piezas de soporte del soporte hacia arriba.
2. Vea Figura 13 o Figura 14. Extraiga los kits de abrazaderas y elementos de sujeción del empaque y separe las piezas similares para preparar el armado.
3. Ver Figura 12 . Arme los conjuntos de las abrazaderas y los apilamientos de los elementos de sujeción.
ADVERTENCIA
El lado abocinado de las arandelas Belleville (cónicas) debe estar colocado uno frente al otro y atrapar las piezas de soporte del soporte del parabrisas en cada punto de montaje. No orientar las arandelas correctamente puede reducir la capacidad del parabrisas para separarse durante una colisión, lo que podría causar la muerte o lesiones graves. (00422b)
4. Una abrazadera a la vez, con la abrazadera hacia arriba y en el lado interior de la pieza de soporte del parabrisas (2), apriete los pernos con reborde (1), lo suficiente como para mantener la orientación de la abrazadera durante el montaje del parabrisas en la motocicleta. Los pernos se apretarán completamente después.
Figura 11. Piezas de soporte de montaje del parabrisas
1Perno con reborde
2Soporte derecho del parabrisas
3Arandela de copa
4Arandelas Belleville (lados cóncavos orientados uno hacia el otro con la pieza de soporte del parabrisas en medio)
Figura 12. Abrazadera de montaje del parabrisas
Instale el parabrisas
NOTA
Mantenga la rueda delantera recta para evitar que las piezas de soporte rayen el tanque de combustible.
1. Asegúrese de que las cuatro abrazaderas estén en la posición “abierta”, luego coloque el parabrisas (con el lado de las abrazaderas alejadas de usted) en la parte delantera de la motocicleta.
NOTA
El parabrisas Lexan® es bastante flexible y se puede doblar para extender las abrazaderas y alejarlas del faro delantero para facilitar la instalación en la moto. Tenga cuidado de no rayar la caja del faro delantero con las abrazaderas al colocar el parabrisas en los deslizadores de la horquilla.
2. Parado con un pie a cada lado del guardabarros delantero, compruebe para garantizar que los cables del acelerador de su lado izquierdo estén colocados entre el par de abrazaderas (viendo hacia la parte delantera de la motocicleta, sujetando el parabrisas) y que no queden comprimidos por los parabrisas. Centre el parabrisas alrededor del faro delantero y asiente las abrazaderas sobre los deslizadores de la horquilla.
ADVERTENCIA
La compresión de los cables del acelerador puede restringir la respuesta del acelerador lo que podría causar la pérdida de control, la muerte o lesiones graves. (00423b)
3. Empezando en la parte inferior (cualquier lado) con los pernos con reborde enroscados sin apretarlos, cierre cada abrazadera, observando que las abrazaderas se autoalineen con los deslizadores de la horquilla y entre sí.
NOTA
No apriete los pernos con reborde más que el par de torsión recomendado. Apretarlos excesivamente puede causar que la abrazadera se tuerza en el deslizador de la horquilla lo que puede causar que ceda la mordaza de la abrazadera.
4. Asegúrese de que la porción del reborde de los pernos con reborde esté completamente asentada en cada ubicación de las piezas de soporte del parabrisas. Apriete cada perno con reborde a 6,7 Nm·(60 lb-pulg.).
NOTA
Si hay interferencia, ajuste el parabrisas lo necesario hasta obtener el espacio libre correcto. Asegúrese de que el personal de servicio de Harley-Davidson con experiencia corrija cualquier problema antes de conducir con este accesorio instalado.
Desmontaje y almacenaje del parabrisas
Para quitar el parabrisas, abra las cuatro abrazaderas en cualquier secuencia e invierta los procedimientos de instalación que están en los pasos 3 y 4 del subtema Instalación del parabrisas. Tenga cuidado de no rayar la caja del faro delantero ni el tanque de combustible como se indicó durante la instalación.
Cuando almacene el parabrisas, colóquelo en un lugar donde las abrazaderas del parabrisas tengan la mayor protección. Aléjelo de las ubicaciones en las que el parabrisas se pueda golpear o caer. No apile nada sobre el conjunto.
Antes de la reinstalación después de cualquier período de almacenamiento, inspeccione las abrazaderas y los elementos de sujeción para asegurarse de que la precarga y limpieza de los sujetadores sean las correctas. Cada abrazadera debe tener un par de juntas de caucho en el riel de la abrazadera que acople con el deslizador de la horquilla y debe permitir que abra y cierre libremente.
CUIDADO Y LIMPIEZA
NOTA
El reflejo de la luz solar desde la superficie interior del parabrisas puede causar la acumulación excesiva de calor en los instrumentos de la motocicleta. Tenga cuidado cuando se estacione. Estaciónese hacia el sol, coloque algún objeto opaco sobre los instrumentos o ajuste el parabrisas para evitar los reflejos.
AVISO
Los parabrisas Harley-Davidson son fabricados de Lexan. Lexan es un material más durable y resistente a la deformación que otros tipos de materiales para parabrisas de motocicletas, pero también requiere de atención y cuidado para su mantenimiento. El mantenimiento incorrecto del Lexan puede causar daño al parabrisas. (00230b)
  • No limpie el policarbonato Lexan® bajo el sol o a temperatura alta. Los limpiadores en polvo, abrasivos o alcalinos dañan el parabrisas. Nunca raspe el parabrisas con una hoja de afeitar ni otros instrumentos afilados porque pueden causar daños permanentes.
AVISO
En los parabrisas Harley-Davidson debe utilizar solamente productos recomendados Harley-Davidson. No utilice sustancias químicas fuertes ni productos protectores contra la lluvia, que pueden causar daños, tales como opacidad o empañamiento, a la superficie del parabrisas. (00231c)
AVISO
No use bencina, diluyente de pintura, gasolina ni ningún otro tipo de limpiador abrasivo en el parabrisas. Hacerlo dañará las superficie del parabrisas. (00232c)
  • No use bencina, diluyente de pintura, gasolina, lubricantes (incluyendo Armorall®), ni otros agentes limpiadores en los bujes de caucho. Hacerlo dañará las superficies de los bujes.
NOTA
Cubra el parabrisas con un trapo limpio y mojado durante 15 minutos aproximadamente, antes de lavarlo, para quitar los insectos secos con mayor facilidad.
PIEZAS DE SERVICIO
Figura 13. Piezas de servicio: Parabrisas Touring
Tabla 2. Piezas de servicio: Parabrisas Touring
Artículo
Descripción (cantidad)
Número de pieza
1
Conjunto de abrazaderas, 39 mm (4)
57400465
2
Kit, elementos de sujeción de montaje del parabrisas (4)
58790-04
3
Tornillo de cabeza troncocónica de máquina especial (2)
2452
4
Tornillo de cabeza troncocónica de máquina especial (7)
2921A
5
Tuerca, ciega N.° 12 (9)
7651
6
Almohadilla, adhesivo EPDM (un lado) (2)
57036-08
7
Arandela, soporte del parabrisas (4)
58152-96
8
Pieza de soporte, parabrisas
58517-08
9
Pieza de soporte, parabrisas
58518-08
10
Forma de alambre, cables del acelerador
58558-97
11
Parabrisas de servicio, touring desmontable (incluye los artículos 7, 13 y 16)
58571-96
12
Cinta decorativa, vertical
58575-96
13
Cinta decorativa, vertical
58576-96
14
Cinta exterior, horizontal
58577-96
15
Cinta interior, horizontal
58578-96
16
Cinta, horizontal (2)
58582-96
17
Arandela, plana cromada
94066-90T
18
Junta, abrazadera
58791-04
Figura 14. Piezas de servicio: de liberación rápida
Tabla 3. Piezas de servicio: Parabrisas Touring
Artículo
Descripción (cantidad)
Número de pieza
1
Conjunto de abrazaderas, 39 mm (4)
57400465
2
Kit, elementos de sujeción de montaje del parabrisas (4)
58790-04
3
Arandela, plana tipo A (4)
6352
4
Pieza de soporte, parabrisas desmontable modelos de 39 mm
57820-08
5
Pieza de soporte, parabrisas desmontable modelos de 39 mm
57823-08
6
Parabrisas de servicio, 39 mm deportivo desmontable (incluye el artículo 7)
57883-08
7
Arandela, soporte del parabrisas (8)
57964-97
8
Tuerca, ciega 1/4-20 (4)
94007-90T
9
Tornillo, cabeza de botón con parche de seguridad (4)
94639-99
10
Forma de alambre, cables del acelerador
58558-97
11
Arandela
94066-90T
12
Junta, abrazadera
58791-04