EEMALDATAV TUULEKLAASI KOMPLEKT
J045012021-04-27
ÜLDOSA
Komplekti number
58158-08 ja 57838-08
Mudelid
Mudeli sobivuse infot vaadake P&A jaemüügikataloogist või osade ja tarvikute jaotisest veebilehel www.harley-davidson.com (ainult inglise keeles).
Tabel 1. Komplektid
Komplekti nr
Kirjeldus
58158-08
Touringu tuuleklaas
57838-08
Super Sport tuuleklaas
Komplekti sisu
PAIGALDAMINE
HOIATUS!
Juhi ja kaassõitja turvalisus oleneb sellest, kas komplekt on õigesti paigaldatud. Kui protseduur pole teile jõukohane või teil puuduvad õiged tööriistad, laske paigaldada Harley-Davidson®-i edasimüüjal. Selle komplekti vale paigaldamine võib põhjustada surma või raskeid vigastusi. (00308b)
HOIATUS!
Sõiduki juhusliku käivitumise vältimiseks, mis võib põhjustada surma või raskeid vigastusi, eemaldage enne jätkamist negatiivse märgiga (–) akukaabel. (00048a)
MÄRKUS.
Kriimustamise vältimiseks katke eesmine poritiib ja kütusepaagi esiosa puhta poest pärit rätikuga. See võib kahjustada viimistlust.
Siduritrossi teisaldamine
Ainult XL Custom ja FXLR mudelid: teisaldage siduritross, mis asub nüüd ülemise kahvliklambri taga, juhtraua ees, järgmiselt:
  1. Liigutage siduritross algsest asendist kahvli ülemise klambri tagumise vasaku külje taha. Reguleerige lõtvust, nii kahvli klambri kohal kui ka all, kaabli parima asendi jaoks.
  2. Vajadusel seadke siduritrossi kinnitusrihmad raami allatoru ümber, et siduritross saaks vabalt liikuda, kui juhtraud pöörata täielikult vasakule ja paremale, kahvli lukustuseni. Kinnitamiseks liigutage käsihooba mitu korda.
Kõik mudelid, v.a XL ja FXLR: paigutage siduritross juhtraua sisemusse järgmiselt:
1. Vt Joonis 1 . Lükake kummist lehter (1) siduritrossi regulaatorilt (2) maha. Regulaator asub umbes poolel teel mööda siduritrossi piki esiraami allatoru.
1Kummist lehter
2Trossi regulaator
3Kontramutter
4Trossi ots
Joonis 1. Siduritrossi regulaator
2. Hoides trossi regulaatorit 1/2-tollise mutrivõtmega, keerake lahti kontramutter (3) 9/16-tollise mutrivõtmega. Lükake kontramutter kaabli regulaatorist eemale. Liigutage regulaatorit kontramutri suunas, et käsihooba saaks vabalt liigutada.
3. Eemaldage kinnitusrõngas sidurikangi kinnituskonksu allosas asuvalt pöördenõela soonelt ja eemaldage pöördnõel.
4. Eemaldage siduri käsihoob klambrist. Vajadusel kasutage T27 Torx ® kruvikeerajaotsakut, et eemaldada kahe lameseibiga kruvi, mis kinnitavad sidurihoova juhtraua klambri külge.
5. Vt Joonis 2 . Suunake siduritross juhtraua sisemusse.
Joonis 2. Uus siduritrossi paigutus
6. Sisestage sidurihoob hoovaklambri soonde, paigaldades trossi korpuse otsas oleva hülsi klambri sisekülje auku.
7. Kui see on eemaldatud, kinnitage sidurihoova kinnitus Torx ® -i kruvidega juhtraua klambri külge. Alustades ülemisest kruvist, pingutage momendiga 60-80 in-lbs (6,8-9,0 Nm).
8. Vt Joonis 1 . Pöörake trossi regulaator kontramutrist eemale, kuni käsihoob pole enam lõdvalt. Liikumisvabaduse mõõtmiseks tõmmake siduritrossi otsatükki sidurihoova klambrist eemale.
9. Vt Joonis 3 . Hoidke regulaatorit 1/2-tollise mutrivõtmega ja kasutage 9/16-tollist mutrivõtit kontramutri pingutamiseks trossi regulaatori vastu. Katke trossi reguleerimismehhanism kummist lehtriga.
10. Vajadusel seadke siduritrossi kinnitusrihmad raami allatoru ümber, et siduritross saaks vabalt liikuda, kui juhtraud pöörata täielikult vasakule ja paremale, kahvli lukustuseni. Kinnitamiseks liigutage käsihooba mitu korda.
Joonis 3. Siduritrossi vaba liikumine 1,6-3,2 mm
HOIATUS!
Pärast sidurikaabli ümberpaigutamist kontrollige, et sidurihoob avaneks ja sulguks sujuvalt, kui juhtrauda keeratakse täielikult vasakule või paremale. Sidurihoova aeglane reageerimine võib põhjustada juhitavuse kaotamise, surma või raskeid vigastusi. (00424d)
HOIATUS!
Veenduge, et roolida saaks sujuvalt ja vabalt ning ilma takistusteta. Häired roolimisel võivad põhjustada juhitavuse kadumist ja surma või raskeid vigastusi. (00371a)
  • Veenduge, et juhtraua pööramine vasakusse või paremasse lõppasendisse ei sikutaks sidurikaableid.
MÄRKUS.
See on vajalik gaasikäepideme ja tühikäigu kaablite teisaldamiseks. (Vt Ahendamise ja kaabli marsruutimise alamteema.)
Gaasi- ja tühikäigutrossi paigutamine
HOIATUS!
Veenduge, et roolida saaks sujuvalt ja vabalt ning ilma takistusteta. Häired roolimisel võivad põhjustada juhitavuse kadumist ja surma või raskeid vigastusi. (00371a)
  • Veenduge, et juhtraua pööramine vasakusse või paremasse lõppasendisse ei sikutaks gaasi- / tühikäigu juhttrosse.
  • Veenduge, et juhtmetel ja trossidel puuduks roolikanni kahvlite lõpppunktis takistus nii, et neid ei muljutaks, kui kahvlit pööratakse vastu lõppasendeid.
  • Vt Joonis 4 . Kasutage komplektist trossi ja seibi.
1Tross 58558-97
2Seib 94066-90T
3Originaalvarustuse lameseib
4Originaalvarustuse kruvi
Joonis 4. Gaasitrossi regulaatori tarvik
Sportsteri mudelid
Viige juhttrossid parempoolse suunatule vasakust küljest mööda. Seejärel tooge tagasi esitule ja parema kahvli toru vahelt. Suunake tahapoole, bensiinipaagi alla ja kinnitage süüteluku all klambriga, seejärel edasi allapoole, karburaatorini.
Dyna mudelid
FXD, FXDX, FXDS-Conv mudelid: vt Joonis 5 . Vedage gaasi- ja tühikäigutrossid esitule ja parema kahvlitoru vahelt, seejärel paagi parema külje alt karburaatorini.
FXDL mudelid: vt Joonis 6 . Vedage gaasi- ja tühikäigutrossid väljaspoolt (paremat) esikahvlit.
Joonis 5. Trossi paigutamine (FXD, FXDX ja FXDS-Conv mudelid)
Joonis 6. Trossi paigutamine (FXDL mudelid)
Olemasoleva gaasi- ja tühikäigutrossi eemaldamine
TEADE
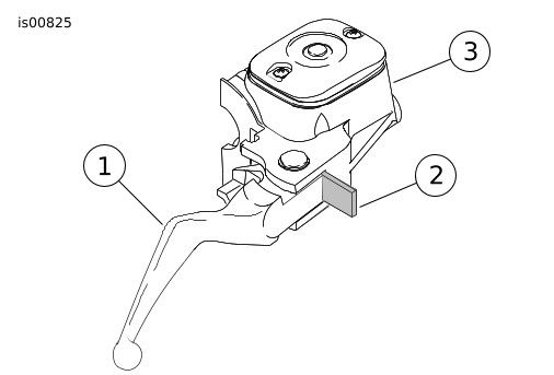
Ärge eemaldage ega paigaldage peasilindri koostu enne, kui olete pidurihoova ja hoova haagi vahele paigaldanud 4 mm (5/32/tolli) paksuse inserdi. Peasilindri eemaldamine või paigaldamine ilma inserdi paigaldamiseta võib kahjustada kummikaitset ja eesmise piduritule lüliti kolbi. (00324a)
1. Vt Joonis 7 . Seadke papist sisestusosa pidurihoova ja hoovaklambri vahele.
2. Vt Joonis 8 . Vabastage trossi regulaatori kontramutrid. Keerake trossi regulaatoreid sisse, kuni need on võimalikult lühikesed. See annab piisavalt lõtvust hõlpsaks eemaldamiseks.
3. T25 Torx ® kruvikeerajaotsiku abil eemaldage parema ülemise ja alumise lülitikorpuse kruvid.
1Pidurihoob
2Papp, 5/32 tolli
3Pidurihoova klamber
Joonis 7. Papist sisestusosa paigaldamine
1Regulaatori kontramutter (2)
2Tühikäigutrossi regulaator
3Gaasitrossi regulaator
4Alumine lüliti korpus
5Ülemine lüliti korpus
Joonis 8. Juhtraua gaasi juhtseadis
4. Kasutades T27 Torx ® kruvikeerajaotsakut, keerake lahti ülemine kruvi, mis kinnitab juhtraua klambri peasilindri korpuse külge. Eemaldage alumine kinnituskruvi ja lameseib.
MÄRKUS.
Võimaluse korral jätke hõõrdekate oma kohale. Hõõrdekate on lõdvalt ja võib alumise lülitikorpuse tagurpidi pööramisel või seda raputades välja kukkuda või lahti tulla.
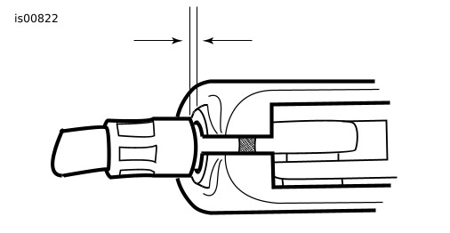
5. Vt Joonis 9 . Eemaldage messingist otsatükid gaasihoovastiku sõidukipoolsel küljel olevatest pesadest. Eemaldage otsatükid trossi otsaliitmikest.
6. Tõmmake pressitud sisetükid, gaasi- ja tühikäigu juhttrossi korpuste lõpus, alumisest lülitikorpusest välja. Parimate tulemuste saavutamiseks liigutage tõmbamise ajal edasi-tagasi. Eemaldage lülitikorpusest kinnitusrõngastega trossid. Vajadusel kandke kinnitusrõngale tilk kergetoimelist õli, mis aitab eemaldada.
MÄRKUS.
Kui teil on (või olete paigaldamas) erinevad juhtrauad, mõõtke trossikorpuse otsast gaasihoovani vajaliku kauguse muutust. Võrrelge nõutavat lisapikkust komplektis olevate trossidega.
Kui trossid on mõõdetud vahemaast rohkem kui 50,8 mm pikem või rohkem kui 25,4 mm lühem, küsige Harley-Davidsoni edasimüüjalt lisateavet sobiva trossi pikkuse kohta.
1Gaasitross
2Mügar
3Tühikäigutross
4Messingist otsatükk
Joonis 9. Gaasi- / tühikäigu juhttrossid
Gaasi- / tühikäigu trosside paigaldamine
1. Vt Joonis 9 . Kandke grafiiti kergelt gaasihoovale lüliti korpuses ja juhtraua gaasihoova otsas.
MÄRKUS.
Gaasitrossil on kaabli otsa külge pressitud suurema läbimõõduga kinnitusrõngas kui tühikäigu trossil.
Paigaldamiseks kandke kokkusurutud sisetükkide kinnitusrõngastele tilk kerget õli.
2. Vt Joonis 10. Lükake gaasitrossi korpus ja kinnitusrõngas lülituskorpuse suuremasse auku, mis asub pingutusregulaatori kruvi ees.
3. Lükake tühikäigutrossi korpus ja kinnitusrõngas lülitikorpuse väiksemasse auku, mis asub pingutusregulaatori kruvi taga.
4. Lükake gaasi- ja tühikäigutrossi korpused alumisse lülitikorpusesse, kuni mõlemad klõpsatavad oma kohale.
MÄRKUS.
Kui hõõrdekate on välja kukkunud või lahti tulnud, paigaldage katte nõgus külg ülespoole ja suunake nii, et tihvtiava oleks reguleerimiskruvi kohal.
5. Lükake gaasi juhthoob üle parema juhtraua otsa, kuni see jääb vastu kinnist otsa. Pöörake käsihooba, kuni otsatüki sälgud on üleval. Sidumise vältimiseks tõmmake käepidet umbes 3,2 mm tagasi.
1Tühikäigutrossi kinnitusrõngas
2Gaasitrossi kinnitusrõngas
3Alumine lüliti korpus
Joonis 10. Trosside paigaldamine madalamale lülitikorpusele
6. Vt Joonis 9 . Seadke alumine lüliti korpus gaasihoova käepideme alla. Paigaldage komplektist kaks messingist otsatükki (56508-76) trossidele, seades otsatükid oma vastavatesse pesadesse gaasihoova käepidemel. Trossid tuleb kinnitada käepideme vormitud soontesse.
7. Paigutage ülemise lüliti korpus üle juhtraua ja alumise lüliti korpuse. Viige juhtmestik juhtraua all olevast süvendatud alast läbi.
8. Kinnitage lõdvalt ülemised ja alumised lülitikorpuse kruvid.
9. Seadke pidurihoova / peasilindri komplekt lülitikorpuse sisemusse nii, et alumise lülitikorpuse sakk oleks pidurihoova klambri ülaosas asuvas soones.
10. Joondage juhtraua klambri augud peasilindri korpuses olevate avadega ja kinnitage alumine kruvi ja lameseib lõdvalt. Seadke sõitja jaoks mugavalt. Alustades ülemisest kruvist, pingutage kruvid momendiga 60-80 in-lbs (6,8-9,0 Nm), kasutades T27 Torx ® kruvikeerajaotsikut.
11. Keerake alumise ja ülemise lülitikorpuse kruvid pöördemomendiga 35-45 in-lbs (4-5 Nm).
MÄRKUS.
Pingutage alati alumise lülitikorpuse kruvi kõigepealt nii, et ülemise ja alumise korpuse vaheline vahe oleks lülituskoostu ees.
12. Reguleerige gaasi- ja tühikäigutrosse vastavalt hooldusjuhendi juhistele.
HOIATUS!
Veenduge, et roolida saaks sujuvalt ja vabalt ning ilma takistusteta. Häired roolimisel võivad põhjustada juhitavuse kadumist ja surma või raskeid vigastusi. (00371a)
13. Eemaldage papist sisestusosa pidurihoova ja hoovaklambri vahelt.
  • Juhtmed ei tohi jääda esitulede kinnitite taha kinni ega jääda esitule ette.
  • Juhtmed ei tohi jääda suunatulede kinnitite ega suunatulede enda taha kinni.
  • Juhtmed ei tohi jääda kütusekorgi ega kütusenäidiku taha kinni.
  • Juhtmed ei tohiksjääda spidomeetri ega tahhomeetri taha kinni.
  • Veenduge, et juhtmed pole raami ja/või kahvli osade vahele muljutud.
  • Veenduge, et juhtraua pööramine vasakusse või paremasse lõppasendisse ei sikutaks sidurikaableid.
HOIATUS!
Ühendage esmalt aku positiivne (+) kaabel. Kui positiivne (+) kaabel puutub maandusega kokku siis, kui negatiivne (-) kaabel on ühendatud, võivad sellest tulenevad sädemed põhjustada aku plahvatamise, mis võib omakorda põhjustada surma või raskete vigastustega lõppeva õnnetuse. (00068a)
  1. Ühendage akukaablid, alustades positiivsest (+) kaablist.
Pange klambrid tuuleklaasile
1. Vt Joonis 11 . Eemaldage pakkimise eesmärgil tuuleklaasi alamkoost ja asetage see esiots allapoole puhtale pehmele pinnale, kinnitushaagid peavad jääma üles.
2. Vt jaotist Joonis 13 või Joonis 14 . Eemaldage pakendist nii kinniti kui ka paigaldusosade komplektid ja eraldage sarnased osad kokkupanemise ettevalmistamiseks.
3. Vt Joonis 12 . Pange klambrite koostud ja riistvara kokku.
HOIATUS!
Belleville’i (koonuse) seibide kausikujulised pooled peavad olema vastastikku ja igal ühenduskohal peavad nende vahel olema esiklaasi kinnitusklambrid. Suutmatus seibe õigesti joondada võib vähendada esiklaasi võimet kokkupõrke korral lahti murda, mis võib põhjustada surma või raskeid vigastusi. (00422b)
4. Klamber suunaga üles ja tuuleklaasi haagi (2) sisepoolel, kinnitage poolkeermega polte (1) ühe klambri kaupa piisavalt, et hoida tuuleklaasi paigaldamisel klambri suunda tuuleklaasi suhtes. Poldid kinnitatakse täielikult hiljem.
Joonis 11. Tuuleklaasi kinnitamise haagid
1Poolkeermega polt
2Parempoolne tuuleklaasi haak
3Koonusjas seib
4Belleville’i seibid (koonusjad küljed on üksteisega vastamisi, mille vahel on tuuleklaasi haak)
Joonis 12. Tuuleklaasi kinnitamise klamber
Tuuleklaasi paigaldamine
MÄRKUS.
Hoidke esiratast sirgelt, et haagid ei kraabiks kütusepaaki.
1. Veenduge, et kõik neli klambrit on n-ö avatud asendis, seejärel tooge tuuleklaas (klambri pool teist eemal) mootorratta ette.
MÄRKUS.
Lexan ® -i tuuleklaas on küllaltki paindlik ja seda võib painutada, et mootorrattale paigaldamise lihtsustamiseks jaotada klambrid esitulest eemale. Olge ettevaatlik, et tuuleklaasi kahvli liugurite abil paika panemisel mitte kriimustada esitule korpust.
2. Võtke poritiib kahvlisse ja kontrollige, kas gaasitrossid on asetatud vasakul olevate klambrite vahele (vaadates mootorratta poole, hoides tuuleklaasi) ja et klambrid ei pigistaks neid. Sättige tuuleklaas esitule ümber ja paigutage klambrid kahvli liuguritele.
HOIATUS!
Pigistatud gaasikaablid võivad piirata gaasitundlikust, mis võib põhjustada juhitavuse kaotamist ja surma või tõsiseid vigastusi. (00423b)
3. Alustades altpoolt (mõlemalt poolt) lõdvalt keeratud poolkeermega poltidega, sulgege klambrid, veendudes et klambrid joonduvad kahvli liugurite ja üksteisega.
MÄRKUS.
Ärge pingutage poolkeermega polte üle soovitusliku pöördemomendi. Ülepingutamine võib klambri pöörata vastu kahvli liugurit, painutades klambri otsa.
4. Veenduge, et poolkeermega poltide õlad istuksid täielikult igas tuuleklaasi haagis. Keerake iga poolkeermega polt pöördemomendiga kuni 60 in-lbs (6,7 Nm).
MÄRKUS.
Kui esineb takistus, reguleerige tuuleklaasi vastavalt vajadusele sobiliku kauguse saavutamiseks. Enne antud tarvikuga sõitmist laske kogenud Harley-Davidsoni hoolduspersonalil korrigeerida kõik probleemid.
Tuuleklaasi eemaldamine ja hoiustamine
Tuuleklaasi eemaldamiseks avage neli klambrit ükskõik, millises järjestuses ja teostage tuuleklaasi paigaldamise 3. ja 4. toiming vastupidises järjestuses. Olge ettevaatlik, et mitte esituld ega kütusepaaki kriimustada, nagu paigaldamise ajal märgiti.
Tuuleklaasi hoiustamisel asetage see kohta, kus tuuleklaasi klambrid on korralikult kaitstud. Hoiduge asukohtadest, kus tuuleklaas võib millegagi kokku puutuda või maha kukkuda. Ärge asetage midagi koostu peale.
Kontrollige klambreid ja riistvara enne uuesti paigaldamist pärast mis tahes hoiustamisaega kinniti eelpingutuse ja puhtuse osas. Igal klambril peab olema kummist tihendite paar klambrisadulas, mis ühendatakse kahvli liuguritega, ja see peab pöörama lahti ja kinni vabalt.
HOOLDAMINE JA PUHASTAMINE
MÄRKUS.
Päikesevalguse peegeldus tuuleklaasi sisepinnalt võib põhjustada mootorratta instrumentidele äärmuslikku kuumust. Olge parkimisel ettevaatlik. Parkige päikese suunas, asetage instrumentide peale matt ese või reguleerige tuuleklaasi peegelduste vältimiseks.
TEADE
Harley-Davidson®-i tuuleklaasid on valmistatud leksaanist. Leksaan on kestvam ja moonutustele paremini vastupidav kui mootorrataste muud tüüpi tuuleklaasimaterjalid, kuid see vajab siiski tähelepanu ja hoolt. Leksaani vale hooldamine võib tuuleklaase kahjustada. (00230b)
  • Ärge puhastage Lexan ® -i polükarbonaadi kuuma päikese käes või kõrgel temperatuuril. Pulbriline, abrasiivne või leeliseline puhasti kahjustab tuuleklaasi. Ärge kunagi kraapige tuuleklaasi žiletitera ega muu terava esemega, kuna see võib põhjustada püsivat kahju.
TEADE
Kasutage Harley-Davidsoni tuuleklaasidel ainult Harley-Davidsoni soovitatud tooteid. Ärge kasutage tugevatoimelisi kemikaale või vihmavastaseid vahendeid, mis võivad tuuleklaasi pinda kahjustada, nt põhjustada tuhmumist või hägustumist. (00231c)
TEADE
Ärge kasutage tuuleklaasil bensiini, lahustit, mootoribensiini või mis tahes tüüpi tugevatoimelist puhastusvahendit. See kahjustab tuuleklaasi pinda. (00232c)
  • Ärge kasutage kummipuksidel benseeni, värvilahustit, bensiini, määrdeid (sh Armorall ® ) ega muid puhastusvahendeid. See kahjustab puksi pinda.
MÄRKUS.
Tuuleklaasi katmine puhta, märja riidega umbes 15 minutiks enne pesu muudab putukate eemaldamise lihtsamaks.
HOOLDATAVAD OSAD
Joonis 13. Hooldatavad osad: Touringu tuuleklaas
Tabel 2. Hooldatavad osad: Touringu tuuleklaas
Üksus
Kirjeldus (kogus)
Tootenumber
1
Klambri koost, 39 mm (4)
57400465
2
Komplekt, tuuleklaasi kinnitusosad (4)
58790-04
3
Ümarpeaga masinakruvid (2)
2452
4
Ümarpeaga masinakruvid (7)
2921A
5
Kübarmutter nr 12 (9)
7651
6
Padjand, EPDM liimiga (ühel küljel) (2)
57036-08
7
Seib, tuuleklaasi kinnitus (4)
58152-96
8
Tuuleklaasi haak
58517-08
9
Tuuleklaasi haak
58518-08
10
Gaasitrossid
58558-97
11
Tuuleklaasi hoolduskomplekt, Touring, eemaldatav (sisaldab osi 7, 13 ja 16)
58571-96
12
Iluliist, vertikaalne
58575-96
13
Iluliist, vertikaalne
58576-96
14
Välimine iluliist, horisontaalne
58577-96
15
Sisemine iluliist, horisontaalne
58578-96
16
Teip, horisontaalne (2)
58582-96
17
Seib, lame, kroom
94066-90T
18
Tihend, klamber
58791-04
Joonis 14. Hooldatavad osad: Super Sport tuuleklaas
Tabel 3. Hooldatavad osad: Touringu tuuleklaas
Üksus
Kirjeldus (kogus)
Tootenumber
1
Klambri koost, 39 mm (4)
57400465
2
Komplekt, tuuleklaasi kinnitusosad (4)
58790-04
3
Seib, tavaline, tüüp A (4)
6352
4
Klamber, eemaldatava tuuleklaasiga 39 mm mudelid
57820-08
5
Klamber, eemaldatava tuuleklaasiga 39 mm mudelid
57823-08
6
Tuuleklaasi hoolduskomplekt, 39 mm, Sport eemaldatav (sisaldab osa 7)
57883-08
7
Seib, tuuleklaasi kinnitus (8)
57964-97
8
Kübarmutter 1/4–20 (4)
94007-90T
9
Kruvi, nööppeaga, koos lukustusribaga (4)
94639-99
10
Gaasitrossid
58558-97
11
Seib
94066-90T
12
Tihend, klamber
58791-04