MGA KIT NG NATATANGGAL NA WINDSHIELD
J045012021-04-27
PANGKALAHATAN
Numero ng Kit
58158-08 at 57838-08
Mga Modelo
Para sa impormasyon ukol sa fitment ng modelo, pakitingnan ang Retail na Katalogo ng P&A o ang seksyon ng Mga Piyesa at Accessory ng www.harley-davidson.com (Ingles lamang).
Talahanayan 1. Mga Kit
Blg. ng Kit
Paglalarawan
58158-08
Touring Windshield
57838-08
Super Sport Windshield
Mga Nilalaman ng Kit
PAGKAKABIT
BABALA
Ang kaligtasan ng nagmamaneho at pasahero ay nakasalalay sa tamang pag-i-install ng kit na ito. Kung ang pamamaraan ay hindi abot ng iyong kakayahan o wala kang mga angkop na kasangkapan, ipagawa sa isang dealer ng Harley-Davidson ang pag-i-install. Ang maling pag-i-install ng kit na ito ay maaaring magresulta sa kamatayan o malubhang pinsala. (00308b)
BABALA
Upang maiwasan ang aksidenteng pag-andar ng sasakyan, na maaaring magdulot ng kamatayan o malubhang pinsala, alisin ang pagkakakonekta ng negatibong (-) kable ng baterya bago magpatuloy. (00048a)
TALA
Takpan ang harapang fender at tangke ng gasolina gamit ang malinis na tuwalya upang maiwasan ang pagkagasgas. Maaaring masira ang pintura.
Ilipat ang Kable ng Clutch
Para sa XL Custom o FXLR na mga modelo lamang: Ilipat ang kable ng clutch, na kasalukuyang nakakabit sa likod ng pang-itaas na fork bracket, sa harap ng mga handlebar tulad ng sumusunod:
  1. Ilipat ang kable ng clutch mula sa inisyal na posisyon nito hanggang sa likod ng likurang kaliwang bahagi ng pang-itaas na fork bracket. I-adjust ang slack, sa parehong itaas at ibaba ng fork bracket, sa pinakamainam na maiposisyon ang kable.
  2. Kung kinakailangan, iposisyong muli ang mga pangmount na tie ng kable ng clutch na nakakabit sa frame downtube upang hayaan ang kable ng clutch na makagalaw nang malaya kapag iniliko nang ganap ang mga handlebar mula sa kaliwa hanggang sa kanang mga fork lock. I-siklo ang hand lever nang ilang beses upang makumpirma.
Para sa lahat ng mga modelo maliban sa XL Custom o FXLR: Ilipat ang kable ng clutch sa loob ng mga handlebar tulad ng sumusunod:
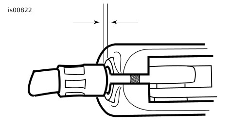
1. Tingnan ang Figure 1 . I-slide ang gomang boot (1) mula sa adjuster ng kable ng clutch (2). Ang adjuster ay makikita nang kalagitnaan ng kable ng clutch sa harapang frame downtube.
1Rubber boot
2Adjuster ng kable
3Jam nut
4Dulo ng kable
Figure 1. Adjuster ng Kable ng Clutch
2. Habang hawak ang adjuster ng kable gamit ang isang 1/2 pulgada na liyabe, luwagan ang jam nut (3) gamit ang isang 9/16 pulgada na liyabe. Ilayo ang jam nut mula sa adjuster ng kable. Ilipat ang adjuster patungo sa jam nit upang magkaroon ng free play sa hand lever.
3. Tanggalin ang retaining ring mula sa pivot pin groove sa ilalim ng clutch lever bracket, at tanggalin ang pivot pin.
4. Tanggalin ang clutch hand lever mula sa bracket. Kung kinakailangan, gumamit ng isang T27 Torx ® drive head upang tanggalin ang dalawang mga turnilyo na may mga flat washer habang nananatili ang clutch lever bracket sa handlebar clamp.
5. Tingnan ang Figure 2 . Irutang muli ang kable ng clutch sa loob ng mga handlebar.
Figure 2. Bagong Pagruruta ng Kable ng Clutch
6. Ipasok ang clutch lever sa lever bracket groove, fitting sleeve sa dulo ng housing ng kable patungo sa bore na nasa inboard na bahagi ng bracket.
7. Kung tinanggal, ikabit nang maigi ang bracket ng clutch lever sa clamp ng handlebar gamit ang mga Torx ® na turnilyo. Simula sa itaas na turnilyo, higpitan sa 60-80 pulgada-lbs (6.8-9.0 Nm).
8. Tingnan ang Figure 1 . Ipihit ang adjuster ng kable palayo mula sa jam nut hanggang ang slack ay nawala sa hand lever. Hilahin ang clutch cable ferrule palayo mula sa bracket ng clutch lever upang masukat ang free play.
9. Tingnan ang Figure 3 . Hawakan ang adjuster gamit ng isang 1/2 pulgada na liyabe, at gumamit ng isang 9/16 pulgada na liyabe upang higpitan ang jam nut laban sa adjuster ng kable. Takpan ang mekanismo ng adjuster ng kable gamit ang gomang boot.
10. Kung kinakailangan, iposisyong muli ang mga pangmount na tie ng kable ng clutch na nakakabit sa frame downtube upang hayaan ang kable ng clutch na makagalaw nang malaya kapag iniliko nang ganap ang mga handlebar mula sa kaliwa hanggang sa kanang mga fork lock. I-siklo ang hand lever nang ilang beses upang makumpirma.
Figure 3. Free Play ng Kable ng Clutch, 1/16-1/8 pulgada (1.6-3.2 mm)
BABALA
Pagkatapos i-relocate ang clutch cable, tiyaking maayos na bubukas at sasara ang clutch hand lever kapag ang mga handlebar ay ganap na ipinihit pakaliwa o pakanan. Ang mabagal na pagtugon ng clutch lever ay maaaring magresulta sa pagkawala ng kontrol, kamatayan o malubhang pinsala. (00424d)
BABALA
Tiyaking dire-diretso at maluwag ang steering nang walang anumang pumipigil. Ang pagpigil sa steering ay maaaring magresulta sa pagkawala ng kontrol sa sasakyan at pagkamatay o malubhang pinsala. (00371a)
  • Tiyaking hindi nababanat ang mga kable ng clutch kapag ganap na iniliko ang mga handlebar tungo sa kaliwa at kanan na mga fork stop.
TALA
Maaaring kailanganing ilipat ang throttle/idle na mga kable. (Tingnan ang subtopic ng Pagruruta ng Throttle at Kable.)
Pagruruta ng Kable ng Throttle at Idle
BABALA
Tiyaking dire-diretso at maluwag ang steering nang walang anumang pumipigil. Ang pagpigil sa steering ay maaaring magresulta sa pagkawala ng kontrol sa sasakyan at pagkamatay o malubhang pinsala. (00371a)
  • Tiyaking hindi nababanat ang mga kable ng throttle/idle control kapag ganap na iniliko ang mga handlebar tungo sa kaliwa at kanan na mga fork stop.
  • Tiyakin na ang mga kable ay hindi sagabal sa mga fork stop sa steering head upang hindi maipit ang mga ito kapag ang fork ay iniliko sa mga stop.
  • Tingnan ang Figure 4 . Gumamit ng wireform at washer mula sa kit.
1Wireform 58558-97
2Washer 94066-90T
3Orihinal na kagamitan na flat washer
4Original na kagamitan na turnilyo
Figure 4. Attachment ng Kable ng Throttle
Mga Modelong Sportster
Iruta ang mga kable ng kontrol sa kaliwang bahagi ng kanang senyas sa pagliko. I-loop muli sa bahagi sa pagitan ng headlight at kanang fork tube. Iruta paatras sa ilalim ng tangke ng gasolina at ikabit sa clip sa ilalim ng switch ng ignisyon, pagkatapos ay pababa patungo sa karburador.
Mga Modelong Dyna
FXD, FXDX, FXDS-Conv na mga Modelo: Tingnan ang Figure 5 . Iruta ang mga kable ng throttle at idle sa pagitan ng headlamp at kanang harapang fork tube, pagkatapos ay sa ilalim ng kanang bahagi ng tangke patungo sa karburador.
FXDL na mga Modelo: Tingnan ang Figure 6 . Iruta ang mga kable ng throttle at idle sa labas (patungo sa kanan) ng mga harapang fork.
Figure 5. Pagruruta ng Kable (FXD, FXDX, at FXDS-Conv na mga Modelo)
Figure 6. Pagruruta ng Kable (FXDL na mga Modelo)
Pagtanggal ng Nakakabit na Kable ng Throttle/Idle
PAUNAWA
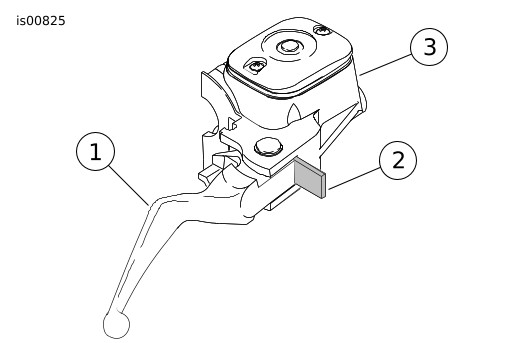
Huwag alisin o i-install ang master cylinder assembly nang hindi muna nagpoposisyon ng 5/32-inch (4 mm) na kapal ng insert sa pagitan ng brake lever at lever bracket. Ang pag-alis o pag-install ng master cylinder assembly nang ang wala pa sa lugar ang insert ay maaaring magresulta sa pinsala sa rubber boot at plunger sa switch ng front stoplight. (00324a)
1. Tingnan ang Figure 7 . Ilagay ang cardboard insert sa pagitan ng lever ng preno at bracket ng lever.
2. Tingnan ang Figure 8 . Luwagan ang mga jam nut ng adjuster ng kable. Iturnilyo ang mga adjuster ng kable hanggang ang mga ito ay maging pinakamaikli hangga’t maaari. Ito ay magbibigay ng sapat na slack para sa madaling pagtanggal.
3. Gamit ang isang T25 Torx ® drive head, tanggalin ang mga turnilyo ng kanang pang-itaas at pang-ibaba na switch housing.
1Lever ng preno
2Cardboard, 5/32 pulgada
3Bracket ng lever ng preno
Figure 7. Ikabit ang Cardboard Insert
1Adjuster jam nut (2)
2Adjuster ng kable ng idle
3Adjuster ng kable ng throttle
4Ibabang housing ng switch
5Itaas na housing ng switch
Figure 8. Throttle Control ng Handlebar
4. Gamit ang isang T27 Torx ® drive head, luwagan ang pang-itaas na turnilyo na nagkakabit sa clamp ng handlebar sa housing ng master cylinder. Alisin ang pang-ibabang turnilyo ng clamp na may flat washer.
TALA
Kung possible, hayaan na nasa puwesto ang friction shoe. Ang friction shoe ay maluwag na ikinabit ay maaaring mahulog o matanggal kung ang pang-ibabang switch housing ay binaliktad o niyugyog.
5. Tingnan ang Figure 9 . Tanggalin ang mga tansong ferrule mula sa mga notch sa inboard na bahagi ng kontrol grip ng throttle. Tanggalin ang mga ferrule mula sa mga fitting ng dulo ng kable.
6. Hilahin ang mga na-crimp na insert sa dulo ng mga housing ng kable ng throttle at idle control mula sa pang-ibaba na switch housing. Para sa pinakamahusay na resulta, gumamit ng pauga-uga na mosyon habang humihila. Tanggalin ang mga kable kasama ang mga retaining ring mula sa switch housing. Maglagay ng isang patak ng light na langis sa retaining ring, kung kinakailangan, upang makatulong sa pagtanggal.
TALA
Sa puntong ito, kung ikaw ay may (o nagkakabit ng) ibang handlebar, sukatin ang pagbabago ng distansya na kakailanganin mula sa dulo ng housing ng kable patungo sa throttle grip. Ikumpara ito sa karagdagang kinakailangang haba ng kable na kasama sa iyong kit.
Kung ang kable ay mahigit sa dalawang pulgada (50.8 mm) na mas mahaba o mahigit isang pulgada (25.4 mm) na mas maikli kaysa sa sinukat na distansya sa itaas, magpunta sa isang Harley-Davidson na dealer para sa tamang haba ng kable.
1Kable ng Throttle
2Notch
3Idle na kable
4Tanso na ferrule
Figure 9. Mga Kable ng Throttle/Idle Control
Pagkakabit ng Kable ng Throttle/Idle
1. Tingnan ang Figure 9 . Maglapat ng graphite nang kaunti sa throttle grip sa loob ng switch housing at sa throttle na dulo ng handlebar.
TALA
Ang kable ng throttle control ay may mas malaking dayametro na retaining ring na na-crimp sa dulo ng kable kaysa sa kable ng idle control.
Para sa assembly, maglagay ng isang patak ng light na langis sa mga retaining ring sa na-crimp na mga insert.
2. Tingnan ang Figure 10 . Idiin ang housing ng kable ng throttle at retaining ring sa mas malaking butas ng switch housing, na matatagpuan sa harapan ng tension adjuster na turnilyo.
3. Idiin ang housing ng kable ng throttle at retaining ring sa mas malaking butas ng switch housing, na matatagpuan sa harapan ng tension adjuster na turnilyo.
4. Idiin ang mga housing ng kable ng throttle at idle control sa pang-ibaba na switch housing hanggang ang bawat isa ay ma-snap sa puwesto.
TALA
Kung ang friction shoe ay nahulog o natanggal, ikabit ang shoe habang ang concave na bahagi ay nakaharap pataas at isaayos na ang butas ng pin ay nasa itaas ng punto ng adjuster na turnilyo.
5. Idiin ang throttle control grip sa dulo ng kanang handlebar hanggang ito ay nasa ilalim na ng saradong dulo. Ikutin ang grip hanggang ang mga ferrule notch ay nasa itaas. Upang maiwasan ang binding, hilahin ang grip pabalik ng humigit-kumulang 1/8 pulgada (3.2 mm).
1Idle na kable ng retaining ring
2Throttle na kable ng retaining ring
3Ibabang housing ng switch
Figure 10. Ikabit ang mga Kable sa Pang-ibaba na Switch Housing
6. Tingnan ang Figure 9 . Iposisyon ang pang-ibaba na switch housing sa ilalim ng throttle control grip. Ikabit ang dalawang tansong ferrule (56508-76) mula sa kit patungo sa mga kable, habang inilalagay ang mga ferrule sa kanilang kanya-kanyang mga notch sa throttle control grip. Ang mga kable ay dapat na mailagay sa mga groove na naka-molde sa grip.
7. Iposisyon ang pang-itaas na switch housing sa ibabaw ng handlebar at pang-ibabang switch housing. Iruta ang wire harness conduit patungo sa recessed na bahagi sa ibaba ng handlebar.
8. Maluwag na ikabit ang mga pang-itaas at pang-ibabang turnilyo ng switch housing.
9. Iposisyon ang lever ng preno/assembly ng master cylinder na nasa inboard ng assembly ng switch housing, i-engage ang tab sa pang-ibaba na switch housing sa groove sa itaas ng bracket ng lever ng preno.
10. Ihanay ang mga butas sa handlebar clamp kasama sa mga nasa master cylinder housing at maluwag na ikabit ang pang-ibabang turnilyo at flat washer. Iposisyon para sa kaginhawaan ng rider. Simula sa itaas na turnilyo, higpitan ang mga turnilyo ng 60-80 pulgada-lbs (6.8-9.0 Nm) gamit ang isang T27 Torx ® drive head.
11. I-torque ang pang-ibaba at pang-itaas na mga turnilyo ng switch housing sa 35-45 pulgada-lbs (4-5 Nm).
TALA
Laging unang higpitan ang pang-ibabang turnilyo ng switch housing upang ang anumang puwang sa pagitan ng pang-itaas at pang-ibabang mga housing ay nasa harapan ng switch assembly.
12. I-adjust ang mga kable ng throttle at idle ayon sa mga tagubilin ng Manwal ng Serbisyo.
BABALA
Tiyaking dire-diretso at maluwag ang steering nang walang anumang pumipigil. Ang pagpigil sa steering ay maaaring magresulta sa pagkawala ng kontrol sa sasakyan at pagkamatay o malubhang pinsala. (00371a)
13. Tanggalin ang cardboard insert sa pagitan ng lever ng preno at bracket ng lever.
  • Hindi dapat tumama ang mga kable sa hardware ng headlamp o dumaan sa harapan ng headlamp.
  • Hindi dapat tumama ang mga kable sa pangmount na hardware ng senyas sa pagliko o sa mga senyas sa pagliko.
  • Ang mga kable ay hindi dapat tumama sa takip ng gasolina o sa fuel gauge.
  • Ang mga kable ay hindi dapat tumama sa speedometer o tachometer.
  • Tiyaking ang mga kable ay hindi maipit sa pagitan ng frame at/o mga form.
  • Tiyaking hindi nababanat ang mga kable ng clutch kapag ganap na iniliko ang mga handlebar tungo sa kaliwa at kanan na mga fork stop.
BABALA
Ikonekta muna ang positibong (+) kable ng baterya. Kapag napadikit ang positibong (+) kable sa ground habang nakakonekta ang negatibong (-) kable, maaaring maging sanhi ng pagsabog ng baterya ang mga magreresultang pagsiklab, na maaaring magresulta sa kamatayan o malubhang pinsala. (00068a)
  1. Ikonekta ang mga kable ng baterya, unahin ang positibong (+) kable.
Buuin ang mga Clamp sa Winshield
1. Tingnan ang Figure 11 . Alisin ang windshield sub-assembly mula sa pagkakabalot nito at ilapag nang nakadapa sa isang malinis at malambot na surface, kung saan ang mga pangmount bracket ay nakaharap pataas.
2. Tingnan ang Figure 13 o Figure 14 . Alisin pareho ang clamp at hardware kit mula sa balot nito, at ihiwalay ang kahalintulad na mga parte bilang paghahanda sa pagbubuo nito.
3. Tingnan ang Figure 12 . Buuin ang mga clamp assembly at mga hardware stack.
BABALA
Ang cupped side ng Belleville (cone) na mga washer ay dapat nakaharap sa isa't isa at pinagigitnaan ang mga windshield mount bracket sa bawat mount point. Kapag hindi inilagay sa tamang paraan ang mga washer, maaaring mabawasan ang kakayahan ng windshield na mawasak sa isang banggaan, na maaaring magresulta sa kamatayan o malubhang pinsala. (00422b)
4. Paisa-isang clamp muna, nang nakatihaya pataas ang clamp at nasa inboard ng windshield bracket (2), higpitan nang sapat ang mga shoulder bolt (1) upang mahawakan ang oryentasyon ng clamp sa windshield habang ikinakabit ang windshield sa motorsiklo. Ang mga turnilyo ay hihigpitan nang husto sa ibang pagkakataon.
Figure 11. Mga Mounting Bracket sa Windshield
1Shoulder bolt
2Kanang windshield bracket
3Cup washer
4Mga Belleville washer (ang mga naka-cup na bahagi ay nakaharap sa isa’t isa habang ang windshield bracket ay nasa pagitan)
Figure 12. Mounting Clamp ng Windshield
Ikabit ang Windshield
TALA
Panatilihing diretso ang harapang gulong upang maiwasan ang paggasgas ng bracket sa tangke ng gasolina.
1. Siguruhin na ang lahat ng apat na clamp ay nasa “bukas” na posisyon, pagkatapos ay dalhin ang windshield (habang nakalayo sa iyo ang bahagi ng clamp) sa harapan ng motorsiklo.
TALA
Ang Lexan ® windshield ay bahagyang nababaluktot at pwedeng ibaluktot upang mailapat ang mga clamp palayo sa headlamp upang mapadali ang pagkakabit nito sa motorsiklo. Ingatan na huwag magasgas ang kinalalagyan ng headlamp ng mga clamp habang ipinupusisyon ang windshield sa mga fork slider.
2. I-straddle ang harapang fender at suriin upang matiyak na ang mga kable ng throttle ay nakaposisyon sa pagitan ng pares ng clamp sa iyong kaliwa (kung nakaharap sa motorsiklo, na humahawak sa windshield), at hindi maipit ng mga clamp. Igitna ang windshield sa paligid ng headlamp at i-upo ang mga clamp sa mga fork slider.
BABALA
Maaaring pigilan ng mga naipit na throttle cable ang pagtugon ng throttle, na maaaring magresulta sa pagkawala ng kontrol at kamatayan o malubhang pinsala. (00423b)
3. Simula sa ibaba (sa kahit anong panig) na maluwag na naka-thread ang mga shoulder bolt, isara ang bawat clamp, tandaan na hinahanay ng mga clamp ang sarili sa mga fork slider at sa isa’t isa.
TALA
Huwag higpitan ang mga shoulder bolt nang lagpas sa inirekomendang higpit. Ang sobrang paghihigpit ay maaaring maging dahilan upang tumabingi ang clamp sa fork slider, at bibigay ang clamp jaw.
4. Tiyakin na ang shoulder na bahagi ng mga shoulder bolt ay ganap na nakaupo sa bawat lokasyon ng bracket ng windshield. I-torque ang bawat shoulder bolt sa 60 pulgada-lbs (6.7 Nm).
TALA
Kapag nagkaroon ng limitadong paggalaw, i-adjust ang windshield kung kinakailangan hanggang matamo ang tamang galaw nito. Ipaayos muna sa mga ekspertong tauhan ng Harley-Davidson ang kahit anong problema bago gamitin ang sasakyan nang nakakabit ang accessory na ito.
Tanggalin at Itabi ang Windshield
Upang matanggal ang windshield, buksan ang apat na mga clamp, sa anumang pagkakasunod-sunod, at ibaliktad ang mga paraan ng pagkakabit na makikita sa mga Hakbang 3 at 4 ng subtopic ng Pagkakabit ng Windshield. Ingatan na huwag magasgasan ang housing ng headlamp o tangke ng gasolina gaya ng naipayo sa pagkakabit.
Kapag itatabi ang windshield, ilagay sa lokasyon kung saan ang mga clamp ng windshield ay mabibigyan ng pinakamahusay na proteksyon. Ilayo ang windshield sa mga lokasyon kung saan ito ay maaaring matamaan o malaglag. Huwag magpatong ng kahit ano sa ibabaw ng assembly.
Bago ikabit muli matapos itong itabi, siyasatin muna ang mga clamp at hardware para sa fastener preload at upang masiguro ang kalinisan nito. Ang bawat clamp ay dapat mayroong pares ng rubber gasket sa clamp saddle na umaakma sa fork slider, at dapat bumukas at sumara nang malaya.
PANGANGALAGA AT PAGLILINIS
TALA
Ang mga repleksyon ng araw sa loob ng surface ng windshield ay maaaring magsanhi ng matinding pagbuild up ng init sa mga instrumento ng motorsiklo. Ugaliing mag-ingat sa pagpaparada. Pumarada nang nakaharap sa araw, maglagay ng bagay na hindi nilalampasan ng liwanag sa mga instrumento, o ayusin ang windshield upang maiwasan ang mga repleksyon.
PAUNAWA
Ang mga windshield ng Harley-Davidson ay gawa sa Lexan. Ang Lexan ay isang mas matibay at di-bumabaluktot na materyal kumpara sa iba pang mga uri ng materyal na windshield ng motorsiklo, ngunit nangangailangan pa rin ng pansin at pangangalaga upang mapanatili. Kapag hindi maayos na napanatili ang Lexan, maaari itong magresulta sa pagkapinsala ng windshield. (00230b)
  • Huwag linisin ang Lexan ® polycarbonate sa ilalim ng init ng araw o mataas na temperatura. Ang mapulbo, nakakagasgas o alkaline na mga panlinis ay nakakasira ng windshield. Huwag kayurin ang windshield gamit ang labaha o iba pang matalas na instrumento dahil magdudulot ito ng permanenteng pinsala.
PAUNAWA
Gumamit lamang ng mga inirerekomendang produkto ng Harley-Davidson sa mga windshield ng Harley-Davidson. Huwag gumamit ng matatapang na kemikal o mga rain sheeting na produkto, na maaaring maging sanhi ng pinsala sa ibabaw ng windshield, tulad ng paglabo o hazing. (00231c)
PAUNAWA
Huwag gumamit ng benzine, paint thinner, gasolina o anumang iba pang uri ng matapang na panlinis ng windshield. Maaari itong makapinsala sa ibabaw ng windshield. (00232c)
  • Huwag gumamit ng benzene, paint thinner, gasolina, mga lubricant (kasama ang Armorall ® ), o iba pang mga panlinis sa mga gomang bushing. Sisirain nito ang mga ibabaw ng bushing.
TALA
Ang pagtakip sa windshield gamit ang malinis at basang tela nang 15 minuto bago ito linisin ay magpapadali sa pagtanggal ng tuyong insektong dumikit dito.
MGA PAMALIT NA PIYESA
Figure 13. Mga Pamalit na Piyesa: Touring Windshield
Talahanayan 2. Mga Pamalit na Piyesa: Touring Windshield
Item
Paglalarawan (Dami)
Numero ng Piyesa
1
Assembly ng Clamp, 39 mm (4)
57400465
2
Kit, windshield mounting hardware (4)
58790-04
3
Turnilyo, machine pan head special (2)
2452
4
Turnilyo, machine pan head special (7)
2921A
5
Nut, #12 acorn (9)
7651
6
Pad, EPDM adhesive (isang panig) (2)
57036-08
7
Washer, pangmount ng windshield (4)
58152-96
8
Bracket, windshield
58517-08
9
Bracket, windshield
58518-08
10
Wireform, mga kable ng throttle
58558-97
11
Panserbisyong windshield, touring na natatanggal (kasama ang mga item 7, 13 at 16)
58571-96
12
Trim strip, patayo
58575-96
13
Trim strip, patayo
58576-96
14
Outerstrip, pahalang
58577-96
15
Innerstrip, pahalang
58578-96
16
Tape, pahalang (2)
58582-96
17
Washer, flat chrome
94066-90T
18
Gasket, clamp
58791-04
Figure 14. Mga Pamalit na Piyesa: Super Sport Windshield
Talahanayan 3. Mga Pamalit na Piyesa: Touring Windshield
Item
Paglalarawan (Dami)
Numero ng Piyesa
1
Assembly ng Clamp, 39 mm (4)
57400465
2
Kit, windshield mounting hardware (4)
58790-04
3
Washer, plain type A (4)
6352
4
Bracket, windshield detach 39 mm na mga modelo
57820-08
5
Bracket, windshield detach 39 mm na mga modelo
57823-08
6
Service windshield, 39 mm Sport detach (kasama ang item 7)
57883-08
7
Washer, pangmount ng windshield (8)
57964-97
8
Nut, acorn 1/4-20 (4)
94007-90T
9
Turnilyo, button head na may lock patch (4)
94639-99
10
Wireform, mga kable ng throttle
58558-97
11
Washer
94066-90T
12
Gasket, clamp
58791-04