KIT PERISAI ANGIN BOLEH TANGGAL
J045012021-04-27
UMUM
Nombor Kit
58158-08 dan 57838-08
Model
Untuk maklumat perlengkapan model, lihat Katalog Runcit P&A atau seksyen Bahagian dan Aksesori di www.harley-davidson.com (Bahasa Inggeris sahaja).
Jadual 1. Kit
No. Kit
Penerangan
58158-08
Perisai angin Touring
57838-08
Perisai angin Super Sport
Kandungan Kit
Lihat Rajah 13 dan Jadual 2 atau Rajah 14 dan Jadual 3 .
PEMASANGAN
AMARAN
Keselamatan penunggang dan pembonceng bergantung pada pemasangan kit yang betul. Jika anda tidak berkeupayaan atau tidak memiliki alat yang betul untuk melakukan prosedur ini, minta pengedar Harley-Davidson memasangkannya. Pemasangan kit ini yang tidak betul boleh membawa maut atau kecederaan serius. (00308b)
AMARAN
Untuk mengelakkan pemulaan kenderaan tidak sengaja yang boleh menyebabkan kematian atau kecederaan serius, putuskan kabel bateri negatif (-) sebelum meneruskan. (00048a)
CATATAN
Tutup dapra depan dan bahagian depan tangki bahan api dengan tuala kedai yang bersih untuk mengelakkan calaran. Kerosakan pada kemasan boleh berlaku.
Tempatkan Semula Kabel Cekam
Bagi model XL Custom atau FXLR sahaja: Tempatkan semula kabel, sumbatkan sebalik pendakap garpu atas, di depan bar hendal seperti berikut:
  1. Gerakkan kabel cekam dari kedudukan awalnya ke belakang sebelah kiri pendakap garpu atas. Laraskan kekenduran, di atas dan di bawah pendakap garpu, kepada kabel kedudukan terbaik.
  2. Jika perlu, tempatkan semula ikatan lekapan kabel cekam yang dilampirkan pada tiub bawah rangka untuk membolehkan kabel cekam bergerak bebas apabila bar hendal berpusing sepenuhnya dari kiri ke kanan kunci garpu. Kitarkan tuil tangan beberapa kali untuk mengesahkan.
Bagi semua model kecuali XL Custom atau FXLR: Tempatkan semula kabel cekam ke dalam bar hendal seperti berikut:
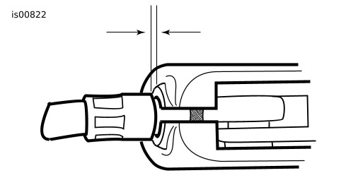
1. Lihat Rajah 1 . Gelangsarkan but getah (1) daripada pelaras kabel cekam (2). Pelaras terletak kira-kira separuh jalan di sepanjang kabel cekam oleh tiub bawah rangka depan.
1But getah
2Pelaras kabel
3Nat penjepit
4Hujung kabel
Rajah 1. Pelaras Kabel Cekam
2. Pegang pelaras kabel dengan 1/2 inci perengkuh, longgarkan nat penjepit (3) dengan 9/16 inci perengkuh. Undurkan nat penjepit daripada pelaras kabel. Gerakkan pelaras ke arah nat penjepit untuk membolehkan permainan bebas pada tuil tangan.
3. Tanggalkan gelang penahan daripada alur pin pangsi di bahagian bawah pendakap tuil cekam dan tanggalkan pin pangsi.
4. Tanggalkan tuil tangan cekam daripada pendakap. Jika perlu, gunakan kepala pemacu T27 Torx ® untuk menanggalkan dua skru dengan pendakap tuil cekam penahan sesendal rata pada pengapit bar hendal.
5. Lihat Rajah 2 . Halakan semula kabel cekam ke dalam bar hendal.
Rajah 2. Penghalaan Kabel Cekam Baharu
6. Masukkan tuil cekam ke dalam alur pendakap tuil, lengan pemasangan pada hujung perumah kabel ke dalam gerek di bahagian dalam pendakap.
7. Jika ditanggalkan, kukuhkan pendakap tuil cekam pada pengapit bar hendal dengan skru Torx ® . Bermula pada skru atas, ketatkan kepada 60-80 inci-paun (6.8-9.0 Nm).
8. Lihat Rajah 1 . Pusingkan pelaras kabel jauh daripada nat penjepit sehingga tiada kekenduran pada tuil tangan. Tarik kabel cekam simpai jauh daripada pendakap tuil cekam untuk mengukur permainan bebas.
9. Lihat Rajah 3 . Pegang pelaras dengan 1/2 inci perengkuh, dan gunakan 9/16 inci rentapkan untuk mengetatkan nat penjepit pada pelaras kabel. Tutup mekanisme pelaras kabel dengan but getah.
10. Jika perlu, tempatkan semula ikatan lekapan kabel cekam yang dilampirkan pada tiub bawah rangka untuk membolehkan kabel cekam bergerak bebas apabila bar hendal berpusing sepenuhnya dari kiri ke kanan kunci garpu. Kitarkan tuil tangan beberapa kali untuk mengesahkan.
Rajah 3. Permainan Bebas Kabel Cekam, 1/16-1/8 inci (1.6-3.2 mm)
AMARAN
Selepas menempatkan semula kabel klac, pastikan tuil tangan klac terbuka dan tertutup dengan lancar apabila hendal dipusingkan penuh ke kiri atau ke kanan. Tindak balas lambat oleh tuil klac boleh menyebabkan kehilangan kawalan, dan kematian atau kecederaan serius. (00424d)
AMARAN
Pastikan stereng bergerak lancar tanpa gangguan. Gangguan pada stereng boleh mengakibatkan kehilangan kawalan kenderaan, dan kematian atau kecederaan serius. (00371a)
  • Pastikan kabel cekam tidak ditarik ketat apabila bar hendal dipusingkan sepenuhnya ke hentian garpu kiri atau kanan.
CATATAN
Ini mungkin perlu untuk menempatkan semula kabel pendikit/melahu. (Lihat subtopik Penghalaan Pendikit dan Kabel.)
Penghalaan Pendikit dan Kabel Melahu
AMARAN
Pastikan stereng bergerak lancar tanpa gangguan. Gangguan pada stereng boleh mengakibatkan kehilangan kawalan kenderaan, dan kematian atau kecederaan serius. (00371a)
  • Pastikan kabel kawalan pendikit/melahu tidak ditarik ketat apabila bar hendal dipusingkan sepenuhnya ke hentian garpu kiri atau kanan.
  • Pastikan wayar dan kabel jelas bagi hentian garpu pada kepala stereng supaya ia tidak akan terjepit apabila garpu dipusingkan pada hentian.
  • Lihat Rajah 4 . Gunakan wayar dan basuh dari kit.
1Wireform 58558-97
2Sesendal 94066-90T
3Sesendal rata peralatan asal
4Skru peralatan asal
Rajah 4. Lampiran Kabel Pendikit
Model Sportster
Halakan kabel kawalan melepasi sebelah kiri isyarat belokan kanan. Gelungkan kembali melalui kawasan antara lampu besar dan tiub garpu kanan. Halakan ke barisan belakang di bawah tangki gas dan kukuhkan pada klip di bawah suis pencucuhan, kemudian ke bawah ke karburetor.
Model Dyna
FXD, FXDX, FXDS-Conv Model: Lihat Rajah 5 . Halakan kabel pendikit dan kabel melahu antara lampu besar dan tiub garpu depan kanan, kemudian di bawah sebelah kanan tangki ke karburetor.
Model FXDL: Lihat Rajah 6 . Halakan kabel pendikit dan melahu di luar (ke kanan) garpu deapan.
Rajah 5. Penghalaan Kabel (FXD, FXDX, dan FXDS-Conv Model)
Rajah 6. Penghalaan Kabel (Model FXDL)
Penanggalan Kabel Pendikit/Melahu sedia ada
NOTIS
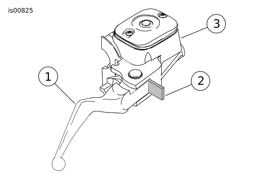
Jangan menanggalkan atau memasang silinder induk tanpa memposisikan dahulu sisipan tebal 5/32-inci (4 mm) di antara tuil brek dan braket tuil. Penanggalan atau pemasangan silinder induk tanpa sisipan di tempatnya boleh merosakkan but getah dan pelocok pada suis lampu henti depan. (00324a)
1. Lihat Rajah 7 . Letakkan sisipan kadbod antara tuil brek dan pendakap tuil.
2. Lihat Rajah 8 . Longgarkan nat penjepit pelaras kabel. Skru pelaras kabel sehingga ia menjadi sesingkat mungkin. Ini akan memberikan kekenduran yang cukup untuk penyingkiran mudah.
3. Menggunakan kepala pemacu T25 Torx ® , tanggalkan skru perumah suis kanan atas dan bawah.
1Tuil brek
2Kadbod, 5/32 inci
3Braket tuil brek
Rajah 7. Pasang Sisipan Kadbod
1Nat penjepit pelaras (2)
2Pelaras kabel melahu
3Pelaras kabel pendikit
4Perumah suis bawah
5Perumah suis atas
Rajah 8. Kawalan Pendikit Bar Hendal
4. Menggunakan kepala pemacu T27 Torx ®, longgarkan skru atas mengukuhkan pengapit bar hendal untuk menguasai perumah silinder. Tanggalkan skru pengapit bawah dan sesendal rata.
CATATAN
Jika boleh, tinggalkan kasut geseran di tempatnya. Kasut geseran adalah longgar dan mungkin jatuh atau tersinggung jika perumah suis yang lebih rendah menjadi tererbalik atau bergegar.
5. Lihat Rajah 9 . Tanggalkan simpai tembaga dari takuk pada bahagian dalam pemegang kawalan pendikit. Tanggalkan simpai daripada kelengkapan hujung kabel.
6. Tarik sisipan berkeriting pada akhir pendikit dan perumah kabel kawalan melahu dari perumah suis rendah. Bagi hasil terbaik, gunakan gerakan goyang sambil menarik. Tanggalkan kabel dengan gelang penahan dari perumah suis. Letakkan setitik minyak ringan pada gelang penahanan, jika perlu, untuk membantu penanggalan.
CATATAN
Pada ketika ini, jika anda mempunyai (atau memasang) bar hendal yang berlainan, ukur perubahan jarak yang diperlukan dari hujung perumah kabel kepaa pemegang pendikit. Bandingkan panjang tambahan yang diperlukan ini dengan kabel yang disediakan dalam kit anda.
Jika kabel melebihi dua inci panjang atau lebih daripada satu inci lebih pendek daripada jarak ukuran di atas, rujuk peniaga Harley-Davidson anda untuk mendapatkan panjang kabel yang betul.
1Kabel pendikit
2Takuk
3Kabel melahu
4Simpai tembaga
Rajah 9. Kabel Kawalan Pendikit/Melahu
Pemasangan Kabel Pendikit/Melahu
1. Lihat Rajah 9 . Sapukan sedikit grafit pada pemegang pendikit di dalam perumah suis dan pada hujung pendikit bar hendal.
CATATAN
Kabel kawalan pendikit mempunyai gelang penahan diameter yang lebih besar berkeriting ke hujung kabel daripada kabel kawalan melahu.
Bagi pemasangan, letakkan setitik minyak ringan pada cincin penahan sisipan berkeriting.
2. Lihat Rajah 10 . Tolak perumah kabel pendikit dan gelang penahan ke dalam lubang perumah suis yang lebih besar, yang terletak di depan skru pelaras tegangan.
3. Tolak perumah kabel melahu dan gelang penahan ke dalam lubang perumah suis yang lebih kecil, yang terletak di belakang skru pelaras tegangan.
4. Tolak perumah pendikit dan kabel kawalan melahu ke dalam perumah suis yang lebih rendah sehingga setiap detapan berada pada tempatnya.
CATATAN
Jika kasut geseran telah jatuh keluar atau tertanggal, pasang kasut dengan bahagian cekung menghadap ke atas dan orient supaya lubang pin berada di atas titik skru pelaras.
5. Tolak pemegang kawalan pendikit di hujung bar hendal kanan sehingga ia berada di bawah pada bahagian hujung tertutup. Putarkan pemegang sehingga takuk simpai berada di bahagian atas. Bagi mengelakkan ikatan, tarik pemegang kembali kira-kira 1/8 inci (3.2 mm).
1Gelang penahan kabel melahu
2Gelang penahan kabel pendikit
3Perumah suis bawah
Rajah 10. Pasang Kabel pada Perumah Suis Bawah
6. Lihat Rajah 9 . Letakkan pemegang kawalan pendikit di bawah perumah suis bawah. Pasang dua simpai tembaga (56508-76) daripada kit ke kabel, letakkan simpai dalam takuknya masing-masing pada pemegang kawalan pendikit. Kabel mesti ditangkap di alur yang diacu ke dalam pemegang.
7. Letakkan perumah suis atas pada bar hendal dan perumah suis bawah. Halakan dawai konduit abah-abah wayar melalui kawasan terbenam di bahagian bawah bar hendal.
8. Ketatkan skru perumah suis atas dan bawah dengan longgar.
9. Letakkan pemasangan tuil brek/silinder induk dalam pemasangan perumah suis, melibatkan tab pada perumah suis bawah dalam alur di bahagian atas pendakap tuil brek.
10. Jajarkan lubang dalam pengapit bar hendal dengan yang berada dalam perumah silinder dan ketatkan skru bawah dan sesendal rata secara longgar. Kedudukan untuk keselesaan penunggang. Bermula dengan skru atas, ketatkan skru kepada 60-80 inci-paun (6.8-9.0 Nm) menggunakan kepala pemacu T27 Torx ® .
11. Tork skru perumah suis bawah dan atas kepada 35-45 inci-paun (4-5 Nm).
CATATAN
Sentiasa ketatkan skru perumah suis bawah terlebih dahulu supaya apa-apa jurang antara perumah atas dan bawah berada di depan pemasangan suis.
12. Laraskan kabel pendikit dan melahu mengikut arahan Manual Servis.
AMARAN
Pastikan stereng bergerak lancar tanpa gangguan. Gangguan pada stereng boleh mengakibatkan kehilangan kawalan kenderaan, dan kematian atau kecederaan serius. (00371a)
13. Tanggalkan sisipan kadbod antara tuil brek dan pendakap tuil.
  • Kabel tidak boleh tersangkut pada perkakasan lampu besar atau melintas di depan lampu besar.
  • Kabel tidak boleh tersangkut pada perkakasan lekapan isyarat belok atau isyarat belok.
  • Kabel tidak boleh menangkap tukup bahan api atau tolok bahan api.
  • Kabel tidak boleh menangkap pada meter laju atau takometer.
  • Pastikan kabel tidak terjepit antara rangka dan/atau garpu.
  • Pastikan kabel cekam tidak ditarik ketat apabila bar hendal dipusingkan sepenuhnya ke hentian garpu kiri atau kanan.
AMARAN
Sambungkan kabel bateri positif (+) dahulu. Jika kabel positif (+) perlu bersentuhan dengan bumi menggunakan sambungan kabel negatif (-), percikan api yang terhasil boleh menyebabkan letupan bateri, dan membawa maut atau kecederaan serius. (00068a)
  1. Sambungkan kabel bateri, kabel positif (+) dahulu.
Pasang Pengapit pada Perisai Angin
1. Lihat Rajah 11 . Tanggalkan subpemasangan perisai angin daripada bungkusan dan letakkannya dengan muka ke bawah pada permukaan yang bersih dan lembut dengan pendakap lekapan menghadap ke atas.
2. Lihat Rajah 13 atau Rajah 14 . Tanggalkan pengapit dan kit perkakasan daripada bungkusan, dan asingkan bahagian yang sama sebagai persediaan untuk pemasangan.
3. Lihat Rajah 12 . Pasang pemasangan pengapit dan susunan perkakasan.
AMARAN
Bahagian terangkup pencuci (kon) Belleville mesti berhadapan satu sama lain dan mengapit braket pelekap perisai angin pada setiap titik lekapan. Tidak menyesuaikan sesendal dengan betul boleh mengurangkan keupayaan perisai angin untuk terpisah semasa perlanggaran, dan boleh membawa maut atau kecederaan serius. (00422b)
4. Satu pengapit pada satu masa, dengan pengapit menghadap ke atas dan di dalam pendakap perisai angin (2), ketatkan bolt bahu (1) secukupnya untuk memegang orientasi pengapit pada perisai angin semasa lekapan perisai angin pada motosikal. Bolt akan diketatkan sepenuhnya kemudian.
Rajah 11. Braket Lekapan Perisai Angin
1Bolt bahu
2Braket perisai angin kanan
3Sesendal cecawan
4Sesendal Belleville (bahagian cecawan menghadap satu sama lain dengan braket perisai angin di antaranya)
Rajah 12. Pengapit Lekapan Perisai Angin
Pasang Perisai Angin
CATATAN
Pastikan roda depan tegak untuk menghalang braket daripada mencalarkan tangki bahan api.
1. Pastikan keempat-empat pengapit berada dalam kedudukan “terbuka”, kemudian bawa perisai angin (dengan bahagian pengapit jauh daripada anda) ke bahagian depan motosikal.
CATATAN
Perisai angin Lexan ® adalah fleksibel dan boleh dibengkokkan untuk menyebarkan pengapit daripada lampu besar bagi memudahkan pemasangan pada motosikal. Berhati-hati untuk tidak mencalarkan perumah lampu depan dengan pengapit ketika meletakkan perisai angin pada lungsur cabang.
2. Rentangkan dapra depan dan semak untuk mengesahkan supaya kabel pendikit diletakkan antara pasangan pengapit di sebelah kiri anda (seperti yang dilihat menghadap motosikal, memegang perisai angin), dan tidak akan terjepit oleh pengapit. Pusatkan perisai angin di sekitar lampu besar dan letakkan pengapit pada gelangsar garpu.
AMARAN
Kabel pendikit yang terjepit boleh membataskan tindak balas pendikit, dan boleh mengakibatkan kehilangan kawalan, dan kematian atau kecederaan serius. (00423b)
3. Bermula di bahagian bawah (salah satu bahagian) dengan bolt bahu yang diulirkan dengan longgar, tutup setiap pengapit, menyedari bahawa pengapit membuat jajaran sendiri pada gelangsar garpu pada satu sama lain.
CATATAN
Jangan ketatkan bolt bahu melebihi tork yang disyorkan. Tork berlebihan boleh menyebabkan pengapit berpintal pada gelangsar garpu, penghasilan rahang pengapit boleh berlaku.
4. Pastikan supaya bahagian bahu bagi bolt bahu diletakkan sepenuhnya dalam setiap lokasi pendakap perisai angin. Tork setiap bolt bahu sehingga 60 inci-paun (6.7 Nm).
CATATAN
Jika terdapat halangan, laraskan perisai angin seperti yang diperlukan sehingga kelegaan yang betul diperoleh. Minta kakitangan servis Harley-Davidson membetulkan apa-apa masalah sebelum menunggang dengan aksesori yang dipasang.
Tanggalkan dan Simpan Perisai Angin
Bagi menanggalkan perisai angin, buka empat pengapit, dalam apa-apa jujukan, dan undurkan prosedur pemasangan yang terdapat dalam Langkah 3 dan 4 subtopik Pemasangan Perisai Angin. Berhati-hati supaya tidak mencalarkan perumah lampu besar atau tangki bahan api seperti yang diperhatikan semasa pemasangan.
Semasa menyimpan perisai angin, letakkannya di lokasi yang boleh melindungi pengapit perisai angin dengan baik. Jauhkan dari lokasi tempat perisai angin mungkin terlanggar atau terjatuh. Jangan letakkan apa-apa di atas pemasangan tersebut.
Sebelum pemasangan semula selepas apa-apa tempoh penyimpanan, periksa pengapit dan perkakasan untuk pramuatan pengikat dan kebersihan. Setiap pengapit patut mempunyai sepasang gasket getah dalam pelana pengapit yang bersentuhan dengan lungsur cabang, dan boleh dibuka dan ditutup dengan lancar.
PENJAGAAN DAN PEMBERSIHAN
CATATAN
Pantulan cahaya matahari di dalam permukaan perisai angin boleh menyebabkan peningkatan haba yang melampau pada instrumen motosikal. Berhati-hati semasa meletakkan motosikal. Letakkan motosikal menghadap matahari, letakkan objek legap pada instrumen, atau laraskan perisai angin untuk mengelakkan pantulan.
NOTIS
Perisai angin Harley-Davidson diperbuat daripada Lexan. Lexan adalah bahan yang lebih tahan lasak dan tahan gangguan berbanding bahan perisai angin motosikal jenis lain, tetapi ia masih memerlukan penjagaan. Tidak mengekalkan Lexan dengan betul boleh menyebabkan kerosakan pada perisai angin. (00230b)
  • Jangan bersihkan polikarbonat Lexan ® di bawah matahari yang panas atau suhu yang tinggi. Pembersih serbuk, lelas atau beralkali boleh merosakkan perisai angin. Jangan calarkan perisai angin dengan pisau cukur atau alat tajam lain kerana ini akan menyebabkan kerosakan yang kekal.
NOTIS
Hnaya gunakan produk Harley-Davidson yang disyorkan pada perisai angin Harley-Davidson. Jangan gunakan bahan kimia atau produk pelindung hujan yang boleh menyebabkan kerosakan seperti kekusaman dan kepudaran pada permukaan perisai angin. (00231c)
NOTIS
Jangan gunakan benzena, pencair cat, petrol atau mana-mana jenis pembersih keras lain pada perisai angin. Melakukannya akan merosakkan permukaan perisai angin. (00232c)
  • Jangan gunakan benzina, pencair cat, gasolin, pelincir (termasuk Armorall ® ), atau agen pembersihan lain pada sesendal getah. Ia akan merosakkan permukaan sesendal.
CATATAN
Menutup perisai angin dengan kain bersih dan lembap selama kira-kira 15 minit sebelum mencuci akan memudahkan pembuangan pepijat kering.
BAHAGIAN SERVIS
Rajah 13. Bahagian Servis: Perisai Angin Touring
Jadual 2. Bahagian Servis: Perisai Angin Touring
Item
Huraian (Kuantiti)
Nombor Alat Ganti
1
Pemasangan pengapit, 39 mm (4)
57400465
2
Kit, perkakasan lekapan perisai angin (4)
58790-04
3
Skru, turus pan mesin khas (2)
2452
4
Skru, turus pan mesin khas (7)
2921A
5
Nat, #12 akorn (9)
7651
6
Pad, pelekat EPDM (satu bahagian) (2)
57036-08
7
Sesendal, lekapan perisai angin (4)
58152-96
8
Pendakap, perisai angin
58517-08
9
Pendakap, perisai angin
58518-08
10
Wireform, kabel pendikit
58558-97
11
Perisai angin servis, boleh tanggal touring (Termasuk item 7, 13 dan 16)
58571-96
12
Jalur trim, menegak
58575-96
13
Jalur trim, menegak
58576-96
14
Jalur luar, mendatar
58577-96
15
Jalur dalam, mendatar
58578-96
16
Pita, melintang (2)
58582-96
17
Sesendal, krom rata
94066-90T
18
Gasket, pengapit
58791-04
Rajah 14. Bahagian Servis: Perisai Angin Super Sport
Jadual 3. Bahagian Servis: Perisai Angin Touring
Item
Huraian (Kuantiti)
Nombor Alat Ganti
1
Pemasangan pengapit, 39 mm (4)
57400465
2
Kit, perkakasan lekapan perisai angin (4)
58790-04
3
Sesendal, jenis biasa A (4)
6352
4
Pendakap, model 39 mm boleh tanggal perisai angin
57820-08
5
Pendakap, model 39 mm boleh tanggal perisai angin
57823-08
6
Perisai angin servis, boleh tanggal Sukan 39 mm (termasuk item 7)
57883-08
7
Sesendal, lekapan perisai angin (8)
57964-97
8
Nat, akorn 1/4-20 (4)
94007-90T
9
Skru, kepala butang dengan selak kunci (4)
94639-99
10
Wireform, kabel pendikit
58558-97
11
Sesendal
94066-90T
12
Gasket, pengapit
58791-04