KOMPLETI ODVOJIVIH VJETROBRANA
J045012021-04-27
OPĆENITO
Broj kompleta
58158-08 i 57838-08
Modeli
Za informacije o ugrađivanju dijelova pogledajte Prodajni katalog dijelova i pribora ili odjeljak Dijelovi i pribor na stranici www.harley-davidson.com (samo na engleskom).
Tablica 1. Kompleti
Br. kompleta
Opis
58158-08
Vjetrobran Touring
57838-08
Vjetrobran Super Sport
Sadržaj kompleta
Pogledajte Slika 13 i Tablica 2 ili Slika 14 i Tablica 3 .
POSTAVLJANJE
UPOZORENJE
Sigurnost vozača i putnika ovisi o ispravnom postavljanju ovog pribora. Ako vam je postupak prezahtjevan ili nemate pravi alat, obratite se dobavljaču za Harley-Davidson®. Neispravno postavljanje ovog pribora može rezultirati smrću ili ozbiljnim ozljedama. (00308b)
UPOZORENJE
Da biste spriječili nenamjerno pokretanje motocikla, koje može uzrokovati smrt ili ozbiljnu ozljedu, prije nego što nastavite, odpojite negativni (-) kabel akumulatora. (00048a)
NAPOMENA
Prednji blatobran i prednji kraj spremnika goriva prekrijte čistim ručnicima kako se ne bi ogrebali. Može doći do oštećenja završne obrade.
Premještanje kabela spojke
Samo za modele XL Custom ili FXLR: premjestite kabel spojke, koji je sada utisnut iza gornjeg nosača vilice, ispred upravljača, na sljedeći način:
  1. Pomaknite kabel spojke iz njegova početnog položaja iza stražnje lijeve strane gornjeg nosača vilice. Prilagodite napetost kabela, i iznad i ispod nosača vilice, kako biste najbolje namjestili kabel.
  2. Ako je potrebno, premjestite vezice za montiranje kabela spojke koje su pričvršćene za donju cijev okvira, kako biste omogućili da se kabel spojke može slobodno pomicati kada se upravljač potpuno okrene od lijeve do desne blokade vilica. Ručicu pomaknite nekoliko puta kako biste provjerili položaj.
Za sve modele osim XL ili FXLR: premjestite kabel spojke u unutrašnjost upravljača na sljedeći način:
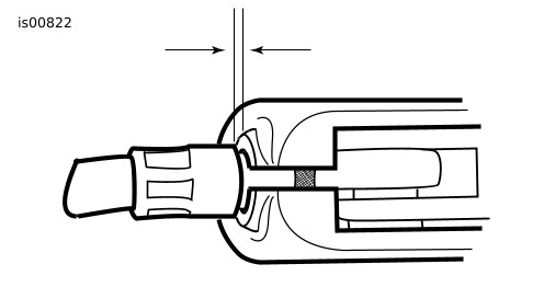
1. Pogledajte Slika 1 . Gumenu navlaku (1) gurnite s regulatora kabela spojke (2). Regulator se nalazi otprilike na pola puta duž kabela spojke uz prednju donju cijev okvira.
1Gumeno kućište
2Regulator kabela
3Protumatica
4Kraj kabela
Slika 1. Regulator kabela spojke
2. Držeći regulator kabela 1/2-inčnim ključem, olabavite protumaticu (3) 9/16-inčnim ključem. Protumaticu gurnite dalje od regulatora kabela. Pomaknite regulator prema protumatici kako biste omogućili slobodno pomicanje ručice.
3. Izvadite sigurnosni prsten iz žlijeba zakretnog zatika na dnu nosača ručice spojke i izvadite zakretni zatik.
4. Uklonite ručicu spojke s nosača. Ako je potrebno, glavom odvijača T27 Torx ® izvadite dva vijka s ravnim podloškama kojima je nosač ručice spojke pričvršćen za obujmicu upravljača.
5. Pogledajte Slika 2 . Ponovno provedite kabel spojke u unutrašnjost upravljača.
Slika 2. Novo provođenje kabela spojke
6. Ručicu spojke umetnite u žlijeb nosača ručice, tako da rukavac na kraju kućišta kabela namjestite u otvor na unutarnjoj strani nosača.
7. Ako je uklonjen, nosač ručice spojke pričvrstite za obujmicu upravljača vijcima Torx ® . Počevši od gornjeg vijka, zategnite ih na 60 – 80 in-lbs (6,8 – 9,0 Nm).
8. Pogledajte Slika 1 . Regulator kabela okrenite dalje od protumatice dok se ne ukloni labavi dio pri ručici. Usječni prsten kabela spojke povucite dalje od nosača ručice spojke kako biste izmjerili slobodno pomicanje.
9. Pogledajte Slika 3 . Regulator pridržavajte 1/2-inčnim ključem te 9/16-inčnim ključem zategnite protumaticu uz regulator kabela. Mehanizam regulatora kabela prekrijte gumenom navlakom.
10. Ako je potrebno, premjestite vezice za montiranje kabela spojke koje su pričvršćene za donju cijev okvira, kako biste omogućili da se kabel spojke može slobodno pomicati kada se upravljač potpuno okrene od lijeve do desne blokade vilica. Ručicu pomaknite nekoliko puta kako biste provjerili položaj.
Slika 3. Slobodno pomicanje kabela spojke, 1/16 – 1/8 inča (1,6 – 3,2 mm)
UPOZORENJE
Nakon premješanja kabela kvačila, provjerite otvara li se i zatvara ručica kvačila glatko tijekom okretanja ručki upravljača do kraja ulijevo ili udesno. Spor odgovor ručice kvačila može rezultirati gubitkom nadzora nad vozilom i smrću ili ozbiljnom ozljedom (00424d)
UPOZORENJE
Provjerite upravlja li se vozilom lagano i bez smetnji. Smetnje u upravljanju mogu dovesti do gubitka nadzora nad vozilom te smrti ili teških ozljeda. (00371a)
  • Pazite da kabeli nisu nategnuti kada se upravljač okrene do kraja lijevo ili desno.
NAPOMENA
Možda će biti potrebno premjestiti kabele gasa/praznog hoda. (Pogledajte podtemu Provođenje kabela gasa i praznog hoda.)
Provođenje kabela gasa i praznog hoda
UPOZORENJE
Provjerite upravlja li se vozilom lagano i bez smetnji. Smetnje u upravljanju mogu dovesti do gubitka nadzora nad vozilom te smrti ili teških ozljeda. (00371a)
  • Pazite da kabeli kontrola gasa/praznog hoda nisu nategnuti kada se upravljač okrene do kraja lijevo ili desno.
  • Pazite da su žice i kabeli dovoljno udaljeni od graničnika vilica na glavi upravljača, kako se ne bi ukliještili kad se vilica okrene uz graničnike.
  • Pogledajte Slika 4 . Upotrijebite profilnu žicu i podlošku iz kompleta.
1Profilna žica 58558-97
2Podloška 94066-90T
3Originalna ravna podloška
4Originalni vijak
Slika 4. Priključak kabela gasa
Modeli Sportster
Kabele kontrola provedite iza lijeve strane desnog pokazivača smjera. Napravite petlju prema natrag kroz područje između prednjeg svjetla i cijevi desne vilice. Provedite ih prema natrag ispod spremnika goriva i pričvrstite na kopči ispod sklopke paljenja, a zatim prema dolje do rasplinjača.
Modeli Dyna
Modeli FXD, FXDX, FXDS-Conv: pogledajte Slika 5 . Kabele gasa i praznog hoda provedite između prednjeg svjetla i cijevi prednje desne vilice, a zatim ispod desne strane spremnika do rasplinjača.
Modeli FXDL: pogledajte Slika 6 . Kabele gasa i praznog hoda provedite s vanjske strane (desno od) prednjih vilica.
Slika 5. Provođenje kabela (modeli FXD, FXDX i FXDS-Conv)
Slika 6. Provođenje kabela (modeli FXDL)
Uklanjanje postojećeg kabela gasa/praznog hoda
NAPOMENA
Prije uklanjanja ili postavljanja sklopa glavnog cilindra, između ručice kočnice i nosača postavite umetak debljine 5/32 inča (4 mm). U slučaju da prije uklanjanja ili postavljanja sklopa glavnog cilindra ne postavite umetak, može doći do oštećenja priključne kapice i klipa na prekidaču prednjeg stop svjetla. (00324a)
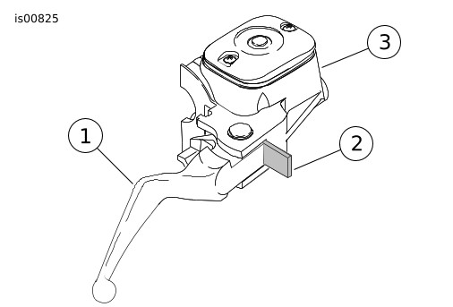
1. Pogledajte Slika 7 . Stavite kartonski umetak između ručice kočnice i nosača ručice.
2. Pogledajte Slika 8 . Otpustite protumatice regulatora kabela. Regulatore kabela zategnite dok ne budu što je moguće kraći. Time će se kabel olabaviti i bit će ga lakše ukloniti.
3. Glavom odvijača T25 Torx ® uklonite gornje desne i donje vijke kućišta sklopke.
1Ručica kočnice
2Karton, 5/32 inča
3Nosač ručice kočnice
Slika 7. Postavljanje kartonskog umetka
1Protumatica regulatora (2)
2Regulator kabela praznog hoda
3Regulator kabela gasa
4Kućište donjeg prekidača
5Kućište gornjeg prekidača
Slika 8. Kontrola gasa na upravljaču
4. Glavom odvijača T27 Torx ® otpustite gornji vijak kojim je obujmica upravljača pričvršćena za kućište glavnog cilindra. Uklonite donji vijak obujmice i ravnu podlošku.
NAPOMENA
Ako je moguće, zaštitu od trenja ostavite na mjestu. Zaštita od trenja labavo je postavljena i može ispasti ili se pomaknuti ako se kućište donje sklopke okrene naopako ili se zatrese.
5. Pogledajte Slika 9 . Izvadite mjedene usječne prstenove iz utora na unutarnjoj strani ručke gasa. Izvadite usječne prstenove sa spojeva na kraju kabela.
6. Povucite krimpane umetke na kraju kućišta kabela kontrola gasa i praznog hoda iz kućišta donje sklopke. Za najbolje rezultate zaljuljajte ih prilikom povlačenja. Kabele sa sigurnosnim prstenovima uklonite iz kućišta sklopke. Po potrebi na sigurnosni prsten stavite kap laganog ulja radi lakšeg uklanjanja.
NAPOMENA
U ovom trenutku, ako imate (ili postavljate) različite upravljače, izmjerite promjenu u udaljenosti koja će biti potrebna od kraja kućišta kabela do ručke gasa. Tu dodatnu potrebnu duljinu usporedite s kabelom u vašem kompletu.
Ako su kabeli više od dva inča (50,8 mm) dulji ili više od jednog inča (25,4 mm) kraći od izmjerene udaljenosti, za kabel odgovarajuće duljine obratite se dobavljaču za Harley-Davidson.
1Kabel gasa
2Utor
3Kabel praznog hoda
4Mjedeni usječni prsten
Slika 9. Kabeli kontrole gasa/praznog hoda
Postavljanje kabela gasa/praznog hoda
1. Pogledajte Slika 9 . Lagano nanesite grafit na ručku gasa unutar kućišta sklopke i na kraj upravljača gdje se nalazi gas.
NAPOMENA
Kabel za kontrolu gasa na kraju kabela ima sigurnosni prsten većeg promjera nego onaj na kabelu kontrole praznog hoda.
Za montažu stavite kap laganog ulja na sigurnosne prstenove krimpanih umetaka.
2. Pogledajte Slika 10. Gurnite kućište kabela gasa i sigurnosni prsten u veći otvor kućišta sklopke, koji se nalazi ispred vijka za podešavanje napetosti.
3. Gurnite kućište kabela praznog hoda i sigurnosni prsten u manji otvor kućišta sklopke, koji se nalazi iza vijka za podešavanje napetosti.
4. Gurnite kućišta kabela gasa i praznog hoda u kućište donje sklopke dok ne sjednu na mjesto.
NAPOMENA
Ako je zaštita od trenja ispala ili se pomaknula, postavite je tako da je konkavna strana okrenuta prema gore i okrenite je tako da je rupa sa zatikom iznad točke vijka za podešavanje.
5. Gurnite ručku gasa preko kraja desnog upravljača dok potpuno ne sjedne na zatvoreni kraj. Okrećite ručku dok utori usječnog prstena ne budu na vrhu. Da biste spriječili povezivanje, ručku povucite natrag otprilike 1/8 inča (3,2 mm).
1Sigurnosni prsten kabela praznog hoda
2Sigurnosni prsten kabela gasa
3Kućište donjeg prekidača
Slika 10. Postavljanje kabela u kućište donje sklopke
6. Pogledajte Slika 9 . Kućište donje sklopke namjestite ispod ručke gasa. Na kabele postavite dva mjedena usječna prstena (56508-76) iz kompleta, tako da prstenovi sjednu svaki u svoj utor na ručki gasa. Kabeli moraju biti uhvaćeni u žljebovima koji su utisnuti u ručku.
7. Kućište gornje sklopke namjestite preko upravljača i kućišta donje sklopke. Vod sa žicama provedite kroz udubljeno područje na dnu upravljača.
8. Labavo pričvrstite gornji i donji vijak kućišta sklopke.
9. Sklop ručice kočnice/glavnog cilindra namjestite na unutarnjoj strani sklopa kućišta sklopke, tako da ga zakačite za jezičac na kućištu donje sklopke u žlijebu na vrhu nosača ručice kočnice.
10. Rupe na obujmici upravljača poravnajte s onima na kućištu glavnog cilindra i labavo zategnite donji vijak i ravnu podlošku. Namjestite ga tako da bude u najudobnijem položaju za vozača. Počevši od gornjeg vijka, zategnite vijke na 60 – 80 in-lbs (6,8 – 9,0 Nm) glavom odvijača T27 Torx ® .
11. Donje i gornje vijke kućišta sklopke zategnite na 35 – 45 in-lbs (4 – 5 Nm).
NAPOMENA
Uvijek prvo zategnite donji vijak kućišta sklopke tako da eventualni razmak između gornjeg i donjeg kućišta bude na prednjoj strani sklopa sklopke.
12. Prilagodite kabele gasa i praznog hoda prema uputama u Servisnom priručniku.
UPOZORENJE
Provjerite upravlja li se vozilom lagano i bez smetnji. Smetnje u upravljanju mogu dovesti do gubitka nadzora nad vozilom te smrti ili teških ozljeda. (00371a)
13. Izvadite kartonski umetak između ručice kočnice i nosača ručice.
  • Kabeli ne smiju zakačiti pričvrsne dijelove za prednje svjetlo ili prolaziti ispred prednjeg svjetla.
  • Kabeli ne smiju zakačiti pričvrsne dijelove pokazivača smjera ili same pokazivače smjera.
  • Kabeli ne smiju zakačiti čep za gorivo ili mjerač količine goriva.
  • Kabeli ne smiju zakačiti brzinomjer ili tahometar.
  • Pazite da se kabeli ne ukliješte između okvira i/ili vilica.
  • Pazite da kabeli spojke nisu nategnuti kada se upravljač okrene do kraja lijevo ili desno.
UPOZORENJE
Prvo spojite pozitivni (+) kabel akumulatora. Ako pozitivni (+) kabel dođe u kontakt s uzemljenjem dok je negativni (-) kabel priključen, iskre koje pri tome nastaju mogu uzrokovati eksploziju akumulatora, što može rezultirati smrću ili ozbiljnom ozljedom. (00068a)
  1. Priključite kabele akumulatora tako da najprije priključite pozitivni (+).
Sklapanje obujmica na vjetrobranu
1. Pogledajte Slika 11 . Izvadite podsklop vjetrobrana iz ambalaže i stavite ga licem prema dolje na čistu i meku površinu tako da su nosači za montažu okrenuti prema gore.
2. Pogledajte Slika 13 ili Slika 14 . Izvadite komplete i obujmica i pribora za ugradnju iz ambalaže i odvojite slične dijelove tijekom pripreme za sklapanje.
3. Pogledajte Slika 12 . Sastavite sklopove obujmica i pričvrsnih dijelova.
UPOZORENJE
Na svakoj točki postavljanja, Belleville (čunjaste) podloške moraju biti okrenute jedna prema drugoj, a između njih trebaju se nalaziti nosači vjetrobrana. Nepropisno postavljanje podloški može smanjiti sposobnost vjetrobrana da se otpoji od vozila prilikom sudara, što može rezultirati smrću ili ozbiljnom ozljedom. (00422b)
4. Postavljajte obujmice jednu po jednu, tako da su obujmice okrenute prema gore te su unutar nosača vjetrobrana (2), zategnite ramene vijke (1) dovoljno da zadrže položaj obujmica na vjetrobranu tijekom montaže vjetrobrana na motocikl. Kasnije ćete zategnuti vijke do kraja.
Slika 11. Navojni nosač vjetrobranskog stakla
1Rameni vijak
2Desni nosač vjetrobranskog stakla
3Podložak čahure
4Belleville podlošci (strane čahura usmjerene su jedna prema drugoj, a između je nosač vjetrobranskog stakla)
Slika 12. Stezaljka za postavljanje vjetrobranskog stakla
Postavljanje vjetrobrana
NAPOMENA
Držite prednji kotač ravnim kako nosači ne bi ogrebali spremnik goriva.
1. Pobrinite se da su sve četiri obujmice u „otvorenom” položaju i zatim podignite vjetrobran (tako da je strana s obujmicama dalje od vas) na prednji dio motocikla.
NAPOMENA
Vjetrobran od Lexana ® vrlo je fleksibilan i može se saviti tako da se obujmice rašire dalje od prednjeg svjetla radi lakšeg postavljanja na motocikl. Pripazite da ne ogrebete kućište prednjeg svjetla stezaljkama dok postavljate vjetrobransko staklo na klizače vilice.
2. Pomaknite prednji blatobran i provjerite jesu li kabeli gasa namješteni između obujmica s vaše lijeve strane (dok ste okrenuti prema motociklu, pridržavajući vjetrobran) te pazite da ih obujmice ne mogu ukliještiti. Centrirajte vjetrobran oko prednjeg svjetla i namjestite obujmice na klizače vilica.
UPOZORENJE
Stegnuti kabeli gasa mogu ograničiti reakciju gasa, što može rezultirati gubitkom kontrole i smrću ili ozbiljnom ozljedom. (00423b)
3. Počevši od dna (s bilo koje strane), uz labavo pričvršćene ramene vijke, zatvorite svaku obujmicu i pazite da se obujmice same poravnaju s klizačima vilica i međusobno.
NAPOMENA
Nemojte zatezati ramene vijke čvršće od preporučenog zateznog momenta. Prevelik zatezni moment može uzrokovati savijanje obujmica na klizaču vilice, što može uzrokovati popuštanje vilice obujmice.
4. Pazite da ramena vijaka potpuno sjednu na svakom položaju nosača vjetrobrana. Zategnite svaki rameni vijak na 60 in-lbs (6,7 Nm).
NAPOMENA
Ako dođe do ometanja kabela, po potrebi prilagodite vjetrobran dok se ne ostvari puni opseg pokreta. Posjetite Harley-Davidson servisno osoblje za rješavanje problema prije vožnje s ovim priborom.
Skidanje i pohrana vjetrobrana
Da biste skinuli vjetrobran, otvorite četiri obujmice bilo kojim slijedom i postupak postavljanja iz 3. i 4. koraka podteme Postavljanje vjetrobrana ponovite obrnutim redoslijedom. Pripazite da ne ogrebete kućište prednjeg svjetla ili spremnik goriva kako je naznačeno tijekom postavljanja.
Pri pohranjivanju vjetrobrana postavite ga na mjesto na kojem će obujmice biti najzaštićenije. Ne držite vjetrobran na mjestima s kojih može pasti ili biti udaren. Ne stavljajte ništa na sklop.
Prije ponovnog postavljanja nakon pohrane, provjerite predopterećenje i čistoću obujmica i pričvrsnih dijelova. Svaka stezaljka mora imati par gumenih brtvi na dijelu koji se spaja na klizač vilice, i mora se slobodno otvarati i zatvarati.
ODRŽAVANJE I ČIŠĆENJE
NAPOMENA
Odsjaj sunčeve svjetlosti s unutarnje strane vjetrobrana može uzrokovati ekstremno zagrijavanje instrumenata motocikla. Pripazite pri parkiranju. Motocikl parkirajte tako da je okrenut prema suncu, postavite neproziran predmet preko instrumenata ili prilagodite vjetrobran tako da spriječite odraz svjetlosti.
NAPOMENA
Vjetrobrani tvrtke Harley-Davidson izrađeni su od Lexana. Materijal Lexan je trajniji i otporniji na izobličenja od ostalih vrsta materijala za izradu vjetrobrana motocikla, ali ipak zahtijeva pažljivo i brižno održavanje. Neodgovarajućim održavanjem Lexana može doći do oštećenja vjetrobrana. (00230b)
  • Nemojte čistiti polikarbonatni materijal Lexan ® na suncu ili visokim temperaturama. Praškasta, abrazivna ili alkalna sredstva za čišćenje mogu oštetiti vjetrobran. Nikada nemojte grebati vjetrobran oštricom ili drugim oštrim predmetima jer time možete uzrokovati trajno oštećenje.
NAPOMENA
Upotrijebite samo proizvode koje preporučuje Harley-Davidson® za vjetrobrane Harley-Davidson®. Ne upotrebljavajte agresivne kemikalije ili proizvode za zaštitu od kiše koji mogu uzrokovati oštećenje površine vjetrobrana, na primjer, zamućivanje ili zamagljivanje. (00231c)
NAPOMENA
Za čišćenje vjetrobrana ne upotrebljavajte benzin, razređivač, gorivo ili neku drugu vrstu grubog sredstva za čišćenje. To može uzrokovati oštećenje površine vjetrobrana. (00232c)
  • Ne upotrebljavajte benzen, razrjeđivač, benzin, maziva (uključujući Armorall ® ), niti bilo koje drugo sredstvo za čišćenje na gumenim čahurama. Takva sredstva oštetit će površinu čahura.
NAPOMENA
Prekrivanje vjetrobranskog stakla čistom, mokrom krpom otprilike 15 minuta prije pranja pomaže pri uklanjanju osušenih kukaca.
SERVISNI DIJELOVI
Slika 13. Servisni dijelovi: Vjetrobran Touring
Tablica 2. Servisni dijelovi: Vjetrobran Touring
Stavka
Opis (Količina)
Broj dijela
1
Sklop obujmice, 39 mm (4)
57400465
2
Komplet, dijelovi za postavljanje vjetrobranskog stakla (4)
58790-04
3
Vijak, strojno obrađena lećasta glava, posebna (2)
2452
4
Vijak, strojno obrađena lećasta glava, posebna (7)
2921A
5
Matica, #12 glavica (9)
7651
6
Jastučić, EPDM ljepilo (jedna strana) (2)
57036-08
7
Podloška, za montažu vjetrobrana (4)
58152-96
8
Nosač, vjetrobran
58517-08
9
Nosač, vjetrobran
58518-08
10
Profilna žica, kabeli gasa
58558-97
11
Servisni vjetrobran, Touring odvojivi (uključuje stavke 7, 13 i 16)
58571-96
12
Letvica, okomita
58575-96
13
Letvica, okomita
58576-96
14
Vanjska letvica, vodoravna
58577-96
15
Unutarnja letvica, vodoravna
58578-96
16
Traka, horizontalna (2)
58582-96
17
Podloška, ravna, krom
94066-90T
18
Brtva, obujmica
58791-04
Slika 14. Servisni dijelovi: Vjetrobran Super Sport
Tablica 3. Servisni dijelovi: Vjetrobran Touring
Stavka
Opis (Količina)
Broj dijela
1
Sklop obujmice, 39 mm (4)
57400465
2
Komplet, dijelovi za postavljanje vjetrobranskog stakla (4)
58790-04
3
Podloška, obična, tip A (4)
6352
4
Nosač, modeli s odvojivim vjetrobranom 39 mm
57820-08
5
Nosač, modeli s odvojivim vjetrobranom 39 mm
57823-08
6
Servisno vjetrobransko staklo, 39 mm Sport odvojivi (uključuje stavku 7)
57883-08
7
Podloška, za montažu vjetrobrana (8)
57964-97
8
Matica, s glavicom 1/4-20 (4)
94007-90T
9
Vijak, sa zaobljenom glavom i slojem protiv odvrtanja (4)
94639-99
10
Profilna žica, kabeli gasa
58558-97
11
Podložak
94066-90T
12
Brtva, obujmica
58791-04