ΚΙΤ ΑΠΟΣΠΩΜΕΝΩΝ ΑΝΕΜΟΘΩΡΑΚΩΝ
J045012021-04-27
ΓΕΝΙΚΑ
Αριθμός κιτ
58158-08 και 57838-08
Μοντέλα
Για πληροφορίες σχετικά με τα μοντέλα εφαρμογής, δείτε τον Κατάλογο λιανικής πώλησης εξαρτημάτων και αξεσουάρ ή την ενότητα Εξαρτήματα και αξεσουάρ στη διεύθυνση www.harley-davidson.com (Αγγλικά μόνο).
Πίνακας 1. Κιτ
Αρ. κιτ
Περιγραφή
58158-08
Ανεμοθώρακας Touring
57838-08
Ανεμοθώρακας Super Sport
Περιεχόμενα του Κιτ
ΤΟΠΟΘΕΤΗΣΗ
ΠΡΟΕΙΔΟΠΟΙΗΣΗ
Η ασφάλεια του αναβάτη και του συνεπιβάτη εξαρτάται από τη σωστή τοποθέτηση αυτού του κιτ. Εάν δεν είστε σε θέση να εκτελέσετε τη διαδικασία ή εάν δεν διαθέτετε τα σωστά εργαλεία, ζητήστε από έναν εμπορικό αντιπρόσωπο Harley-Davidson να διεξαγάγει την τοποθέτηση. Η ακατάλληλη τοποθέτηση αυτού του κιτ θα μπορούσε να οδηγήσει σε θάνατο ή σοβαρό τραυματισμό. (00308b)
ΠΡΟΕΙΔΟΠΟΙΗΣΗ
Για αποφύγετε τυχαία εκκίνηση του οχήματος, το οποίο θα μπορούσε να προκαλέσει θάνατο ή σοβαρό τραυματισμό, αποσυνδέστε το αρνητικό (-) καλώδιο της μπαταρίας πριν προχωρήσετε. (00048a)
ΣΗΜΕΙΩΣΗ
Καλύψτε το εμπρός φτερό και το μπροστινό μέρος του ρεζερβουάρ καυσίμου με καθαρές πετσέτες εμπορίου για να αποφευχθούν τυχόν γρατσουνιές. Μπορεί να προκληθεί βλάβη στο φινίρισμα.
Μετατοπίστε το καλώδιο συμπλέκτη
Μόνο για μοντέλα XL Custom ή FXLR : Μετατοπίστε το καλώδιο συμπλέκτη, το οποίο είναι τώρα αγκιστρωμένο πίσω από τον βραχίονα άνω πιρουνιού, μπροστά από το τιμόνι ως εξής:
  1. Μετακινήστε το καλώδιο του συμπλέκτη από την αρχική του θέση πίσω από την πίσω αριστερή πλευρά του βραχίονα άνω πιρουνιού. Ρυθμίστε τη χαλαρότητα, τόσο πάνω όσο και κάτω από το βραχίονα πιρουνιού, για να τοποθετήσετε το καλώδιο στη βέλτιστη θέση.
  2. Εάν είναι απαραίτητο, επανατοποθετήστε τους δεσμούς του καλωδίου συμπλέκτη που είναι προσαρτημένοι στον σωλήνα πλαισίου για να επιτρέψετε στο καλώδιο συμπλέκτη να κινείται ελεύθερα όταν το τιμόνι γυρίζει πλήρως από το αριστερό προς το δεξιό κλείδωμα. Στρέψτε τη μανέτα αρκετές φορές για επιβεβαίωση.
Για όλα τα μοντέλα εκτός από XL Custom ή FXLR: Μετατοπίστε το καλώδιο συμπλέκτη στο εσωτερικό του τιμονιού ως εξής:
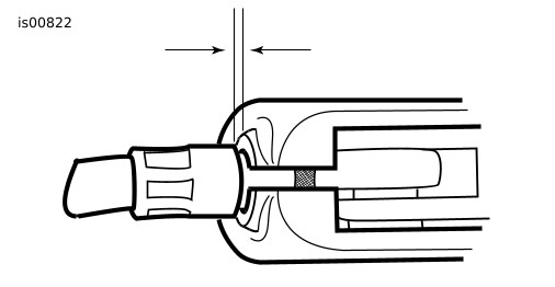
1. Ανατρέξτε στην ενότητα Εικόνα 1 . Σύρετε την λαστιχένια χοάνη (1) μακριά από τον ρυθμιστή καλωδίων συμπλέκτη (2). Ο ρυθμιστής βρίσκεται περίπου στο μέσον κατά μήκος του καλωδίου συμπλέκτη από τον μπροστινό σωλήνα πλαισίου.
1Λαστιχένια χοάνη
2Ρυθμιστής καλωδίου
3Kόντρα παξιμάδι
4Άκρο καλωδίου
Εικόνα 1. Ρυθμιστής καλωδίου συμπλέκτη
2. Κρατώντας τον ρυθμιστή καλωδίου με ένα 1/2 ίντσ. κλειδί, χαλαρώστε το κόντρα παξιμάδι (3) με ένα 9/16 ίντσ. κλειδί. Επιστρέψτε το κόντρα παξιμάδι μακριά από τον ρυθμιστή καλωδίων. Μετακινήστε τον ρυθμιστή προς το κόντρα παξιμάδι για να επιτρέψετε την ελεύθερη κίνηση στη μανέτα.
3. Αφαιρέστε τον δακτύλιο συγκράτησης από την αυλάκωση του κεντρικού πείρου στο κάτω μέρος του βραχίονα μοχλού συμπλέκτη και αφαιρέστε τον κεντρικό πείρο.
4. Αφαιρέστε τη μανέτα συμπλέκτη από τον βραχίονα. Εάν είναι απαραίτητο, χρησιμοποιήστε κεφαλή κατσαβιδιού T27 Torx ® για να αφαιρέσετε δύο βίδες με επίπεδες ροδέλες που συγκρατούν τον βραχίονα μοχλού συμπλέκτη στον σφιγκτήρα του τιμονιού.
5. Ανατρέξτε στην ενότητα Εικόνα 2 . Επαναδρομολογήστε το καλώδιο του συμπλέκτη στο εσωτερικό του τιμονιού.
Εικόνα 2. Νέα δρομολόγηση καλωδίου συμπλέκτη
6. Τοποθετήστε τον μοχλό συμπλέκτη στην αυλάκωση του βραχίονα μοχλού, τοποθετώντας το μανίκι στο άκρο του περιβλήματος καλωδίου μέσα στην οπή στην εσωτερική πλευρά του βραχίονα.
7. Εάν αφαιρεθεί, ασφαλίστε το βραχίονα μοχλού συμπλέκτη στον σφιγκτήρα του τιμονιού με βίδες Torx ® . Ξεκινώντας από την επάνω βίδα, σφίξτε στα 60-80 ίντσ-λίβρες (6,8-9,0 Nm).
8. Ανατρέξτε στην ενότητα Εικόνα 1 . Γυρίστε τον ρυθμιστή καλωδίων μακριά από το κόντρα παξιμάδι μέχρι να μην μείνει χαλαρό στη μανέτα. Τραβήξτε το καλώδιο συμπλέκτη μακριά από το βραχίονα μοχλού συμπλέκτη για να μετρήσετε τον τζόγο κίνησης.
9. Ανατρέξτε στην ενότητα Εικόνα 3 . Κρατήστε τον ρυθμιστή με ένα 1/2 ίντσ. κλειδί, και χρησιμοποιήστε ένα 9/16 ιντσ. κλειδί για να σφίγξετε το κόντρα παξιμάδι κόντρα στον ρυθμιστή καλωδίων. Καλύψτε τον μηχανισμό ρυθμιστή καλωδίων με λαστιχένια χοάνη.
10. Εάν είναι απαραίτητο, επανατοποθετήστε τους δεσμούς του καλωδίου συμπλέκτη που είναι προσαρτημένοι στον σωλήνα πλαισίου για να επιτρέψετε στο καλώδιο συμπλέκτη να κινείται ελεύθερα όταν το τιμόνι γυρίζει πλήρως από το αριστερό προς το δεξιό κλείδωμα. Στρέψτε τη μανέτα αρκετές φορές για επιβεβαίωση.
Εικόνα 3. Τζόγος κίνησης καλωδίου συμπλέκτη, 1/16-1/8 ίντσ. (1.6-3.2 χιλ)
ΠΡΟΕΙΔΟΠΟΙΗΣΗ
Μετά την αλλαγή θέσης του καλωδίου συμπλέκτη, βεβαιωθείτε ότι η μανέτα συμπλέκτη ανοίγει και κλείνει ομαλά όταν οι μπάρες τιμονιού στρέφονται πλήρως αριστερά ή δεξιά. Η αργή ανταπόκριση του μοχλού συμπλέκτη θα μπορούσε να οδηγήσει σε απώλεια ελέγχου και σε θάνατο ή σοβαρό τραυματισμό (00424d)
ΠΡΟΕΙΔΟΠΟΙΗΣΗ
Βεβαιωθείτε ότι το σύστημα διεύθυνσης είναι ομαλό και χωρίς παρεμβολές. Η παρεμβολή με το σύστημα διεύθυνσης θα μπορούσε να οδηγήσει σε απώλεια ελέγχου του οχήματος και θάνατο ή σοβαρό τραυματισμό. (00371a)
  • Βεβαιωθείτε ότι τα καλώδια συμπλέκτη δεν τραβιούνται σφιχτά όταν οι μπάρες τιμονιού είναι πλήρως στραμμένες στο αριστερό ή δεξιό άκρο του πιρουνιού.
ΣΗΜΕΙΩΣΗ
Ενδέχεται να απαιτείται να μετατοπίσετε τα καλώδια γκαζιού/ρελαντί. (Δείτε υποενότητα Δρομολόγησης γκαζιού και καλωδίου.)
Δρομολόγηση καλωδίου γκαζιού και ρελαντί
ΠΡΟΕΙΔΟΠΟΙΗΣΗ
Βεβαιωθείτε ότι το σύστημα διεύθυνσης είναι ομαλό και χωρίς παρεμβολές. Η παρεμβολή με το σύστημα διεύθυνσης θα μπορούσε να οδηγήσει σε απώλεια ελέγχου του οχήματος και θάνατο ή σοβαρό τραυματισμό. (00371a)
  • Βεβαιωθείτε ότι τα καλώδια ελέγχου γκαζιού/ρελαντί δεν τραβιούνται σφιχτά, όταν οι μπάρες τιμονιού είναι πλήρως στραμμένες στο αριστερό ή δεξιό άκρο του πιρουνιού.
  • Βεβαιωθείτε ότι τα καλώδια και οι αγωγοί είναι μακριά από τα άκρα πιρουνιού στον λαιμό πιρουνιού ώστε να μην συμπιέζονται όταν το πιρούνι στρέφεται προς τα άκρα.
  • Ανατρέξτε στην ενότητα Εικόνα 4 . Χρησιμοποιήστε συρμάτινο και ροδέλα από το κιτ.
1Συρμάτινο 58558-97
2Ροδέλα 94066-90T
3Επίπεδη ροδέλα αυθεντικού εξοπλισμού
4Βίδα αυθεντικού εξοπλισμού
Εικόνα 4. Προσάρτηση καλωδίου γκαζιού
Μοντέλα Sportster
Δρομολογήστε τα καλώδια ελέγχου μετά την αριστερή πλευρά του δεξιού φλας. Γυρίστε προς τα πίσω μέσω της περιοχής μεταξύ του προβολέα και του δεξιού σωλήνα πιρουνιού. Δρομολογήστε προς τα πίσω κάτω από τη δεξαμενή αερίου και ασφαλίστε στον συνδετήρα κάτω από το διακόπτη ανάφλεξης, κατόπιν προς τα κάτω στο καρμπιρατέρ.
Μοντέλα Dyna
Μοντέλα FXD, FXDX, FXDS-Conv: Δείτε Εικόνα 5 . Δρομολογήστε τα καλώδια γκαζιού και ρελαντί μεταξύ προβολέα και δεξιού εμπρόσθιου σωλήνα πιρουνιού, στη συνέχεια κάτω από τη δεξιά πλευρά της δεξαμενής προς το καρμπιρατέρ.
Μοντέλα FXDL: Δείτε Εικόνα 6 . Δρομολογήστε τα καλώδια γκαζιού και ρελαντί έξω (προς τη δεξιά πλευρά) από τα μπροστινά πιρούνια.
Εικόνα 5. Δρομολόγηση καλωδίων (Μοντέλα FXD, FXDX και FXDS-Conv)
Εικόνα 6. Δρομολόγηση καλωδίων (Μοντέλα FXDL)
Αφαίρεση υπάρχοντος καλωδίου γκαζιού/ρελαντί
ΣΗΜΕΙΩΣΗ
Μην αφαιρείτε και μην τοποθετείτε τη διάταξη κύριου κυλίνδρου χωρίς να τοποθετήσετε πρώτα ένα ένθετο πάχους 4 mm (5/32 inch) μεταξύ του μοχλού φρένου και του βραχίονα μοχλού. Η αφαίρεση ή η τοποθέτηση της διάταξης κύριου κυλίνδρου χωρίς το ένθετο στη θέση του ενδέχεται να προκαλέσει ζημιά στη λαστιχένια χοάνη και στον εμβολέα του διακόπτη μπροστινού φωτός φρένου. (00324a)
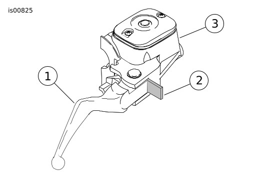
1. Ανατρέξτε στην ενότητα Εικόνα 7 . Τοποθετήστε το ένθετο από χαρτόνι μεταξύ του μοχλού φρένων και του βραχίονα του μοχλού.
2. Ανατρέξτε στην ενότητα Εικόνα 8 . Χαλαρώστε τα κόντρα παξιμάδια του ρυθμιστή καλωδίων. Βιδώστε τους ρυθμιστές καλωδίων μέχρι να είναι όσο το δυνατόν κοντύτεροι. Αυτό θα παρέχει αρκετή χαλαρότητα για εύκολη αφαίρεση.
3. Χρησιμοποιώντας κεφαλή κατσαβιδιού T25 Torx ® , αφαιρέστε τις βίδες περιβλήματος του δεξιού άνω και κάτω διακόπτη.
1Μοχλός φρένου
2Χαρτόνι, 5/32 ίντσ.
3Βραχίονας μοχλού φρένου
Εικόνα 7. Εγκατάσταση ενθέτου από χαρτόνι
1Κόντρα παξιμάδια ρυθμιστή (2)
2Ρυθμιστής καλωδίου ρελαντί
3Ρυθμιστής καλωδίου γκαζιού
4Κάτω τμήμα περιβλήματος διακοπτών
5Άνω τμήμα περιβλήματος διακοπτών
Εικόνα 8. Έλεγχος γκαζιού τιμονιού
4. Χρησιμοποιώντας κεφαλή κατσαβιδιού T27 Torx ® , χαλαρώστε την άνω βίδα ασφαλίζοντας τον σφιγκτήρα του τιμονιού στο περίβλημα κύριου κυλίνδρου. Αφαιρέστε την κάτω βίδα σφιγκτήρα με επίπεδη ροδέλα.
ΣΗΜΕΙΩΣΗ
Εάν είναι δυνατόν, αφήστε το πέλμα τριβής στη θέση του. Το πέλμα τριβής είναι χαλαρό και μπορεί να πέσει ή να αποκολληθεί εάν το κάτω τμήμα περιβλήματος διακοπτών γυρίσει ανάποδα ή ανακινηθεί.
5. Ανατρέξτε στην ενότητα Εικόνα 9 . Αφαιρέστε τους ορειχάλκινους κρίκους από τις εγκοπές στην εσωτερική πλευρά της λαβής ελέγχου γκαζιού. Αφαιρέστε τους κρίκους από τα εξαρτήματα άκρων καλωδίων.
6. Τραβήξτε πτυχωτά ένθετα στο άκρο των περιβλημάτων καλωδίου ελέγχου γκαζιού και ρελαντί από το κάτω τμήμα περιβλήματος διακοπτών. Για καλύτερα αποτελέσματα, εφαρμόστε κίνηση ταλάντωσης ενώ τραβάτε. Αφαιρέστε τα καλώδια με τους δακτυλίους συγκράτησης από το περίβλημα διακοπτών. Τοποθετήστε μια σταγόνα ελαφρού λαδιού στον δακτύλιο συγκράτησης, εάν είναι απαραίτητο, για να βοηθήσετε στην αφαίρεση.
ΣΗΜΕΙΩΣΗ
Στο σημείο αυτό, εάν διαθέτετε (ή εάν εγκαθιστάτε) διαφορετικές μπάρες τιμονιού, μετρήστε την αλλαγή στην απόσταση που απαιτείται από το άκρο του περιβλήματος καλωδίων στη λαβή γκαζιού. Συγκρίνετε αυτό το πρόσθετο απαιτούμενο μήκος με τα καλώδια που παρέχονται στο κιτ σας.
Αν το καλώδιο είναι πάνω από 2 ίντσες μακρύτερο ή πάνω από μία ίντσα κοντύτερο από την ανωτέρω μετρημένη απόσταση, απευθυνθείτε σε έναν εμπορικό αντιπρόσωπο Harley-Davidson για το σωστό μήκος καλωδίου.
1Καλώδιο γκαζιού
2Εγκοπή
3Καλώδιο ρελαντί
4Ορειχάλκινος κρίκος
Εικόνα 9. Καλώδια ελέγχου γκαζιού/ρελαντί
Εγκατάσταση καλωδίου γκαζιού/ρελαντί
1. Ανατρέξτε στην ενότητα Εικόνα 9 . Εφαρμόστε ελαφρά γραφίτη στη λαβή του γκαζιού μέσα στο περίβλημα διακοπτών και στο άκρο του γκαζιού της μπάρας τιμονιού.
ΣΗΜΕΙΩΣΗ
Το καλώδιο ελέγχου γκαζιού έχει έναν δακτύλιο συγκράτησης μεγαλύτερης διαμέτρου πτυχωμένο στο άκρο του καλωδίου από ό, τι το καλώδιο ελέγχου ρελαντί.
Για τη συναρμολόγηση, τοποθετήστε μια σταγόνα ελαφρού λαδιού στους δακτυλίους συγκράτησης των πτυχωτών ενθέτων.
2. Δείτε Εικόνα 10. Σπρώξτε το περίβλημα καλωδίου γκαζιού και τον δακτύλιο συγκράτησης μέσα στη μεγαλύτερη οπή περιβλήματος διακόπτη, που βρίσκεται μπροστά από τη βίδα του ρυθμιστή τάσης.
3. Πιέστε το περίβλημα καλωδίου ρελαντί και τον δακτύλιο συγκράτησης μέσα στη μικρότερη οπή περιβλήματος διακόπτη, που βρίσκεται πίσω από τη βίδα του ρυθμιστή τάσης.
4. Πιέστε τα περιβλήματα καλωδίων του γκαζιού και του καλωδίου ελέγχου γκαζιού και ρελαντί μέσα στο κάτω τμήμα περιβλήματος διακοπτών μέχρι να ασφαλίσει το καθένα στη θέση του.
ΣΗΜΕΙΩΣΗ
Εάν το πέλμα τριβής έχει πέσει έξω ή έχει αποσπαστεί, εγκαταστήστε το πέλμα με την κοίλη πλευρά στραμμένη προς τα πάνω και προσανατολισμένη έτσι ώστε η οπή πείρου να είναι πάνω από το σημείο της βίδας του ρυθμιστή.
5. Πιέστε τη λαβή ελέγχου γκαζιού πάνω από το άκρο της δεξιάς μπάρας τιμονιού μέχρι να κατέβει κόντρα στο κλειστό άκρο. Περιστρέψτε τη λαβή μέχρι οι εγκοπές κρίκων να βρεθούν στην κορυφή. Για να αποφύγετε εμπλοκή, τραβήξτε τη λαβή προς τα πίσω περίπου κατά 1/8 ίντσ. (3.2 χιλ).
1Δακτύλιος συγκράτησης καλωδίου ρελαντί
2Δακτύλιος συγκράτησης καλωδίου γκαζιού
3Κάτω τμήμα περιβλήματος διακοπτών
Εικόνα 10. Εγκαταστήστε τα καλώδια στο κάτω τμήμα περιβλήματος διακοπτών
6. Ανατρέξτε στην ενότητα Εικόνα 9 . Τοποθετήστε το κάτω τμήμα περιβλήματος διακοπτών κάτω από τη λαβή ελέγχου γκαζιού. Τοποθετήστε δύο ορειχάλκινους κρίκους (56508-76) από το κιτ πάνω στα καλώδια, τοποθετώντας τους κρίκους στις αντίστοιχες εγκοπές τους στη λαβή ελέγχου γκαζιού. Τα καλώδια πρέπει να συγκρατούνται μέσα στις αυλακώσεις που είναι χυτευμένες στη λαβή.
7. Τοποθετήστε το άνω τμήμα του περιβλήματος διακοπτών πάνω από την μπάρα τιμονιού και το κάτω τμήμα του περιβλήματος διακοπτών. Δρομολογήστε τον αγωγό καλωδίωσης μέσω της περιοχής εσοχής στο κάτω μέρος της μπάρας τιμονιού.
8. Σφίξτε χαλαρά τις βίδες του άνω και κάτω τμήματος του περιβλήματος διακοπτών.
9. Τοποθετήστε τον μοχλό φρένων/τον μηχανισμού κύριου κυλίνδρου στο εσωτερικό του μηχανισμού περιβλήματος διακοπτών, εμπλέκοντας τη γλωττίδα στο κάτω τμήμα περιβλήματος διακοπτών στην αυλάκωση που βρίσκεται στην κορυφή του βραχίονα μοχλών φρένων.
10. Ευθυγραμμίστε τις οπές στον σφιγκτήρα τιμονιού με εκείνες στο περίβλημα κύριου κυλίνδρου και στερεώστε χαλαρά την κάτω βίδα και την επίπεδη ροδέλα. Θέση για την άνεση του αναβάτη. Ξεκινώντας με την επάνω βίδα, σφίξτε τις βίδες στα 60-80 ίντσ-λίβρες (6,8-9,0 Nm) χρησιμοποιώντας κεφαλή κατσαβιδιού T27 Torx ® .
11. Σφίξτε τις άνω και κάτω βίδες περιβλήματος διακοπτών στις 35-45 ίντσ-λίβρες (4-5 Nm).
ΣΗΜΕΙΩΣΗ
Πάντοτε να σφίγγετε πρώτα τη βίδα του κάτω περιβλήματος διακόπτη, έτσι ώστε οποιοδήποτε κενό μεταξύ άνω και κάτω περιβλημάτων να βρίσκεται στο μπροστινό μέρος του μηχανισμού διακόπτη.
12. Ρυθμίστε τα καλώδια γκαζιού και ρελαντί σύμφωνα με τις οδηγίες του εγχειριδίου σέρβις.
ΠΡΟΕΙΔΟΠΟΙΗΣΗ
Βεβαιωθείτε ότι το σύστημα διεύθυνσης είναι ομαλό και χωρίς παρεμβολές. Η παρεμβολή με το σύστημα διεύθυνσης θα μπορούσε να οδηγήσει σε απώλεια ελέγχου του οχήματος και θάνατο ή σοβαρό τραυματισμό. (00371a)
13. Τοποθετήστε το ένθετο από χαρτόνι μεταξύ του μοχλού φρένων και του βραχίονα μοχλού.
  • Τα καλώδια δεν πρέπει να πιάνονται στο εξάρτημα του προβολέα ή να περνάνε μπροστά από τον προβολέα.
  • Τα καλώδια δεν πρέπει να πιάνονται στο εξάρτημα στερέωσης φλας ή στα φλας.
  • Τα καλώδια δεν πρέπει να πιάνονται στο καπάκι καυσίμου ή στο μετρητή καυσίμου.
  • Τα καλώδια δεν πρέπει να πιάνονται στο ταχύμετρο ή στο στροφόμετρο.
  • Βεβαιωθείτε ότι τα καλώδια δεν έχουν πιαστεί μεταξύ του πλαισίου ή/και των πιρουνιών.
  • Βεβαιωθείτε ότι τα καλώδια συμπλέκτη δεν τραβιούνται σφιχτά όταν οι μπάρες τιμονιού είναι πλήρως στραμμένες στο αριστερό ή δεξιό άκρο του πιρουνιού.
ΠΡΟΕΙΔΟΠΟΙΗΣΗ
Συνδέστε πρώτα το θετικό (+) καλώδιο της μπαταρίας. Εάν το θετικό (+) καλώδιο γειωθεί ενώ το αρνητικό (-) καλώδιο είναι συνδεδεμένο, οι σπινθήρες που θα προκύψουν μπορούν να προκαλέσουν έκρηξη της μπαταρίας, κάτι το οποίο θα μπορούσε να οδηγήσει σε θάνατο ή σοβαρό τραυματισμό. (00068a)
  1. Συνδέστε το καλώδιο της μπαταρίας, πρώτα το θετικό (+) καλώδιο.
Συναρμολογήστε σφιγκτήρες στον ανεμοθώρακα
1. Ανατρέξτε στην ενότητα Εικόνα 11 . Βγάλτε από τη συσκευασία το υποεξάρτημα ανεμοθώρακα και τοποθετήστε το με την πρόσοψη προς τα κάτω πάνω σε μια καθαρή και μαλακή επιφάνεια, με τους βραχίονες στερέωσης στραμμένους προς τα πάνω.
2. Δείτε την Εικόνα 13 ή την Εικόνα 14 . Βγάλτε από τη συσκευασία τα κιτ σφιγκτήρων και εξαρτημάτων και ξεχωρίστε τα παρόμοια εξαρτήματα στο πλαίσιο της προετοιμασίας για συναρμολόγηση.
3. Ανατρέξτε στην ενότητα Εικόνα 12 . Συναρμολογήστε τους μηχανισμούς σφιγκτήρων και σωλήνες υλικού.
ΠΡΟΕΙΔΟΠΟΙΗΣΗ
Οι καμπύλες πλευρές των ροδελών Belleville (κωνικές) πρέπει να είναι στραμμένες η μία προς την άλλη και να έχουν ανάμεσά τους τούς βραχίονες στερέωσης ανεμοθώρακα σε κάθε σημείο στερέωσης. Σε περίπτωση που ο προσανατολισμός των ροδελών δεν είναι σωστός, μπορεί να περιοριστεί η δυνατότητα του ανεμοθώρακα να αποσπαστεί σε μια σύγκρουση, κάτι που θα μπορούσε να οδηγήσει σε θάνατο ή σοβαρό τραυματισμό. (00422b)
4. Ασχοληθείτε με έναν σφιγκτήρα κάθε φορά, με τον σφιγκτήρα στραμμένο προς τα πάνω και προς το εσωτερικό του βραχίονα του ανεμοθώρακα (2), σφίξτε τα μπουλόνια με χιτώνιο (1) αρκετά ώστε να διατηρείται ο προσανατολισμός του σφιγκτήρα προς τον ανεμοθώρακα κατά την τοποθέτηση του ανεμοθώρακα στη μοτοσικλέτα. Τα μπουλόνια θα σφιχτούν πλήρως, αργότερα.
Εικόνα 11. Βραχίονες στερέωσης ανεμοθώρακα
1Μπουλόνι με χιτώνιο
2Δεξιός βραχίονας ανεμοθώρακα
3Κοίλη ροδέλα
4Ροδέλες Belleville (οι καμπύλες πλευρές είναι στραμμένες η μία προς την άλλη και έχουν ανάμεσά τους το βραχίονα του ανεμοθώρακα)
Εικόνα 12. Σφιγκτήρας στερέωσης ανεμοθώρακα
Εγκαταστήστε τον ανεμοθώρακα
ΣΗΜΕΙΩΣΗ
Κρατήστε τον μπροστινό τροχό ίσιο ώστε να αποφύγετε να γρατζουνίσουν οι βραχίονες το ρεζερβουάρ καυσίμου.
1. Βεβαιωθείτε ότι και οι τέσσερις σφιγκτήρες βρίσκονται στην «ανοικτή» θέση και, έπειτα, φέρτε τον ανεμοθώρακα (με την πλευρά σφιγκτήρων στραμμένη μακριά από εσάς) στο μπροστινό μέρος της μοτοσικλέτας.
ΣΗΜΕΙΩΣΗ
Ο ανεμοθώρακας Lexan ® είναι αρκετά εύκαμπτος και μπορείτε να τον κάμψετε ώστε να απλωθούν οι σφιγκτήρες μακριά από τον προβολέα και να διευκολυνθεί η εγκατάσταση στη μοτοσικλέτα. Προσέξτε να μην γρατζουνιστεί το περίβλημα του προβολέα με τους σφιγκτήρες κατά την τοποθέτηση του ανεμοθώρακα στους ολισθητήρες του πιρουνιού.
2. Τυλίξτε το μπροστινό φτερό και ελέγξτε για να βεβαιωθείτε ότι τα καλώδια γκαζιού είναι τοποθετημένα μεταξύ του ζεύγους σφιγκτήρων στα αριστερά σας (όπως βλέπετε τη μοτοσικλέτα, κρατώντας τον ανεμοθώρακα) και ότι δεν θα συμπιεστούν από τους σφιγκτήρες. Κεντράρετε τον ανεμοθώρακα γύρω από τον προβολέα και τοποθετήστε τους σφιγκτήρες πάνω στους ολισθητήρες πιρουνιού.
ΠΡΟΕΙΔΟΠΟΙΗΣΗ
Αν τα καλώδια του γκαζιού συμπιέζονται μπορεί να περιοριστεί η ανταπόκριση του γκαζιού, γεγονός που θα μπορούσε να προκαλέσει απώλεια ελέγχου και θάνατο ή σοβαρό τραυματισμό. (00423b)
3. Ξεκινώντας από κάτω (σε κάθε πλευρά) με μπουλόνια με χιτώνιο χαλαρά σπειρωμένα, κλείστε κάθε σφιγκτήρα, σημειώνοντας ότι οι σφιγκτήρες ευθυγραμμίζονται μόνοι τους με τους ολισθητήρες πιρουνιού και μεταξύ τους.
ΣΗΜΕΙΩΣΗ
Μην σφίξετε τα μπουλόνια με χιτώνιο παραπάνω από την συνιστώμενη τιμή ροπής. Η υπέρβαση της ροπής μπορεί να προκαλέσει περιστροφή του σφιγκτήρα στον ολισθητήρα πιρουνιού, με αποτέλεσμα να υποχωρήσει η σιαγόνα του σφιγκτήρα.
4. Βεβαιωθείτε ότι το τμήμα χιτωνίου των μπουλονιών με χιτώνιο είναι πλήρως καθισμένο σε κάθε θέση του βραχίονα ανεμοθώρακα. Σφίξτε κάθε μπουλόνι με χιτώνιο στις 60 λίβρες (6.7 Nm).
ΣΗΜΕΙΩΣΗ
Αν προκύψει παρεμβολή, ρυθμίστε τον ανεμοθώρακα όπως απαιτείται μέχρι να επιτευχθεί κατάλληλο διάκενο. Ζητήστε από έμπειρο προσωπικό του σέρβις της Harley-Davidson να διορθώσει τυχόν προβλήματα προτού οδηγήσετε με αυτό το αξεσουάρ εγκατεστημένο.
Αφαίρεση και αποθήκευση ανεμοθώρακα
Για να αφαιρέσετε τον ανεμοθώρακα, ανοίξτε τέσσερις σφιγκτήρες, με οποιαδήποτε σειρά, και αντιστρέψτε τις διαδικασίες εγκατάστασης που βρίσκονται στα βήματα 3 και 4 της υποενότητας Εγκατάσταση ανεμοθώρακα. Προσέξτε να μην γρατσουνιστεί το περίβλημα του προβολέα ή το ρεζερβουάρ καυσίμου, όπως επισημαίνεται κατά την τοποθέτηση.
Όταν αποθηκεύετε τον ανεμοθώρακα, τοποθετήστε τον σε σημείο όπου οι σφιγκτήρες του θα είναι όσο το δυνατό πιο προστατευμένοι. Μην επιλέξετε σημεία όπου ο ανεμοθώρακας μπορεί να δεχτεί χτυπήματα ή να πέσει. Μην στοιβάζετε οτιδήποτε πάνω στον μηχανισμό.
Πριν από την επανατοποθέτηση μετά από περίοδο αποθήκευσης, επιθεωρήστε τους σφιγκτήρες και τα εξαρτήματα όσον αφορά την προφόρτιση των συνδετήρων και την καθαριότητα. Κάθε σφιγκτήρας πρέπει να έχει στο στήριγμά του ένα ζευγάρι από λαστιχένια παρεμβύσματα που να ταιριάζει με τον ολισθητήρα του πιρουνιού, και πρέπει να ανοίγει και να κλείνει ελεύθερα.
ΦΡΟΝΤΙΔΑ ΚΑΙ ΚΑΘΑΡΙΣΜΟΣ
ΣΗΜΕΙΩΣΗ
Οι αντανακλάσεις του ηλιακού φωτός μακριά μέσα στην επιφάνεια του ανεμοθώρακα μπορούν να προκαλέσουν ακραία συσσώρευση θερμότητας στα όργανα της μοτοσικλέτας. Χρειάζεται προσοχή όσον αφορά τη στάθμευση. Σταθμεύστε με προσανατολισμό προς τον ήλιο, τοποθετήστε ένα αδιαφανές αντικείμενο πάνω από τα όργανα, ή προσαρμόστε τον ανεμοθώρακα για αποφυγή αντανακλάσεων.
ΣΗΜΕΙΩΣΗ
Οι ανεμοθώρακες Harley-Davidson κατασκευάζονται από Lexan. Το Lexan είναι ένα πιο σταθερό και ανθεκτικό στην παραμόρφωση υλικό σε σχέση με άλλους τύπους υλικών για ανεμοθώρακες μοτοσικλετών, παρόλ’ αυτά ωστόσο για τη συντήρησή του απαιτείται προσοχή και φροντίδα. Σε περίπτωση που το Lexan δεν συντηρηθεί κατάλληλα, μπορεί να προκληθεί ζημιά στον ανεμοθώρακα. (00230b)
  • Μην χρησιμοποιείτε πολυκαρβονικό Lexan ® κάτω από καυτό ήλιο ή σε υψηλή θερμοκρασία. Τα κονιοποιημένα, λειαντικά ή αλκαλικά μέσα καθαρισμού θα προκαλέσουν ζημιά στον ανεμοθώρακα. Μην ξύνετε ποτέ τον ανεμοθώρακα με λεπίδα ξυραφιού ή άλλα αιχμηρά αντικείμενα, διότι θα προκύψει μόνιμη βλάβη.
ΣΗΜΕΙΩΣΗ
Στους ανεμοθώρακες Harley-Davidson, χρησιμοποιείτε μόνο τα συνιστώμενα προϊόντα Harley-Davidson. Μην χρησιμοποιείτε ισχυρές χημικές ουσίες ή προϊόντα επίστρωσης προστασίας από τη βροχή, που μπορούν να προκαλέσουν ζημιά στην επιφάνεια του ανεμοθώρακα, όπως θάμπωμα ή θόλωμα. (00231c)
ΣΗΜΕΙΩΣΗ
Μην χρησιμοποιείτε βενζόλιο, διαλυτικό χρώματος, βενζίνη ή οποιονδήποτε άλλο τύπο ισχυρού καθαριστικού στον ανεμοθώρακα. Με αυτήν την ενέργεια, θα προκληθεί ζημιά στην επιφάνεια του ανεμοθώρακα. (00232c)
  • Μη χρησιμοποιείτε βενζόλιο, διαλυτικό βαφής, βενζίνη, λιπαντικά (συμπεριλαμβανομένου του Armorall ® ) ή άλλα καθαριστικά στους λαστιχένιους αντιτριβικούς δακτυλίους. Με αυτήν την ενέργεια, θα προκληθεί ζημιά στις αντιτριβικές επιφάνειες.
ΣΗΜΕΙΩΣΗ
Η κάλυψη του ανεμοθώρακα με ένα καθαρό, βρεγμένο πανί για περίπου 15 λεπτά πριν από το πλύσιμο θα κάνει ευκολότερη την απομάκρυνση των ξερών εντόμων.
ΑΝΤΑΛΛΑΚΤΙΚΑ
Εικόνα 13. Ανταλλακτικά: Ανεμοθώρακας Touring
Πίνακας 2. Ανταλλακτικά: Ανεμοθώρακας Touring
Στοιχείο
Περιγραφή (ποσότητα)
Αριθμός εξαρτήματος
1
Μηχανισμός σφιγκτήρα, 39 χιλ (4)
57400465
2
Κιτ, εξοπλισμός στερέωσης ανεμοθώρακα (4)
58790-04
3
Βίδα, μηχανής ειδική επίπεδης κεφαλής (2)
2452
4
Βίδα, μηχανής ειδική επίπεδης κεφαλής (7)
2921A
5
Παξιμάδι, #12 προστασίας (9)
7651
6
Επένδυση, αυτοκόλλητο EPDM (μία πλευρά) (2)
57036-08
7
Ροδέλα, στερέωση ανεμοθώρακα (4)
58152-96
8
Βραχίονας, ανεμοθώρακα
58517-08
9
Βραχίονας, ανεμοθώρακα
58518-08
10
Συρμάτινο, καλώδια γκαζιού
58558-97
11
Σέρβις ανεμοθώρακα, αποσπώμενος touring (περιλαμβάνει τα στοιχεία 7, 13 και 16)
58571-96
12
Διακοσμητική λωρίδα, κατακόρυφη
58575-96
13
Διακοσμητική λωρίδα, κατακόρυφη
58576-96
14
Εξωτερική λωρίδα, οριζόντια
58577-96
15
Εσωτερική λωρίδα, οριζόντια
58578-96
16
Ταινία, οριζόντια (2)
58582-96
17
Ροδέλα, επίπεδη χρώμιο
94066-90T
18
Παρέμβυσμα, σφιγκτήρας
58791-04
Εικόνα 14. Ανταλλακτικά: Ανεμοθώρακας Super Sport
Πίνακας 3. Ανταλλακτικά: Ανεμοθώρακας Touring
Στοιχείο
Περιγραφή (ποσότητα)
Αριθμός εξαρτήματος
1
Μηχανισμός σφιγκτήρα, 39 χιλ (4)
57400465
2
Κιτ, εξοπλισμός στερέωσης ανεμοθώρακα (4)
58790-04
3
Ροδέλα, απλή τύπου Α (4)
6352
4
Βραχίονας, μοντέλα με αποσπώμενο ανεμοθώρακα 39 χιλ
57820-08
5
Βραχίονας, μοντέλα με αποσπώμενο ανεμοθώρακα 39 χιλ
57823-08
6
Σέρβις ανεμοθώρακα, αποσπώμενος Sport 39 χιλ (περιλαμβάνει το στοιχείο 7)
57883-08
7
Ροδέλα, στερέωση ανεμοθώρακα (8)
57964-97
8
Παξιμάδι, προστασίας 1/4-20 (4)
94007-90T
9
Βίδα, φακοειδούς κεφαλής με ασφάλεια (4)
94639-99
10
Συρμάτινο, καλώδια γκαζιού
58558-97
11
Ροδέλα
94066-90T
12
Παρέμβυσμα, σφιγκτήρας
58791-04