SETT MED DEMONTERBAR VINDSKJERM
J045012021-04-27
GENERELT
Settnummer
58158-08 og 57838-08
Modeller
For informasjon om modellmontering kan du se P&A-handelkatalogen eller seksjonen for deler og utstyr på www.harley-davidson.com (kun på engelsk).
Tabell 1. Sett
Sett nr.
Beskrivelse
58158-08
Touring-vindskjerm
57838-08
Super Sport-vindskjerm
Settets innhold
MONTERING
ADVARSEL
Føreren og passasjerens sikkerhet avhenger av korrekt montering av dette settet. Hvis du ikke er i stand til å utføre prosedyren eller ikke har de nødvendige verktøyene, bør du få en Harley-Davidson-forhandler til å utføre monteringen. Feilaktig montering av dette settet kan utgjøre en fare for liv og helse. (00308b)
ADVARSEL
Hvis du vil forhindre tilfeldig oppstart av kjøretøyet, noe som kan forårsake dødsfall eller alvorlig personskade, må du koble fra den negative (-) batterikabelen først, før du fortsetter. (00048a)
MERK
Dekk forskjermen og forsiden av drivstofftanken med en ren fille til å forhindre riper. Skade på overflaten kan oppstå.
Flytt clutchkabelen
Kun for XL Custom- eller FXLR-modeller: Flytt clutchkabelen, som nå ligger tett bak den øvre gaffelbraketten, foran styret på følgende måte:
  1. Flytt clutchkabelen fra opprinnelig posisjon til bak venstre side av øvre gaffelbrakett. Juster slakk, både over og under gaffelbraketten, til for å plassere kabelen på best mulig måte.
  2. Om nødvendig kan du flytte festene til clutchkabelen som er festet til rammerøret, slik at clutchkabelen kan bevege seg fritt når styret dreies helt fra venstre til høyre. Klem inn hendelen flere ganger for å bekrefte.
For alle modeller unntatt XL Custom eller FXLR : Flytt clutchkabelen til innsiden av styret på følgende måte:
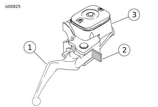
1. Se Figur 1 . Skyv gummihetten (1) av clutchkabeljusteringen (2). Justeringsenheten er plassert omtrent halvveis langs clutchkabelen ved rammerøret som går nedover.
1Gummihette
2Kabeljustering
3Festemutter
4Kabelende
Figur 1. Clutchkabeljustering
2. Hold kabeljusteringen med en 1/2 tommers nøkkel, og løsne festemutteren (3) med en 9/16 tommers nøkkel. Trekk festemutteren vekk fra kabeljusteringen. Beveg justeringen mot festemutteren for å tillate fri bevegelse for hendelen.
3. Fjern holderingen fra dreiepinnesporet nederst på clutchhendelbraketten, og fjern dreiepinnen.
4. Fjern clutchhendelen fra braketten. Bruk om nødvendig en T27 Torx ® -trekker til å fjerne to skruer med flate skiver som holder clutchhendelbraketten til styret.
5. Se Figur 2 . Før clutchkabelen langs innsiden av styret.
Figur 2. Ny føring av clutchkabel
6. Sett clutchhendelen inn i sporet på braketten, og monter hylsen på enden av kabelhuset i hullet på innsiden av braketten.
7. Hvis du fjernet clutchhendelbraketten, fester du den til styreklemmen med Torx ® -skruer. Start ved toppskruen, og stram til med 6,8 til 9,0 Nm .
8. Se Figur 1 . Vri kabeljusteringen bort fra festemutteren til slakken er eliminert ved hendelen. Trekk clutchkabelhylsen bort fra clutchhendelbraketten for å måle frigangen.
9. Se Figur 3 . Hold justereren med en 1/2 tommers nøkkel, og bruk en 9/16 tommers nøkkel til å stramme festemutteren mot kabeljusteringen. Dekk kabeljusteringsmekanismen med gummihetten.
10. Om nødvendig kan du flytte festene til clutchkabelen som er festet til rammerøret, slik at clutchkabelen kan bevege seg fritt når styret dreies helt fra venstre til høyre. Klem inn hendelen flere ganger for å bekrefte.
Figur 3. Frigang for clutchkabel, 1/16 til 1/8 tommer (1,6 til 3,2 mm)
ADVARSEL
Etter flytting av clutchvaieren må det sjekkes at clutchhendelen åpnes og lukkes jevnt når styret dreies helt til venstre og høyre. Treg clutchhendelrespons kan medføre tap av kontroll, noe som kan utgjøre en fare for liv og helse. (00424d)
ADVARSEL
Sørg for at styringen er jevn og løper fritt uten forstyrrelser. Forstyrrelser av styringen kan føre til tap av kontroll over motorsykkelen, med fare for liv og helse. (00371a)
  • Sørg for at clutchkablene ikke strammes for mye når styret vris helt til venstre eller høyre.
MERK
Dette kan være nødvendig å flytte kablene for gass/tomgang. (Se under Gass og kabelruting.)
Føring av kabler for gass og tomgang
ADVARSEL
Sørg for at styringen er jevn og løper fritt uten forstyrrelser. Forstyrrelser av styringen kan føre til tap av kontroll over motorsykkelen, med fare for liv og helse. (00371a)
  • Sørg for at kontrollkablene for gass/tomgang ikke strammes for mye når styret vris helt til venstre eller høyre.
  • Pass på at ledninger og kabler er fri fra gaffelstoppene ved styrehodet, slik at de ikke klemmes når gaffelen vris helt ut til sidene.
  • Se Figur 4 . Bruk vaiernettet og skiven fra settet.
1Vaiernett 58558-97
2Skive 94066-90T
3Opprinnelig flat skive
4Opprinnelig skrue
Figur 4. Feste av gasskabel
Sportster-modeller
Før kontrollkablene forbi venstre side av høyre blinklys. Før tilbake gjennom området mellom frontlyset og høyre gaffelrør. Før bakover under drivstofftanken og fest ved klipsen under tenningsbryteren, og så nedover til forgasseren.
Dyna-modeller
FXD-, FXDX-, FXDS-Conv-modeller: Se Figur 5 . Før kablene for gass og tomgang mellom frontlyset og høyre fremre gaffelrør, og så under høyre side av tanken til forgasseren.
FXDL-modeller: Se Figur 6 . Før kablene for gass og tomgang utenfor (til høyre for) forgaffelen.
Figur 5. Kabelføring (FXD, FXDX og FXDS-Conv-modeller)
Figur 6. Kabelføring (FXDL-modeller)
Fjerning av eksisterende kabler for gass og tomgang
MERK
Ikke fjern eller monter hovedsylinderenheten uten først å plassere en 4 mm tykk innsats mellom bremsespaken og spakbraketten. Hvis hovedsylinderen fjernes eller monteres uten at innsatsen er på plass, kan dette føre til skade på gummihetten og fjærbolten på bryteren til fremre stopplys. (00324a)
1. Se Figur 7 . Plasser pappinnsatsen mellom bremsehendelen og braketten.
2. Se Figur 8 . Løsne festemutterne for kabeljusteringen. Skru inn kabeljusteringene til de er så korte som mulig. Dette vil gi nok slakk for enkel fjerning.
3. Bruk en T25 Torx ® -trekker til å fjerne høyre øvre og nedre bryterhusskruer.
1Bremsehendel
2Papp, 5/32 tommer
3Bremsehendelbrakett
Figur 7. Monter pappinnsats
1Juster festemutteren (2)
2Justering av tomgangskabel
3Justering av gasskabel
4Nedre bryterhus
5Øvre bryterhus
Figur 8. Styregasskontroll
4. Bruk en T27 Torx ® -trekker til å løsne den øvre skruen som fester styreklemmen til hovedsylinderhuset. Fjern den nedre klemmeskruen og den flate skiven.
MERK
Hvis det er mulig, lar du friksjonsskoen være på plass. Friksjonsskoen sitter løst og kan falle ut eller løsne hvis det nedre bryterhuset snus opp ned eller ristes.
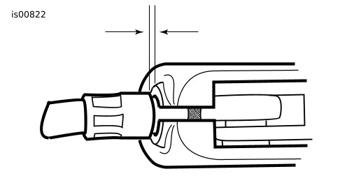
5. Se Figur 9 . Fjern messinghylsene fra hakkene på innsiden av gasshåndtaket. Fjern hylsene fra kabelendebeslagene.
6. Trekk de krympede innsatsene i enden av gass- og tomgangskontrollkabelhusene fra nedre bryterhus. Du får best resultat ved å bruke en gyngebevegelse mens du trekker. Fjern kablene med holderingene fra bryterhuset. Påfør om nødvendig en dråpe olje på holderingen for å hjelpe til med fjerningen.
MERK
Hvis du har montert (eller er i ferd med å montere) et annet styre, må du måle endringen i avstanden som kreves fra enden av kabelhuset til gasshåndtaket. Sammenlikne ekstralengden som trengs for kablene som følger med i settet.
Hvis kablene er mer enn 50 mm lenger eller mer enn 25 mm kortere enn lengden som ble målt over, kontakter du en Harley-Davidson-forhandler for å få den korrekte kabellengden.
1Gasskabel
2Hakk
3Tomgangskabel
4Messinghylse
Figur 9. Kontrollkabler for gass og tomgang
Montering av gass-/tomgangskabel
1. Se Figur 9 . Bruk grafitt forsiktig på innsiden av bryterhuset og på gassenden av styret.
MERK
Gasskontrollkabelen har en holdering med større diameter krympet på kabelenden enn tomgangskontrollkabelen.
Påfør en dråpe olje på holderingene på de krympede innsatsene ved montering.
2. Se Figur 10. Skyv gasskabelhuset og holderingen inn i bryterhusets største hull, som er plassert foran spenningsjusteringsskruen.
3. Skyv gasskabelhuset og holderingen inn i bryterhusets minste hull, som er plassert bak spenningsjusteringsskruen.
4. Skyv gass- og tomgangskontrollkabelhusene inn i det nedre bryterhuset til de klikker på plass.
MERK
Hvis friksjonsskoen har falt ut eller løsnet, monterer du den med den konkave siden vendt oppover og snudd slik at pinnehullet er over spissen på justeringsskruen.
5. Skyv gasshåndtaket over høyre ende av styret til det bunner mot enden. Roter håndtaket til hylsehakkene er øverst. For å forhindre at håndtaket blir hengende fast, trekker du det ut rundt 3 mm.
1Holdering for tomgangskabel
2Holdering for gasskabel
3Nedre bryterhus
Figur 10. Montere kablene i nedre bryterhus
6. Se Figur 9 . Plasser nedre bryterhus under gasshåndtaket. Monter to messinghylser (56508-76) fra settet på kablene, og sett hylsene i de respektive hakkene på gasshåndtaket. Kablene må plasseres i sporene som er støpt inn i håndtaket.
7. Plasser det øvre bryterhuset over styret og nedre bryterhus. Før ledningsnettet gjennom det innfelte område nederst på styret.
8. Skru inn skruene for øvre og nedre bryterhus løst.
9. Plasser bremsehendelen/hovedsylinderen på innsiden av bryterhuset, og sett tappen på nedre bryterhus i sporet øverst på bremsehendelbraketten.
10. Juster hullene i styreklemmen til hullene i hovedsylinderhuset, og fest den nedre skruen og den flate skiven løst. Plasser i ønsket stilling for føreren. Begynn med toppskruen, stram skruene til 60-80 in-lbs (6.8-9.0 Nm) ved hjelp av en T27 Torx ® drivhode.
11. Trekk til skruene til nedre og øvre bryterhus med 4 til 5 Nm .
MERK
Stram alltid til den nedre bryterhusskruen først, slik at åpningen mellom øvre og nedre hus havner foran på bryterenheten.
12. Juster kablene for gass og tomgang i henhold til instruksjonene i servicehåndboken.
ADVARSEL
Sørg for at styringen er jevn og løper fritt uten forstyrrelser. Forstyrrelser av styringen kan føre til tap av kontroll over motorsykkelen, med fare for liv og helse. (00371a)
13. Plasser pappinnsatsen mellom bremsehendelen og braketten.
  • Kablene må ikke hekte i eller gå foran frontlyset.
  • Kablene må ikke hekte i blinklysene eller festene deres.
  • Kablene må ikke hekte i tanklokket eller drivstoffmåleren.
  • Kablene må ikke hekte i speedometeret eller turtelleren.
  • Sørg for at kablene ikke er klemt mellom rammen og/eller gaffelen.
  • Sørg for at clutchkablene ikke strammes for mye når styret vris helt til venstre eller høyre.
ADVARSEL
Kople til den positive (+) batterikabelen først. Hvis den positive (+) kabelen skulle berøre jord når den negative (-) kabelen er tilkoplet, kan gnistene føre til at batteriet eksploderer, noe som kan sette liv og helse på spill. (00068a)
  1. Koble til batterikablene, plusspolen først.
Fest klemmene på vindskjermen
1. Se Figur 11 . Ta vindskjermen ut av emballasjen, og plasser den vendt nedover på et rent, mykt underlag med monteringsbrakettene vendt oppover.
2. Se Figur 13 eller Figur 14 . Finn frem klemmen og settet med monteringsdeler fra emballasjen og legg lignende deler i ulike grupper når du forbereder monteringen.
3. Se Figur 12 . Monter klemmene og monteringsdelene.
ADVARSEL
Den skålformede siden av Belleville-skivene (kone) må vende mot hverandre og sitte på hver side av monteringsbrakttene for vindskjermen ved hvert monteringspunkt. Hvis skivene ikke plasseres i riktig retning, kan det redusere vindskjermens evne til å bryte bort ved en kollisjon, hvilket kan utgjøre en fare for liv og helse. (00422b)
4. Ta for deg én klemme om gangen, med klemmen vendt oppover og på innsiden av vindskjermbraketten (2). Stram skulderboltene (1) nok til å holde klemmens retning mot vindskjermen under montering av vindskjermen på motorsykkelen. Boltene vil strammes helt til senere.
Figur 11. Vindskjermens monteringsbraketter
1Skulderbolt
2Høyre vindskjermbrakett
3Stoppskive
4Belleville-skiver (koppformede sider står mot hverandre med vindskjermbraketten mellom)
Figur 12. Monteringsklemme for vindskjerm
Monter vindskjermen
MERK
Hold forhjulet rett slik at brakettene ikke riper opp drivstofftanken.
1. Kontroller at alle de fire klemmene er i åpen posisjon, og før vindskjermen (med klemmesiden bort fra deg) til fronten av motorsykkelen.
MERK
Lexan ® -vindskjermen er ganske fleksibel og kan bøyes for å spre klemmene bort fra frontlyset og forenkle monteringen på motorsykkelen. Pass på ikke å lage riper i frontlyshuset med klemmene under posisjonering av vindskjermen til gaffelgliderne.
2. Still deg overskrevs over forskjermen og kontroller at gasskablene er plassert mellom klemmene til venstre (sett mot motorsykkelen, mens du holder vindskjermen) og ikke blir klemt av klemmene. Sentrer vindskjermen rundt frontlyset, og sett klemmene på gaffelbeskytterne.
ADVARSEL
Gassvaiere i klem kan redusere gassresponsen, noe som kan føre til tap av kontroll og fare for liv og helse. (00423b)
3. Start nederst (på hver side) med skulderboltene satt løst inn, lukk klemmene, og legg merke til at klemmene selvjusterer seg til gaffelbeskytterne og til hverandre.
MERK
Ikke stram skulderboltene med mer enn anbefalt tiltrekkingsmoment. Overstramming kan føre til at klemmen vrir seg på gaffelbeskytteren, slik at klemmen gir etter.
4. Kontroller at skulderdelene av skulderboltene sitter som de skal i brakettene på vindskjermen. Trekk til hver skulderbolt med 6,7 Nm .
MERK
Hvis noe kommer i veien, justerer du vindskjermen etter behov til du får korrekt klaring. Få erfarent Harley-Davidson-servicepersonell til å korrigere eventuelle problemer før du kjører med dette tilbehøret montert.
Fjern og oppbevar vindskjermen
Når du skal fjerne vindskjermen, åpner du de fire klemmene, i hvilken som helst rekkefølge, og reverserer monteringsprosedyren i steg 3 og 4 under Montering av vindskjerm. Vær forsiktig så du ikke lager riper på frontlyshuset eller drivstofftanken under montering.
Når du lagrer vindskjermen, bør du sette den på et sted der vindskjermklemmene får best mulig beskyttelse. Hold vindskjermen unna steder der den kan få støt eller falle ned. Ikke stable noe på toppen.
Før ny montering etter oppbevaring må du sjekke om klemmene og festedelene er rene og har riktig tiltrekking. Hver klemme skal ha et par gummipakninger i klemmesalene som samsvarer med gaffelglideren og bør åpnes og lukkes fritt.
VEDLIKEHOLD OG RENGJØRING
MERK
Solrefleksjoner på innsiden av vindskjermen kan forårsake ekstrem varmeoppbygging i motorsykkelinstrumentene. Vær forsiktig når du parkerer. Parker vendt mot solen, plasser noe ugjennomsiktig over instrumentene, eller juster vindskjermen for å unngå refleksjoner.
MERK
Harley-Davidson vindskjerm er laget av Lexan. Lexan er et mer robust og vridningsbestandig materiale enn andre typer materialer som brukes i motorsykkelvindskjermer, men det krever likevel vedlikehold og pleie. Dersom Lexan ikke vedlikeholdes skikkelig, kan det føre til skade på vindskjermen. (00230b)
  • Rengjøring av Lexan ® -polykarbonat skal ikke foregå i sterk sol eller ved høye temperaturer. Pulverrensemiddel, slipemiddel eller alkalisk rensemiddel vil skade vindskjermen. Ikke skrap vindskjermen med et barberblad eller andre skarpe instrumenter, da dette kan forårsake permanent skade.
MERK
Bruk bare Harley-Davidson-anbefalte produkter eller Harley-Davidson-frontruter. Ikke bruk skarpe kjemikalier eller regnbeskyttelsesprodukter, som kan forårsake skade på frontruten, f.eks. matt eller tilslørt overflate. (00231c)
MERK
Ikke bruk bensin, tynnere, diesel eller andre kraftige rengjøringsmidler på vindskjermen. Dette vil ødelegge vindskjermoverflaten. (00232c)
  • Ikke bruk løsemidler som tynner, bensin, smøremidler (som Armorall ® ) eller andre rengjøringsmidler på gummiforingene. Dette vil det ødelegge overflaten på foringene.
MERK
Hvis du dekker vindskjermen med en ren, våt klut i ca. 15 minutter før du vasker den, vil det bli lettere å fjerne inntørkede insekter.
SERVICEDELER
Figur 13. Servicedeler: Touring-vindskjerm
Tabell 2. Servicedeler: Touring-vindskjerm
Element
Beskrivelse (mengde)
Delenumre
1
Klemme, 39 mm (4)
57400465
2
Sett, monteringsdeler for vindskjerm (4)
58790-04
3
Skrue, pannehode, spesial (2)
2452
4
Skrue, pannehode, spesial (7)
2921A
5
Mutter, 12, hette (9)
7651
6
Pute, EPDM-lim (én side) (2)
57036-08
7
Skive, vindskjermmontering (4)
58152-96
8
Brakett, vindskjerm
58517-08
9
Brakett, vindskjerm
58518-08
10
Vaiernett, gasskabler
58558-97
11
Service-vindskjerm, demonterbar (inkluderer komponent 7, 13 og 16)
58571-96
12
Pyntestripe, vertikal
58575-96
13
Pyntestripe, vertikal
58576-96
14
Ytterstripe, horisontal
58577-96
15
Innerstripe, horisontal
58578-96
16
Teip, horisontal (2)
58582-96
17
Skive, flat, krom
94066-90T
18
Pakning, klemme
58791-04
Figur 14. Servicedeler: Super Sport-vindskjerm
Tabell 3. Servicedeler: Touring-vindskjerm
Element
Beskrivelse (mengde)
Delenumre
1
Klemme, 39 mm (4)
57400465
2
Sett, monteringsdeler for vindskjerm (4)
58790-04
3
Skive, vanlig, type A (4)
6352
4
Brakett, vindskjerm, demonterbar, 39 mm-modeller
57820-08
5
Brakett, vindskjerm, demonterbar, 39 mm-modeller
57823-08
6
Service-vindskjerm, 39 mm Sport, demonterbar (inkluderer komponent 7)
57883-08
7
Skive, vindskjermfeste (8)
57964-97
8
Mutter, hette, 1/4-20 (4)
94007-90T
9
Skrue, knappehode med lås (4)
94639-99
10
Vaiernett, gasskabler
58558-97
11
Skive
94066-90T
12
Pakning, klemme
58791-04