ערכות מגן רוח נתיק
J045012021-04-27
כללי
מספר ערכה
58158-08 ו-57838-08
דגמים
למידע על אודות ההתאמה לדגם, נא לעיין בקטלוג הקמעונאי לחלקים ולאביזרים או בדף "Parts and Accessories " באתר www.harley-davidson.com (אנגלית בלבד).
טבלה 1. ערכות
מספר ערכה
תיאור
58158-08
מגן רוח לדגמי Touring
57838-08
מגן רוח לדגמי Super Sport
תכולת הערכה
התקנה
אזהרה
הבטיחות של הרוכב והנוסע תלויה בהתקנה נכונה של הערכה הזאת. אם אינך מסוגל לבצע את הנוהל או אם אין לך הכלים הנכונים, בצע את ההתקנה בסוכנות Harley-Davidson. התקנה לא נאותה של הערכה הזאת עלולה לגרום למוות או פגיעה חמורה. (00308b)
אזהרה
כדי למנוע התנעה בשוגג של הרכב העלולה לגרום למוות או פציעה חמורה, נתק את הכבל השלילי (-) של המצבר לפני שתמשיך. (00048a)
הערה
כסה את הפגוש הקדמי ואת קדמת מיכל הדלק במטליות עבודה נקיות כדי למנוע שריטות. יכול להיגרם נזק לגימור.
מיקום מחדש של כבל המצמד
עבור דגמי XL Custom דגמי FXLR בלבד: העבר את מיקום כבל המצמד, התחוב כעת מאחורי תושבת המזלג העליון, לפני הכידון באופן הבא:
  1. הזז את כבל המצמד ממיקומו המקורי מאחורי הצד האחורי השמאלי של תושבת המזלג העליון. כוון את מידת החופש והרפיון, הן מעל והן מתחת לתושבת המזלג, כדי למקם את הכבל בצורה הטובה ביותר.
  2. במידת הצורך, שנה את מיקום אזיקוני כבל המצמד המחוברים לצינור התחתון של המסגרת כדי לאפשר לכבל המצמד לנוע בחופשיות כאשר הכידון מופנה באופן מלא מסוף המהלך של המזלג בצד שמאל עד צד ימין. הפעל את ידית הבקרה פעמים אחדות כדי לוודא שהיא פועלת באופן תקין.
עבור כל הדגמים מלבד XL Custom או FXLR: העבר את מיקום כבל המצמד לצד הפנימי של הכידון באופן הבא:
1. ראה איור 1 . החלק והסר את שרוול הגומי (1) ממכוונן כבל המצמד (2). המכוונן נמצא סמוך לאמצע כבל המצמד ליד הצינור התחתון של המסגרת הקדמית.
1נעל גומי
2מכוונן הכבל
3אום נעילה
4קצה הכבל
איור 1. מכוונן כבל המצמד
2. אחוז את מכוונן הכבל בעזרת מפתח ברגים 1/2 אינץ', ובו זמנית שחרר את אום הנעילה (3) בעזרת מפתח ברגים 9/16 אינץ'. הרחק את אום הנעילה ממכוונן הכבל. הזז את המכוונן לעבר אום הנעילה כדי לאפשר מרווח תנועה חופשי בידית הבקרה.
3. הסר את טבעת הנעילה מחריץ פין הציר בתחתית תושבת ידית המצמד, והסר את פין הציר.
4. הסר את ידית המצמד בכידון מהתושבת. במידת הצורך, השתמש במברג עם ראש T27 Torx ® כדי להסיר את שני הברגים עם דסקיות שטוחות המחברות את תושבת ידית המצמד לחבק הכידון.
5. ראה איור 2 . העבר את ניתוב כבל המצמד לצד הפנימי של הכידון.
איור 2. ניתוב מחדש של כבל המצמד
6. הכנס את ידית המצמד לחריץ תושבת הידית, והתאם את השרוול בקצה בית הכבל לתוך הקדח בצד הפנימי של התושבת.
7. אם תושבת ידית המצמד הוסרה, קבעה אותה לחבק הכידון בעזרת בורגי Torx ® . התחל להדק מהבורג העליון למומנט הידוק של 6.8-9.0 ניוטון-מטר (60-80 ליברה-אינץ' ).
8. ראה איור 1 . סובב את מכוונן הכבל והרחק אותו מאום הנעילה עד שלא יהיה עוד חופש בידית הבקרה. משוך והרחק את מעטה הקצה של כבל המצמד מתושבת ידית המצמד כדי למדוד את מידת החופש.
9. ראה איור 3 . החזק את המכוונן בעזרת מפתח ברגים 1/2 אינץ', והשתמש במפתח ברגים 9/16 אינץ' כדי להדק את אום הנעילה כנגד מכוונן הכבל. כסה את מנגנון מכוונן הכבל בכיסוי גומי.
10. במידת הצורך, שנה את מיקום אזיקוני כבל המצמד המחוברים לצינור התחתון של המסגרת כדי לאפשר לכבל המצמד לנוע בחופשיות כאשר הכידון מופנה באופן מלא מסוף המהלך של המזלג בצד שמאל עד צד ימין. הפעל את ידית הבקרה פעמים אחדות כדי לוודא שהיא פועלת באופן תקין.
איור 3. מרווח התנועה של כבל המצמד, 1/16-1/8 אינץ' (1.6-3.2 מ"מ)
אזהרה
לאחר מיקום כבל המצמד מחדש, ודא שידית המצמד נפתחת ונסגרת בצורה חלקה כאשר מפנים את הכידון ימינה או שמאלה באופן מלא. תגובת מצמד אטית עלולה לגרום לאובדן שליטה, מוות או פציעה חמורה. (00424d)
אזהרה
ודא כי ההיגוי פועל באופן חלק וללא הפרעה. הפרעה להיגוי עלולה לגרום לאובדן השליטה ברכב, למוות או לפציעה חמורה. (00371a)
  • ודא שכבלי המצמד אינם מתוחים כאשר הכידון מופנה באופן מלא לימין או לשמאל עד סוף המהלך של המזלג.
הערה
ייתכן שיהיה צורך לשנות את מיקום כבלי המצערת/הסרק. (עיין בנושא המשנה "המצערת וניתוב הכבל")
ניתוב כבל המצערת והסרק
אזהרה
ודא כי ההיגוי פועל באופן חלק וללא הפרעה. הפרעה להיגוי עלולה לגרום לאובדן השליטה ברכב, למוות או לפציעה חמורה. (00371a)
  • ודא שכבלי בקרת המצערת/הסרק אינם מתוחים כאשר הכידון מופנה באופן מלא לימין או לשמאל עד סוף המהלך של המזלג.
  • ודא שהחוטים והכבלים אינם צמודים לעמוד הכידון בנקודות סוף המהלך של המזלג כך שלא יימעכו כאשר מפנים את המזלג עד סוף המהלך.
  • ראה איור 4 . השתמש ברשת התיל ובדסקית מהערכה.
1רשת תיל 58558-97
2דסקית 94066-90T
3דסקית שטוחה מקורית
4בורג מקורי
איור 4. חיבור כבל המצערת
דגמי Sportster
העבר את כבלי הבקרה על פני צד שמאל או צד ימין של מאותת הפנייה. נתב את הכבל שוב לאחור בין הפנס הראשי לבין צינור המזלג הימני. העבר אותו לאחור מתחת למיכל הדלק ודרך התפס שמתחת למצג ההצתה, ולאחר מטה מכן לעבר המאייד.
דגמי Dyna
FXD, FXDX, FXDS-דגמים עם ממיר קטליטי: ראה איור 5 . העבר את כבלי המצערת והמצמד בין הפנס הראשי לבין צינור המזלג הימני, ולאחר מכן מתחת לצד הימני של מיכל הדלק לעבר המאייד.
דגמי FXDL: ראה איור 6 . נתב את כבלי המצערת והסרק לצד החיצוני (אל צד ימין של) המזלגות הקדמיים.
איור 5. ניתוב הכבל (FXD, FXDX ו-FXDS-דגמים עם ממיר קטליטי)
איור 6. ניתוב הכבל (דגמי FXDL)
הסרת כבל המצערת/הסרק הקיים
התראה
אין להסיר או להתקין את מכלול משאבת הבלם הראשית מבלי להציב תחילה תותב בעובי של 5/32-אינץ‘(4 מ“מ) בין ידית הבלם לבין תושבת הידית. הסרה או התקנה של מכלול משאבת הבלם הראשית מבלי שהתותב במקומו עלולות לגרום נזק לנעל הגומי ולטובלן במתג אור הבלימה הקדמי. (00324a)
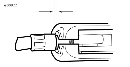
1. ראה איור 7 . הכנס פיסת קרטון בין ידית הבלם לתושבת הידית.
2. ראה איור 8 . שחרר את הידוק אומי הנעילה של כבל המכוונן. הברג פנימה את מכוונני הכבל עד שיהיו קצרים ככל האפשר. כך ייווצר מספיק חופש ורפיון לצורך הסרה נוחה.
3. הסר בעזרת מברג עם ראש T25 Torx ® את הברגים של בית המתגים הימני העליון והתחתון.
1ידית בלם
2קרטון, 5/32 אינץ'
3מסגרת ידית הבלם
איור 7. הכנסת פיסת קרטון
1אום נעילת המכוונן (2)
2מכוונן כבל הסרק
3מכוונן כבל המצערת
4תושבות מתג תחתון
5תושבות מתג עליון
איור 8. ידית בקרת המצערת בכידון
4. בעזרת מברג עם ראש T27 Torx ® , הרפה את הידוק הבורג העליון המקבע את החבק לבית משאבת הבלם הראשית. הסר את בורג החבק התחתון עם הדסקית השטוחה.
הערה
במידת האפשר, השאר את נעל החיכוך במקומה. נעל החיכוך מותקנת באופן רופף והיא עלולה ליפול החוצה או לצאת ממקומה אם הופכים את בית המתגים התחתון או מטלטלים אותו.
5. ראה איור 9 . הסר את מעטי הקצה מנחושת מהחריצים בצד הפנימי של ידית בקרת המצערת. הסר את מעטי הקצה ממתאמי הקצה של הכבל.
6. משוך את הסיומות המעוכות בקצות בתי כבל בקרת המצערת והסרק מבית המתגים התחתון. כדי לעשות זאת בצורה הטובה ביותר, השתמש בתנועת נדנוד במהלך המשיכה. הסר את הכבלים עם טבעות הנעילה מבית המתגים. שים טיפה קטנה של שמן על טבעת הנעילה, כדי לעזור בהסרה.
הערה
בשלב זה, אם יש ברשותך (או אם אתה מתקין) כידונים שונים, מדוד את ההבדל במרחק שיידרש מקצה בית הכבל אל ידית המצערת. בדוק מה האורך הנוסף הנדרש לכבל ביחס לכבל המסופק בערכה שלך.
אם הכבלים ארוכים ביותר מ-50.8 מ"מ (שני אינצ'ים) או קצרים ביותר מ-25.4 מ"מ (אינץ' אחד) מהמרחק שמדדת לעיל, גש לסוכנות של Harley-Davidson להשגת כבל באורך נכון.
1כבל המצערת
2חריץ
3כבל הסרק
4טבעת קצה מנחושת
איור 9. כבלי בקרת המצערת/הסרק
התקנת כבל המצערת/הסרק
1. ראה איור 9 . שים מעט גרפיט על ידית המצערת בתוך בית המתגים ועל קצה המצערת בכידון.
הערה
לכבל בקרת המצערת יש טבעת נעילה בעלת קוטר גדול יותר המעוכה על קצה הכבל מאשר לכבל בקרת הסרק.
לצורך ההרכבה, שים טיפה קטנה של שמן על טבעות הנעילה של הסיומות המעוכות.
2. ראה איור 10. דחוף את בית כבל המצערת ואת טבעת הנעילה לתוך החור הגדול יותר בבית המתגים, הנמצא לפני בורג כוונון המתיחה.
3. דחוף את בית כבל הסרק ואת טבעת הנעילה לתוך החור הקטן יותר בבית המתגים, הנמצא מאחורי בורג מכוונן המתיחה.
4. דחוף את בתי כבל בקרת המצערת והסרק לתוך בית המתגים התחתון עד שהם ישתלבו בנקישה במקומם.
הערה
אם נעל החיכוך נפלה החוצה או יצאה ממקומה, התקן את הנעל כשהחלק הקעור פונה כלפי מעלה וכוון אותה כך שחור הפין יימצא מעל מיקום בורג המכוונן.
5. דחוף את ידית בקרת המצערת על קצה ידית הכידון בצד ימין עד שהצד התחתון שלה ייגע בקצה הסגור. סובב את הידית עד שחריצי מעטה הקצה יימצאו בצד העליון. כדי למנוע היתפסות, משוך את הידית לאחור כ-1/8 אינץ' (3.2 מ"מ).
1טבעת נעילת כבל הסרק
2טבעת נעילת כבל המצערת
3תושבות מתג תחתון
איור 10. התקנת כבלים בבית המתגים התחתון
6. ראה איור 9 . מקם את בית המתגים התחתון מתחת לידית בקרת המצערת. התקן שני מעטי קצה מנחושת (56508-76) מהערכה על הכבלים, ומקם את מעטי הקצה בחריצים המתאימים בידית בקרת המצערת. הכבלים חייבים להיות תפוסים בחריצים הטבועים בידית.
7. הצב את תושבת המתג העליון מעל לכידון ולתושבת המתג התחתון. העבר את מוביל רתמת החיווט דרך האזור השקוע בתחתית הכידון.
8. חבר באופן רופף את בורגי בית המתגים העליון והתחתון.
9. שים את מכלול ידית הבלם/משאבת הבלם הראשית בתוך מכלול בית המתגים, ושלב את הלשונית שבבית המתגים התחתון בחריץ שבחלק העליון של תושבת ידית הבלם.
10. מקם את החורים בחבק הכידון מול אלה שבבית משאבת הבלם הראשית וחבר באופן רופף את הבורג התחתון והדסקית השטוחה. קבע את המיקום לנוחות הרוכב. התחל להדק מהבורג העליון למומנט הידוק של 6.8-9.0 ניוטון-מטר (60-80 ליברה-אינץ' ) בעזרת מברג עם ראש T27 Torx ® .
11. הדק את הברגים של בית המתגים התחתון והעליון למומנט של 4-5 ניוטון-מטר (35-45 ליברה-אינץ' ).
הערה
הקפד להדק תחילה את הבורג של בית המתגים התחתון כך שכל מרווח בין בית המתגים העליון לבית המתגים התחתון יימצא בצד הקדמי של מכלול המתגים.
12. כוונן את כבלי המצערת והסרק בהתאם להוראות המופיעות במדריך הטיפולים.
אזהרה
ודא כי ההיגוי פועל באופן חלק וללא הפרעה. הפרעה להיגוי עלולה לגרום לאובדן השליטה ברכב, למוות או לפציעה חמורה. (00371a)
13. הוצא את פיסת קרטון שבין ידית הבלם לתושבת הידית.
  • אסור שהכבלים ייתפסו באביזרי החיבור של הפנס הראשי או יעברו לפניו.
  • אסור שהכבלים ייתפסו באביזרי החיבור של מאותתי הפנייה או במאותתי הפנייה.
  • אסור שהכבלים ייתפסו במכסה מיכל הדלק או במד הדלק.
  • אסור שהכבלים ייתפסו במד המהירות או במד הסל"ד.
  • ודא שהכבלים אינם נמעכים בין המסגרת ו/או המזלגות.
  • ודא שכבלי המצמד אינם מתוחים כאשר הכידון מופנה באופן מלא לימין או לשמאל עד סוף המהלך של המזלג.
אזהרה
חבר תחילה את הכבל החיובי (+) של המצבר. אם הכבל החיובי (+) נוגע בהארקה כאשר הכבל השלילי (-) מחובר, עלולים להיווצר ניצוצות אשר יגרמו להתפוצצות המצבר, וכתוצאה מכך לגרום למוות או פגיעה חמורה. (00068a)
  1. חבר את כבלי המצבר, ראשית את הכבל החיובי (+).
חיבור החבקים למגן הרוח
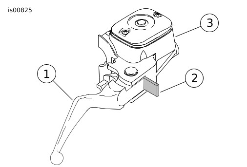
1. ראה איור 11 . הוצא את תת-מכלול מגן הרוח מהאריזה והנח אותו כשהצד הקדמי כלפי מטה על משטח רך ונקי כאשר תושבות הבסיס פונות כלפי מעלה.
2. ראה איור 13 או איור 14 . הוצא מהאריזה את ערכות החבקים ואביזרי החיבור וההתקנה, ומיין את החלקים הדומים לקראת ההרכבה.
3. ראה איור 12 . חבר את מכלולי החבקים ואת אביזרי החיבור וההתקנה.
אזהרה
הצדדים הקעורים של דיסקיות המרווח Belleville (חרוטיות) חייבים לפנות זה לעבר זה, ולעטוף משני הצדדים את מסגרת ההרכבה של מגן הרוח בכל נקודת הרכבה. כוונון לא נכון של דיסקיות המרווח עלול להפחית את היכולת של מגן הרוח להתנתק במקרה התנגשות, וכתוצאה מכך לגרום למוות או פגיעה חמורה. (00422b)
4. הדק את בורגי הכתף (1) במידה שתספיק להחזיק את החבק בכיוון מגן הרוח במהלך ההרכבה של מגן הרוח באופנוע. יש לבצע פעולה זו בחבק אחד בכל פעם, כאשר החבק פונה כלפי מעלה, ופנימה ביחס לתושבת מגן הרוח (2). הברגים יהודקו לגמרי אחר כך.
איור 11. מסגרות התקנת השמשה הקדמית
1בורג כתף
2מסגרת שמשה ימנית
3דסקית בצורת גביע
4דיסקיות Belleville (הצדדים בצורת גביע פונים זה לזה כאשר מסגרת השמשה ביניהם)
איור 12. תפסי מסגרת התקנת השמשה הקדמית
התקנת מגן הרוח
הערה
שמור גלגל קדמי ישר כדי למנוע את שריטת מיכל הדלק על ידי המסגרת.
1. ודא שכל ארבעת החבקים במצב "פתוח", והבא את מגן הרוח (כשהצד של החבק מרוחק ממך) לחזית האופנוע.
הערה
מגן הרוח מ-Lexan ® גמיש למדי וניתן לכופף אותו כדי להרחיק את החבקים מהפנס הראשי כדי להקל על ההתקנה באופנוע. הקפד לא לשרוט את תושבת הפנס הראשי עם התופסנים בעת הצבת השמשה על המזלג.
2. עמוד בפישוק מעל הכנף הקדמית וודא שכבלי המצערת ממוקמים בין צמד החבקים בצד שמאל שלך (כאשר ניצבים מול האופנוע, ומחזיקים את מגן הרוח) ולא יימעכו מהחבקים. מקם את אמצע מגן הרוח במרכז מסביב לפנס הראשי ומקם את החבקים על צינורות החלקה של המזלג.
אזהרה
כבלי מצערת מעוכים עלולים להגביל את תגובת המצערת, וכתוצאה מכך לגרום לאובדן שליטה, מוות או פציעה חמורה. (00423b)
3. התחל לסגור את החבקים בצד התחתון (לא משנה באיזה צד), כשבורגי הכתף מוברגים באופן רופף, והמשך עד שכל החבקים יהיו סגורים תוך הקפדה כך שהחבקים יתמרכזו ביחס לצינורות וזה מול זה.
הערה
אין להדק את בורגי הכתף מעבר למומנט המומלץ. הידוק יתר עלול לגרום להתעוותות החבק על צינור ההחלקה של המזלג, ולגרום לקריסת לסת החבק.
4. ודא שחלק הכתפיים של הברגים מוכנס במלואו בכל אחד ממיקומיהם בתושבת מגן הרוח. הדק כל אחד מבורגי הכתף למומנט של 6.7 ניוטון-מטר (60 ליברה-אינץ' ).
הערה
אם קיימת הפרעה, כוון את מגן הרוח לפי הצורך עד קבלת טווח תנועה תקין. פנה לאנשי שירות של Harley-Davidson לפתרון בעיות לפני רכיבה עם האביזר המותקן.
הסרה ואחסון של מגן הרוח
כדי להסיר את מגן הרוח פתח את ארבעת החבקים, לא משנה באיזה סדר, ופעל בסדר פעולות הפוך מהמתואר בשלבים 3 ו-4 של תת הנושא "התקנת מגן הרוח". הקפד לא לשרוט את בית הפנס הראשי או את מיכל הדלק, כפי שצוין, במהלך ההתקנה.
בעת אחסון מגן הרוח, בחר מקום שבו חבקי מגן הרוח יהיו מוגנים בצורה הטובה ביותר. הימנע ממקומות שבהם מגן הרוח עלול להיחבט או ליפול. אל תניח חפצים מעל למכלול.
לפני התקנה מחדש לאחר תקופת אחסון כלשהי, בדוק את הניקיון והעמידה בעומסים של בורגי החבקים ואביזרי החיבור. כל תופסן צריך זוג אטמי גומי באוגן התופסן התואמים למחוון מזלג, וצריכים להיפתח ולהיסגר בחופשיות.
טיפול וניקוי
הערה
השתקפויות אור השמש מהצד הפנימי של מגן הרוח עלולות לגרום להצטברות חום קיצוני על אביזרי האופנוע. היזהר בעת חניה. חנה מול השמש, הנח חפץ אטום על אביזרי הרכב או כוון את מגן הרוח כך שתימנע השתקפות.
התראה
מגיני הרוח של Harley-Davidson עשויים מלקסן. לקסן (Lexan) הוא חומר חסין יותר, ועמיד יותר בפני עיוותים מאשר סוגים אחרים של חומרים למגיני רוח, אך עדיין יש לטפל בו ולתחזק אותו כדי לשמור עליו. אם אין מטפלים בלקסן כראוי, עלול להיגרם נזק למגן הרוח. (00230b)
  • אל תנקה את Lexan ® פוליקרבונט ביום חם במקום החשוף לקרינת השמש או בטמפרטורות גבוהות. אבקות ניקוי וחומרי ניקוי שוחקים או אלקליים עלולים לגרום נזק לשמשה. אין לגרד את השמשה עם סכין גילוח או מכשירים חדים אחרים כי ייגרם נזק בלתי הפיך.
התראה
השתמש רק במוצרים המומלצים מטעם Harley-Davidson על מגיני רוח של Harley-Davidson. אין להשתמש בכימיקלים חזקים או בתכשירים דוחי-מים אשר עלולים לגרום נזק לפני מגן הרוח, כגון התכהות או התערפלות. (00231c)
התראה
אל תשתמש בבנזין, מדללי צבע, בדלק או בכל סוג אחר של חומרי ניקוי קשים על מגן הרוח. במקרה כזה, נזק עלול להיגרם לפני מגן הרוח. (00232c)
  • אסור להשתמש בבנזין, במדלל צבע, בדלק, בחומרי סיכה (כולל Armorall ® ), או בחומרי ניקוי אחרים על תותבי הגומי. הם יגרמו נזק לפני התותב.
הערה
כיסוי השמשה במטלית נקייה ורטובה למשך כ-15 דקות לפני הרחיצה מקלה על הסרת חרקים מתים שהתייבשו.
חלקי שירות
איור 13. חלקי שירות: מגן רוח לדגמי Touring
טבלה 2. חלקי שירות: מגן רוח לדגמי Touring
פריט
תיאור (כמות)
מספר חלק
1
מכלול חבק, 39 מ"מ (4)
57400465
2
ערכה, חומרת התקנת שמשה (4)
58790-04
3
בורג, ראש פן ייעודי בעיבוד שבבי (2)
2452
4
בורג, ראש פן ייעודי בעיבוד שבבי (7)
2921A
5
אום, #12 כיפה (9)
7651
6
רפידה, הדבקה ל-EPDM (צד אחד) (2)
57036-08
7
דסקית, תושבת מגן הרוח (4)
58152-96
8
תושבת, מגן רוח
58517-08
9
תושבת, מגן רוח
58518-08
10
רשת תיל, כבלי המצערת
58558-97
11
מגן רוח לשירות, נתיק לדגמי Touring (כלולים פריטים 7, 13 ו-16)
58571-96
12
פס חיפוי, אנכי
58575-96
13
פס חיפוי, אנכי
58576-96
14
פס חיצוני, אופקי
58577-96
15
פס פנימי, אופקי
58578-96
16
סרט, אופקי (2)
58582-96
17
דסקית, שטוחה כרום
94066-90T
18
אטם, חבק
58791-04
איור 14. חלקי שירות: ערכת מגן רוח לדגמי Super Sport
טבלה 3. חלקי שירות: מגן רוח לדגמי Touring
פריט
תיאור (כמות)
מספר חלק
1
מכלול חבק, 39 מ"מ (4)
57400465
2
ערכה, חומרת התקנת שמשה (4)
58790-04
3
דסקית, רגילה, סוג A ‏(4)
6352
4
תושבת, דגמים עם מגן רוח נתיק 39 מ"מ
57820-08
5
תושבת, דגמים עם מגן רוח נתיק 39 מ"מ
57823-08
6
מגן רוח לשירות, 39 מ"מ נתיק לדגמי Sport (פריט 7 כלול)
57883-08
7
דסקית, תושבת מגן הרוח (8)
57964-97
8
אום, כיפה 1/4-20 (4)
94007-90T
9
בורג, ראש כפתור עם ציפוי נעילה לתבריג (4)
94639-99
10
רשת תיל, כבלי המצערת
58558-97
11
דיסקית
94066-90T
12
אטם, חבק
58791-04