ערכות מגן רוח לדגמי FLHR
J007182022-10-17
מידע כללי
טבלה 1. מידע כללי
ערכות
כלים מוצעים
רמת המיומנות(1)
57981-97, 57994-94, 57994-94A, 57995-96, 57995-96A, 57767-00, 58163-02, 58731-02, 58796-02, 57807-04, 57668-10, 57400380, 57400381, 57400383
משקפי בטיחות, מפתח מומנט
(1) נדרש הידוק עד לערך המומנט או כלים וטכניקות מתונים אחרים
תכולת הערכה
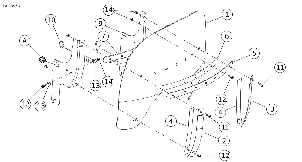
איור 1. תכולת הערכה: מגן רוח (אופייני)
טבלה 2. תכולת הערכה: ערכות מגן רוח 57981-97, 57994-94, 57994-94A, 57995-96, 57995-96A, 57767-00, 57807-04, 57668-10
יש לוודא שכל התכולה נמצאת בערכה לפני שמתקינים אותה או שמסירים פריטים מכלי הרכב.
פריט
כמות
תיאור
מספר חלק
הערות
1
1
מגן רוח, שקוף, מוגדל ב-2 אינצ'ים
58433-96
מגן רוח, שקוף, סטנדרטי
58193-04
מגן רוח, שקוף, מוקטן ב-4 אינצ'ים
57768-00
מגן רוח, שקוף עם להבות
57809-04
מגן רוח, מעושן, מוקטן ב-4 אינצ'ים
58195-94
מגן רוח, סין
57400005
2
1
תומך אנכי, חיצוני, ימני
58406-75A
3
1
תומך אנכי, חיצוני, שמאלי
58408-75A
4
2
סרט, תומך אנכי חיצוני
58417-77
5
1
תומך, אופקי חיצוני
58428-94
6
2
סרט, תומך אופקי
58416-77A
7
1
תומך, אופקי פנימי
58431-94
8
1
תושבת, ימין
58084-94
9
1
תושבת, שמאל
58088-94
10
2
נועלים קפיציים
38722-94
11
2
בורג, TORX עם ראש פן
2452
12
11
בורג, TORX עם ראש פן
2921A
13
8
דיסקית מרווח, רגילה
6119
14
13
אום, אגוז
7651
פריטים שהוזכרו בטקסט אבל אינם נכללים בערכה
A
ציוד מקורי (OE) טבעת גומי
איור 2. תכולת הערכה: מסיט זרימת אוויר (אופייני)
טבלה 3. תכולת הערכה: ערכות מסיט זרימת אוויר 58163-02, 58731-02, 58796-02
יש לוודא שכל התכולה נמצאת בערכה לפני שמתקינים אותה או שמסירים פריטים מכלי הרכב.
פריט
כמות
תיאור
מספר חלק
הערות
1
1
מסיט זרימת אוויר, מעושן
58906-02
מסיט זרימת אוויר, שקוף, בינלאומי
58908-02
מסיט זרימת אוויר, מעושן, מוגדל ב-3 אינצ'ים
58799-02
2
1
תומך אנכי, חיצוני, ימני
58674-02
3
1
תומך אנכי, חיצוני, שמאלי
58677-02
4
2
סרט, תומך אנכי חיצוני
58664-02
5
1
תומך, אופקי חיצוני
58476-02
6
2
סרט, תומך אופקי
58573-02
7
1
תומך, אופקי פנימי
58462-02
8
1
תושבת, ימין
58542-02
9
1
תושבת, שמאל
58543-02
10
2
נועלים קפיציים
38722-94
11
2
בורג, TORX עם ראש פן
2452
12
11
בורג, TORX עם ראש פן
2921A
13
8
דיסקית מרווח, רגילה
6119
14
13
אום, אגוז
7651
פריטים שהוזכרו בטקסט אבל אינם נכללים בערכה
A
2
OE טבעת גומי
כללי
הערה
ייתכן שסרטון עזר כלול בגיליון הוראות זה על מנת לסייע למתקין ולהראות בבירור חלק מסוים בהרכבה. ניתן לאתר קישור לסרטון בסופו של גיליון הוראות זה.
דגמים
למידע על ההתאמה לדגמים ניתן לעיין בקטלוג הקמעונאי של חלקים ואביזרים (Parts and Accessories) (P&A) או בדף "Parts and Accessories" (חלקים ואביזרים) באתר www.harley-davidson.com .
ודא שאתה משתמש בגרסה העדכנית ביותר של דף ההוראות. היא זמינה ב: h-d.com/isheets
יש ליצור קשר עם מרכז התמיכה ללקוחות של Harley-Davidson בטלפון 1-800-258-2464 (ארה“ב בלבד) או 1-414-343-4056.
דרישות התקנה
אזהרה
הבטיחות של הרוכב והנוסע תלויה בהתקנה נכונה של הערכה הזאת. אם אינך מסוגל לבצע את הנוהל או אם אין לך הכלים הנכונים, בצע את ההתקנה בסוכנות Harley-Davidson. התקנה לא נאותה של הערכה הזאת עלולה לגרום למוות או פגיעה חמורה. (00308b)
התראה
אל תשתמש בתיקים למגני רוח במגני רוח עם עיטורי להבה. ייגרם נזק לעיטורים. (00393f)
טבלה 4. דגמים
ערכות
תוכן העניינים
57981-97
מגן רוח מעושן בעל פרופיל נמוך
57767-00
מגן רוח שקוף בעל פרופיל נמוך
57994-94
מגן רוח שקוף בגובה סטנדרטי
57994-94A
מגן רוח שקוף בגובה סטנדרטי
57995-96
מגן רוח שקוף גבוה
57995-96A
מגן רוח שקוף גבוה
58163-02
מסיט זרימת אוויר, כהה, מעושן לדגמי Road King
58731-02
מסיט זרימת אוויר, שקוף, בינלאומי לדגמי Road King
58796-02
מסיט זרימת אוויר, מעושן כהה, מוגדל ב-3 אינצ'ים לדגמי Road King
57807-04
מגן רוח שקוף בגובה סטנדרטי עם להבות
57668-10
מגן רוח, סין
57400380
מגן רוח שקוף בגודל 20 אינץ' עם תומכים בצבע שחור
57400381
מגן רוח שקוף בגודל 18 אינץ' עם תומכים בצבע שחור
57400383
מגן רוח בגוון מוכהה קל בגודל 16 אינץ' עם תומכים בצבע שחור
התקנה
1. הורד את מגן הרוח למקומו והכנס בזהירות את תושבות הצד בין בית הפנס הראשי לבין תמוכות פנסי העקיפה עד שהמגרעות בצד התחתון נכנסות לתוך הטבעות התחתונות.
a. ודא שהמגרעות בכל אחת מהתושבות מוכנסות במלואן לטבעת הגומי.
2. עמוד מול חזית האופנוע ודחוף בעדינות את הקצה העליון של מגן הרוח לאחור עד שהמגרעות העליונות משתלבות במלואן בטבעות העליונות.
3. דחוף כלפי מטה את קפיצי הנועל העשוי חוט תיל כך שיימצאו מעל טבעות הגומי.
a. אם נדרש כוונון כלשהו, שחרר את בורגי הנעילה וסובב את קפיצי הנועל למקומם התקין.
אזהרה
התקנה לא נאותה של אביזרים או העמסה לא נכונה של מטען עלולות להשפיע על יציבות האופנוע והשליטה, וכתוצאה מכך לגרום למוות או לפגיעה חמורה. (00455b)
אזהרה
העדר מרווח נאות בין חלקים נייחים וניידים עלול לגרום לאובדן שליטה, וכתוצאה מכך לגרום למוות או פציעה חמורה. (00378a)
הערה
בדוק את השמשה הקדמית עם סיום ההתקנה. ודא שהרכבת השמשה לא תגביל תנועה מלאה שמאלה או ימינה של מכלול המזלג הקדמי. אם קיימת הגבלה, התאם את השמשה לפי הצורך עד קבלת טווח תנועה תקין. פנה לאנשי שירות של Harley-Davidson לפתרון בעיות לפני רכיבה עם האביזר המותקן.
הערה
בדוק באופן סדיר את אביזרי החיבור. אסור בהחלט לרכוב עם חיבורים רופפים. חיבור רופף גורם ללחץ נוסף על החיבורים הנותרים, בנוסף לשמשה עצמה, ועשוי לגרום לכשל מוקדם של הרכיבים.
תחזוקה
טיפול ושטיפה
הערה
השתקפויות אור השמש מאזור פנים קימור השמשה יכול, בשעות מסוימות של היום, לגרום להצטברות חום קיצוני על אביזרי האופנוע. היזהר בעת חניה. חנה מול השמש, הנח חפץ אטום על אביזרי הרכב או כוון את השמשה כך שתימנע השתקפות.
התראה
כדי לשמור על מגני רוח/מסיטי זרימת האוויר מפוליקרבונט יש לטפל בהם ולתחזק אותם בצורה נאותה. אם אין מטפלים בפוליקרבונט כראוי עלול להיגרם נזק למגן הרוח/מסיט זרימת האוויר. (00483e)
התראה
השתמש רק במוצרים המומלצים מטעם Harley-Davidson על מגיני רוח של Harley-Davidson. אין להשתמש בכימיקלים חזקים או בתכשירים דוחי-מים אשר עלולים לגרום נזק לפני מגן הרוח, כגון התכהות או התערפלות. (00231c)
אל תנקה פוליקרבונט תחת שמש קופחת או במקום עם טמפרטורות גבוהות. אבקות ניקוי וחומרי ניקוי שוחקים או אלקליים עלולים לגרום נזק לשמשה. אין לגרד את השמשה עם סכין גילוח או מכשירים חדים אחרים כי ייגרם נזק בלתי הפיך.
הערה
כיסוי השמשה במטלית נקייה ורטובה למשך כ-15 דקות לפני הרחיצה מקלה על הסרת חרקים מתים שהתייבשו.
תכשיר לניקוי וטיפול בשמשה של Harley-Davidson שמספר החלק שלו הוא 99841-01 מאושר לשימוש על שמשות פוליקרבונט של Harley-Davidson.