ערכת אביזרי חיבור בעלת ארבע נקודות עיגון נתיקות הניתנות לכוונון
J059992019-01-15
מידע כללי
טבלה 1. מידע כללי
ערכות
כלים מוצעים
רמת המיומנות(1)
זמן
52300353, 52300354
משקפי בטיחות, מפתח מומנט
1 שעה
(1) נדרש הידוק עד לערך המומנט או כלים וטכניקות מתונים אחרים
תכולת הערכה
איור 1. תכולת הערכה: ערכת אביזרי חיבור בעלת ארבע נקודות עיגון נתיקות הניתנות לכוונון
טבלה 2. תכולת הערכה: ערכת אביזרי חיבור בעלת ארבע נקודות עיגון נתיקות הניתנות לכוונון
פריט
כמות
תיאור
מספר חלק
הערות
1
1
מכלול לוחית עיגון, כרום (צד ימין, מוצג בתמונה)
52300348
1
מכלול לוחית עיגון, שחור (צד ימין, מוצג בתמונה)
52300355
2
1
מכלול לוחית עיגון, כרום (צד שמאל, לא מוצג בתמונה)
52300349
1
מכלול לוחית עיגון, שחור (צד שמאל, לא מוצג בתמונה)
52300356
3
2
תותב מרווח, נקודת עיגון
12400059
4
4
נקודת עיגון
52300345
5
4
תותב לכוונון מרווח, כרום (אופציונלי, שימוש לפי הצורך)
10300079
6
4
בורג TORX עם ראש שטוח, באורך 1/4-20 x 16 מ"מ (⅝ אינץ‘)
10200322
14.2 N·m (126 in-lbs)
יש להשתמש בחומר לאיטום ולהדבקת תבריגים LOCTITE 243 MEDIUM STRENGTH THREADLOCKER AND SEALANT (כחול)
7
4
בורג TORX, באורך 5/16-18 x 25 מ"מ (1 אינץ‘)
10200157
27.1 N·m (20 ft-lbs)
יש להשתמש בחומרים לאיטום ולהדבקת תבריגים LOCTITE 243 MEDIUM STRENGTH THREADLOCKER AND SEALANT (כחול) ו-LOCTITE 262 HIGH STRENGTH THREADLOCKER AND SEALANT (אדום)
8
4
דסקית מרווח רגילה, גימור אבץ
6302
פריטים שהוזכרו בטקסט אבל אינם נכללים בערכה
A
2
ציוד מקורי (OE) מכסה עם לשונית לכיסוי החריץ
B
4
OE בורג לחיבור מכסה עם לשונית לכיסוי החריץ
C
2
פין ארוך ללוחית העיגון
D
1
תותב פלסטיק לנקודת העיגון (הצורה אליפטית יותר מכפי שהיא במציאות לצורך המחשה)
E
1
המיקום החופשי ביותר של נקודת העיגון (אופקית ביחס לקרקע)
F
2
טווח מקסימלי של 90° לכוונון נקודת העיגון
G
1
הצד של האוגן הדק יותר של נקודת העיגון לצורך כוונון המרווח
H
1
הצד של האוגן העבה יותר של נקודת העיגון לצורך כוונון המרווח
J
2
מגרעת כוונון רדיאלית בתותב הפלסטיק
כללי
דגמים
למידע אודות החלקים המתאימים לדגם עיין בסעיף P & A בקטלוג הקמעונאי או בפרק על חלקים ואביזרים של www.harley-davidson.com (אנגלית בלבד).
ודא כי אתה משתמש בגירסה העדכנית ביותר של גיליון ההוראות אשר זמין ב: www.harley-davidson.com/isheets
יש ליצור קשר עם מרכז התמיכה ללקוחות של Harley-Davidson בטלפון 1-800-258-2464 (ארה“ב בלבד) או 1-414-343-4056.
דרישות התקנה
נדרשות רכישה בנפרד של חלקים או אביזרים אחרים לשם התקנה נכונה של ערכה זו באופנועים מדגמים מסוימים. נא לעיין בקטלוג הקמעונאי לחלקים ולאביזרים או בדף "Parts and Accessories" באתר www.harley-davidson.com (אנגלית בלבד) לקבלת רשימה של החלקים או האביזרים הנחוצים לדגם הספציפי שלך.
אזהרה
הבטיחות של הרוכב והנוסע תלויה בהתקנה נכונה של הערכה הזאת. אם אינך מסוגל לבצע את הנוהל או אם אין לך הכלים הנכונים, בצע את ההתקנה בסוכנות Harley-Davidson. התקנה לא נאותה של הערכה הזאת עלולה לגרום למוות או פגיעה חמורה. (00308b)
הכנה
אזהרה
כדי למנוע התנעה בשוגג של הרכב העלולה לגרום למוות או פציעה חמורה, הסר את הנתיך הראשי לפני שתמשיך. (00251b)
1. הסר את הנתיך הראשי.
a. עבור כלי רכב המצוידים במערכת אבטחה עם אזעקה: כאשר מבטח fob נמצא בתחום ההפעלה, סובב את מתג ההצתה למצב ON (מחובר). לאחר נטרול המערכת, כבה מתג הצתה. הסר מיד את הנתיך הראשי על פי המצוין במדריך למשתמש.
b. עבור כלי רכב שאינם מצוידים במערכת אבטחה עם אזעקה: ראה מדריך למשתמש.
2. הסר את תיק האוכף בצד ימין.
3. ראה איור 1 . הסר את שני הברגים (B) מתמוכת תיק האוכף בכל אחד מהצדדים.
4. הרם ממקומם את המכסים (A) עם הלשונית לכיסוי החריץ.
התקנה
התקנת תושבות העיגון
1.
הערה
יש להרכיב את הפין הארוך (C) בצד הקרוב יותר לחזית הרכב.
הכנס את מכלולי לוחית העיגון (1,2) לחריצים בתמוכת תיק האוכף בצד הנכון.
2. הנח דסקית (8) על כל אחד מהברגים (7).
3. שים 2 או 3 טיפות של חומר לנעילת תבריגים על תבריגי הברגים.LOCTITE 262 HIGH STRENGTH THREADLOCKER AND SEALANT (חומר בדרגה גבוהה לאטימה ולנעילת תבריגים; אדום) (94759-99)
4. אבטח את מכלולי לוחית העיגון (1,2) במקומם בעזרת הברגים (7) והדסקיות (8). הדק.
מומנט סיבוב: 27.1 N·m (20 ft-lbs)
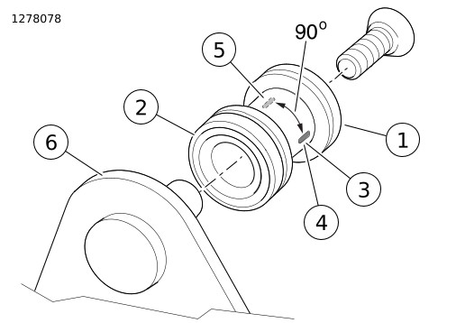
1נקודת עיגון
2הצד של האוגן העבה יותר של נקודת העיגון לצורך כוונון המרווח
3חריץ כוונון רדיאלי בתותב הפלסטיק (2)
4המיקום החופשי ביותר של נקודת העיגון (אופקית ביחס לקרקע)
5טווח מקסימלי של 90 מעלות לכוונון נקודת העיגון (X2)
6מכלול לוחית העיגון
איור 2. התקנת נקודות העיגון
5.
הערה
ראה איור 1 . אל תתקין תותבים לכוונון המרווח (5) בשלב זה.
התקן את נקודות העיגון.
a. החלק תותב מרווח (3) על הפין הארוך (C) בכל לוחית עיגון.
b. החלק נקודת עיגון (4) על כל אחד מפיני לוחית העיגון, כשהצד בעל האוגן העבה יותר (H) של נקודת העיגון פונה פנימה.
c. התקן ברגים (6) בפיני לוחית העיגון.
d. ראה איור 2 . סובב כל אחת מנקודות העיגון כך שהמגרעות יימצאו במצב אופקי (4).
e. הדק את הברגים עד שיהיו צמודים.
בדיקת יישור נקודות העיגון והידוקן
הערה
ראה איור 2 .
  • נקודות העיגון הקדמיות מאפשרות כוונון של מדף המטען באופנוע עם מושב יחיד ושל מסגרת האחיזה.
  • נקודות העיגון האחוריות מאפשרות כוונון של מדף המטען באופנוע עם מושב זוגי.
1. התקן אביזר נתיק לפי ההנחיות בערכה של האביזר הנתיק.
2. אם המרווח של נקודות העיגון רחב מדי:
a. הסר את האביזר.
b. ראה איור 1 . הסר את הבורג (6) ואת נקודת העיגון (4) מכל ארבעת הפינים של לוחית העיגון.
c. התקן נקודת עיגון על כל אחד מפיני לוחית העיגון, כשהצד בעל האוגן הדק יותר של נקודת העיגון פונה פנימה.
d. שים 2 או 3 טיפות של חומר לנעילת תבריגים על התבריגים של כל אחד מהברגים (6). התקן את הברגים.LOCTITE 243 MEDIUM STRENGTH THREADLOCKER AND SEALANT (חומר בדרגה בינונית לאטימה ולנעילת תבריגים; כחול) (99642-97)
e. ראה איור 2 . סובב כל אחת מנקודות העיגון כך שהמגרעות יימצאו במצב אופקי (4). הדק את הברגים עד שיהיו צמודים.
3. אם המרווח של נקודות העיגון צר מדי:
a. ראה איור 1 . הסר את כל הרכיבים מכל ארבעת הפינים של לוחית העיגון.
b. התקן תותבים לכוונון המרווח (5) בכל אחת מנקודות העיגון.
c. התקן תותב מרווח (3) על הפין הארוך יותר (C) בכל לוחית עיגון.
d. התקן נקודת עיגון על כל אחד מפיני נקודות העיגון (כשהצד בעל האוגן העבה יותר של נקודת העיגון פונה פנימה).
e. שים 2 או 3 טיפות של חומר לנעילת תבריגים על התבריגים של כל אחד מהברגים (6). התקן את הברגים.LOCTITE 243 MEDIUM STRENGTH THREADLOCKER AND SEALANT (חומר בדרגה בינונית לאטימה ולנעילת תבריגים; כחול) (99642-97)
f. ראה איור 2 . סובב כל אחת מנקודות העיגון כך שהמגרעות יימצאו במצב אופקי (4). הדק את הברגים עד שיהיו צמודים.
4.
הערה
המיקום (5) הוא המיקום ההדוק ביותר שניתן לקבוע לנקודות העיגון. המיקום (4) הוא המיקום המשוחרר ביותר שניתן לקבוע לנקודות העיגון.
אם לא ניתן לחבר את האביזר באופן הדוק לנקודות העיגון:
a. שחרר את הברגים (6).
b. ראה איור 2 . סובב מעט את נקודות העיגון (1) כדי להרחיקן מהמצב האופקי (4).
c. בדוק את התאמת האביזר הנתיק.
d. המשך לסובב מעט לעבר המצב האנכי (5) הרחק מהמצב האופקי (4) עד שתושג הצמדה הדוקה בכל אחד מהמיקומים.
5. ראה איור 1 . אבטח את הברגים של פיני לוחית העיגון (6). הדק.
מומנט סיבוב: 14.2 N·m (126 in-lbs)
סיום
הערה
כדי למנוע נזק אפשרי למערכת הקול, ודא שההצתה במצב OFF (מנותק) לפני התקנת הנתיך הראשי.
1. התקן את הנתיך הראשי. ראה מדריך למשתמש.
2. התקן את תיקי האוכף. ראה מדריך למשתמש.
תחזוקה
עם הזמן נשחקות נקודות העיגון, דבר שגורם לאביזר הנתיק המותקן להתרופף ולקרקש. הדק את ההצמדה באמצעות השיטה שלהלן.
1. ראה איור 1 . רשום את המיקום הנוכחי של המגרעת בכל אחת מנקודות העיגון. הסר את הברגים (6) מכל ארבעת הפינים של לוחית העיגון.
2.
הערה
הסר את חומר נעילת התבריגים מבורגי נקודת העיגון ומהתבריגים של חורי ההרכבה, לפני מריחת חומר לנעילת תבריגים על תבריגי הברגים.
שים 2 או 3 טיפות של חומר לנעילת תבריגים על התבריגים של כל אחד מהברגים (6).LOCTITE 243 MEDIUM STRENGTH THREADLOCKER AND SEALANT (חומר בדרגה בינונית לאטימה ולנעילת תבריגים; כחול) (99642-97)
3. התקן נקודות עיגון, ברגים ותותבי מרווח (אם קיימים). הדק עם האצבעות כך שיהיה הדוק.
4. אם המגרעות אינן במצב אנכי (F), סובב את נקודות העיגון מעט, תוך הזזת המגרעות לעבר (F) עד שתיווצר הצמדה הדוקה של האביזר הנתיק בכל אחד מהמיקומים.
5. אבטח את בורגי נקודת העיגון (6). הדק.
מומנט סיבוב: 14.2 N·m (126 in-lbs)
6.
הערה
הסר את חומר נעילת התבריגים מבורגי נקודת העיגון ומהתבריגים של חורי ההרכבה, לפני מריחת חומר לנעילת תבריגים על תבריגי הברגים.
אם המגרעות של תותב נקודת העיגון נמצאות במצב אנכי (F):
a. הסר את הברגים (6) מכל ארבעת הפינים של לוחית העיגון.
b. סובב כל אחת מנקודות העיגון עד שהמגרעת השנייה מגיעה למצב (E).
c. שים 2 או 3 טיפות של חומר לנעילת תבריגים על התבריגים של כל אחד מהברגים (6).LOCTITE 243 MEDIUM STRENGTH THREADLOCKER AND SEALANT (חומר בדרגה בינונית לאטימה ולנעילת תבריגים; כחול) (99642-97)
d. התקן ברגים ותותבי מרווח (אם קיימים). הדק עם האצבעות כך שיהיה הדוק.
e. בדוק את האביזר הנתיק בכל נקודת עיגון, תוך סיבוב המגרעת לעבר (F) עד שתושג הצמדה הדוקה של האביזר הנתיק בכל מיקום.
f. אבטח את הברגים (6). הדק.
מומנט סיבוב: 14.2 N·m (126 in-lbs)
7. לאחר כוונונים רבים, אם האביזר הנתיק ממשיך לקרקש או נשאר משוחרר, החלף את נקודות העיגון.