התקנה

אזהרה
הבטיחות של הרוכב והנוסע תלויה בהתקנה נכונה של הערכה הזאת. אם אינך מסוגל לבצע את הנוהל או אם אין לך הכלים הנכונים, בצע את ההתקנה בסוכנות Harley-Davidson. התקנה לא נאותה של הערכה הזאת עלולה לגרום למוות או פגיעה חמורה. (00308b)
הערה
יש להניח מטליות עבודה על הפנס הראשי והחלק הקדמי של מיכלי הדלק כדי למנוע שריטות.
הקפד שהגלגל הקדמי יהיה מיושר לפנים כדי שהתושבות לא ישרטו את מיכל הדלק.
ודא שמכלול מגן הרוח אינו נוגע בחלקי כרום או בחלקים צבועים. המגע יגרום לשריטות.
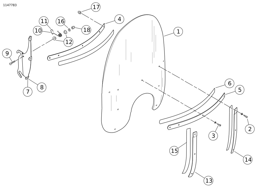
הסר את מגן הרוח המקורי. כדי להסיר את מגן הרוח, אחוז בשולי מגן הרוח כך שיימצא במקביל לתומך המרכזי ומשוך בחוזקה את מגן הרוח מחריצי התותבים כדי לשחרר אותו.
כדי להתקין את מגן הרוח החדש, הלבש בזהירות את הלסתות התחתונות של מכלול מגן הרוח על החריצים של תותבי הגומי שעל התושבת התחתונה של פנס העזר.
הלבש את שתי הלסתות העליונות של מכלול מגן הרוח לתוך החריצים בתותבי הגומי העליונים.
דחוף את מכלול מגן הרוח על התותבים עד שהוא יונח היטב במקומו.
הערה
בדוק את השמשה הקדמית עם סיום ההתקנה. ודא שהרכבת השמשה לא תגביל תנועה מלאה שמאלה או ימינה של מכלול המזלג הקדמי. תנועה אסורה עלולה להשפיע על השליטה, ולגרום למוות או לפציעה חמורה. אם קיימת הגבלה, התאם את השמשה לפי הצורך עד קבלת טווח תנועה תקין.
פנה לאנשי שירות של Harley-Davidson לפתרון בעיות לפני רכיבה עם האביזר המותקן.
הערה
בדוק באופן סדיר את אביזרי החיבור. אסור בהחלט לרכוב עם חיבורים רופפים. חיבור רופף גורם ללחץ נוסף על החיבורים הנותרים, בנוסף לשמשה עצמה, ועשוי לגרום לכשל מוקדם של הרכיבים ו/או מגן הרוח.
טיפול ושטיפה
הערה
השתקפויות אור השמש מאזור פנים קימור השמשה יכול, בשעות מסוימות של היום, לגרום להצטברות חום קיצוני על אביזרי האופנוע. היזהר בעת חניה. חנה מול השמש, הנח חפץ אטום על אביזרי הרכב או כוון את השמשה כך שתימנע השתקפות.
התראה
כדי לשמור על מגני רוח/מסיטי זרימת האוויר מפוליקרבונט יש לטפל בהם ולתחזק אותם בצורה נאותה. אם אין מטפלים בפוליקרבונט כראוי עלול להיגרם נזק למגן הרוח/מסיט זרימת האוויר. (00483e)
התראה
מגיני הרוח של Harley-Davidson עשויים מלקסן. לקסן (Lexan) הוא חומר חסין יותר, ועמיד יותר בפני עיוותים מאשר סוגים אחרים של חומרים למגיני רוח, אך עדיין יש לטפל בו ולתחזק אותו כדי לשמור עליו. אם אין מטפלים בלקסן כראוי, עלול להיגרם נזק למגן הרוח. (00230b)
התראה
השתמש רק במוצרים המומלצים מטעם Harley-Davidson על מגיני רוח של Harley-Davidson. אין להשתמש בכימיקלים חזקים או בתכשירים דוחי-מים אשר עלולים לגרום נזק לפני מגן הרוח, כגון התכהות או התערפלות. (00231c)
התראה
אל תשתמש בבנזין, מדללי צבע, בדלק או בכל סוג אחר של חומרי ניקוי קשים על מגן הרוח. במקרה כזה, נזק עלול להיגרם לפני מגן הרוח. (00232c)
הערה
כיסוי השמשה במטלית נקייה ורטובה למשך כ-15 דקות לפני הרחיצה מקלה על הסרת חרקים מתים שהתייבשו.