SÚPRAVY SNÍMATEĽNÉHO VETERNÉHO ŠTÍTU
J045012021-04-27
VŠEOBECNÉ INFORMÁCIE
Číslo súpravy
58158-08 a 57838-08
Modely
Informácie o vhodnosti pre jednotlivé modely nájdete v maloobchodnom katalógu náhradných dielov a príslušenstva alebo v časti venovanej náhradným dielom a príslušenstvu na stránke www.harley-davidson.com (iba v angličtine).
Tabuľka 1. Súpravy
Č. súpravy
Popis
58158-08
Veterný štít Touring
57838-08
Veterný štít Super Sport
Obsah súpravy
MONTÁŽ
VÝSTRAHA
Na správnej inštalácii tejto súpravy závisí bezpečnosť vodiča a spolujazdca. Ak daný postup presahuje vaše schopnosti alebo nemáte potrebné nástroje, zverte inštaláciu predajcovi motocyklov Harley-Davidson. Nesprávna inštalácia tejto súpravy môže mať za následok smrť alebo ťažké zranenie. (00308b)
VÝSTRAHA
Aby sa zabránilo neúmyselnému naštartovaniu motocykla, ktoré by mohlo spôsobiť smrť alebo ťažké zranenie, odpojte najprv záporný (–) kábel batérie. (00048a)
POZNÁMKA
Zakryte predný blatník a prednú časť palivovej nádrže čistými dielenskými utierkami, aby ste zabránili poškrabaniu laku. Mohla by sa poškodiť povrchová úprava.
Premiestnenie spojkového lanka
Iba pre modely XL Custom alebo FXLR: Premiestnite spojkové lanko, ktoré je momentálne upevnené za horným držiakom vidlice a v prednej časti riadidiel nasledovne:
  1. Presuňte spojkové lanko z jeho pôvodnej pozície do zozadu zadnej ľavej časti horného držiaka vidlice. Nastavte vôľu nad aj pod držiakom vidlice tak, aby bolo možné lanko umiestnite čo najlepšie.
  2. Podľa potreby premiestnite montážne príchytky spojkového lanka upevnené na zvislej trubici tak, aby sa počas otáčania riadidiel, z jednej strany na druhú až na doraz, spojkové lanko mohlo voľne pohybovať. Na overenie si správneho fungovania niekoľkokrát stlačte a uvoľnite ručnú páčku.
Pre všetky modely okrem XL Custom alebo FXLR: Premiestnite spojkové lanko vo vnútri riadidiel nasledovne:
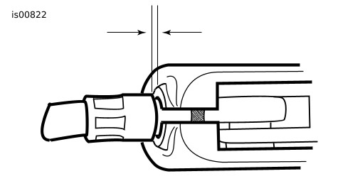
1. Pozrite Obrázok 1 . Snímte gumený návlek (1) z mechanizmu nastavenia spojkového lanka (2). Mechanizmus nastavenia je umiestnený asi v polovici dĺžky spojkového lanka od zvislej trubice predného rámu.
1Gumený návlek
2Mechanizmus nastavenia lanka
3Poistná matica
4Koniec kábla
Obrázok 1. Mechanizmus nastavenia spojkového lanka
2. Pridržiavajte mechanizmus nastavenia lanka pomocou 1/2“ kľúča a zároveň uvoľnite poistnú maticu (3) použitím 9/16“ kľúča. Odskrutkujte poistnú maticu smerom od mechanizmu nastavenia lanka. Presuňte mechanizmus nastavenia smerom k poistnej matici tak, aby mala ručná páčka dostatočne voľný priestor na pohyb.
3. Demontujte poistný krúžok z drážky otočného čapu na spodnej strane držiaka páčky spojky a snímte otočný čap.
4. Demontujte ručnú páčku spojky z držiaka. Podľa potreby použite vrták T27 Torx ® na odstránenie dvoch skrutiek z plochými podložkami, ktoré upevňujú držiak páčky spojky k svorke riadidiel.
5. Pozrite Obrázok 2 . Opätovne veďte trasu spojkového lanka smerom do vnútra riadidiel.
Obrázok 2. Nová trasa spojkového lanka
6. Vložte páčku spojky do drážky na držiaku páčky tak, aby bolo puzdro umiestnené na konci krytu lanka a vo vnútri otvoru na vnútornej strane držiaka.
7. Ak bol demontovaný, upevnite držiak páčky spojky k svorke riadidiel pomocou skrutiek Torx ® . Začínajúc od hornej skrutky utiahnite skrutky momentom 60 – 80 in-lbs (6,8 – 9,0 Nm).
8. Pozrite Obrázok 1 . Otáčajte mechanizmus nastavenia lanka smerom od poistnej matice, až kým nie je ručná páčka dostatočne zaistená. Vytiahnite objímku spojkového lanka smerom od držiaka páčky spojky na odmeranie voľného priestoru.
9. Pozrite Obrázok 3 . Pridržte mechanizmus nastavenia pomocou 1/2“ kľúča, a použite 9/16“ kľúč na utiahnutie poistnej matice proti mechanizmu nastavenia lanka. Zakryte mechanizmus nastavenia lanka pomocou gumeného návleku.
10. Podľa potreby premiestnite montážne príchytky spojkového lanka upevnené na zvislej trubici tak, aby sa počas otáčania riadidiel, z jednej strany na druhú až na doraz, spojkové lanko mohlo voľne pohybovať. Na overenie si správneho fungovania niekoľkokrát stlačte a uvoľnite ručnú páčku.
Obrázok 3. Voľný priestor spojkového lanka, 1/16 – 1/8 in“ (1,6 – 3,2 mm)
VÝSTRAHA
Po vykonaní zmeny orientácie spojky skontrolujte, či sa páčka spojky otvára a zatvára plynule pri plnom otočení riadidiel doľava či doprava. Pomalá reakcia páčky spojky môže viesť k strate kontroly nad motocyklom a ťažkému zraneniu alebo smrti. (00424d)
VÝSTRAHA
Dbajte na to, aby riadenie pracovalo vždy hladko, voľne a bez prekážok. Prekážky riadenia môžu spôsobiť stratu kontroly nad motocyklom s následkom smrti alebo ťažkého zranenia. (00371a)
  • Uistite sa, že sa spojkové lanká pri plnom otočení riadidiel doľava alebo doprava nenaťahujú.
POZNÁMKA
Premiestnenie káblov škrtiacej klapky/voľnobehu sa môže vyžadovať. (Pozrite si podsekciu Trasa vedenia káblov škrtiacej klapky a voľnobehu)
Trasa vedenia káblov škrtiacej klapky a voľnobehu
VÝSTRAHA
Dbajte na to, aby riadenie pracovalo vždy hladko, voľne a bez prekážok. Prekážky riadenia môžu spôsobiť stratu kontroly nad motocyklom s následkom smrti alebo ťažkého zranenia. (00371a)
  • Uistite sa, že sa káble škrtiacej klapky a voľnobehu pri plnom otočení riadidiel doľava alebo doprava nenaťahujú.
  • Skontrolujte, že sa lanká a káble nenachádzajú v miestach riadiacej hlavy pri plnom otočení vidlice a že sa pri plnom otočení nepricviknú.
  • Pozrite Obrázok 4 . Použite káblové vedenie a podložku zo súpravy.
1Káblové vedenie 58558-97
2Podložka 94066-90T
3Plochá podložka z originálnej výbavy
4Skrutka z originálnej výbavy
Obrázok 4. Pripevnenie škrtiacej klapky
modely Sportster
Veďte káble ovládania pozdĺž ľavej strany pravého smerového svetla. Veďte káble do slučky a späť cez priestor medzi predným svetlometom a pravou trubicou vidlice. Veďte ich zozadu, pod palivovou nádržou a zaistite ich pomocou príchytky pod spínačom zapaľovania. Následne ich veďte smerom nadol ku karburátoru.
Modely Dyna
Modely FXD, FXDX, FXDS-Conv: Pozrite Obrázok 5 . Veďte káble škrtiacej klapky a voľnobehu medzi predným svetlometom a pravou prednou trubicou vidlice. Následne ich veďte pod pravou stranou palivovej nádrže smerom ku karburátoru.
Modely FXDL: Pozrite Obrázok 6 . Veďte káble škrtiacej klapky a voľnobehu smerom von od predných vidlíc (na pravej strane).
Obrázok 5. Trasa vedenia káblov (modely FXD, FXDX, and FXDS-Conv)
Obrázok 6. Trasa vedenia (modely FXDL)
Demontáž súčasných káblov škrtiacej klapky/voľnobehu
UPOZORNENIE
Neodstraňujte ani neinštalujte zostavu hlavného valca, pokiaľ neumiestnite 5/32 palcovú (4 mm) vložku medzi brzdovú páku a držiak páky. Demontáž alebo montáž zostavy hlavného valca bez umiestnenej vložky môže spôsobiť poškodenie gumovej čiapočky a piestu predného spínača brzdového svetla. (00324a)
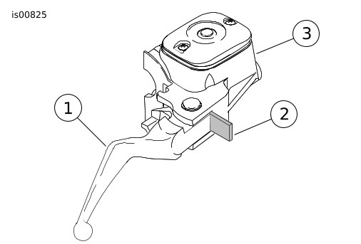
1. Pozrite Obrázok 7 . Umiestnite kartónovú vložku medzi páčku brzdy a držiakom páčky.
2. Pozrite Obrázok 8 . Uvoľnite poistné matice mechanizmu nastavenia kábla. Naskrutkujte mechanizmy nastavenia kábla, až kým sú čo najkratšie. Tým poskytnete dostatočný voľný priestor na ľahkú demontáž.
3. Pomocou vrtáka T25 Torx ® demontujte pravé horné a dolné skrutky krytu spínača.
1Páčka brzdy
2Kartónová vložka 5/32“
3Držiak páčky brzdy
Obrázok 7. Montáž kartónovej vložky
1Poistná matica mechanizmu nastavenia (2)
2Mechanizmus nastavenia kábla voľnobehu
3Mechanizmus nastavenia kábla škrtiacej klapky
4Dolný kryt spínačov
5Horný kryt spínačov
Obrázok 8. Ovládanie škrtiacej klapky na riadidlách
4. Pomocou vrtáku T27 Torx ® uvoľnite hornú skrutku upevňujúcu svorku riadidiel ku krytu hlavného valca. Demontujte spodnú skrutku svorky s plochou podložkou.
POZNÁMKA
Ak je to možné, ponechajte brzdovú čeľusť na jej mieste. Brzdová čeľusť je voľne upevnená a pri otočení alebo pohybe dolného krytu spínača môže vypadnúť alebo sa uvoľniť.
5. Pozrite Obrázok 9 . Demontujte mosadzné objímky z drážok na vnútornej strane rukoväti plynu. Demontujte objímky z kábla a upevnení.
6. Vytiahnite zahnuté vložky na konci krytov káblov škrtiacej klapky a voľnobehu z dolného krytu spínača. Na najjednoduchšie vytiahnutie aplikujte pohyb smerom dovnútra a von. Demontujte káble spolu s poistnými krúžkami z krytu spínača. Podľa potreby naneste na poistný krúžok kvapku ľahkého oleja na zjednodušenie jeho demontáže.
POZNÁMKA
V tomto momente, ak máte (alebo inštalujete) odlišné riadidlá, odmerajte rozdiel vo vzdialenosti, ktorý bude potrebný od konca káblového kryt po rukoväť plynu. Porovnajte túto dodatočnú požadovanú dĺžku z káblami z vašej súpravy.
Ak sú káble o viac ako 2 palce dlhšie alebo o viac ako 1 palec kratšie ako vyššie nameraná vzdialenosť, navštívte predajcu Harley-Davidson a požiadajte o správnu dĺžku káblov.
1Kábel škrtiacej klapky
2Drážka
3Kábel voľnobehu
4Mosadzná objímka
Obrázok 9. Káble ovládania škrtiacej klapky/voľnobehu
Montáž kábla škrtiacej klapky/voľnobehu
1. Pozrite Obrázok 9 . Zľahka naneste grafit na rukoväť plynu vo vnútri krytu spínača a na koncovku plynu na riadidlách.
POZNÁMKA
Kábel škrtiacej klapky obsahuje poistný krúžok s väčším priemerom, ako priemer kábla ovládania voľnobehu, ktorý je zahnutý ku koncovke kábla.
Na montáž naneste kvapku ľahkého oleja na poistné krúžky zahnutých vložiek.
2. Pozrite Obrázok 10. Vsuňte káblový kryt škrtiacej klapky a poistný krúžok do väčšieho otvoru krytu spínača, ktorý je umiestnený z prednej strany nastavovacej skrutky napnutia.
3. Vsuňte káblový kryt voľnobehu a poistný krúžok do menšieho otvoru krytu spínača, ktorý je umiestnený zo zadnej strany nastavovacej skrutky napnutia.
4. Vsuňte káble ovládanie škrtiacej klapky a voľnobehu do dolného krytu spínača, až kým nezacvaknú na ich miesta.
POZNÁMKA
Ak brzdová čeľusť vypadla alebo sa uvoľnila, namontujte ju s vydutou stranou smerom nahor a natočte ju tak, aby bol kolíkový otvor umiestnený cez bod nastavovacej skrutky.
5. Vsuňte rukoväť plynu cez koncovku pravej strany riadidiel, až kým nedosadne na uzavretý koniec. Otáčajte rukoväťou, až kým nie sú drážky objímky na hornej strane. Aby ste zabránili zaseknutiu, vytiahnite rukoväť smerom dozadu o asi 1/8“ (3,2 mm).
1Poistný krúžok kábla voľnobehu
2Poistný krúžok kábla škrtiacej klapky
3Dolný kryt spínačov
Obrázok 10. Montáž káblov k dolnému krytu spínača
6. Pozrite Obrázok 9 . Umiestnite dolný kryt spínača pod rukoväť plynu. Namontujte dve mosadzné objímky (56508-76) zo súpravy na káble tak, aby boli objímky umiestnené do ich príslušných drážok na rukoväti plynu. Káble musia byť pripevnené k drážkam odliatym na rukoväti.
7. Umiestnite horný kryt spínača cez riadidlá a dolný kryt spínača. Veďte káblový zväzok cez zabudovanú stranu na spodku riadidiel.
8. Navoľno upevnite hornú a dolnú skrutku krytu spínača.
9. Umiestnite páčku brzdy/hlavný valec z vnútornej strany zostavy krytu spínača tak, aby sa upevnili o výstupok na spodnom kryte spínača v drážke na hornej strane držiaka páčky brzdy.
10. Zarovnajte otvory svorky riadidiel s otvormi na kryte hlavného valca a navoľno upevnite dolnú skrutku s plochou podložkou. Upravte polohy v závislosti od potrieb vodiča. Začínajúc od hornej utiahnite skrutky momentom 60 – 80 in-lbs (6,8 – 9,0 Nm) pomocou vrtáka T27 Torx ® .
11. Utiahnite skrutky dolného a horného krytu spínača momentom 35 – 45 in-lbs (4 – 5 Nm).
POZNÁMKA
Vždy utiahnite skrutku dolného spínača ako prvú tak, aby akákoľvek vzniknutá medzera medzi horným a dolným krytom bola v prednej časti zostavy spínača.
12. Nastavte káble škrtiacej klapky a voľnobehu podľa inštrukcií uvedených v servisnej príručke.
VÝSTRAHA
Dbajte na to, aby riadenie pracovalo vždy hladko, voľne a bez prekážok. Prekážky riadenia môžu spôsobiť stratu kontroly nad motocyklom s následkom smrti alebo ťažkého zranenia. (00371a)
13. Snímte kartónovú vložku medzi páčkou brzdy a držiakom páčky.
  • Káble sa nesmú zachytávať do montážnych súčiastok predného svetlometu ani prechádzať pred svetlometom.
  • Káble sa nesmú zachytávať do montážnych súčiastok smerových svetiel ani do samotných svetiel.
  • Káble sa nesmú zachytávať o palivový uzáver ani o palivomer.
  • Káble sa nesmú zachytávať o tachometer ani otáčkomer.
  • Uistite sa, že káble nie sú priškripnuté medzi rámom a/alebo vidlicami.
  • Uistite sa, že sa káble pri plnom otočení riadidiel doľava alebo doprava príliš nenaťahujú.
VÝSTRAHA
Najprv pripojte kladný kábel batérie (+). Ak by sa kábel vedúci ku kladnému pólu (+) dotkol uzemnenej časti, ku ktorej je pripojený kábel vedúci k zápornému pólu (-), mohlo by dôjsť k preskočeniu iskry, ktorá by mohla spôsobiť výbuch batérie s následkom smrti alebo ťažkého zranenia. (00068a)
  1. Zapojte káble batérie. Začnite kladným (+) káblom.
Montáž príchytiek o veterný štít
1. Pozrite Obrázok 11 . Vyberte základnú zostavu veterného štítu z obalu a položte ju prednou stranou nadol na čistý mäkký povrch s montážnymi držiakmi smerujúcimi nahor.
2. Pozrite Obrázok 13 alebo Obrázok 14 . Vyberte súpravy príchytiek a montážneho materiálu z obalu a pred montážou roztrieďte podobné diely na rovnakú kôpku.
3. Pozrite Obrázok 12 . Zmontujte zostavy príchytiek a montážneho materiálu.
VÝSTRAHA
Vyhĺbená strana podložiek Belleville (kužeľových) musí smerovať proti sebe a obklopovať montážne držiaky veterného štítu v každom mieste montáže. Ak nebudú podložky správne nasmerované, môže byť obmedzená schopnosť veterného štítu odtrhnúť sa pri nehode, čo môže viesť k ťažkému zraneniu alebo smrti. (00422b)
4. Jednu po druhej utiahnite všetky príchytky s prednou stranou nasmerovanou nahor a k vnútornej strane držiaka veterného štítu (2). Utiahnite lícované skrutky (1) dostatočne pevne na to, aby udržiavali polohu príchytiek na veternom štíte počas jeho montáže na motocykel. Skrutky budú utiahnuté v neskoršom kroku.
Obrázok 11. Držiaky veterného štítu
1Lícovaná skrutka
2Pravý držiak veterného štítu
3Tanierová podložka
4Podložky Belleville (vypuklé strany k sebe, s držiakom veterného štítu medzi nimi)
Obrázok 12. Montážna svorka veterného štítu
Montáž veterného štítu
POZNÁMKA
Udržiavajte predné koleso v priamom smere, aby sa nepoškriabala palivová nádrž.
1. Uistite sa, že sú všetky štyri príchytky v otvorenej polohe a preneste veterný štít (stranou s príchytkami ďalej od seba) na prednú časť motocykla.
POZNÁMKA
Veterný štít The Lexan ® je pomerne ohybný a je možné ho ohnúť tak, aby sa príchytky rozostúpili smerom od predného svetlometu uľahčujúc tak jeho montáž na motocykel. Dávajte pozor, aby ste pri pokladaní veterného štítu na vidlicové trúbky nepoškriabali svorkami kryt svetlometu.
2. Odkryte časť predného blatníka a skontrolujte, že káble škrtiacej klapky sú umiestnené medzi párom príchytiek na vašej ľavej strane (z pohľadu smerom k motocyklu s veterným štítom) a nebudú príchytkami pricviknuté. Umiestnite veterný štít do stredu okolo predného svetlometu a umiestnite príchytky na posuvníky vidlice.
VÝSTRAHA
Priškripnuté lanká ovládania škrtiacej klapky plynu môžu obmedziť reakciu škrtiacej klapky. To môže spôsobiť stratu kontroly nad motocyklom s následkom smrti alebo ťažkého zranenia. (00423b)
3. Začínajúc od spodku (na každej strane) s navoľno naskrutkovanými lícovanými skrutkami uzatvorte každú príchytku a uistite sa, že sú príchytky zarovnané navzájom s posuvníkmi vidlice.
POZNÁMKA
Neuťahujte lícované skrutky vyšším než odporučeným uťahovacím momentom. Nadmerným utiahnutím môže dôjsť ku skrúteniu príchytky na posuvníku vidlice a vyšmyknutiu čeľuste príchytky.
4. Skontrolujte, že lícovaná časť skrutiek je plne zasadená na každom mieste držiaka veterného štítu. Utiahnite každú lícovanú skrutku momentom 60 in-lbs (6,7 Nm).
POZNÁMKA
Ak dochádza k obmedzeniu pohybu, upravte veterný štít podľa potreby tak, aby mal pri plnom otočení dostatočnú vôľu. Pred jazdou s týmto namontovaným príslušenstvom požiadajte skúseného servisného technika spoločnosti Harley-Davidson, aby odstránil prípadné problémy.
Demontáž a uskladnenie veterného štítu
Na demontáž veterného štítu otvorte štyri príchytky v akomkoľvek poradí a opakujte montážny postup v opačnom poradí z krokov 3 a 4 podsekcie Montáž veterného štítu. Dávajte pozor, aby ste počas montáže nepoškriabali kryt svetlometu alebo palivovú nádrž.
Ak potrebujete veterný štít uskladniť, uložte ho na miesto, kde budú príchytky veterného štítu čo najlepšie chránené. Neukladajte veterný štít na mieste, kde by naň mohlo niečo naraziť alebo odkiaľ by mohol spadnúť. Na zostavu nič nepokladajte.
Pred opätovnou montážou po uskladnení skontrolujte, či sú príchytky a montážny materiál čisté a správne utiahnuté. Každá svorka by mala mať dvojicu gumových plochých tesnení v sedle svorky, ktoré zodpovedajú vidlicovej trúbke, a mala by sa voľne otvárať a zatvárať.
STAROSTLIVOSŤ A ČISTENIE
POZNÁMKA
Odrazy slnečného svetla na vnútornom povrchu veterného štítu môžu spôsobiť extrémne mimoriadne ohriatie prístrojov motocykla. Pri parkovaní buďte opatrní. Parkujte čelom k slnku, na prístroje položte nepriehľadný predmet alebo natočte veterný štít tak, aby ste predišli odrazom slnečného svetla.
UPOZORNENIE
Veterné štíty Harley-Davidson sú vyrobené z Lexanu. Materiál Lexan je je trvanlivejší a odolnejší proti deformácii než iné typy materiálov pre veterné štíty motocyklov, aj napriek tomu je nutné venovať sa jeho údržbe. Nesprávnou údržbou Lexanu môžete veterný štít poškodiť. (00230b)
  • Nečistite štít Lexan ® na priamom intenzívnom slnku ani pri vysokých teplotách. Práškové, abrazívne a alkalické čistiace prostriedky môžu veterný štít poškodiť. Nikdy neodstraňujte nečistoty z veterného štítu žiletkou alebo inými ostrými nástrojmi. Použitie takýchto nástrojov môže veterný štít poškodiť.
UPOZORNENIE
Veterný štít Harley-Davidson čistite iba odporučenými prípravkami značky Harley-Davidson. Nepoužívajte agresívne chemikálie ani ochranné prípravky proti dažďu, ktoré môžu poškodiť povrch veterného štítu (napríklad ho môžu natrvalo zakaliť alebo môže zmatnieť). (00231c)
UPOZORNENIE
Nepoužívajte na veterný štít benzín, riedidlo na farby ani žiadny iný typ hrubých čistidiel. Ich používanie povedie k poškodeniu povrchu veterného štítu. (00232c)
  • Na gumové puzdrá nepoužívajte benzén, riedidlo na farby, benzín, mazivá (vrátane prípravku Armorall ® ) ani žiadnu inú zmes. Použitím takýchto prípravkov sa môžu povrchy puzdier poškodiť.
POZNÁMKA
Ak pred umývaním zakryjete predné sklo čistou vlhkou handrou približne na 15 minút, ľahšie sa vám bude odstraňovať zaschnutý hmyz.
SERVISNÉ DIELY
Obrázok 13. Servisné diely: Veterný štít Touring
Tabuľka 2. Servisné diely: Veterný štít Touring
Položka
Opis (množstvo)
Číslo dielu
1
Zostava príchytky, 39 mm (4)
57400465
2
Súprava, spojovací materiál na pripevnenie veterného štítu (4)
58790-04
3
Skrutka, špeciálna strojovo opracovaná hlava (2)
2452
4
Skrutka, špeciálna strojovo opracovaná hlava (7)
2921A
5
Matica, #12 uzamykacia (9)
7651
6
Podložka, lepiaca EPDM (jedna strana) (2)
57036-08
7
Podložka, montáž veterného štítu (4)
58152-96
8
Držiak, veterný štít
58517-08
9
Držiak, veterný štít
58518-08
10
Káblové vedenie, káble škrtiacej klapky
58558-97
11
Servisný veterný štít, snímateľný Touring (obsahuje položky 7, 13 a 16)
58571-96
12
Ozdobný pásik, zvislí
58575-96
13
Ozdobný pásik, zvislí
58576-96
14
Vonkajší pásik, horizontálny
58577-96
15
Vnútorný pásik, horizontálny
58578-96
16
Páska, vodorovná (2)
58582-96
17
Podložka, plochá pochrómovaná
94066-90T
18
Tesnenie, svorka
58791-04
Obrázok 14. Servisné diely: Veterný štít Super Sport
Tabuľka 3. Servisné diely: Veterný štít Touring
Položka
Opis (množstvo)
Číslo dielu
1
Zostava príchytky, 39 mm (4)
57400465
2
Súprava, spojovací materiál na pripevnenie veterného štítu (4)
58790-04
3
Podložka, obyčajná, typ A (4)
6352
4
Držiak, snímateľný veterný štít modely s 39 mm
57820-08
5
Držiak, snímateľný veterný štít modely s 39 mm
57823-08
6
Servisný veterný štít, snímateľný 39 mm Sport (obsahuje položky 7)
57883-08
7
Podložka, montáž veterného štítu (8)
57964-97
8
Matica, uzavretá 1/4-20 (4)
94007-90T
9
Skrutka, zaoblená hlava s poistnou plochou (4)
94639-99
10
Káblové vedenie, káble škrtiacej klapky
58558-97
11
Podložka
94066-90T
12
Tesnenie, svorka
58791-04