KOMPLETI SNEMLJIVIH VETROBRANOV
J045012021-04-27
SPLOŠNO
Številka kompleta
58158-08 in 57838-08
Modeli
Za informacije o prileganju modela si oglejte Katalog P& maloprodajni katalog ali razdelek za dele in dodatke na www.harley-davidson.com (samo v angleščini).
Preglednica 1. Kompleti
Komplet št.
Opis
58158-08
Vetrobran Touring
57838-08
Vetrobran Super Sport
Vsebina kompleta
MONTAŽA
OPOZORILO
Varnost voznika in sopotnika je odvisna od pravilne namestitve tega sklopa. Če sami ne zmorete opraviti postopka ali nimate ustreznega orodja, naj montažo opravi serviser Harley-Davidson. Napačna montaža tega sklopa lahko povzroči hude poškodbe ali smrt. (00308b)
OPOZORILO
Pred nadaljevanjem izključite negativni kabel (-) akumulatorja, da preprečite nenameren vklop motocikla, ki lahko povzroči hude poškodbe ali smrt. (00048a)
OPOMBA
Sprednji blatnik in sprednjo stran rezervoarja za gorivo prekrijte s čistimi servisnimi krpami, da preprečite nastanek prask. V nasprotnem primeru lahko poškodujete zaključni premaz.
Premestitev pletenice sklopke
Samo za modele XL Custom ali FXLR: premestite pletenico sklopke, ki je zdaj za zgornjim nosilcem vilic, pred krmilo, kot sledi:
  1. Premestite pletenico sklopke iz prvotnega položaja za zadnjo levo stran zgornjega nosilca vilic. Prilagodite ohlapnost nad in pod nosilcem vilic, da kabel najbolje namestite.
  2. Po potrebi premaknite montažne vezice pletenice sklopke, pritrjene na okvir navpične cevi, da omogočite neovirano premikanje pletenice sklopke ob popolnem zasuku krmila v levo in desno. Ročico večkrat uporabite, da se prepričate o ustreznosti.
Za vse modele, razen XL Custom ali FXLR: premestite pletenico sklopke v notranjost krmila, kot sledi:
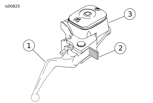
1. Glejte Slika 1 . Povlecite gumijasto zaščito (1) s prilagojevalnika pletenice sklopke (2). Prilagojevalnik je približno na polovici pletenice sklopke ob sprednji navpični cevi okvirja.
1Gumijasta objemka
2Prilagojevalnik pletenice
3Zaskočna matica
4Konec kabla
Slika 1. Element za prilagajanje pletenice sklopke
2. Držite prilagojevalnik pletenice s ključem 1/2 in. in popustite zaskočno matico (3) s ključem 9/16 in. Zaskočno matico odmaknite od prilagojevalnika pletenice. Prilagojevalnik premaknite proti zaskočni matici, da omogočite prosti hod ročice.
3. Odstranite zadrževalni obroč iz utora vrtilnega zatiča na spodnji strani nosilca ročice sklopke in odstranite vrtilni zatič.
4. Odstranite ročico sklopke z nosilca. Po potrebi z uporabo izvijača T27 Torx ® odstranite dva vijaka s ploskimi podložkami, s katerima je nosilec ročice sklopke pritrjen na objemko krmila.
5. Glejte Slika 2 . Premestite pletenico sklopke v notranjost krmila.
Slika 2. Nova napeljava pletenice sklopke
6. Vstavite ročico sklopke v utor nosilce ročice, pri čemer namestite rokav na ohišju na koncu kabla v vrtino na notranji strani nosilca.
7. Če ste ga odstranili, pritrdite nosilec ročice sklopke na objemko krmila z vijaki Torx ® . Začnite pri najvišjem vijaku in pritegnite do 60-80 in-lbs (6,8-9,0 Nm).
8. Glejte Slika 1 . Prilagojevalnik pletenice zavrtite stran od zaskočne matice, da odpravite ohlapnost pri ročici. Tulec pletenice sklopke povlecite stran od nosilca ročice sklopke, da izmerite prosti hod.
9. Glejte Slika 3 . Prilagojevalnik držite s ključem 1/2 in. in s ključem 9/16 in. pritegnite zaskočno matico ob prilagojevalnik pletenice. Mehanizem prilagojevalnika pletenice prekrijte z gumijasto zaščito.
10. Po potrebi premaknite montažne vezice pletenice sklopke, pritrjene na okvir navpične cevi, da omogočite neovirano premikanje pletenice sklopke ob popolnem zasuku krmila v levo in desno. Ročico večkrat uporabite, da se prepričate o ustreznosti.
Slika 3. Prosti hod pletenice sklopke, 1/16-1/8 in. (1,6-3,2 mm)
OPOZORILO
Ko ponovno namestite kabel sklopke, preverite, da se ročni vzvod sklopke med premikanjem krmila v levo in desno gladko odpira in zapira. Počasen odziv vzvoda sklopke lahko povzroči izgubo nadzora nad motociklom ter hude poškodbe ali smrt. (00424d)
OPOZORILO
Prepričajte se, da je krmilo mehko in brez motenj. Motnje krmila lahko povzročijo izgubo nadzora nad motociklom ter hude poškodbe ali smrt. (00371a)
  • Prepričajte se, da se pletenice sklopke ob popolnem zasuku krmila do leve ali desne omejitve vilic ne napenjajo.
OPOMBA
Morda bo potrebno premestiti pletenici za plin/prosti tek. (Glej podtemo Napeljava pletenice za plin in prosti tek.)
Napeljava pletenice za plin in prosti tek
OPOZORILO
Prepričajte se, da je krmilo mehko in brez motenj. Motnje krmila lahko povzročijo izgubo nadzora nad motociklom ter hude poškodbe ali smrt. (00371a)
  • Prepričajte se, da se pletenica za plin/prosti tek ob popolnem zasuku krmila do leve ali desne omejitve vilic ne napenja.
  • Prepričajte se, da so žice in pletenice odmaknjene od omejitve vilic na krmilni glavi, da jih med obračanjem vilic ob omejitve ne priščipnete.
  • Glejte Slika 4 . Uporabite žico in podložko iz kompleta.
1Žica 58558-97
2Podložka 94066-90T
3Originalna ploska podložka
4Originalni vijak
Slika 4. Pritrditev pletenice za plin
Modeli Sportster
Napeljite krmilne kable mimo leve strani desnega smernika. Naredite zanko skozi območje med žarometom in desno cevjo vilic. Napeljite nazaj pod rezervoarjem za gorivo in pritrdite na spojki pod stikalom za vžig, nato na navzdol na uplinjač.
Modeli Dyna
Modeli FXD, FXDX, FXDS-Conv: glejte Slika 5 . Napeljite pletenici za plin in prosti tek med žarometom in desno sprednjo cevjo vilic, nato pa pod desno stranjo rezervoarja na uplinjač.
Modeli FXDL: glejte Slika 6 . Napeljite pletenici za plin in prosti tek po zunanji strani (desni strani) sprednjih vilic.
Slika 5. Napeljava pletenic (modeli FXD, FXDX in FXDS-Conv)
Slika 6. Napeljava pletenic (modeli FXDL)
Odstranitev obstoječe pletenice za plin/prosti tek
OPOMBA
Ne demontirajte ali montirajte sklopa glavnega valja, brez da bi najprej med zavorni vzvod in nosilec vzvoda namestili 5/32-inčni (4 mm) vstavek. Demontaža ali montaža sklopa glavnega valja brez vstavka lahko povzroči poškodbe gumijaste objemke in bata na sprednjem stikalu zavorne luči. (00324a)
1. Glejte Slika 7 . Vstavite kartonasti vložek med zavorno ročico in nosilec ročice.
2. Glejte Slika 8 . Popustite zaskočne matice prilagojevalnika pletenice. Privijte prilagojevalnike pletenic, da postanejo čim krajši. S tem zagotovite dovolj ohlapnosti za olajšanje odstranitve.
3. Z izvijačem T25 Torx ® odstranite desni zgornji in spodnji vijak ohišja stikala.
1Zavorni vzvod
2Karton, 5/32 in.
3Nosilec zavornega vzvoda
Slika 7. Namestitev kartonastega vložka
1Zaskočna matica prilagojevalnika (2)
2Prilagojevalnik pletenice za prosti tek
3Prilagojevalnik pletenice za plin
4Spodnje ohišje stikala
5zgornje ohišje stikala
Slika 8. Regulator plina na krmilu
4. Z uporabo izvijača T27 Torx ® popustite zgornji vijak, s katerim je pritrjena objemka krmila na ohišje glavnega valja. Odstranite spodnji vijak objemke in plosko podložko.
OPOMBA
Če je mogoče, drsnega čevlja ne odstranite. Drsni čevelj je ohlapno pritrjen in lahko izpade ali izskoči iz svojega položaja, če spodnje ohišje stikala obrnete na glavo ali ga zatresete.
5. Glejte Slika 9 . Odstranite medeninaste tulce z zatičev na notranji strani ročaja za upravljanje plina. Odstranite tulce z elementov na koncih pletenic.
6. Povlecite stisnjene vložke na koncu pletenice za upravljanje plina in prostega teka iz spodnjega ohišja stikala. Za najboljše rezultate jih med vlečenjem zibajte. Odstranite pletenice z zadrževalnimi obroči iz ohišja stikala. Na zadrževalni obroč po potrebi nanesite kapljico lahkega olja, da olajšate odstranitev.
OPOMBA
V tem trenutku, če imate (ali nameščate) drugačno krmilo, izmerite spremembo razdalje, ki bo potrebna od konca ohišja pletenice do ročaja za plin. Dodatno potrebno dolžino primerjajte z dolžino pletenic, ki so priložene v kompletu.
Če so pletenice več kot dva palca daljše ali več kot en palec krajše od zgoraj izmerjene razdalje, obiščite trgovca z vozili Harley-Davidson, da dobite pletenice ustrezne dolžine.
1Pletenica za plin
2Utor
3Pletenica za prosti tek
4Medeninasti tulec
Slika 9. Pletenici za upravljanje plina/prostega teka
Namestitev pletenice za plin/prosti tek
1. Glejte Slika 9 . Narahlo nanesite grafit na ročaj za plin v stikalu in na konec krmila za plin.
OPOMBA
Krmilna pletenica za plin ima na koncu pritrjen zadrževalni obroč večjega premera kot krmilna pletenica za prosti tek.
Za montažo nanesite kapljico lahkega olja na zadrževalne obroče stisnjenih vstavkov.
2. Glejte Slika 10. Ohišje pletenice za plin in zadrževalni obroč potisnite v večjo luknjo v ohišju stikala pred vijakom za prilagajanje napetosti.
3. Ohišje pletenice za prosti tek in zadrževalni obroč potisnite v manjšo luknjo v ohišju stikala za vijakom za prilagajanje napetosti.
4. Ohišji krmilne pletenice plina in prostega teka potisnite v spodnje ohišje stikala, da se zaskočita na ustreznem mestu.
OPOMBA
Če je drsni čevelj izpadel ali se je premaknil iz ustreznega položaja, namestite čevelj z vbočeno stranjo, obrnjena navzgor, in ga obrnite tako, da je luknja za zatič nad točko prilagoditvenega vijaka.
5. Potisnite krmilni ročaj plina prek konca desnega kraka krmila povsem do zaprtega konca. Zavrtite ročaj, da so zatiči tulca na vrhu. Za preprečitev sprijemanja povlecite ročaj nazaj za približno 1/8 in. (3,2 mm).
1Zadrževalni obroč pletenice za prosti tek
2Zadrževalni obroč pletenice za plin
3Spodnje ohišje stikala
Slika 10. Namestitev pletenic na spodnje ohišje stikala
6. Glejte Slika 9 . Spodnje ohišje stikala namestite pod krmilni ročaj za plin. Namestite dva medeninasta tulca (56508-76) iz kompleta na pletenici, pri čemer tulca vstavite v ustrezne utore na krmilnem ročaju za plin. Pletenici se morata ujeti v utore, vlite v ročaju.
7. Namestite zgornje ohišje stikala pred krmila in spodnjega ohišja stikala. Napeljite vod kabelskega snopa skozi vdolbeno območje na spodnji strani krmila.
8. Ohlapno privijte vijaka zgornjega in spodnjega ohišja stikala.
9. Namestite sestav zavorne ročice/glavnega valja na notranjo stran sestava ohišja stikala, pri čemer jeziček spodnjega ohišja stikala zataknete v utor na zgornji strani nosilca zavorne ročice.
10. Poravnajte luknje v sponi krmila z luknjami na ohišju glavnega valja in ohlapno privijte spodnji vijak ter plosko podložko. Namestite v položaj, ki zagotavlja udobje voznika. Začenši z zgornjim vijakom privijte vijake do 60-80 in-lbs (6,8-9,0 Nm) z uporabo izvijača T27 Torx ® .
11. Vijaka zgornjega in spodnjega ohišja privijte do navora 35-45 in-lbs (4-5 Nm).
OPOMBA
Vedno najprej privijte vijak spodnjega ohišja, da je morebiten razmik med zgornjim in spodnjim ohišjem na sprednji strani sestava stikala.
12. Prilagodite pletenici za plin in prosti tek po navodilih v servisnem priročniku.
OPOZORILO
Prepričajte se, da je krmilo mehko in brez motenj. Motnje krmila lahko povzročijo izgubo nadzora nad motociklom ter hude poškodbe ali smrt. (00371a)
13. Odstranite kartonski vložek med zavorno ročico in nosilcem ročice.
  • Pletenice se ne smejo zatikati ob okovje žarometa ali potekati pred žarometom.
  • Pletenice se ne smejo zatikati ob montažno okovje smernikov ali smernike.
  • Pletenice se ne smejo zatikati ob pokrov rezervoarja za gorivo ali merilnik goriva.
  • Pletenice se ne smejo zatikati ob merilnik hitrosti ali merilnik števila obratov.
  • Prepričajte se, da pletenice niso priščipnjene med okvir in/ali vilice.
  • Prepričajte se, da se pletenice sklopke ob popolnem zasuku krmila do leve ali desne omejitve vilic ne napenjajo.
OPOZORILO
Najprej priključite pozitivni kabel (+) akumulatorja. Če se pozitivni kabel (+) dotakne tal, ko je negativni kabel (-) priključen, lahko iskre povzročijo eksplozijo akumulatorja, kar lahko povzroči hude poškodbe ali smrt. (00068a)
  1. Priključite kable akumulatorja, najprej pozitivni (+) kabel.
Namestitev objemk na vetrobran
1. Glejte Slika 11 . Iz embalaže vzemite podsklop vetrobrana in ga položite na čisto in mehko površino, obrnjenega navzdol in z montažnimi nosilci, obrnjenimi navzgor.
2. Glejte Slika 13 ali Slika 14 . Iz embalaže vzemite kompleta objemk in okovja ter ločite podobne dele, da se pripravite na montažo.
3. Glejte Slika 12 . Sestavite sestave objemk in komplete okovja.
OPOZORILO
Skodelaste strani (stožčastih) podložk Belleville morajo biti obrnjene druga proti drugi in objemati montažne nosilce vetrobranskega stekla na vseh montažnih mestih. Če podložke usmerite napačno, se lahko zmožnost vetrobranskega stekla, da se pri trku odlomi, zmanjša, kar lahko povzroči hude poškodbe ali smrt. (00422b)
4. Namestite po eno objemko, obrnjeno navzgor in navznoter glede na nosilec vetrobrana (2) in privijte ramenske vijake (1) samo toliko, da med montažo vetrobrana na motocikel držijo usmerjenost objemke na vetrobranu. Vijake boste zategnili kasneje.
Slika 11. Montažni nosilci za vetrobransko steklo
1Imbus vijak
2Desni nosilec za vetrobransko steklo
3Skodelna podložka
4Podložke Belleville (skodelne strani so obrnjene ena proti drugi, med njimi pa je nosilec za vetrobransko steklo)
Slika 12. Montažna objemka za vetrobransko steklo
Namestitev vetrobrana
OPOMBA
Sprednje kolo naj bo poravnano, da nosilci ne bodo opraskali rezervoarja za gorivo.
1. Prepričajte se, da so vse štiri objemke odprte, nato pa namestite vetrobran (s stranjo z objemkami, obrnjeno stran od vas) na sprednji del motocikla.
OPOMBA
Vetrobran Lexan ® je precej upogljiv in ga lahko upognete, da razširite objemke stran od žarometa, s čimer olajšate namestitev na motocikel. Pazite, da med nameščanjem vetrobranskega stekla na drsnike vilic z objemkami ne opraskate ohišja žarometa.
2. Zajahajte sprednji blatnik in preverite, ali so pletenice plina med parom objemk na vaši levi (gledano proti motociklu med držanjem vetrobrana) in jih objemke ne bodo priščipnile. Vetrobran sredinsko poravnajte okoli žarometa in namestite objemke na drsnike vilic.
OPOZORILO
Stisnjeni kabli za plin lahko omejijo odziv plina, kar lahko povzroči izgubo nadzora nad motociklom ter hude poškodbe ali smrt. (00423b)
3. Začenši na dnu (na katerikoli strani) ob ohlapno privitih ramenskih vijakih zaprite posamezno objemko, pri čemer preverite, ali se objemke samostojno poravnajo na drsnike vilic in medsebojno.
OPOMBA
Ramenskih vijakom ne privijte prek priporočenega navora. Premočno privitje lahko povzroči zasuk objemke na drsniku vilic, kar lahko povzroči neporavnanost objemke.
4. Poskrbite da je ramenski del ramenskih vijakov povsem nameščen na vseh mestih nosilcev vetrobrana. Vse ramenske vijaki privijte do 60 in-lbs (6,7 Nm).
OPOMBA
Če pride do oviranja, po potrebi prilagodite vetrobran, da dosežete ustrezen odmik. Pred vožnjo z zmontirano dodatno opremo zapeljite motocikel na pooblaščen servis Harley-Davidson, kjer bodo odpravili vse težave.
Odstranjevanje in shranjevanje vetrobrana
Če želite vetrobran odstraniti, odprite štiri objemke v kakršnemkoli zaporedju in v obratnem vrstnem redu izvedite postopke v 3. in 4. koraku podteme Namestitev vetrobrana. Pazite, da ne opraskate ohišja žarometa ali rezervoarja za gorivo, kot je navedeno v postopku montaže.
Vetrobran med shranjevanjem postavite na mesto, kjer bodo objemke vetrobrana kar najbolje zaščitene. Ne shranjujte na mestih, kjer lahko pride do udarcev ob vetrobran ali njegovega padca. Na vrh sestava ničesar ne postavljajte.
Po obdobju shranjevanja morate pred ponovno montažo pregledati objemke in okovje, da preverite prednapetost pritrdilnih elementov in čistočo. Vsaka objemka mora imeti v sedlu par gumijastih tesnil, ki nalegajo na drsnik vilic, ter se prosto odpirati in zapirati.
NEGA IN ČIŠČENJE
OPOMBA
Odsev sončne svetlobe skozi notranjo površino vetrobrana lahko povzroči ekstremno kopičenje toplote na instrumentih motocikla. Bodite pazljivi pri parkiranju. Motocikel parkirajte obrnjen proti soncu, na instrumente položite neprosojen predmet ali prilagodite vetrobran, da preprečite odsev.
OPOMBA
Vetrobranska stekla Harley-Davidson so narejena iz Lexana. Lexan je trajnejši in bolj odporen na zvitje kot drugi materiali za vetrobranska stekla na motociklih, vendar vseeno potrebuje nego in vzdrževanje. Če Lexana ne vzdržujete pravilno, se lahko vetrobransko steklo poškoduje. (00230b)
  • Polikarbonata Lexan ® ne čistite na vročem soncu ali pri visokih temperaturah. Čistila v prahu, abrazivna ali alkalna čistila bodo poškodovala vetrobran. Vetrobrana nikoli ne praskajte z ostrim rezilom ali drugimi ostrimi predmeti, saj lahko s tem povzročite trajne poškodbe.
OPOMBA
Na vetrobranskih steklih Harley-Davidson uporabljajte samo priporočene izdelke Harley-Davidson. Ne uporabljajte močnih kemikalij ali proizvodov za zaščito pred dežjem, ki lahko poškodujejo površino vetrobranskega stekla, jo na primer matirajo ali zameglijo. (00231c)
OPOMBA
Na vetrobranskem steklu ne uporabljajte bencina, razredčila, goriva ali drugih vrst močnih čistilnih sredstev. V nasprotnem primeru boste poškodovali površino vetrobranskega stekla. (00232c)
  • Za čiščenje gumijastih puš ne uporabljajte benzena, razredčila za barve, bencina, maziv (vključno z Armorall ® ) ali drugih čistilnih sredstev. Ta bodo poškodovala površine puš.
OPOMBA
Če vetrobransko steklo približno 15 minut pred pranjem pokrijete s čisto, mokro krpo, to olajša odstranjevanju zasušenih žuželk.
SERVISNI DELI
Slika 13. Servisni deli: Vetrobran Touring
Preglednica 2. Servisni deli: Vetrobran Touring
Del
Opis (Količina)
Številka dela
1
Sestav objemke, 39 mm (4)
57400465
2
Komplet železnine za nosilec vetrobranskega stekla (4)
58790-04
3
Vijak, poseben strojno izdelan, s polokroglo glavo (2)
2452
4
Vijak, poseben strojno izdelan, s polokroglo glavo (7)
2921A
5
Matica, #12 zaprta (9)
7651
6
Blazinica, lepilo EPDM (ena stran) (2)
57036-08
7
Podložka, nosilec vetrobrana (4)
58152-96
8
Nosilec, vetrobran
58517-08
9
Nosilec, vetrobran
58518-08
10
Žica, pletenice za plin
58558-97
11
Servisni vetrobran, Touring, snemljiv (vključuje elemente 7, 13 in 16)
58571-96
12
Okrasni trak, navpični
58575-96
13
Okrasni trak, navpični
58576-96
14
Zunanji trak, vodoravni
58577-96
15
Notranji trak, vodoravni
58578-96
16
Trak, vodoravni (2)
58582-96
17
Podložka, ploska, kromirana
94066-90T
18
Tesnilo, objemka
58791-04
Slika 14. Servisni deli: Vetrobran Super Sport
Preglednica 3. Servisni deli: Vetrobran Touring
Del
Opis (Količina)
Številka dela
1
Sestav objemke, 39 mm (4)
57400465
2
Komplet železnine za nosilec vetrobranskega stekla (4)
58790-04
3
Podložka, navadna tipa A (4)
6352
4
Nosilec, za modele z odstranljivim vetrobranom 39 mm
57820-08
5
Nosilec, za modele z odstranljivim vetrobranom 39 mm
57823-08
6
Servisni vetrobran, 39 mm Sport, snemljivi (vključuje element 7)
57883-08
7
Podložka, nosilec vetrobrana (8)
57964-97
8
Matica, klobučasta 1/4-20 (4)
94007-90T
9
Vijak, lečasta glava z zapornim ščitnikom (4)
94639-99
10
Žica, pletenice za plin
58558-97
11
Podložka
94066-90T
12
Tesnilo, objemka
58791-04