套件 | 建议工具 | 技能水平(1) | 时间 |
|---|---|---|---|
53000712AV、53000712DH、53000714AV、53000714DH | 防护眼镜,扭矩扳手 | 1 小时 |
套件 | 项目 | 数量 | 描述 | 零件编号 | 注意 | |
|---|---|---|---|---|---|---|
所有套件 | 1 | 1 | 底部外壳,警用 Tour-Pak,带应急灯 | 53000761 | ||
2 | 1 | 外罩,警用 Tour-Pak | 54318-10 | |||
3 | 1 | 密封垫,盖 | 53907-01 | |||
4 | 2 | 铰链,下部 | 53427-80 | |||
5 | 2 | 铰链,上部 | 90902-93 | |||
6 | 8 | 背板 | 90964-63 | |||
7 | 8 | 铆钉 | 90967-64 | |||
8 | 4 | 铆钉 | 90965-63 | |||
9 | 2 | 铆钉 | 8502 | |||
10 | 2 | 锁扣主体 | 90649-07 | |||
11 | 2 | 隔块,锁扣 | 53620-01 | |||
12 | 2 | 搭扣,铆钉 | 90705-97 | |||
13 | 1 | 背板 | 90688-85 | |||
14 | 4 | 螺丝,盘头 TORX | 3597 | |||
15 | 7 | 平垫圈,#6,套件 53000712 | 6717 | |||
4 | 平垫圈,#6,套件 53000714 | |||||
16 | 1 | Tour-Pak 锁套件(有关钥匙代码,请咨询经销商) | 53194-07 | |||
17 | 1 | 挂钩,Tour-Pak 锁扣 | 79182-08A | |||
18 | 2 | 铆钉 | 不单独出售 | |||
19 | 2 | 支架,Tour-Pak 盖 | 不单独出售 | |||
20 | 12 | 半管铆钉 | 不单独出售 | |||
21 | 4 | 平垫圈,#4 | 6335 | |||
22 | 4 | 尼龙垫圈 | 6759 | |||
23 | 1 | 辅助刹车灯/尾灯/转向信号 (STT) 灯杆套件 | 68000282 | |||
24 | 2 | 直通接头 | 11560 | |||
25 | 5 | 橡胶底架 | 63960-01 | |||
26 | 6 | 凸缘螺母,1/4-20,带锁 | 7716 | |||
27 | 4 | 六角支套 | 12400001 | |||
28 | 1 | 标签,Tour-Pak 承载能力 | 90921-09 | |||
29 | 1 | 标签,哈雷戴维森标识,带翼片 | 53908-01 | |||
30 | 1 | 安装板,上部,套件 53000712 | 72659-10 | |||
2 | 安装板,套件 53000714 | |||||
31 | 2 | 线缆扎带(未显示) | 10006 | |||
32 | 4 | 扁圆头螺丝 | 不单独出售 | |||
53000712 | 33 | 1 | 安装板,下部 | 53430-01 | ||
34 | 1 | 保险丝/端子块 | 72460-01 | |||
35 | 1 | 盘头螺丝 | 不单独出售 | |||
36 | 3 | 凸缘螺母,#10-24,带锁 | 7878 | |||
37 | 2 | 保险丝,汽车(刀片式),15A | 72347-94 | |||
38 | 1 | 电池充电器 | 99806-01A | |||
39 | 1 | 支架,电池供电装置 | 29527-01 | |||
40 | 4 | 盘头螺丝 | 不单独出售 | |||
41 | 4 | 六角螺母,#8-32,带外齿锁紧垫圈 | 7830 | |||
42 | 1 | 继电器,Tour-Pak 电源,70A | 31533-01 | |||
43 | 2 | 盘头螺丝 | 不单独出售 | |||
44 | 1 | 电源插座 | 91889-97 | |||
45 | 1 | 盖,电源插座 | 91844-97 | |||
46 | 1 | 电源插口,120 伏特,带盖 | 99871-01 | |||
47 | 3 | 十字盘头机械螺丝 | 3225 | |||
48 | 3 | 六角螺母,#6-32,带外齿锁紧垫圈 | 7889 | |||
49 | 1 | 垫,电池 | 不单独出售 | |||
50 | 1 | 托架,电池 | 29523-01 | |||
51 | 1 | 扣带,电池 | 29525-01 | |||
52 | 1 | 六角头盖螺丝 | 2879W | |||
53 | 2 | 六角头盖螺丝 | 4720W | |||
54 | 6 | 平垫圈,3/8 英寸 | 6416 | |||
55 | 3 | 凸缘螺母,3/8-16,带锁 | 7601 | |||
56 | 8 | 垫、电池带和托架 | 66352-65 | |||
57 | 1 | 固定装置,电气插座(夹头,与 LED 套件一起使用) | 72199-94 | |||
58 | 1 | 线束,电池/电源(未显示) | 70626-01 | |||
59 | 1 | 线束,电源插座(未显示) | 70628-01 | |||
60 | 1 | 线束,警用 Tour-Pak(用于辅助刹车灯/尾灯/转向信号和侧/后闪光灯)(未显示) | 69202388 | |||
53000714 | 61 | 1 | 底部外壳,警用 Tour-Pak,无应急灯 | 53000760 | ||
62 | 1 | 线束,警用 Tour-Pak 刹车灯(未显示) | 72640-10 |
| 1 | 警用托盘螺丝(2009 年款及之后为 4 颗) |
| 2 | 储气罐安装螺丝 (2) |
| 3 | 警用设备安装托盘 |
| 1. | 拆卸主保险丝。 参见维修手册。 | |||||||||||||||||||
| 2. | 从套件的警用 Tour-Pak 线束 (69202388) 上拆下 40 安培保险丝。 | |||||||||||||||||||
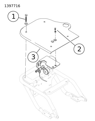
| 3. | 图3 拆下两个十字头储气罐安装螺丝 (2) 和锁紧垫圈,并拆下将 原厂设备 (OE) 警用安装托盘 (3) 固定在支撑轨上的六角头盖螺丝 (1)、垫圈和螺母。 | |||||||||||||||||||
| 4. | 丢弃螺丝和垫圈,但保存螺母以供之后安装使用。 | |||||||||||||||||||
| 5. | 丢弃托盘。 注意 用干净的车间用毛巾包裹储气罐,以免刮花油漆。 | |||||||||||||||||||
| 6. | 参见 图4 。 小心地从装运容器中取出 Tour-Pak 组件和五金件。 | |||||||||||||||||||
| 7. | 打开 Tour-Pak 盖,拆下固定上安装板 (1) 的四个六角头螺丝 (2) 和垫圈 (3)。 | |||||||||||||||||||
| 8. | 拆下将下部安装板或电源安装板 (4) 固定到隔离器螺柱 (8) 的四个六角支套 (5) 和凸缘螺母法兰螺母 (6)。 | |||||||||||||||||||
| 9. | 拆下 Tour-Pak 外部固定隔离器螺柱的五个凸缘螺母 (9)。 | |||||||||||||||||||
| 10. | 拆下隔离器螺柱 (8)。 |
图4。 拆下上下板五金件 | ||||||||||||||||||
| 11. | 对于所有车型: 见 图4 。 抬起下部安装板/电源安装板 (4) 的后边缘。 | |||||||||||||||||||
| 12. | 将板靠在 Tour-Pak 的前部,以便检修隔离器螺柱 (8)。 | |||||||||||||||||||
| 13. | 如有必要,使用线缆扎带(未提供)将安装板固定到位。 | |||||||||||||||||||
| 14. | 暂时将 Tour-Pak 组件放在一边。 | |||||||||||||||||||
| 15. | 拆下座椅前部处的销钉和枢轴螺栓。 | |||||||||||||||||||
| 16. | 拆下两个螺母和垫圈,将座椅装饰面板组件固定在挡板上。 | |||||||||||||||||||
| 17. | 拆下面板。 | |||||||||||||||||||
| 18. | 保留面板和五金件以供稍候安装使用。 | |||||||||||||||||||
| 19. | 切断把高杆灯接头 [59B] 线束支腿(带黑色和红色/绿色导线)固定到支撑轨上的两根线缆扎带。 | |||||||||||||||||||
| 20. | 丢弃线缆扎带。 | |||||||||||||||||||
| 21. | 将高杆灯导线从 Tour-Pak 安装区域移开。 | |||||||||||||||||||
| 22. | 转至 安装 。 |
| 1. | 参见 图5 。 从储气罐安装架上拆下两个螺丝 (2)。 | |||||||||||
| 2. | 获取转接板套件(H-D 部件号 53196-09,单独购买)。 | |||||||||||
| 3. | 对齐转接板。 | |||||||||||
| 4. | 将储气罐托架螺丝通过转接板的孔安装到储气罐安装架中。 | |||||||||||
| 5. | 使用转接板套件中的四个六角凹头螺丝 (1) 和垫圈将转接板安装到支撑导轨上。 | |||||||||||
| 6. | 拧紧螺丝。 拧紧。 | |||||||||||
| 7. | 提起 Tour-Pak 并将其定位到转接板上,将 Tour-Pak 底部的孔与转接板上的五个孔对齐。 | |||||||||||
| 8. | 参见 图6 。 将五个橡胶隔离器 (1) 插入孔中,较长的螺柱朝下。 | |||||||||||
| 9. | 将它们穿过 Tour-Pak 拧入转接板,然后牢牢拧紧。 | |||||||||||
| 10. | 穿过 Tour-Pak 中的 后 中心孔,将转接板套件(参见 图11 )中的螺丝 (2) 和垫圈 (3) 安装到转接板上。 | |||||||||||
| 11. | 拧紧螺丝。 拧紧。 扭矩: 9 N·m (80 in-lbs) 六角螺母 | |||||||||||
| 12. | 将下部安装板/电源安装板重新放到隔离器螺柱上。 | |||||||||||
| 13. | 将一颗 1/4-20 六角凸缘螺母安装到 前 中心螺柱上。 | |||||||||||
| 14. | 将先前拆下的四个六角支套安装到剩余的螺柱上。 | |||||||||||
| 15. | 固定凸缘螺母和支套。 拧紧。 扭矩: 9 N·m (80 in-lbs) 六角螺母 |
图5。 安装转接板
图6。 安装 Tour-Pak 安装五金件 | ||||||||||
| 16. | 如果安装 LED 应急灯套件, 继续至下一节。 | |||||||||||
| 17. | 如果不安装 LED 应急灯套件, 继续至 Tour-Pak 与摩托车的电气连接 。 |
| 1. | 使用灯具套件中的螺丝、螺母和垫圈安装 LED 灯。 拧紧。 扭矩: 2.5–3 N·m (22–27 in-lbs) | |
| 2. | 对剩余的灯具套件重复上述操作。 | |
| 3. | 将 LED 灯上的 Molex 接头与 Tour-Pak 线束上的配对接头相连接。 | |
| 4. | 如果连接三个以上的 LED 紧急灯,将需要以下 Tour-Pak 分路器 (69201092): |
| 1. | 参见图7。 用套件中的六角头螺丝 (2)、两个垫圈 (3) 和凸缘螺母 (7) 将电池安装架 (1) 组装到 Tour-Pak 底部模制的半圆形凸台,但暂不拧紧。 拧紧。 长度/尺寸/距离: 25.4 mm (1 in) |
图7。 安装辅助电池 | ||||||||||||||
| 2. | 如图所示,将辅助电池(单独购买)定位到安装架后面,将其放在橡胶电池垫上。 | |||||||||||||||
| 3. | 使用套件中的两个长六角头螺丝 (5)、四个垫圈 (6) 和两个凸缘螺母 (7) 安装电池扣带 (4) 但暂不拧紧。 拧紧。 | |||||||||||||||
| 4. | 确保电池居中,安装架位置正确。 | |||||||||||||||
| 5. | 向前推安装支架,同时拧紧支架五金件。 拧紧。 扭矩: 13.6–16.3 N·m (10–12 ft-lbs) | |||||||||||||||
| 6. | 装回电池扣带五金件。 拧紧。 扭矩: 13.6–16.3 N·m (10–12 ft-lbs) 注意 此时不要 将电池接线端连接到辅助电池。 | |||||||||||||||
| 7. | 在 Tour-Pak 内找到红色(正极)和黑色(负极)电池电缆。 | |||||||||||||||
| 8. | 确保电缆没有相互接触,且没有与 Tour-Pak 中的任何金属接触。 |
| 1. | 请参阅维修手册,并卸下 ECM 和托盘以检修主摩托车电池。 | |||||
| 2. | 找到车辆上的后照明线束。 | |||||
| 3. | 从主车辆线束断开后车灯线束。 | |||||
| 4. | 将警用 Tour-Pak 线束连接到接头 [C7A] 和 [C7B]。 | |||||
| 5. | 将警用 Tour-Pak 线束从 Tour-Pak 沿左上部车架管到后照明线束接头布线。 | |||||
| 6. | 将上部安装板 (30) 放在四个六角支套 (27) 上。 注意 连接电池线缆之前,确保点火钥匙开关处于OFF(关闭)位置。 | |||||
| 7. | 用四个六角螺丝 (40) 和垫圈 (41) 固定。 拧紧。 扭矩: 9 N·m (80 in-lbs) 六角头螺丝 | |||||
先连接电池正极(+)线缆。 如果负极(-)线缆已连接,正极(+)线缆接地会产生火花,引起电池爆炸,造成重伤或死亡。 (00068a) | ||||||
| 8. | 参见 图8 。 如图所示,使用 40 安培内联保险丝 (1) 对 Tour-Pak 正极电池线缆布线。 | |||||
| 9. | 将端子松散地安装在摩托车电池正极柱上当前安装的正极端子上。 | |||||
| 10. | 如图所示,将保险丝架座放入电池和左上车架管之间的空间。 | |||||
| 11. | 固定接线端。 拧紧。 扭矩: 3.4 N·m (30 in-lbs) 六角螺栓 注意 此时不要连接电池负极线。 |
图8。 将 Tour-Pak 电池线连接到摩托车电池 | ||||
| 12. | 参见 图9 。 安装线缆扎带(1,未提供),将 Tour-Pak 线束固定到安装导轨上。 | |||||
| 13. | 返回 Tour-Pak 并找到 Tour-Pak 内的正极(黑色,红色卡圈)和负极(黑色)电池线。 |
图9。 将 Tour-Pak 线束固定到安装导轨 | ||||
先连接电池正极(+)线缆。 如果负极(-)线缆已连接,正极(+)线缆接地会产生火花,引起电池爆炸,造成重伤或死亡。 (00068a) | ||||||
| 14. | 将正极电池线接线端路由到辅助电池。 | |||||
| 15. | 将接线端安装到电池正极接线柱。 | |||||
| 16. | 固定接线端螺丝。 拧紧。 扭矩: 3.4 N·m (30 in-lbs) 六角头螺丝 | |||||
| 17. | 将电池负极线接线端路由到辅助电池。 | |||||
| 18. | 将接线端安装到电池负极接线柱。 | |||||
| 19. | 固定接线端螺丝。 拧紧。 扭矩: 3.4 N·m (30 in-lbs) 六角头螺丝 | |||||
| 20. | 在电池接线端上涂敷一薄层哈雷戴维森电气接点润滑剂(哈雷零件编号99861-02)、凡士林或防腐蚀材料。 | |||||
| 21. | 如果不安装辅助电池 ,请从内联架座上拆下 40 安培保险丝。 否则可能导致正极电缆产生电弧,导致电气或设备损坏。 | |||||
| 22. | 找到车辆左后部行李架下的双向 Deutsch 高杆灯插座盒 [59B](带黑色和绿色/红色导线)。 | |||||
| 23. | 将其连接到来自 Tour-Pak 的双向销盒。 | |||||
| 24. | 参见 图8 。 返回至座位下方的区域。 | |||||
| 25. | 将 Tour-Pak 电池负极线 (2) 绕在摩托车电池的前部。 | |||||
| 26. | 将接线端松散地安装在负极电池柱上当前安装的负极端子上。 | |||||
| 27. | 固定接线端。 拧紧。 扭矩: 3.4 N·m (30 in-lbs) 六角螺栓 | |||||
| 28. | 在电池接线端上涂敷一薄层哈雷戴维森电气接点润滑剂(哈雷零件编号99861-02)、凡士林或防腐蚀材料。 | |||||
| 29. | 将 ECM 盒和 ECM 安装到座位下的位置。 |
图10。 安装装饰面板 | ||||
| 30. | 安装座椅。 安装好座椅之后向上拉动座椅,确保固定牢靠。 参见维修手册。 | |||||
| 31. | 关闭 Tour-Pak 并测试辅助刹车灯/尾灯/转向信号 (STT) 灯是否正常工作。 | |||||
| 32. | 检查 LED 灯(如果已安装)的运行情况。 a. 在右侧把手追踪开关上选择 AUX 以激活 Tour-Pak LED 灯。 b. 这些灯提供多种闪烁模式。 有关编程说明,请参阅单独的灯具说明表。 |
项目 | 名称(数量) | 零件编号 |
|---|---|---|
1 | 转接板,警用 Tour-Pak | 不单独出售 |
2 | 六角头盖螺丝 (从 Tour-Pak 内部安装) | 3728 |
3 | 平垫圈,1/4 英寸 (从 Tour-Pak 内部安装) | 6235 |
4 | 内六角半圆头螺丝(4) | 4365 |
| 1. | 安装主保险丝。 参见维修手册。 | |
| 2. | 安装套件的警用 Tour-Pak 线束 (69202388) 中的 40 安培保险丝。 |