KIT RODA BERJARI-JARI
941002722021-08-02
INFORMASI UMUM
Tabel 1. Informasi Umum
Kit
Alat-alat yang Disarankan
Level Keahlian(1)
42400045
Kacamata Pelindung, Kunci Torsi, Kunci Pas dengan Angin
(1) Pemasangan harus dilakukan oleh dealer dan DTII
ISI KIT
Gambar 1. Isi Kit: Kit Roda Depan
Tabel 2. Isi Kit: Kit Roda Depan
Pastikan semua isi kit lengkap sebelum memasang atau melepaskan item dari kendaraan.
Item
Jumlah
Deskripsi
No. Komponen
Catatan
1
1
Roda
Tidak dijual terpisah
Item disebutkan dalam teks, tetapi tidak disertakan dalam kit
A
3
Peralatan Asli (OE) Bantalan, (2 model tanpa ABS, 1 model dengan ABS), Lihat Tabel 3 dan Tabel 4
B
1
OE Bantalan, ABS***, Tabel 3
C,D
1
OE Selongsong as, lihat Tabel 3 dan Tabel 4
L
1
OE Batang katup, lihat Tabel 3 dan Tabel 4
Tabel 3. Kit Pemasangan Roda Non-ABS Bantalan DEPAN 25 mm (41455-08C)
Kit Pemasangan Roda Non-ABS Bantalan DEPAN 25 mm (41455-08C)
ITEM (Jumlah Penggunaan dan Deskripsi)
Kesesuaian
Ukuran Roda
A
C
D
J
K
L
M
N
Touring 2008; FLHRC (non-ABS) dan Trike (non-ABS) 2009 dan yang lebih baru
16 x 3,0 inci
2
0
1
0
1
*
*
*
Touring (non-ABS) 2009 dan yang lebih baru
17 x 3,0 inci
2
0
1
0
0
*
*
*
Touring (non-ABS) 2008 dan yang lebih baru
18 x 3,5 inci
2
0
1
0
**
*
*
*
Dyna tahun 2008 - 2017 (kecuali FLD, FXDWG, FXDF)
19 x 2,5 inci
2
1
0
**
0
*
*
0
VRSCAW, VRSCD, VRSCF, VRSCDX tahun 2008 - 2017 (non-ABS)
19 x 3,0 inci
2
1
0
**
0
*
*
0
Touring (non-ABS) 2009 dan yang lebih baru
19 x 3,5 inci
2
0
1
0
0
*
*
*
FLTRX, FLTRXS, FLTRXSE, FLTRXSE 2017 dan yang lebih baru (non-ABS)
21 x 3,5 inci
2
0
1
0
0
*
*
*
Kit pemasangan dirancang agar dapat berfungsi pada beragam gaya dan kesesuaian roda. Hubungi dealer Harley-Davidson untuk memastikan bahwa roda dan kit pemasangan dirancang dan disetujui untuk dipasang pada sepeda motor.
CATATAN:
* Lihat CATATAN di atas langkah pemasangan katup pada PEMASANGAN untuk menentukan batang katup yang tepat untuk digunakan dengan kit Anda. Sisihkan batang katup lainnya.
** Lihat CATATAN kit roda Anda di atas langkah perakitan roda pada PEMASANGAN untuk menentukan apakah bearing shim digunakan untuk kit roda Anda beserta kesesuaiannya.
*** Shim bearing dipasang di bawah bearing utama.
A
Bearing, biasa (2)
9276B
C
Selongsong as
41748-08
D
Selongsong as
41900-08
J
Shim bearing***
41450-08
K
Shim bearing***
43903-08
L
Batang katup, pendek
43157-83A
M
Batang katup, panjang
43206-01
N
Batang katup, dapat ditarik
40999-87
Tabel 4. Kit Pemasangan Bearing Roda ABS DEPAN 25 mm (41454-08B)
Kit Pemasangan Bearing Roda ABS DEPAN 25 mm (41454-08B)
ITEM (Jumlah Penggunaan dan Deskripsi)
Kesesuaian
Ukuran Roda
A
B
C
D
J
K
L
M
N
Touring 2008; dan FLHRC 2009 dan yang lebih baru, dilengkapi ABS
16 x 3,0 inci
1
1
0
1
0
1
*
*
0
Touring 2009 dan yang lebih baru, dilengkapi ABS
17 x 3,0 inci
1
1
0
1
0
0
*
*
*
Touring 2008 dan yang lebih baru, dilengkapi ABS
18 x 3,5 inci
1
1
0
1
**
**
*
*
*
Dyna dengan ABS (Kecuali FLD, FXDWG, dan FXDF) tahun 2012 - 2017
19 x 2,5 inci
1
1
1
0
**
**
*
*
0
VRSCAW, VRSCD, VRSCF, dan VRSCDX dengan ABS tahun 2008 - 2017
19 x 3,0 inci
1
1
1
0
**
**
*
*
0
Touring 2009 dan yang lebih baru, dilengkapi ABS
19 x 3,5 inci
1
1
0
1
0
0
*
*
*
FLTRX, FLTRXS, FLTRXSE, FLTRXSE 2017 dan yang lebih baru dengan ABS
21 x 3,5 inci
1
1
0
1
0
0
*
*
*
Kit pemasangan dirancang agar dapat berfungsi pada beragam gaya dan kesesuaian roda. Hubungi dealer Harley-Davidson untuk memastikan bahwa roda dan kit pemasangan dirancang dan disetujui untuk dipasang pada sepeda motor.
CATATAN:
* Lihat CATATAN di atas langkah pemasangan katup pada PEMASANGAN untuk menentukan batang katup yang tepat untuk digunakan dengan kit Anda. Sisihkan batang katup lainnya.
** Lihat CATATAN kit roda Anda di atas langkah perakitan roda pada PEMASANGAN untuk menentukan bearing shim yang dapat digunakan untuk kit roda Anda beserta kesesuaiannya.
*** Bearing dengan sisi merah harus dipasang mengarah pada roda. Bearing ABS adalah bearing utama.
**** Shim bearing dipasang di bawah bearing utama.
A
Bearing, biasa
9276B
B
Bearing, ABS***
9252A
C
Selongsong as
41748-08
D
Selongsong as
41900-08
J
Shim bearing****
41450-08
K
Shim bearing****
43903-08
L
Batang katup, pendek
43157-83A
M
Batang katup, panjang
43206-01
N
Batang katup, dapat ditarik
40999-87
Gambar 2. Kit Roda Belakang
Tabel 5. Isi Kit: Kit Roda Belakang
Pastikan semua isi kit lengkap sebelum memasang atau melepaskan item dari kendaraan.
Item
Jumlah
Deskripsi
No. Komponen
Catatan
1
1
Roda
Tidak dijual terpisah
Item disebutkan dalam teks, tetapi tidak disertakan dalam kit
A
3
OE Bantalan (2 model tanpa ABS, 1 model dengan ABS), Lihat Tabel 6 dan Tabel 7
B
1
OE Bantalan, ABS***, Tabel 6
C,D
1
OE Selongsong as, lihat Tabel 6 dan Tabel 7
H
1
OE Batang katup, lihat Tabel 6 dan Tabel 7
Tabel 6. Kit Pemasangan Roda Bearing BELAKANG 25 mm (41456-08C)
Kit Pemasangan Roda Non-ABS Bantalan DEPAN 25 mm (41456-08C)
Item (Jumlah Penggunaan dan Deskripsi)
Kesesuaian
Ukuran Roda
A
C
D
E
F
H
I
J
FLT 2009 dan yang lebih baru non-ABS
16 x 5,0 inci
2
1
0
0
0
*
*
*
FLT 2009 dan yang lebih baru non-ABS
18 x 5,0 inci
2
1
0
0
0
*
*
*
VRSCD 2008 non-ABS
18 x 5,5 inci
2
0
0
1
**
*
*
0
FXCW dan FXCWC 2008 dan yang lebih baru non-ABS
18 x 8,0 inci
2
0
1
0
0
*
*
0
VRSCAW, VRSCDX, dan VRSCF 2008 - 2017 non-ABS
18 x 8,0 inci
2
0
0
1
**
*
*
0
Kit pemasangan dirancang agar dapat berfungsi pada beragam gaya dan kesesuaian roda. Hubungi dealer Harley-Davidson untuk memastikan bahwa roda dan kit pemasangan dirancang dan disetujui untuk dipasang pada sepeda motor.
CATATAN:
* Lihat CATATAN di atas langkah pemasangan katup pada PEMASANGAN untuk menentukan batang katup yang tepat untuk digunakan dengan kit Anda. Sisihkan batang katup lainnya.
** Lihat PEMASANGAN untuk menentukan apakah shim diperlukan.
*** Shim bearing dipasang di bawah bearing utama.
A
Bearing, biasa (2)
9276B
C
Selongsong as
41349-07
D
Selongsong as
41358-08
E
Selongsong as
43704-08
F
Shim bearing***
41447-08
H
Batang katup, pendek
43157-83A
I
Batang katup, panjang
43206-01
J
Batang katup, dapat ditarik
40999-87
Tabel 7. Kit Pemasangan Roda ABS Bearing BELAKANG 25 MM (41453-08C)
Kit Pemasangan Roda ABS Bearing BELAKANG 25 MM (41453-08C)
Item (Jumlah Penggunaan dan Deskripsi)
Kesesuaian
Ukuran Roda
A
B
C
D
E
F
G
H
I
J
FLT 2008 dengan ABS
16 x 3,0 inci
1
1
0
1
0
0
1
*
*
0
FLT 2009 dan yang lebih baru dilengkapi ABS
16 x 5,0 inci
1
1
1
0
0
0
0
*
*
*
FLT 2009 dan yang lebih baru dilengkapi ABS
18 x 5,0 inci
1
1
1
0
0
0
0
*
*
*
VRSCDa 2008 dengan ABS
18 x 5,5 inci
1
1
0
0
1
**
0
*
*
0
VRSCAWa, VRSCDXa, VRSCXa, dan VRSCFa dengan ABS tahun 2008 - 2017
18 x 8,0 inci
1
1
0
0
1
**
0
*
*
0
Kit pemasangan dirancang agar dapat berfungsi pada beragam gaya dan kesesuaian roda. Hubungi dealer Harley-Davidson untuk memastikan bahwa roda dan kit pemasangan dirancang dan disetujui untuk dipasang pada sepeda motor.
CATATAN:
* Lihat CATATAN di atas langkah pemasangan katup pada PEMASANGAN untuk menentukan batang katup yang tepat untuk digunakan dengan kit Anda. Sisihkan batang katup lainnya.
** Bearing utama. Sisi merah harus menghadap roda saat bearing dipasang.
*** Shim bearing dipasang di bawah bearing utama.
A
Bearing, biasa
9276B
B
Bearing, ABS**
9252A
C
Selongsong as
41349-07
D
Selongsong as
41900-08
E
Selongsong as
43704-08
F
Shim bearing***
41447-08
G
Shim bearing***
43904-08
H
Batang katup, pendek
43157-83A
I
Batang katup, panjang
43206-01
J
Batang katup, dapat ditarik
40999-87
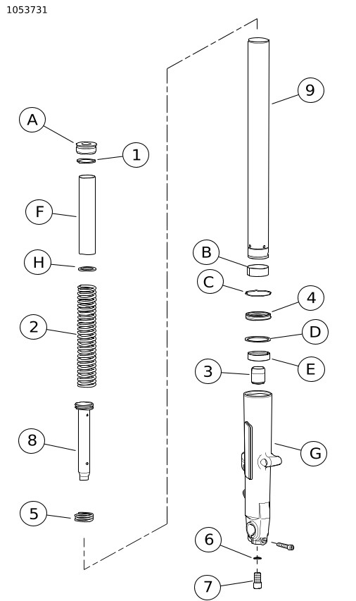
Gambar 3. Fork Depan
Tabel 8. Isi Kit: Kit Garpu Depan
Pastikan semua isi kit lengkap sebelum memasang atau melepaskan item dari kendaraan.
Item
Jumlah
Deskripsi
No. Komponen
Catatan
1
Kit garpu depan
Tidak dijual terpisah
1
2
Cincin-O
46508-01
2
2
Pegas garpu
Tidak dijual terpisah
3
2
Penahan oli
Tidak dijual terpisah
4
2
Segel penahan garpu
46514-01A
5
2
Pegas rebound
Tidak dijual terpisah
6
2
Cincin pengunci
46615-06
7
2
Sekrup, M14
45500118
8
2
Peredam tabung dengan ring piston
Tidak dijual terpisah
9
2
Tabung garpu
45500537
Item disebutkan dalam teks, tetapi tidak disertakan dalam kit
A
2
Baut garpu
B
2
Bushing, tabung garpu
C
2
Klip penahan
D
2
Segel spacer
E
2
Slider bushing
F
2
Kerah pegas
G
2
Slider garpu
H
2
Cincin pengunci datar
UMUM
Model
Untuk informasi kesesuaian model, baca Katalog Retail Komponen dan Aksesori (P&A) atau bagian Komponen dan Aksesori dari www.harley-davidson.com .
Pastikan Anda menggunakan lembar instruksi versi terkini. Tersedia di: h-d.com/isheets
Hubungi Pusat Dukungan Pelanggan Harley-Davidson di 1-800-258-2464 (khusus AS) atau 1-414-343-4056.
Persyaratan Pemasangan
PERINGATAN
Keselamatan pengendara dan penumpang bergantung pada pemasangan kit yang benar. Gunakan prosedur manual servis yang benar. Jika Anda tidak mampu menjalankan prosedur ini atau tidak memiliki alat yang tepat, mintalah dealer Harley-Davidson untuk melakukan pemasangan. Pemasangan yang salah terkait perangkat ini dapat menyebabkan kematian atau cedera parah. (00333b)
CATATAN
Lembar instruksi ini merujuk pada informasi manual servis. Manual servis tahun sepeda motor dan model sepeda motor dibutuhkan untuk pemasangan ini dan tersedia dari:
  • Dealer Harley-Davidson.
  • Portal Informasi Layanan H-D, akses berbasis langganan untuk sebagian besar model mulai tahun 2001 dan yang lebih baru. Lihat Pertanyaan Umum tentang Berlangganan untuk informasi lebih lanjut.
PERINGATAN
Keselamatan pengendara bergantung pada pemasangan kit ini secara benar. Pemasangan kit harus dilakukan di dealer untuk kendaraan yang dilengkapi rem ABS. Pemasangan kit yang benar memerlukan alat khusus yang hanya tersedia di Dealer Harley-Davidson. Sistem rem yang tidak diservis dengan benar dapat memengaruhi performa rem, yang dapat menyebabkan kematian atau cedera parah. (00578b)
PERINGATAN
Hanya pasang roda dan kit pemasangan yang disetujui untuk model sepeda motor. Hubungi dealer Harley-Davidson untuk memastikan kelayakan. Memasang roda dan kit pemasangan yang tidak cocok atau memasang roda yang tidak disetujui untuk model sepeda motor Anda dapat mengakibatkan hilang kendali, yang menyebabkan kematian atau cedera parah. (00610c)
Pemasangan yang benar untuk kit ini memerlukan pembelian terpisah komponen yang tersedia di dealer Harley-Davidson:
Persyaratan untuk menurunkan garpu depan:
Persyaratan Roda Depan 21 inci:
Tutup hub aksesori tidak kompatibel dengan roda ini.
  • Kit Pemasangan Roda: Lihat Tabel 3 dan Tabel 4
  • (10) Sekrup Cakram Rem: (3655A) atau (46646-05)
  • Pemasang dan Pelepas Bearing Roda (94134-09)
  • Ban: (43100008)
  • Rotor: Lihat katalog P&A untuk kesesuaian rotor yang disetujui
  • Sepatbor: Lihat katalog P&A untuk kesesuaian sepatbor yang disetujui
  • Sensor Sistem Pemantauan Tekanan Ban (TPMS) 116°. Lihat pernyataan kesesuaian untuk informasi selengkapnya
Persyaratan Roda Belakang 18 inci:
  • Kit Pemasangan Roda: Lihat Tabel 6 dan Tabel 7
  • (5) Sekrup Cakram Rem (43567-92) atau (46647-05)
  • Pemasang dan Pelepas Bearing Roda (94134-09)
  • Ban: (43200045)
  • Sensor TPMS 116°. Lihat pernyataan kesesuaian untuk informasi selengkapnya
PELEPASAN
1. Lepas dan bongkar rakitan roda depan yang terpasang. Lihat manual servis.
a. Gambar 4 Jika diameter cakram rem depan tidak berukuran 3,25 inci (82,5 mm), buang cakram.
b. Simpan as, mur as, dan spacer roda untuk pemasangan kit.
2. Lepas sepatbor depan. Lihat manual servis atau lembar instruksi yang disertakan dengan sepatbor baru .
3. Gambar 5 Lepas dan bongkar rakitan roda belakang yang terpasang. Lihat manual servis.
4. Lepas garpu depan. Lihat manual servis.
1Diameter
Gambar 4. Diameter Lubang Dudukan Cakram
1As Belakang
2Spacer
3Bantalan (2)
4Spacer
5Sproket
6Isolator
7Cakram rem
8Spacer, non ABS
9E-clip
10Mur
11Cam as
12Sensor kecepatan roda, ABS
13Klip
Gambar 5. Komponen Roda Belakang untuk Digunakan Kembali
PERSIAPAN
PEMBERITAHUAN
Jangan menggunakan kembali sekrup cakram rem/rotor yang pernah dipakai. Penggunaan kembali sekrup ini dapat mengakibatkan hilangnya torsi dan kerusakan pada komponen rem. (00319c)
Roda Depan
CATATAN
  • Pasang bantalan utama terlebih dahulu dengan menggunakan manual servis dan PELEPAS/PEMASANG BANTALAN RODA yang sesuai.
  • Shim bantalan yang disertakan dalam kit pemasangan tidak dibutuhkan dan bisa disisihkan.
  • Sisi kiri roda memiliki tanda Dinas Perhubungan (DOT) untuk mengidentifikasi sisi bantalan utama.
1. Lihat Tabel 3 dan Tabel 4 . Rakit komponen kit pemasangan roda dan cakram rem ke roda, menggunakan tabel komponen servis yang sesuai. Lihat manual servis.
2. Dudukan Ban Pasang ban pada roda.
Roda Belakang
CATATAN
Jangan memasang pelat laher yang terdapat dalam kit pemasangan.
PEMBERITAHUAN
Jangan gunakan kembali sekrup dudukan sproket. Menggunakan kembali sekrup dudukan sproket dapat menyebabkan hilangnya torsi dan merusak sproket dan/atau unit belt. (00480b)
Lihat komponen Gambar 2 yang diperlukan untuk menyiapkan roda belakang baru .
CATATAN
  • Pasang bantalan utama terlebih dahulu dengan menggunakan manual servis dan PELEPAS/PEMASANG BANTALAN RODA yang sesuai.
  • Sisi kanan roda belakang memiliki rotor rem dan merupakan sisi utama dari bantalan.
  • Shim bantalan yang disertakan dalam kit pemasangan tidak dibutuhkan dan bisa disisihkan.
1. Lihat Tabel 6 dan Tabel 7 . Rakit komponen kit pemasangan roda ke roda menggunakan tabel komponen servis yang sesuai. Lihat manual servis.
2. Dudukan Ban Pasang ban pada roda. Lihat manual servis.
Dudukan Ban
CATATAN
Jika kendaraan dilengkapi dengan TPMS gunakan batang katup TPMS . Batang katup mengarah ke sisi tinggi kendaraan saat dipasang. Jika kendaraan tidak dilengkapi dengan TPMS , pasang batang katup tarik (40999-87) yang disertakan di kit pemasangan. Sisihkan pentil ban lainnya.
1. Lihat Gambar 1 dan Gambar 2. Pasang batang katup pendek (L,H) pada roda depan dan belakang. Lihat manual servis.
CATATAN
  • Hanya pasang ban yang sudah ditentukan (pembelian terpisah).
  • Jika roda memiliki stiker titik kuning pada pelek, arahkan ban sehingga titik putih pada ban berlawanan dengan stiker. Jika roda memiliki stiker titik hijau di pelek, arahkan ban sehingga titik putih pada ban sejajar dengan stiker. Jika tidak ada stiker titik di pelek, lihat manual servis.
  • Gunakan pelindung plastik pada alat pemasangan ban dan penjepit pelek saat memasang ban ke roda yang dicat.
  • Saat memasang ban, berikan pelumas ban pada roda dan ban.
2. Pasang ban depan dan belakang baru (dibeli terpisah) ke roda. Lihat manual servis.
a. Ban Depan: 43100008
b. Ban Belakang: 43200045
3. Pasang cakram rem depan pada roda menggunakan perangkat baru . Lihat manual servis.
4. Pasang cakram rem belakang bawaan dan sproket pada roda menggunakan perangkat keras baru . Lihat manual servis.
Rakitan Garpu Depan
1. Gambar 6 Pasang garpu pada Dudukan Tabung Garpu (HD-41177) sebagai berikut:
a. Jepit ujung alat (1) pada ragum dalam posisi horizontal.
b. Gambar 3 Dengan baut garpu (A) menghadap ke atas, jepit tabung garpu (9) di antara bantalan karet di sisi dalam alat. Kencangkan kenop sampai tabung garpu terpasang dengan kencang.
CATATAN
Ingat bahwa baut garpu(A) berada di bawah tekanan pegas, jadi pegang erat-erat saat selesai memasang sekrup.
PERINGATAN
Kenakan kacamata pengaman atau kacamata pelindung saat menyervis rakitan fork. Jangan lepas penutup tabung geser tanpa melepaskan beban awal agar penutup pegas dan pegas tidak memental, yang dapat menyebabkan kematian atau cedera parah. (00297a)
2. Lepaskan baut garpu dan O-ring (1) secara perlahan dari tabung garpu. Buang cincin-O.
3. Lepaskan kerah pegas (F), cincin pipih (H) dan pegas (2) dari tabung garpu.
4. Lepaskan rakitan garpu dari penahan tabung garpu.
5. Balikkan garpu di atas wadah pembuangan untuk membuang oli.
6. Untuk hasil terbaik, pompa perlahan tabung garpu dan slider garpu (G) secara perlahan minimal 10 kali.
7. Pasang kembali pegas garpu dan kerah pegas ke dalam tabung garpu.
8. Letakkan kain bengkel di lantai. Buang sekrup dan cincin tembaga.
9. Balikkan rakitan garpu.
10. Tekan ujung kerah pegas ke kain.
11. Kompres pegas.
12. Lepaskan sekrup (7) dan cincin tembaga (6) dari ujung bawah slider garpu.
13. Untuk hasil terbaik, gunakan kunci pas dengan angin.
14. Simpan kerah pegas dan cincin pipih untuk digunakan nanti.
15. Lepaskan dan sisihkan pegas garpu.
16. Dorong tabung peredam (8) dan pegas rebound (5) keluar dari tabung garpu dengan memasukkan batang berdiameter kecil ke dalam lubang di bagian bawah tabung. Buang tabung peredam dan pegas rebound.
17. Dengan menggunakan alat pencungkil, lepaskan klip penahan (C) di antara slider garpu dan tabung garpu. Jangan memanjangkan atau meregangkan klip penahan untuk melepaskannya dari tabung garpu atau klip dapat rusak.
CATATAN
Untuk mengatasi hambatan apa pun, gunakan tabung garpu sebagai palu geser: Dorong tabung garpu ke slider garpu, lalu tarik ke luar dengan kekuatan sedang. Ulangi urutan ini sampai tabung garpu terpisah dari slider garpu.
18. Lepaskan tabung garpu dari slider garpu.
19. Geser segel oli garpu (4), segel spacer (D) dan bushing slider (E) dari ujung tabung garpu. Buang segel oli garpu.
20. Lepaskan penahan oli (3) dari ujung tabung garpu (9) atau dalam slider garpu. Buang penahan oli dan tabung garpu.
1Pegangan ragum
2Bantalan karet
3Kenop plastik
Gambar 6. Tempat Tabung Garpu (HD-41177)
Rakitan Garpu
PEMBERITAHUAN
Berhati-hatilah agar tabung fork tidak tergores atau tidak memiliki alur. Tabung yang rusak dapat menyebabkan kebocoran minyak fork setelah perakitan. (00421b)
CATATAN
Periksa komponen untuk melihat adanya keausan atau kerusakan. Ganti atau perbaiki jika diperlukan.
1. Gambar 3 Pastikan ring piston terpasang pada tabung peredam dengan potongan menghadap ke bawah.
2. Tempatkan pegas rebound baru (5) ke dalam tabung peredam baru dari kit (8).
3. Masukkan tabung peredam ke dalam tabung garpu baru (9).
4. Masukkan pegas baru (2) dan collar pegas (F) ke dalam tabung garpu, dengan bagian kumparan yang rapat mengarah ke tabung peredam.
5. Dorong bagian bawah tabung peredam melalui lubang di ujung bawah tabung garpu.
6. Pasang penahan oli baru (3) di ujung tabung peredam.
7. Oleskan lem pengencang baut pada sekrup baru (7). LOCTITE 565 THREAD SEALANT (99818-97)
8. Pasang tabung garpu dan tabung peredam ke dalam slider garpu (G).
9. Tahan rakitan pada posisinya dengan memberikan tekanan pada pegas.
10. Pasang sekrup (7) dengan ring tembaga baru (6) dari kit.
11. Kencangkan sekrup.
Torque: 45 ± 5 N·m (33 ± 4 ft-lbs)
12. Lumasi Diameter Dalam (ID) dan Diameter Luar (OD) bushing slider (E) dengan oli garpu bersih.
13. Dorong bushing slider melalui tabung garpu (salah satu arah).
14. Dorong segel spacer (D) melalui tabung garpu hingga menyentuh bushing slider (salah satu arah).
15. Lumasi ID dari segel oli garpu baru (4) dengan oli garpu bersih.
16. Lumasi OD segel oli garpu dengan Pelumas Segel Harley-Davidson.
17. Dengan sisi huruf menghadap ke atas, dorong segel oli garpu melalui tabung garpu sampai menyentuh segel spacer.
18. Gambar 7 Ambil Segel Garpu/Alat Bushing (HD-45305) dan lakukan langkah-langkah berikut:
a. Dorong pemasang segel garpu melalui tabung garpu hingga pemasang tersebut menyentuh segel oli garpu.
b. Gambar 7 Dengan menggunakan alat seperti palu geser, dorong segel oli garpu (dengan segel spacer dan bushing slider) melalui tabung garpu hingga alur penahan klip terlihat di slider garpu bagian dalam.
c. Gambar 3 Dorong klip penahan (C) melalui tabung garpu hingga menyentuh segel oli garpu.
d. Pasang klip pengaman di alur slider garpu.
e. Jangan memanjangkan atau meregangkan klip penahan untuk memasangkannya pada tabung garpu atau klip dapat rusak.
19. Lepaskan collar pegas dan pegas garpu.
PERINGATAN
Jumlah oli fork yang tidak tepat dapat memengaruhi kemudi dan mengakibatkan motor kehilangan kontrol, yang dapat menyebabkan kematian dan cedera parah. (00298a)
20. Isi tabung garpu sebagai berikut:
a. Dengan tabung garpu terkompresi, isi tabung garpu dengan Oli Garpu Tipe E Harley-Davidson, hingga hampir ke penuh.
b. Pompa tabung garpu sepuluh kali untuk mengeluarkan udara dari sistem.
21. Sesuaikan ketinggian oli garpu hingga 91 mm (3,58 inci) dari bagian atas tabung garpu dengan tabung garpu terkompresi dan pegas garpu, collar pegas dan cincin pipih dilepaskan. Lakukan sebagai berikut:
a. Gambar 8 Ambil Indikator Ketinggian Oli Garpu Depan (HD-59000B).
b. Longgarkan sekrup thumbscrew di cincin logam.
c. Pindahkan ke atas atau ke bawah batang sampai bagian bawah cincin 91 mm (3,58 inci )dari bagian bawah batang.
d. Kencangkan sekrup thumbscrew.
e. Dorong plunger pada silinder sampai masuk.
f. Gambar 3 Masukkan batang ke atas tabung garpu hingga cincin logam terletak datar di atas tabung garpu.
g. Tarik plunger untuk mengeluarkan oli garpu dari tabung garpu.
h. Amati oli garpu melalui tabung transparan untuk memastikan bahwa oli sedang diekstraksi dari garpu.
i. Lepaskan batang dari tabung garpu.
j. Dorong plunger ke dalam silinder untuk mengeluarkan kelebihan oli garpu ke dalam wadah yang sesuai.
k. Jika perlu, ulangi Langkah 21 (c) hingga 21 (f). Ketinggiannya benar ketika tidak ada oli garpu yang terlihat sedang diekstraksi melalui tabung transparan.
22. Pasang pegas garpu ke dalam tabung garpu (6) dengan bagian rapat mengarah ke bawah.
CATATAN
Pastikan pegas garpu dipasang dengan bagian kumparan yang rapat ke bawah.
23. Pasang cincin pipih (H) di atas pegas.
24. Pasang collar pegas (F) di atas cincin.
25. Pasang O-ring baru (1) ke baut garpu (A).
26. Pasang baut tabung garpu. Kencangkan.
Torque: 55 ± 25 N·m (41 ± 18 ft-lbs)
Gambar 7. Pasang Segel Oli Garpu
Gambar 8. Buang Kelebihan Oli Garpu (HD-59000B)
PASANG
1. Pasang garpu depan. Lihat manual servis.
CATATAN
PENTING: ABS harus diprogram ulang (reflash).
2. Sistem reflash menggunakan DT II.

Special Tool: DIGITAL TECHNICIAN II (HD-48650)

a. Pilih ikon REFLASH
b. Ikuti petunjuk di layar.
3. Pasang sepatbor depan baru . Lihat lembar instalasi yang disertakan dengan sepatbor depan.
4. Pasang roda depan (1), spacer roda yang sebelumnya dilepas, as bawaan, dan mur as bawaan. Lihat manual servis.
5. Pasang roda belakang (1), gandar bawaan, dan spacer bawaan. Lihat manual servis.
PERINGATAN
Setelah memperbaiki sistem rem, lakukan pengujian rem dengan kecepatan rendah. Jika rem tidak berfungsi dengan baik, pengujian dengan kecepatan tinggi dapat mengakibatkan sepeda motor kehilangan kontrol, yang dapat menyebabkan kematian dan cedera parah. (00289a)
PERINGATAN
Setiap kali memasang roda dan sebelum menjalankan sepeda motor, tekan tuas rem untuk membangun tekanan sistem rem. Tekanan yang tidak memadai dapat memengaruhi performa pengereman, yang dapat menyebabkan kematian atau cedera parah. (00284a)
6. Pompa rem untuk meningkatkan tekanan sistem.
SELESAI
1. Uji kendaraan untuk memastikan jarak kompresi dan pantulan balik garpu.
PEMELIHARAAN
CATATAN
Roda harus dirawat secara berkala agar tetap mengilap dan berkilau.
1. Bersihkan permukaan roda yang sangat kotor menggunakan Pembersih Roda & Ban. Gunakan Harley® Wheel and Spoke Brush.
2. Bersihkan roda secara menyeluruh dengan pembersih berkualitas, seperti Wheel & Tire Cleaner (Pembersih Roda & Ban).
3. Setelah dibersihkan dan dipoles, lindungi permukaan kendaraan dengan pelapis berkualitas, seperti Glaze Poly Sealant.