ערכת גלגל חישורים ("שפיצים")
941002722021-08-02
מידע כללי
טבלה 1. מידע כללי
ערכות
כלים מוצעים
רמת המיומנות(1)
42400045
משקפי בטיחות, מפתח מומנט, אלכוהול איזופרופיל, מפתח אימפקט (רטיטה) פניאומטי
(1) יש צורך בטכנאי דיגיטלי II (‏DTII) והתקנה אצל סוכן
תכולת הערכה
איור 1. תכולת הערכה: ערכת גלגל קדמי
טבלה 2. תכולת הערכה: ערכת גלגל קדמי
יש לוודא שכל התכולה נמצאת בערכה לפני שמתקינים אותה או שמסירים פריטים מכלי הרכב.
פריט
כמות
תיאור
מספר חלק
הערות
1
1
גלגל
לא נמכר בנפרד
פריטים שהוזכרו בטקסט אבל אינם נכללים בערכה
A
3
ציוד מקורי (OE) מסב, (2 בדגמים ללא ABS, ‏1 בדגמים עם ABS), ראה טבלה 3 ו- טבלה 4
B
1
OE מסב, ABS***, טבלה 3
C,D
1
OE שרוול הסרן, ראה טבלה 3 ו- טבלה 4
ליטר
1
OE קנה השסתום, ראה טבלה 3 ו- טבלה 4
טבלה 3. ערכת התקנה למסב 25 מ"מ של גלגל קדמי ללא ABS ‏(41455-08C)
ערכת התקנה למסב 25 מ"מ של גלגל קדמי ללא ABS ‏(41455-08C)
פריט (כמות בשימוש ותיאור)
התאמה
גודל גלגל
A
C
D
J
K
ליטר
מ.
N
דגמי 2008 Touring: דגם FLHRC משנת 2009 ומאוחר יותר (ללא ABS), ו-Trike (ללא ABS)
16 x 3.0 אינץ‘
2
0
1
0
1
*
*
*
דגמי Touring משנת 2009 והלאה (ללא ABS)
16X3.0 אינץ‘
2
0
1
0
0
*
*
*
דגמי Touring משנת 2008 והלאה (ללא ABS)
16X3.5 אינץ‘
2
0
1
0
**
*
*
*
דגמי Dyna מהשנים 2008 - 2017 (למעט FLD, FXDWG ו-FXDF)
19X2.5 אינץ‘
2
1
0
**
0
*
*
0
דגמי VRSCAW, VRSCD, VRSCF ו-VRSCDX מהשנים 2008 - 2017 (ללא ABS)
19X3.0 אינץ‘
2
1
0
**
0
*
*
0
דגמי Touring משנת 2009 והלאה (ללא ABS)
19X3.5 אינץ‘
2
0
1
0
0
*
*
*
דגמי FLTRX, FLTRXS, FLTRXSE משנת 2017 ואילך (ללא ABS)
21X3.5 אינץ‘
2
0
1
0
0
*
*
*
ערכות התקנה נועדו לפעולה עם גלגלים מסגנונות רבים והתאמות שונות. צור קשר עם סוכן Harley-Davidson כדי לוודא שהגלגל וערכות ההתקנה שניהם תוכננו ואושרו לאופנוע שעליו הם מותקנים.
הערות:
* ראה הערה מעל שלב התקנת שסתום בהתקנה כדי לקבוע באיזה גזע שסתום להשתמש לערכה המסוימת שלך. השלך גזעי שסתום אחרים.
** ראה הערות עבור ערכת הגלגל שלך מעל שלב הרכבת הגלגל ב-“התקנה“ כדי לקבוע באיזה טריז מיסב להשתמש עבור ערכת הגלגל שלך וההתאמה.
*** טריז המיסב מותקן תחת המיסב הראשי.
A
מיסב, רגיל (2)
9276B
C
שרוול הסרן
41748-08
D
שרוול הסרן
41900-08
J
טריז מיסב***
41450-08
K
טריז מיסב***
43903-08
ליטר
גזע שסתום, קצר
43157-83A
מ.
גזע שסתום, ארוך
43206-01
N
גזע שסתום, משיכה מלאה
40999-87
טבלה 4. ערכת התקנה מיסב גלגל ABS קדמי 25 מ“מ (41454-08B)
ערכת התקנה מיסב גלגל ABS קדמי 25 מ“מ (41454-08B)
פריט (כמות בשימוש ותיאור)
התאמה
גודל גלגל
A
B
C
D
J
K
ליטר
מ.
N
דגמי Touring מהשנים 2008 ודגמי FLHRC מהשנים 2009 ומאוחר יותר עם ABS
16 x 3.0 אינץ‘
1
1
0
1
0
1
*
*
0
דגמי Touring משנת 2009 ומאוחר יותר עם ABS
16X3.0 אינץ‘
1
1
0
1
0
0
*
*
*
דגמי Touring משנת 2008 והלאה עם ABS
16X3.5 אינץ‘
1
1
0
1
**
**
*
*
*
Dyna עם ABS 2012 - 2017 (למעט FLD, FXDWG ו-FXDF)
19X2.5 אינץ‘
1
1
1
0
**
**
*
*
0
VRSCAW, VRSCD, VRSCF ו-VRSCDX 2008 - 2017 עם ABS
19X3.0 אינץ‘
1
1
1
0
**
**
*
*
0
דגמי Touring משנת 2009 ומאוחר יותר עם ABS
19X3.5 אינץ‘
1
1
0
1
0
0
*
*
*
דגמי FLTRX, FLTRXS, FLTRXSE משנת 2017 ואילך עם ABS
21X3.5 אינץ‘
1
1
0
1
0
0
*
*
*
ערכות התקנה נועדו לפעולה עם גלגלים מסגנונות רבים והתאמות שונות. צור קשר עם סוכן Harley-Davidson כדי לוודא שהגלגל וערכות ההתקנה שניהם תוכננו ואושרו לאופנוע שעליו הם מותקנים.
הערות:
* ראה הערה מעל שלב התקנת שסתום בהתקנה כדי לקבוע באיזה גזע שסתום להשתמש לערכה המסוימת שלך. השלך גזעי שסתום אחרים.
** ראה הערות עבור ערכת הגלגל שלך מעל שלב הרכבת הגלגל בהתקנה כדי לקבוע באיזה טריז מיסב להשתמש עבור ערכת הגלגל שלך וההתאמה המסוימים שלך.
** יש להתקין את המיסב כאשר הצד האדום פונה לכיוון הגלגל. מיסב ABS הוא הראשי.
*** טריז המיסב מותקן תחת המיסב הראשי.
A
מיסב, רגיל
9276B
B
מיסב, ABS**
9252A
C
שרוול הסרן
41748-08
D
שרוול הסרן
41900-08
J
****טריז מיסב
41450-08
K
****טריז מיסב
43903-08
ליטר
גזע שסתום, קצר
43157-83A
מ.
גזע שסתום, ארוך
43206-01
N
גזע שסתום, משיכה מלאה
40999-87
איור 2. ערכת גלגל אחורי
טבלה 5. תכולת הערכה: ערכת גלגל אחורי
יש לוודא שכל התכולה נמצאת בערכה לפני שמתקינים אותה או שמסירים פריטים מכלי הרכב.
פריט
כמות
תיאור
מספר חלק
הערות
1
1
גלגל
לא נמכר בנפרד
פריטים שהוזכרו בטקסט אבל אינם נכללים בערכה
A
3
OE מסב (2 בדגמים ללא ABS, ‏1 בדגמים עם ABS), ראה טבלה 6 ו- טבלה 7
B
1
OE מסב, ABS***, טבלה 6
C,D
1
OE שרוול הסרן, ראה טבלה 6 ו- טבלה 7
H
1
OE קנה השסתום, ראה טבלה 6 ו- טבלה 7
טבלה 6. ערכת התקנה מיסב גלגל ABS אחורי 41456 מ“מ (C 41456-08)
ערכת התקנה למסב 25 מ"מ של גלגל אחורי ללא ABS ‏(41456-08C)
פריט (כמות בשימוש ותיאור)
התאמה
גודל גלגל
A
C
D
E
F
H
I
J
דגמי FLT משנת 2009 ואילך ללא ABS
16X0.5 אינץ‘
2
1
0
0
0
*
*
*
דגמי FLT משנת 2009 ואילך ללא ABS
18X0.5 אינץ‘
2
1
0
0
0
*
*
*
דגמי VRSCD משנת 2008 ללא ABS
18X5.5 אינץ‘
2
0
0
1
**
*
*
0
דגמי FXCW ו-FXCWC משנת 2008 ואילך ללא ABS
18X8.0 אינץ‘
2
0
1
0
0
*
*
0
דגמי VRSCAW, VRSCDX ו-VRSCF מהשנים 2008 - 2017 ללא ABS
18X8.0 אינץ‘
2
0
0
1
**
*
*
0
ערכות התקנה נועדו לפעולה עם גלגלים מסגנונות רבים והתאמות שונות. צור קשר עם סוכן Harley-Davidson כדי לוודא שהגלגל וערכות ההתקנה שניהם תוכננו ואושרו לאופנוע שעליו הם מותקנים.
הערות:
* ראה הערה מעל שלב התקנת שסתום בהתקנה כדי לקבוע באיזה גזע שסתום להשתמש לערכה המסוימת שלך. השלך גזעי שסתום אחרים.
** ראה ‚התקנה‘ כדי לקבוע אם נדרש טריז.
טריז המיסב מותקן תחת המיסב הראשי.
A
מיסב, רגיל (2)
9276B
C
שרוול הסרן
41349-07
D
שרוול הסרן
41358-08
E
שרוול הסרן
43704-08
F
טריז מיסב***
41447-08
H
גזע שסתום, קצר
43157-83A
I
גזע שסתום, ארוך
43206-01
J
גזע שסתום, משיכה מלאה
40999-87
טבלה 7. ערכת התקנה מיסב גלגל ABS אחורי 25 מ“מ (C 41453-08)
ערכת התקנה מיסב גלגל ABS אחורי 25 מ“מ (C 41453-08)
פריט (כמות בשימוש ותיאור)
התאמה
גודל גלגל
A
B
C
D
E
F
G
H
I
J
2008 FLT עם ABS
16 x 3.0 אינץ‘
1
1
0
1
0
0
1
*
*
0
2009 ומאוחר יותר FLT עם ABS
16X0.5 אינץ‘
1
1
1
0
0
0
0
*
*
*
2009 ומאוחר יותר FLT עם ABS
18X0.5 אינץ‘
1
1
1
0
0
0
0
*
*
*
VRSCDa 2008 עם ABS
18X5.5 אינץ‘
1
1
0
0
1
**
0
*
*
0
VRSCAWa, VRSCDXa, VRSCXa ו-VRSCFa 2008 - 2017 עם ABS
18X8.0 אינץ‘
1
1
0
0
1
**
0
*
*
0
ערכות התקנה נועדו לפעולה עם גלגלים מסגנונות רבים והתאמות שונות. צור קשר עם סוכן Harley-Davidson כדי לוודא שהגלגל וערכות ההתקנה שניהם תוכננו ואושרו לאופנוע שעליו הם מותקנים.
הערות:
* ראה הערה מעל שלב התקנת שסתום בהתקנה כדי לקבוע באיזה גזע שסתום להשתמש לערכה המסוימת שלך. השלך גזעי שסתום אחרים.
** מיסב ראשי יש להתקין את המיסב כאשר הצד האדום פונה לכיוון הגלגל.
טריז המיסב מותקן תחת המיסב הראשי.
A
מיסב, רגיל
9276B
B
מיסב, ABS**
9252A
C
שרוול הסרן
41349-07
D
שרוול הסרן
41900-08
E
שרוול הסרן
43704-08
F
טריז מיסב***
41447-08
G
טריז מיסב***
43904-08
H
גזע שסתום, קצר
43157-83A
I
גזע שסתום, ארוך
43206-01
J
גזע שסתום, משיכה מלאה
40999-87
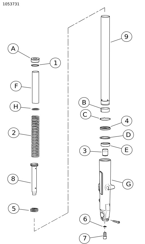
איור 3. מזלג קדמי
טבלה 8. תכולת הערכה: ערכת מזלג קדמי
יש לוודא שכל התכולה נמצאת בערכה לפני שמתקינים אותה או שמסירים פריטים מכלי הרכב.
פריט
כמות
תיאור
מספר חלק
הערות
1
ערכת מזלג קדמי
לא נמכר בנפרד
1
2
טבעת O
46508-01
2
2
קפיץ המזלג
לא נמכר בנפרד
3
2
מנעול שמן
לא נמכר בנפרד
4
2
אטם שמן של המזלג
46514-01A
5
2
קפיץ שיכוך החזרה
לא נמכר בנפרד
6
2
דיסקית
46615-06
7
2
בורג, M14
45500118
8
2
צינור המשכך עם טבעת בוכנה
לא נמכר בנפרד
9
2
צינור המזלג
45500537
פריטים שהוזכרו בטקסט אבל אינם נכללים בערכה
A
2
בורג המזלג
B
2
תותב, צינור המזלג
C
2
תפס נעילה
D
2
אטם תותב המרווח
E
2
תותב מרווח של צינור ההחלקה
F
2
צווארון קפיץ
G
2
צינור החלקה של המזלג
H
2
דסקית שטוחה
כללי
דגמים
למידע על ההתאמה לדגמים ניתן לעיין בקטלוג הקמעונאי של חלקים ואביזרים (Parts and Accessories) (P&A) או בדף "Parts and Accessories" (חלקים ואביזרים) באתר www.harley-davidson.com .
ודא שאתה משתמש בגרסה העדכנית ביותר של דף ההוראות. היא זמינה ב: h-d.com/isheets
יש ליצור קשר עם מרכז התמיכה ללקוחות של Harley-Davidson בטלפון 1-800-258-2464 (ארה“ב בלבד) או 1-414-343-4056.
דרישות התקנה
אזהרה
הבטיחות של הרוכב והנוסע תלויה בהתקנה נכונה של הערכה הזאת. השתמש בהליכי הטיפול המתאימים שבמדריך. אם אינך מסוגל לבצע את הנוהל או אם אין לך הכלים הנכונים, בצע את ההתקנה בסוכנות Harley-Davidson. התקנה לא נאותה של הערכה הזאת עלולה לגרום למוות או פגיעה חמורה. (00333b)
הערה
גיליון הנחיות זה מתייחס למידע במדריך השירות. יש צורך במדריך הטיפולים לאופנועים מהשנה ומהדגם המסוימים לצורך ההתקנה הזו. ניתן לקבל אותו דרך:
  • סוכנות של Harley-Davidson.
  • פורטל המידע על תיקונים של Harley-Davidson (H-D Service Information Portal): הגישה היא למנויים; מכיל מידע עבור רוב דגמי שנת 2001 והדגמים החדשים יותר. למידע נוסף ראה את השאלות הנפוצות על מנויים .
אזהרה
הבטיחות של הרוכב תלויה בהתקנה נכונה של הערכה הזאת. בכלי רכב המצוידים בבלמי ABS יש לבצע את ההתקנה אצל סוכן. התקנה נכונה של ערכה זו מחייבת שימוש בכלים מיוחדים הנמצאים אך ורק אצל סוכן Harley-Davidson. טיפול לא נכון במערכת הבלימה עלול לפגום בביצועי הבלם, וכתוצאה מכך לגרום למוות או פגיעה חמורה. (00578b)
אזהרה
התקן אך ורק גלגלים וערכות התקנה המאושרים לדגם האופנוע שלך. צור קשר עם סוכן Harley-Davidson כדי לוודא התאמה. אי התאמה של גלגלים וערכות התקנה או התקנת גלגלים שאינם מאושרים עבור הדגם שלך עלולות לגרום לאובדן שליטה, וכתוצאה מכך לגרום למוות או פציעה חמורה. (00610c)
לצורך התקנה נכונה של ערכה זו נדרשת רכישה בנפרד של החלקים הבאים הזמינים אצל סוכני Harley-Davidson:
דרישות עבור הנמכת המזלג הקדמי:
דרישות עבור גלגל קדמי 21 אינץ':
כיסויי נוי (”צלחות“) לגלגל אינם מתאימים לגלגל זה.
  • ערכת התקנת גלגל: ראה טבלה 3 ו- טבלה 4
  • (10) ברגים לדיסק בלם: (3655A) או (46646-05)
  • כלי להסרה ולהתקנה של מסב גלגל (94134-09)
  • צמיג: (43100008)
  • רוטורים: עיין בקטלוג החלקים והאביזרים למידע על רוטורים מאושרים להתקנה
  • כנף: עיין בקטלוג החלקים והאביזרים למידע על כנפיים מאושרות להתקנה
  • חיישן מערכת לניטור לחץ הצמיגים (TPMS) 116°. עיין בהצהרת ההתאמה לקבלת פרטים
דרישות עבור גלגל אחורי 18 אינץ':
  • ערכת התקנת גלגל: ראה טבלה 6 ו- טבלה 7
  • (5) ברגים לדיסק בלם (43567-92) או (46647-05)
  • כלי להסרה ולהתקנה של מסב גלגל (94134-09)
  • צמיג: (43200045)
  • חיישן TPMS 116°. עיין בהצהרת ההתאמה לקבלת פרטים
הסר
1. הסר ופרק את מכלול הגלגל הקדמי הקיים. עיין במדריך הטיפולים.
a. איור 4 אם הקוטר של דיסק הבלם הקדמי איננו 3.25 אינץ', השלך את הדיסקים.
b. שמור את הסרן, אום הסרן ותותבי המרווח של הגלגל להתקנת הערכה.
2. הסר את הכנף הקדמית. עיין במדריך הטיפולים או בגיליון ההוראות המצורף לכנף החדשה .
3. איור 5 הסר ופרק את מכלול הגלגל האחורי הקיים. עיין במדריך הטיפולים.
4. הסר את המזלגות הקדמיים. עיין במדריך הטיפולים.
1קוטר
איור 4. קוטר חור ההרכבה בדיסק
1סרן אחורי
2תותב מרווח
3מסב (2)
4תותב מרווח
5גלגל שיניים
6Isolator
7דיסק בלם
8תותב מרווח, ללא ABS
9תפס e
10אום
11פיקת סרן
12חיישן מהירות גלגל, ABS
13תפס
איור 5. חלקי גלגל אחורי לשימוש חוזר
הכנה
התראה
אין לעשות שימוש חוזר בברגים של דיסק הבלם/הרוטור. שימוש חוזר בברגים אלו עלול לגרום נזק לרכיבי הבלם ולאובדן של מומנט. (00319c)
גלגל קדמי
הערה
  • התקן תחילה את המיסב הראשי על פי מדריך הטיפולים המתאים ובעזרת מסיר/מתקין מיסב הגלגל.
  • אין צורך בדסקיות המרווח של המסבים המסופקות בערכת ההתקנה, ואפשר להשליכן.
  • בצד שמאל של הגלגל יש סימני משרד התחבורה (Department of Transportation) (DOT) לזיהוי הצד של המסב הראשי.
1. ראה את טבלה 3 ואת טבלה 4 . הרכב את רכיבי ערכת התקנת הגלגל ואת דיסק(י) הבלם, תוך שימוש בטבלת חלקי השירות המתאימה. עיין במדריך הטיפולים.
2. סעיף התקנת הצמיג התקן את הצמיג על הגלגל.
גלגל אחורי
הערה
אסור להתקין את טבעת המסב הכלולה בערכת ההתקנה.
התראה
אין לעשות שימוש חוזר בבורגי ההרכבה של גלגל השרשרת. שימוש חוזר בבורגי ההרכבה של גלגל השרשרת עלול לגרום לאובדן מומנט ונזק למכלול גלגל השרשרת ו/או הרצועה. (00480b)
ראה איור 2 למידע על הרכיבים הנחוצים להכנת גלגל אחורי חדש .
הערה
  • התקן תחילה את המיסב הראשי על פי מדריך הטיפולים המתאים ובעזרת מסיר/מתקין מיסב הגלגל.
  • בצד ימין של הגלגל האחורי יש רוטור בלם והוא הצד של המסב הראשי.
  • אין צורך בדסקיות המרווח של המסבים המסופקות בערכת ההתקנה, ואפשר להשליכן.
1. ראה את טבלה 6 ואת טבלה 7 . הרכב על הגלגל את רכיבי ערכת ההתקנה של הגלגל, תוך שימוש בטבלת חלקי השירות המתאימה. עיין במדריך הטיפולים.
2. סעיף התקנת הצמיג התקן את הצמיג על הגלגל. עיין במדריך הטיפולים.
התקנת הצמיג
הערה
אם הרכב מצויד ב- TPMS , השתמש בקנה שסתום TPMS . כאשר הוא מותקן, קנה השסתום פונה לעבר הצד הגבוה של הרכב. אם הרכב אינו מצויד ב TPMS , התקן את קנה השסתום המושחל (40999-87) הכלול בערכת ההתקנה. השלך את כל קני השסתום אחרים.
1. ראה איור 1 ו איור 2 . התקן קנה שסתום קצר (L,H) בגלגלים הקדמי והאחורי. עיין במדריך הטיפולים.
הערה
  • התקן רק את הצמיג המתאים (רכישה בנפרד).
  • אם יש מדבקה של נקודה צהובה על חישוק הגלגל, כוון את הצמיג כך שהנקודה הלבנה בצמיג תימצא בצד הנגדי בכיוון ההפוך ממיקום המדבקה. אם יש מדבקה של נקודה ירוקה על חישוק הגלגל, כוון את הצמיג כך שהנקודה הלבנה בצמיג תימצא מול המדבקה. אם אין מדבקת נקודה כלשהי על החישוק, עיין במדריך הטיפולים.
  • השתמש במגיני פלסטיק על כלי ההתקנה של הצמיג וכלי האחיזה לחישוק בעת התקנת צמיג בגלגל צבוע.
  • בעת התקנת צמיגים, השתמש בכמות נדיבה של חומר סיכה בגלגל ובצמיג.
2. התקן את הצמיגים הקדמי והאחורי החדשים (רכישה בנפרד) על הגלגלים. עיין במדריך הטיפולים.
a. צמיג קדמי: 43100008
b. צמיג אחורי: 43200045
3. התקן את דיסקי הבלם הקדמיים בגלגל באמצעות אביזרי חיבור והתקנה חדשים . עיין במדריך הטיפולים.
4. התקן את הדיסק וגלגל השרשרת המקוריים של הבלם האחורי בגלגל באמצעות אביזרי חיבור והתקנה חדשים . עיין במדריך הטיפולים.
הרכבת המזלג הקדמי
1. איור 6 התקן את המזלג במחזיק צינור המזלג (HD-41177) באופן הבא:
a. הכנס את קצה הכלי (1) למלחציים במצב אופקי.
b. איור 3 כשבורג המזלג (A) פונה כלפי מעלה, הכנס את צינור המזלג (9) בין רפידות הגופי בצד הפנימי של הכלי. הדק את הכפתורים עד שצינור המזלג תפוס היטב.
הערה
שים לב שבורג המזלג (A) נמצא תחת לחץ הקפיץ, ולכן הקפד לאחוז היטב את הבורג בעת סיבוב התבריג האחרון.
אזהרה
הרכב משקפי מגן בזמן הטיפול במכלול המזלג. אל תסיר את פקקי צינור ההחלקה מבלי לשחרר את העומס ההתחלתי של הקפיץ, מכיוון שהפקקים או הקפיצים עלולים לעוף החוצה, וכתוצאה מכך לגרום למוות או פציעה חמורה. (00297a)
2. הסר באיטיות את בורג המזלג וטבעת ה-O (‏1) מצינור המזלג. השלך את טבעת ה-O.
3. הסר את קפיץ הפיתול (F), את הדסקית השטוחה (H) ואת הקפיץ (2) מצינור המזלג.
4. הסר את מכלול המזלג ממחזיק צינור המזלג.
5. הפוך את המזלג מעל אגן שמן כדי לנקז את השמן.
6. לקבלת תוצאות מיטביות, פמפם באיטיות את צינור המזלג וצינור ההחלקה של המזלג (G) לפחות 10 פעמים.
7. התקן את קפיץ המזלג וקפיץ הפיתול חזרה בצינור המזלג.
8. שים סמרטוט עבודה על הרצפה. השלך את הבורג ואת דסקית הנחושת.
9. הפוך את מכלול המזלג כלפי מטה.
10. לחץ את קצה קפיץ הפיתול כנגד הסמרטוט.
11. כווץ את הקפיץ.
12. הסר את הבורג (7) עם דסקית הנחושת (6) מהקצה התחתון של צינור ההחלקה של המזלג.
13. השתמש במפתח אימפקט פניאומטי לקבלת תוצאות מיטביות.
14. שמור את קפיץ הפיתול ואת הדסקית השטוחה לשימוש בהמשך.
15. הסר והשלך את קפיץ המזלג.
16. דחוף ושחרר את צינור המשכך (8) ואת קפיץ שיכוך החזרה (5) מצינור המזלג באמצעות החדרה של מוט בקוטר קטן דרך הפתח בתחתית הצינור. השלך את צינור המשכך ואת קפיץ שיכוך החזרה.
17. השתמש בכלי חולץ כדי להסיר את טבעת הנעילה (C) שבין צינור ההחלקה לבין צינור המזלג. אל תרחיב או תמתח את טבעת הנעילה בעת ההסרה מצינור המזלג מכיוון שעלול להיגרם לטבעת נזק.
הערה
כדי להתגבר על התנגדות, השתמש בצינור המזלג כפטיש מחליק: דחוף את צינור המזלג לתוך צינור ההחלקה של המזלג ולאחר מכן משוך אותו החוצה תוך הפעלה של כוח מתון. חזור על רצף פעולות זה עד שצינור המזלג ייפרד מצינור ההחלקה של המזלג.
18. הסר את צינור המזלג מצינור ההחלקה של המזלג.
19. החלק והוצא את אטם השמן של המזלג (4), את אטם תותב המרווח (D) ואת תותב צינור ההחלקה (E) מעבר לקצה של צינור המזלג. השלך את אטם השמן של המזלג.
20. הסר את מנעול השמן (3) מקצה צינור המזלג (9) או מתוך צינור ההחלקה של המזלג. השלך את מנעול השמן ואת צינור המזלג.
1מלחציים
2רפידת גומי
3כפתור פלסטיק
איור 6. מחזיק צינור מזלג (HD-41177)
הרכבת המזלג
התראה
נקוט זהירות כדי למנוע שריטות או פגיעות בצינור המזלג. פגיעה בצינור עלולה לגרום לדליפות שמן המזלג לאחר ההרכבה. (00421b)
הערה
בדוק את החלקים מבחינת בלאי או נזק. החלף או תקן לפי הצורך.
1. איור 3 ודא שטבעת הבוכנה מותקנת בצינור המשכך כשהמגרעות פונות מטה.
2. שים קפיץ שיכוך החזרה חדש (5) על צינור המשכך החדש מהערכה (8).
3. הכנס את צינור המשכך לתוך צינור המזלג החדש (9).
4. הכנס את הקפיץ החדש (2) ואת קפיץ הפיתול (F) לתוך צינור המזלג, כשהמקטע הצפוף של התכריכים פונים לעבר צינור המשכך.
5. דחוף את החלק התחתון של צינור המשכך דרך הפתח בקצה התחתון של צינור המזלג.
6. שים מנעול שמן חדש (3) מעל הקצה של צינור המשכך.
7. מרח חומר לנעילת תבריגים על הבורג החדש (7). LOCTITE 565 THREAD SEALANT (חומר אטימה לתבריגים) (99818-97)
8. שים את צינור המזלג וצינור המשכך בתוך צינור ההחלקה של המזלג (G).
9. הפעל לחץ על הקפיץ כדי להחזיק את המכלול במקומו.
10. התקן את הבורג (7) עם דסקית נחושת חדשה (6) מהערכה.
11. הדק את הבורג.
מומנט סיבוב: 45 ± 5 N·m (33 ± 4 ft-lbs)
12. צפה את קוטר פנימי (ID) ו- קוטר חיצוני (OD) של תותב צינור ההחלקה (E) בשמן מזלג נקי.
13. החלק את תותב צינור ההחלקה במורד צינור המזלג (בכל כיוון).
14. החלק את אטם תותב המרווח (D) במורד צינור המזלג עד שהוא נוגע בתותב צינור ההחלקה (בכל כיוון).
15. צפה את ID של אטם השמן החדש של המזלג (4) בשמן מזלג נקי.
16. צפה את OD של אטם שמן המזלג בעזרת Harley-Davidson Seal Grease (משחת סיכה לאטמים).
17. כאשר הצד עם האותיות פונה כלפי מעלה, החלק את אטם שמן המזלג במורד צינור המזלג עד שהוא ייגע באטם תותב המרווח.
18. איור 7 הבא את כלי תותב המרווח/אטם המזלג (HD-45305) והמשך באופן הבא:
a. החלק את מתקין אטם המזלג במורד צינור המזלג עד שהוא ייגע באטם שמן המזלג.
b. איור 7 באמצעות כלי דוגמת פטיש מחליק, הכנס את אטם שמן המזלג (עם אטם תותב המרווח ותותב צינור ההחלקה) במורד צינור המזלג עד שניתן לראות את חריץ טבעת הנעילה בקוטר הפנימי של צינור ההחלקה של המזלג.
c. איור 3 החלק את טבעת הנעילה (C) במורד צינור המזלג עד שהיא נוגעת באטם צינור השמן.
d. התקן את טבעת הנעילה בחריץ צינור ההחלקה של המזלג.
e. אל תרחיב או תמתח את טבעת הנעילה בעת ההתקנה על צינור המזלג מכיוון שעלול להיגרם לטבעת נזק.
19. הסר את קפיץ הפיתול ואת קפיץ המזלג.
אזהרה
כמות שגויה של שמן המזלג עלולה לפגום ביכולת השליטה ולגרום לאובדן שליטה ברכב, וכתוצאה מכך לגרום למוות או פגיעה חמורה. (00298a)
20. מלא את צינור המזלג באופן הבא:
a. כאשר צינור המזלג מכווץ, שפוך שמן מזלג סוג E של Harley-Davidson לתוך צינור המזלג כמעט עד הקצה העליון.
b. פמפם את צינור המזלג עשר פעמים כדי להוציא אוויר מהמערכת.
21. התאם את מפלס השמן של המזלג כך שהוא יימצא 91 מ“מ מהקצה העליון של צינור המזלג כאשר צינור המזלג מכווץ ולאחר שקפיץ המזלג, קפיץ הפיתול והדסקית השטוחה הוסרו. המשך באופן הבא:
a. איור 8 הבא את מד מפלס השמן במזלג קדמי (HD-59000B).
b. שחרר את בורג הכנף על טבעת המתכת.
c. הזז אותה במעלה או במורד המוט עד שהצד התחתון של הטבעת יימצא 91 מ"מ מהצד התחתון של המוט.
d. הדק את בורג הכנף.
e. דחוף את הבוכנה על הצילינדר עד הסוף פנימה.
f. איור 3 הכנס את המוט לקצה העליון של צינור המזלג עד שטבעת המתכת מונחת במצב שטוח על הקצה העליון צינור המזלג.
g. משוך את הבוכנה כדי להוציא את שמן המזלג מצינור המזלג.
h. התבונן בשמן המזלג דרך צינור שקוף כדי לוודא שהשמן נשאב מהמזלג.
i. הסר את המוט מצינור המזלג.
j. דחוף את הבוכנה לתוך צילינדר כדי לסלק שמן מזלג עודף אל מיכל מתאים.
k. במקרה הצורך, חזור על שלבים 21 (e) עד 21 (j). הרמה נכונה כאשר לא רואים שום שמן המזלג נשאב דרך הצינור השקוף.
22. התקן את קפיץ המזלג בתוך צינור המזלג כשהקצה עם התכריכים הצפופים פונה כלפי מטה.
הערה
ודא שקפיץ המזלג מותקן כאשר הקצה עם התכריכים הצפופים פונה כלפי מטה.
23. התקן את הדסקית השטוחה (H) על הקצה העליון של הקפיץ.
24. התקן את קפיץ הפיתול (F) על הקצה העליון של הדסקית.
25. התקן טבעת O חדשה (1) על בורג המזלג (A).
26. התקן את בורג צינור המזלג. הדק.
מומנט סיבוב: 55 ± 25 N·m (41 ± 18 ft-lbs)
איור 7. התקן את אטם שמן המזלג
איור 8. הסרת עודפים של שמן המזלג (HD-59000B)
התקנה
1. התקן את המזלגות הקדמיים. עיין במדריך הטיפולים.
הערה
חשוב: חובה לבצע איפוס של ה-ABS.
2. אפס את המערכת בעזרת DT II.

כלי מיוחד: DIGITAL TECHNICIAN II (HD-48650)

a. בחר את סמל האיפוס
b. פעל לפי ההנחיות שיופיעו בצג.
3. התקן כנף קדמית חדשה . עיין בגיליון הוראות ההתקנה המסופק עם הכנף הקדמית.
4. התקן את הגלגל הקדמי (1), את תותבי המרווח של הגלגל שהוסרו מוקדם יותר, את הסרן המקורי ואת אום הסרן המקורית. עיין במדריך הטיפולים.
5. התקן את הגלגל האחורי (1), הסרן המקורי, ותותבי המרווח המקוריים. עיין במדריך הטיפולים.
אזהרה
לאחר תיקון מערכת הבלמים, בדוק את הבלמים במהירות נמוכה. אם הבלמים אינם פועלים כראוי, בדיקה במהירויות גבוהות עלולה לגרום לאובדן שליטה, וכתוצאה מכך לגרום למוות או פציעה חמורה. (00289a)
אזהרה
לאחר כל התקנת גלגל ולפני הזזת האופנוע, פמפם את הבלמים על מנת לבנות לחץ במערכת הבלימה. לחץ לא מספיק עלול להשפיע לרעה על ביצועי הבלמים, וכתוצאה מכך לגרום למוות או פגיעה חמורה. (00284a)
6. פמפם את הבלמים כדי לבנות לחץ במערכת.
סיום
1. בצע נסיעת מבחן ברכב כדי לבדוק את המהלך ושיכוך החזרה של המזלג.
תחזוקה
הערה
יש לטפל בגלגלים באופן סדיר כדי להבטיח שהם ישמרו על הברק המקורי שלהם.
1. נקה משטחים מלוכלכים מאוד של הגלגל בעזרת Wheel & Tire Cleaner (מנקה גלגלים וצמיגים). השתמש ב-Harley® Wheel and Spoke Brush (מברשת לגלגל ולחישורים).
2. נקה את הגלגל באופן יסודי באמצעות חומר ניקוי מאיכות טובה כגון Wheel & Tire Cleaner (מנקה גלגלים וצמיגים).
3. לאחר ניקוי והברקה, אטום את הגימור באמצעות חומר איטום מאיכות טובה, כגון Harley Glaze Polish and Sealant.