SÚPRAVA NA KONVERZIU SCREAMIN' EAGLE PRO TC 120 (1962 CC)
J054632025-01-23
VŠEOBECNÉ INFORMÁCIE
Číslo súpravy
92500009
Modely
Informácie o vhodnosti pre jednotlivé modely nájdete v maloobchodnom katalógu náhradných dielov a príslušenstva alebo v časti venovanej náhradným dielom a príslušenstvu na stránke www.harley-davidson.com (iba v angličtine).
POZNÁMKA
Montáž tejto sady vyžaduje na správne fungovanie vykonanie zmien nastavenia alebo rekalibráciu. Ak tak neurobíte, môže to spôsobiť chudobnú zmes paliva, čo môže viesť k poškodeniu motora.
Ďalšie požadované diely
UPOZORNENIE
Montáž tejto sady vyžaduje na správne fungovanie vykonanie zmien nastavenia alebo rekalibráciu. V opačnom prípade môže dôjsť k tvorbe ochudobnenej palivovej zmesi, čo môže viesť k poškodeniu motora. (00623b)
  • Na montáž tejto súpravy je potrebné samostatne zakúpiť tesniaci tmel na závity LOCTITE® 246 Medium Strength/High Temperature.
  • Hlavy valcov z tejto súpravy sú strojovo opracované pre použitie spolu so symetrickými vstupnými prírubami (pôvodná výbava modelov od roku 2006). Modely 1999 – 2005 vyžadujú samostatne zakúpené symetrické vstupné príruby s tesnením (č. dielu 26993-06), 2 kusy.
  • Vyžaduje sa montáž uvoľňovacieho mechanizmu kompresie. Pozrite si katalóg Screamin' Eagle Pro alebo sa obráťte na predajcu motocyklov Harley-Davidson.
  • Odporúča sa samostatné zakúpenie kľukových skriní Screamin' Eagle. Pozrite si katalóg Screamin' Eagle Pro alebo sa obráťte na predajcu motocyklov Harley-Davidson.
  • Každá hlava vyžaduje jednu 12 mm zapaľovaciu sviečku. Odporúčame zapaľovacie sviečky Screamin' Eagle Performance. Pozrite si katalóg Screamin' Eagle Pro.
  • Ak používate štandardnú dosku vačiek, odporúča sa samostatné zakúpenie súpravy vymedzovacích podložiek vačkového mechanizmu (č. dielu 25938-00). Táto súprava obsahuje päť rôznych vymedzovacích podložiek na zaistenie správneho zarovnania ozubeného kolesa.
  • Samostatne zakúpte súpravu spojky kompatibilnú s minimálnou hodnotou momentu 140 ft-lbs.
  • Ak používate štandardné kľukové skrine, na montáž tejto súpravy na prestavbu na vysokovýkonný motor sa odporúča samostatne zakúpiť súpravu nástroja na vyvŕtanie kľukovej skrine (č. dielu 94419-06).
  • Odporúča sa samostatné zakúpenie súpravy výfukových tesnení SE (č. dielu 17048-98).
POZNÁMKA
Súprava nástroja na vyvŕtanie kľukovej skrine (č. dielu 94419-06) obsahuje upravenú hornú stredovú skrutku (č. dielu 1093) na zaistenie toho, že pri montáži súpravy na prestavbu sa nepoškodí nástroj na vyvŕtanie kľukovej skrine. Tí, ktorí chcú použiť vlastný nástroj na vyvŕtanie, si túto skrutku môžu zakúpiť aj samostatne u predajcu motocyklov Harley-Davidson.
Pozrite si príslušné časti v servisnej príručke, kde sú opísané špeciálne nástroje potrebné na montáž tejto súpravy.
VÝSTRAHA
Na správnej inštalácii tejto súpravy závisí bezpečnosť vodiča a spolujazdca. Použite zodpovedajúce postupy uvedené v servisnej príručke. Ak daný postup presahuje vaše schopnosti alebo nemáte potrebné nástroje, zverte inštaláciu predajcovi motocyklov Harley-Davidson. Nesprávna inštalácia tejto súpravy môže mať za následok smrť alebo ťažké zranenie. (00333b)
POZNÁMKA
Tento návod odkazuje na informácie v servisnej príručke. Na túto montáž je potrebná servisná príručka. Môžete ju získať od predajcu motocyklov Harley-Davidson.
Obsah súpravy
POZNÁMKA
Táto súprava na prestavbu je určená len pre vysoko výkonnostné alebo pretekárske použitie a jej predaj alebo používanie v motorových vozidlách s kontrolou znečistenia je zakázané. Použitie tejto súpravy môže skrátiť alebo zrušiť platnosť obmedzenej záruky na vozidlo. Diely, ktorých použitie súvisí s výkonom motora, sú určené výlučne pre skúsených vodičov.
DEMONTÁŽ
Príprava na servis
1. Umiestnite motocykel na vhodné zdvíhacie zariadenie.
POZNÁMKA
Ak je vozidlo vybavené inteligentným systémom zabezpečenia spoločnosti Harley-Davidson, postupujte podľa návodu deaktivácie systému, ktorý nájdete v príručke majiteľa.
2. Odmontujte sedlo. Pozrite si servisnú príručku.
VÝSTRAHA
Aby sa zabránilo neúmyselnému naštartovaniu motocykla, ktoré by mohlo spôsobiť smrť alebo ťažké zranenie, vyberte pred ďalším postupom hlavnú poistku. (00251b)
VÝSTRAHA
Aby sa zabránilo neúmyselnému naštartovaniu motocykla, ktoré by mohlo spôsobiť smrť alebo ťažké zranenie, odpojte najprv záporný (–) kábel batérie. (00048a)
3. Demontujte hlavnú poistku alebo odpojte káble batérie začínajúc odpojením záporného kábla. Postupujte podľa servisnej príručky.
VÝSTRAHA
Počas servisných prác na palivovom systéme nefajčite a nepracujte v blízkosti otvoreného ohňa alebo iskier. Benzín je extrémne horľavý a výbušný a môže spôsobiť smrť alebo ťažké zranenie. (00330a)
4. Odmontujte palivovú nádrž. Pozrite si servisnú príručku.
Demontáž súčastí motora
  1. Odmontujte existujúcu zostavu vzduchového filtra. Pozrite si servisnú príručku.
  2. Odmontujte existujúcu výfukovú sústavu. Pozrite si servisnú príručku.
  3. Demontujte motor z podvozku. Pozrite si servisnú príručku.
  4. Demontujte horný a dolný koniec motora. Pozrite si servisnú príručku.
  5. Odmontujte existujúcu tanierovú pružinu spojky. Pozrite si servisnú príručku.
KĽUKOVÁ SKRIŇA MOTORA – IBA ŠTANDARDNÁ KĽUKOVÁ SKRIŇA
UPOZORNENIE
Postupy v týchto návodoch musí vykonávať osoba so skúsenosťami s presnými technikami merania. Ak nebudú dodržané tolerancie požadované v tomto návode, môže dôjsť k poškodeniu motora. (00511b)
Príprava na vyvŕtanie kľukovej skrine
POZNÁMKA
Pri konečnej opätovnej montáži motora spoločnosť Harley-Davidson odporúča vymeniť pôvodné čapy valcov za vysokopevnostné čapy Screamin' Eagle (č. dielu 16505-01).
  1. Demontujte čapy valcov z kľukovej skrine motora.
  2. Maskovacou páskou zalepte všetky ložiská a otvory na olejovanie, aby ste zabránili vniknutiu nečistôt do týchto častí.
  3. Skontrolujte a vyčistite kontaktné povrchy krytu motora.
  4. Pozrite si návod, ktorý je súčasťou súpravy valcov s väčším otvorom (4,060″), kde nájdete pokyny na vyvŕtanie kľukovej skrine a potrebné úpravy.
  5. POZNÁMKA
    Aby ste predišli poškodeniu nástroja na vyvŕtanie kľukovej skrine, je dôležité vymeniť hornú stredovú skrutku za upravenú hornú stredovú skrutku (č. dielu 1093). Táto skrutka je súčasťou súpravy nástroja na vyvŕtanie kľukovej skrine (č. dielu 94419-06) a je možné ju zakúpiť samostatne u predajcu motocyklov Harley-Davidson.
MONTÁŽ
Zostavenie a montáž motora
POZNÁMKA
Ak používate kľukové skrine Screamin' Eagle, prejdite na krok 3.
1. Pozrite Obrázok 3 . Vymeňte ihlové ložiská vačkového hriadeľa (5), ľavé hlavné ložisko (18) a poistnú obruč (11) zo súpravy. Pozrite si časť Motor v servisnej príručke.
2. Namontujte znížené piestové chladiace trysky, ktoré sú súčasťou tejto súpravy. Pozrite si servisnú príručku.
3. Namontujte zostavu zotrvačníka (22) zo súpravy. Pozrite si návod a servisnú príručku.
4. Pozrite časti Obrázok 1Obrázok 3 . Zmontujte horný a dolný koniec motora pomocou dielov zo súpravy. Pozrite si pokyny pre vačky a piesty v návode a pozrite si aj servisnú príručku.
5. Namontujte motor na podvozok podľa pokynov v servisnej príručke.
6. Namontujte sací systém pomocou vhodných sacích prírub.
7. Pozrite Obrázok 5 . Demontujte medailón s CNC opracovaním z prednej hlavy valca.
8. Na skrutky (13) naneste tesniaci tmel na závity (zakúpený samostatne) a namontujte medailón Screamin' Eagle 120R (12). Utiahnite.
Krútiaci moment: 1,1–1,4 N·m (10–12 in-lbs) skrutky
9. Namontujte súpravu spojky. Vyžaduje sa samostatné zakúpenie súpravy spojky kompatibilnej s minimálnou hodnotou momentu 140 ft-lbs.
10. Namontujte výfukovú sústavu.
11. Namontujte samostatne zakúpenú zostavu vzduchového filtra. Pozrite si servisnú príručku alebo návod zo súpravy.
Finálna montáž
1. Namontujte palivovú nádrž. Pozrite si servisnú príručku.
2. Namontujte hlavnú poistku alebo pripojte káble batérie začínajúc pripojením záporného kábla. Pozrite si servisnú príručku.
3. Namontujte sedlo. Po namontovaní sedlo nadvihnite a presvedčite sa, či je bezpečne pripevnené. Pozrite si servisnú príručku.
UPOZORNENIE
Po montáži tejto zostavy je treba znova kalibrovať jednotku ECM. Ak nie je vykonaná správna kalibrácia jednotky ECM, môže dôjsť k vážnemu poškodeniu motora. (00399b)
4. Pre modely EFI: Rekalibráciu možno vykonať pomocou nástroja EFI Race Tuner. Pozrite si katalóg Screamin' Eagle alebo sa obráťte na predajcu motocyklov Harley-Davidson. Pre modely s karburátorom: Bude potrebné opätovné nastavenie vstrekovania a časovania.
5. Naštartujte motor a nechajte ho bežať. Tento postup niekoľkokrát zopakujte, aby ste skontrolovali jeho správne fungovanie.
Použitie
Návod na zabehnutie motocykla nájdete v časti ZÁSADY ZÁBEHU príručky majiteľa.
SERVISNÉ DIELY
Obrázok 1. Servisné diely: Súprava na konverziu Screamin' Eagle Pro TC 120 (1962 cc)
Tabuľka 1. Tabuľka servisných dielov: Súprava na konverziu Screamin' Eagle Pro TC 120 cubic inch (1962 cc)
Položka
Opis (množstvo)
Číslo dielu
1
Zostava valca 4,060, čierna (2) (používa sa v súprave 16550-04C)
16562-04B (predná strana)
16563-04B (zadná strana)
2
Piest (2)
Nepredáva sa samostatne
3
Súprava piestnych krúžkov (2)
22526-10
4
Čap piestu (2)
22310-10
5
Poistný krúžok čapu piestu (4)
22097-99
6
Tesnenia, hlava valca (2)
16104-04
7
Tesnenie, základňa valca (2)
16736-04
8
Zostava hlavy valca, predná časť, čierna
16917-08
9
Zostava hlavy valca, zadná časť, čierna
16921-08
10
Zátka automatického uvoľnenia kompresie (ACR)
16648-08
Poznámky: Súprava valcov (16550-04C) obsahuje položky 1, 6 a 7. Súprava piestov (22574-10) obsahuje položky 2 až 5. Položka 5 je tiež súčasťou súpravy tesnení na prestavbu motora (17053-99C). Komponenty zostavy hláv valcov (8, 9) nájdete v časti Informácie o hlavách valcov.
Obrázok 2. Servisné diely: Súprava na konverziu Screamin' Eagle Twin Cam 120 (1962cc)
Tabuľka 2. Servisné diely: Súprava na konverziu Screamin' Eagle Pro TC 120 cubic inch (1962 cc)
Položka
Opis (množstvo)
Číslo dielu
Položka
Opis (množstvo)
Číslo dielu
1
Tesnenie, základňa krytu vahadla (2)
16719-99A
9
Zostava odvzdušňovača
17025-03A
2
Tesnenie, horná časť krytu vahadla (2)
17386-99A
10
Zostava regulátora
26500002
3
Tesnenie, kryt zdvíhadla ventilu (2)
18635-99B
11
Súprava presného umiestnenia zdvíhacej tyčky (+0,030″)
18401-03
4
O-krúžok, kryt strednej tlačnej tyče (4)
11132A
Poznámky: Položky 1 až 11 sú súčasťou súpravy tesnení na prestavbu motora (17053-99C).
Položka 11 je súčasťou súpravy potrubia (29667-07).
5
O-krúžok, kryt dolnej tlačnej tyče (4)
11145A
6
O-krúžok, kryt hornej tlačnej tyče (4)
11293
7
O-krúžok, podpora vahadla (2)
11270
8
Odvzdušňovacia skrutka
4400
Obrázok 3. Servisné diely: Súprava na konverziu Screamin' Eagle Pro TC 120 (1962 cc)
Tabuľka 3. Servisné diely: Súprava na konverziu Screamin' Eagle Pro TC 120 (1962 cc)
Položka
Opis (množstvo)
Číslo dielu
1
Ploché tesnenie, kryt vačkového mechanizmu
25244-99A
2
Súprava upevnenia kľukového hnacieho systému s 6294, skrutky a podložka
91800088
3
Poistná obruč
11461
4
Vačkový hriadeľ, predný, SE-266E
Nepredáva sa samostatne
5
Vačkový hriadeľ, zadný, SE-266E
Nepredáva sa samostatne
6
Súprava ložiska, ihlové (súprava obsahuje 2)
24017-10
7
O-krúžok, medzi olejovým čerpadlom a doskou vačkového hriadeľa
11293
8
O-krúžok, medzi nosnou doskou vačkového hriadeľa a kľukovou skriňou (2)
11301
9
O-krúžok, kolík kľukovej skrine (2)
26432-76A
10
O-krúžok, chladenie piesta (2)
10930
11
Poistná obruč, vnútorná
35114-02
12
O-krúžok, kolík kľukovej skrine (2)
11273
13
Olejové tesnenie hlavného ložiska
12068
14
Skrutka, horná stredová kľukovej skrine, dlhá
1105
15
Podložka, tesniaca
1086A
16
Chladiaca tryska piesta (2)
22315-06A
17
Medailón krytu vačky 120R
25495-10
18
Ložisko, hlavné
24605-07
19
Prítlačná podložka
8972
20
O-krúžok CPS (nie je zobrazený)
11289A
21
Skrutka, upravená, vyvŕtavanie kľukovej skrine (nie je zobrazená) (kupuje sa samostatne)
1093
22
Zostava zotrvačníka so zdvihom 4,625 (nie je zobrazená)
24100011
Poznámky: Položky 1, 7 – 14, 20 sú súčasťou súpravy tesnení na prestavbu motora (17053-99C). Položky 4 a 5 sú k dispozícii v súprave vačiek (25400029). Súprava valcov obsahuje položky 14 a 15.
INFORMÁCIE O HLAVÁCH VALCOV
POZNÁMKA
Ventilové pružiny v týchto zostavách hláv valcov fungujú s vačkami so zdvihom až do 16,74 mm (0,660″) a otáčkami až do 7000 ot./min.
Všetky postupy demontáže a montáže nájdete v servisnej príručke.
Je dôležité skontrolovať vôľu medzi ventilom a piestom podľa nasledujúcich krokov. Doporučujeme, aby túto prehliadku vykonal predajca motocyklov Harley-Davidson.
Pri umiestňovaní plastelíny na piesty musia byť ventily správne nastavené na nulovú vôľu. Na presné meranie použite nastaviteľné zdvíhacie tyčky a hydraulického zdvíhadlá posuňte úplne nadol.
1. Naneste 3,2 mm (0,125″) hrubú vrstvu plastelíny na korunky obidvoch piestov (tam, kde sa ventily dotýkajú piestov).
2. Namontujte nové hlavy valcov z tejto súpravy pomocou nových tesnení zo súpravy tesnení na prestavbu horného konca (kupuje sa samostatne). Zmontujte hlavy a ventilové rozvody a utiahnite skrutky hláv podľa špecifikácií uťahovacieho momentu uvedených v servisnej príručke.
3. Otáčajte (ručne) motorom tak, aby ste vykonali dve celé otočenia.
4. Demontujte hlavy a zmerajte plastelínu na jej najtenšom mieste.
POZNÁMKA
  • Plastelína musí mať hrúbku 0,080 palca (2,03 mm) v jej najtenšom bode. Ak je nameraná vrstva plastelíny tenšia ako minimálna povolená hrúbka, musí byť zväčšená hĺbka ventilových drážok. Avšak hĺbka týchto drážok nesmie prekročiť 0,135 palca (3,43 mm).
  • Keďže sa používajú nadrozmerné ventily, mala by sa skontrolovať aj radiálna vzdialenosť. Radiálna vôľa 0,050 palca (1,27 mm) je ideálna.
POZNÁMKA
Ventilové pružiny na týchto hlavách valcov majú výšku namontovanej pružiny 46,61 mm (1,835″), čo sa rovná tlaku sedla 81,6 kg.
  • Tlak sedla možno zvýšiť umiestnením podložiek 18224-98 (0,015″) alebo 18225-98 (0,030″) pod dolné objímky pružín. Každé zmenšenie výšky pružiny o 0,38 mm (0,015″) zodpovedá zvýšeniu tlaku sedla o 3,4 kg. Nastavte na požadovaný tlak sedla umiestnením podložiek pod dolnú objímku, ale zachovajte minimálnu dráhu pružiny 17,78 mm (0,70″).
  • Tlak sedla možno znížiť obrobením povrchu hláv valcov v oblasti pod dolnou objímkou ventilovej pružiny. Každé zväčšenie výšky pružiny o 0,38 mm (0,015″) zodpovedá zníženiu tlaku sedla o 3,4 kg. Dosiahnite požadovaný tlak sedla obrobením misiek pružín v hlavách valcov, ale zachovajte minimálnu dráhu pružiny 17,78 mm (0,70″).
V záujme konštantnej prevádzky pri extrémnych otáčkach by sa mali všetky štyri ventilové pružiny skontrolovať, či sú namontované v rovnakej výške.
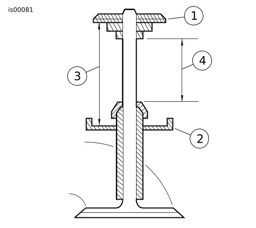
1Horná objímka
2Dolná objímka
3Výška namontovanej pružiny 46,61 mm (1,835″)/tlak pružiny 81,6 kg
4Voľný pohyb by mal byť aspoň o 2,03 mm (0,080″) dlhší ako maximálny zdvih ventilu.
Obrázok 4. Pohyb pružinového ventilu
5. Výšku namontovanej ventilovej pružiny (tlak sedla) zmeňte takto:
a. Stlačte ventilové pružiny a demontujte držiaky objímok ventilov, horné objímky, pružiny, tesnenia ventilov a dolné objímky na všetkých štyroch ventiloch.
b. Pozrite Obrázok 4 . Podľa potreby použite podložky alebo obrobte hlavy valcov na dosiahnutie požadovaného tlaku sedla (pozrite si poznámky uvedené vyššie). Namontujte dolné objímky pružinových ventilov, pružinové ventily (teraz nenamontujte tesnenia ventilov), horné objímky a kľúče objímok. Skontrolujte výšku namontovanej pružiny.
c. Ak sa výšky pružín stále nezhodujú, zopakujte kroky 8a a 8b uvedené vyššie, aby ste dosiahli požadovanú výšku namontovaných pružín, opäť bez namontovania tesnení ventilov.
d. Keď sa výšky všetkých pružín zhodujú, demontujte držiaky objímok ventilov, horné objímky, pružiny a dolné objímky. Pri montáži použite nové tesnenia ventilov (18046-98) zakúpené samostatne. Zmontujte zostavy hláv valcov.
e. Z dôvodu väčšieho priemeru pružín v tejto súprave môže dôjsť k miernej kolízii medzi pružinou a skrinkou vahadla. Ak sa zistí kolízia, vôľa v skrutkách skrinky vahadla môže umožniť dostatočný pohyb na dosiahnutie voľného priestoru. Ak to nie je možné, môže byť potrebné odstrániť zo skrinky vahadla malé množstvo materiálu.
6. Namontujte nové zostavy hláv valcov.
7. Skontrolujte, či je motor správne zmontovaný a funkčný.
POZNÁMKA
Ak je potrebné mechanické uvoľnenie kompresie, je k dispozícii súprava na uvoľnenie kompresie SE (32076-04). Mechanické uvoľnenie kompresie možno obrobiť pomocou príslušenstva na upevnenie pri mechanickom uvoľnení kompresie SE (94638-08). Bude potrebné odstrániť automatické uvoľnenie kompresie a namontovať zátku 16648.
SERVISNÉ DIELY
Obrázok 5. Servisné diely: Servisné diely hlavy valca
Tabuľka 4. Servisné diely: Zoznam servisných dielov hlavy valca
Položka
Opis (množstvo)
Číslo dielu
1a
Zostava hlavy valca, zadná časť (obsahuje položky 2 až 11)
16921-08
1b
Zostava hlavy valca, predná časť (obsahuje položky 2 až 13)
16917-08
2
  • Hlava valca (strojovo opracovaná, s namontovanými položkami B, C, D a E)
Nepredáva sa samostatne
3
  • Objímka, pružinový ventil, horný (4)
Pozrite si servisné príručky
4
  • Objímka, pružinový ventil, dolný (4)
Pozrite si servisné príručky
5
  • Čap, výfukový otvor (4)
16715-83
6
  • Prívodový ventil (2)
18190-08
7
  • Výfukový ventil (2)
18183-03
8
  • Tesnenie, ventil (4)
18046-98
9
  • Jednotka pružinového ventilu (4)
Pozrite si servisné príručky
10
  • Upevnenie, ventilová objímka (8). Tiež súčasťou súpravy 18281-02A
18240-98
11
  • Zástrčka
16648-08
12
  • Medailón, „120R“ (len pre prednú hlavu valca) (voľný)
17136-10
13
  • Skrutka, zaoblená hlava, TORX (2) (len pre prednú hlavu valca) (voľná)
94634-99
Servisné príručky:
A
Súprava pružinového ventilu, Screamin' Eagle
19281-02A
Nasledujúce diely Screamin' Eagle sú k dispozícii samostatne:
B
Otvor ventilu, prívodový
18191-08
C
Otvor ventilu, výfukový
18048-98A
D
Ventilové vedenie, prívodový (na opravu)
  • (+ 0,003 in.)
18158-05
  • (+ 0,002 in.)
18156-05
  • (+ 0,001 in.)
18154-05
E
Ventilové vedenie, výfukový (na opravu)
  • (+ 0,003 in.)
18157-05
  • (+ 0,002 in.)
18155-05
  • (+ 0,001 in.)
18153-05