KIT DE CONVERSION PRO TC 120 (1962 CC) SCREAMIN' EAGLE
J054622025-01-23
GÉNÉRALITÉS
Numéro de kit
92500008
Modèles
Pour obtenir des informations sur la configuration des modèles, consulter le catalogue P&A de vente au détail ou la section Parts and Accessories (Pièces et accessoires) sur le site www.harley-davidson.com (en anglais uniquement).
Pièces supplémentaires requises :
AVIS
L’installation de ce kit nécessite de modifier ou d’étalonner de nouveau l’injection pour assurer son bon fonctionnement. Ne pas effectuer cette procédure pourrait appauvrir le mélange de carburant et endommager le moteur. (00623b)
  • L’achat séparé de frein-filet et étanchéité LOCTITE® 246 résistance moyenne/haute température est nécessaire pour l’installation de ce kit.
  • Les culasses de ce kit sont usinées pour être utilisées avec des brides d’admission symétriques (équipement d’origine depuis 2006). Les modèles 1999-2005 nécessitent l’achat séparé de brides d’étanchéité d’admission symétriques (no de pièce 26993-06), quantité 2.
  • L’installation de dispositifs de décompression est requise. Consulter le catalogue Screamin' Eagle Pro ou contacter un concessionnaire Harley-Davidson.
  • L'achat séparé de carters Screamin' Eagle est recommandé. Consulter le catalogue Screamin' Eagle Pro ou contacter un concessionnaire Harley-Davidson.
  • Chaque culasse nécessite une bougie de 12 mm. Nous recommandons les bougies performance Screamin' Eagle. Voir le catalogue Screamin' Eagle Pro.
  • En cas d'utilisation d'une plaque d'arbre à cames d’origine, il est recommandé d’acheter séparément le kit entretoises d'arbre à cames (no de pièce 25938-00). Ce kit contient cinq entretoises différentes pour obtenir l’alignement correct du pignon.
  • Achat séparé d’un kit embrayage qui prendra en charge un couple de 140 ft-lb (190 Nm).
  • En cas d'utilisation de carters moteur d’origine, il est recommandé d’acheter séparément le kit outil d’alésage de carter moteur (no de pièce 94419-06) pour l’installation de ce kit de conversion de moteur haute performance.
  • Il est recommandé d’acheter séparément le kit joint d’échappement SE (no de pièce 17048-98).
REMARQUE
Le kit outil d’alésage de carter (no de pièce 94419-06) comprend une vis centrale supérieure modifiée (no de pièce 1093) pour vérifier que l’outil d’alésage de carter n’est pas endommagé lors de l’installation du kit de conversion. Cette vis peut également être achetée séparément auprès d’un concessionnaire Harley-Davidson pour ceux qui souhaitent utiliser leur propre dispositif d’alésage.
Voir les sections correspondantes du manuel d'entretien pour connaître les outils spéciaux nécessaires à la pose de ce kit.
AVERTISSEMENT
La sécurité du conducteur et du passager dépend de la pose correcte de ce kit. Suivre les procédures du manuel d’entretien approprié. Si l'opérateur ne possède pas les compétences requises ou les outils appropriés pour effectuer la procédure, la pose doit être confiée à un concessionnaire Harley-Davidson. Une pose incorrecte de ce kit risque de causer la mort ou des blessures graves. (00333b)
REMARQUE
Cette fiche d'instructions renvoie aux informations du manuel d'entretien. Se reporter au manuel d'entretien correspondant au modèle de moto souhaité pour effectuer la pose. Ce manuel est disponible auprès d'un concessionnaire Harley-Davidson.
Contenu du kit
REMARQUE
Ce kit de conversion est destiné aux applications de haute performance ou de course uniquement. Il n’est pas légal pour la vente ou l’utilisation sur des véhicules à moteur à pollution contrôlée. Ce kit peut réduire ou annuler la garantie limitée de véhicule. Les pièces de performance de moteur sont exclusivement destinées aux pilotes expérimentés.
DÉPOSE
Préparer pour l'entretien
1. Placer la moto sur un dispositif de levage approprié.
REMARQUE
Si le véhicule est équipé du système de sécurité Smart de Harley-Davidson, se reporter au manuel du propriétaire pour obtenir des instructions permettant de désactiver le système.
2. Déposer la selle. Consulter le manuel d'entretien.
AVERTISSEMENT
Pour éviter tout démarrage accidentel de la moto, risquant d'entraîner la mort ou des blessures graves, déposer le fusible principal avant de poursuivre. (00251b)
AVERTISSEMENT
Pour éviter tout démarrage accidentel du véhicule, risquant d'entraîner la mort ou des blessures graves, débrancher le câble négatif (-) de la batterie avant de poursuivre. (00048a)
3. Retirer le fusible principal ou débrancher les câbles de la batterie, le câble négatif en premier. Consulter le manuel d'entretien.
AVERTISSEMENT
Lors d'opérations d'entretien sur le circuit de carburant, ne pas fumer ni laisser de flammes nues ou d'étincelles à proximité. L'essence est un produit extrêmement inflammable et hautement explosif, qui peut entraîner la mort ou des blessures graves. (00330a)
4. Retirer le réservoir de carburant selon les instructions du manuel d’entretien.
Déposer les composants du moteur
  1. Déposer l'ensemble de filtre à air existant. Consulter le manuel d'entretien.
  2. Déposer le système d'échappement existant. Consulter le manuel d'entretien.
  3. Déposer le moteur du châssis. Consulter le manuel d'entretien.
  4. Démonter l’extrémité supérieure et l’extrémité inférieure du moteur. Consulter le manuel d'entretien.
  5. Déposer le ressort à diaphragme d'embrayage existant. Consulter le manuel d'entretien.
USINER LE CARTER MOTEUR - CARTER MOTEUR D’ORIGINE UNIQUEMENT
AVIS
Les procédures de cette fiche d’instructions doivent être exécutées par une personne familiarisée avec les techniques de mesure de précision. Si les tolérances spécifiées dans cette fiche d'instructions ne sont pas respectées, le moteur pourrait être endommagé. (00511b)
Préparation de l’alésage du carter
REMARQUE
Lors du remontage final du moteur, Harley-Davidson recommande de remplacer les goujons de cylindre d'origine par des goujons High Tensile Screamin' Eagle (no de pièce 16505-01).
  1. Retirer les goujons de cylindre du carter moteur.
  2. Masquer tous les roulements et les trous de passage d'huile pour empêcher les débris et les contaminants de pénétrer dans ces zones.
  3. Inspecter et nettoyer les surfaces de contact du carter moteur.
  4. Se reporter à la fiche d'instructions incluse dans le kit cylindre comportant le plus grand alésage (4,060 pouces) pour l'alésage du carter moteur et les modifications à apporter à l'installation
  5. REMARQUE
    Pour éviter d’endommager l’outil d’alésage du carter, il est important de remplacer la vis centrale supérieure par une vis centrale supérieure modifiée (no de pièce 1093). Cette vis est incluse dans le kit outil d'alésage du carter (no de pièce 94419-06) et peut être achetée séparément auprès d'un concessionnaire Harley-Davidson.
POSE
Assembler et installer le moteur
REMARQUE
En cas d'utilisation d'un carter moteur Screamin' Eagle, passer à l’étape 3.
1. Voir Figure 3 . Remplacer les roulements à aiguilles de l’arbre à cames (6), le roulement principal gauche (18) et le circlip d'axe de piston (11) du kit. Se reporter à la section Moteur du manuel d'entretien.
2. Installer les gicleurs de refroidissement de piston abaissés inclus avec ce kit. Se référer au manuel d'entretien.
3. Installer l’ensemble volant d’inertie (22) du kit. Se reporter à la fiche d’instructions et au manuel d’entretien.
4. Voir Figure 1 à Figure 3 . Assembler le haut moteur et le bas moteur à l’aide des pièces du kit. Se reporter aux fiches d’instructions des arbres à cames et des pistons ainsi qu'au manuel d’entretien.
5. Installer le moteur dans le châssis en suivant les instructions du manuel d’entretien.
6. Installer le système d’admission à l’aide de brides d’admission appropriées.
7. Voir Figure 5 . Retirer le médaillon de la culasse usinée CNC avant.
8. Appliquer du frein-filet et agent d'étanchéité sur les vis et installer le médaillon Screamin' Eagle 120R (17). Serrer.
Couple : 1,1–1,4 N·m (10–12 in-lbs) vis
LOCTITE 246 HIGH TEMPERATURE MEDIUM STRENGTH THREADLOCKER (FREIN FILET D'INTENSITÉ MOYENNE/HAUTE TEMPÉRATURE LOCTITE 246) (BLEU) (Loctite 246)
9. Installer le kit d’embrayage. L’achat séparé d’un kit embrayage qui prend en charge un couple de 189,8 Nm est requis.
10. Poser le système d'échappement.
11. Installer l’ensemble filtre à air acheté séparément. Se reporter au manuel d'entretien ou à la fiche d'instructions du kit.
Montage final
1. Poser le réservoir de carburant. Consulter le manuel d'entretien.
2. Installer le fusible principal ou connecter les câbles de la batterie, le câble négatif en premier. Consulter le manuel d'entretien.
AVERTISSEMENT
Après avoir posé la selle, essayer de la soulever afin de vérifier qu'elle est verrouillée en position. Pendant la conduite, une selle mal fixée risque de bouger et de provoquer une perte de contrôle, pouvant entraîner la mort ou des blessures graves. (00070b)
3. Poser la selle selon les instructions du manuel d'entretien.
AVIS
Il faut réétalonner l’ECM pour installer ce kit. Si le réétalonnage de l'ECM n'est pas effectué correctement, cela peut conduire à des dommages graves du moteur. (00399b)
4. Pour les modèles EFI : Le recalibrage peut être effectué à l’aide de l’EFI Race Tuner. Se reporter au catalogue Screamin' Eagle ou contacter un concessionnaire Harley-Davidson. Pour les modèles à carburateur : Un re-calibrage des gicleurs et un réglage de l'allumage seront nécessaires.
5. Démarrer et faire tourner le moteur. Répéter plusieurs fois pour vérifier le bon fonctionnement.
Fonctionnement
Se reporter à la section RÈGLES DE CONDUITE DE RODAGE dans le manuel du propriétaire, pour les instructions de rodage de la moto.
PIÈCES DE RECHANGE
Figure 1. Pièces de rechange : Kit de conversion Pro TC 120 (1962 cc) Screamin' Eagle
Tableau 1. Tableau des pièces de rechange : Kit de conversion Pro TC 120 ci (1962 cc) Screamin' Eagle
Article
Description (quantité)
Numéros de pièce
1
Ensemble cylindre 4,060, noir (2) (utilisé dans le kit 16550-04C)
16562-04B (avant)
16563-04B (arrière)
2
Piston (2)
Non vendue séparément
3
Jeu de segments de piston (2)
22526-10
4
Axe de piston (2)
22310-10
5
Anneau de retenue de l’axe de piston (4)
22097-99
6
Joint, culasse (2)
16104-04
7
Joint, embase de cylindre (2)
16736-04
8
Ensemble culasse, avant, noir
16917-08
9
Ensemble culasse, arrière, noir
16921-08
10
Bouchon de détente automatique de compression (ACR)
16648-08
Remarques : Le kit cylindre (16550-04C) comprend les éléments 1, 6 et 7. Le kit piston (22574-10) comprend les éléments 2 à 5. L’élément 5 est également inclus dans le kit de joints de révision générale du moteur (17053-99C). Pour les composants des culasses (8, 9), se reporter à la section Informations sur les culasses.
Figure 2. Pièces de rechange : Kit de conversion Twin Cam 120 Screamin' Eagle (1962 cc)
Tableau 2. Pièces de rechange : Kit de conversion Pro TC 120 ci (1962 cc) Screamin' Eagle
Article
Description (quantité)
Numéros de pièce
Article
Description (quantité)
Numéros de pièce
1
Joint, socle de cache-culbuteur (2)
16719-99A
9
Ensemble du reniflard
17025-03A
2
Joint, partie supérieure du cache-culbuteur (2)
17386-99A
10
Ensemble de chicane
26500002
3
Joint, couvercle de poussoir (2)
18635-99B
11
Kit de tiges de poussée à ajustage parfait, + 0,76 mm (+ 0,030 po)
18401-03
4
Joint torique, couvercle médian de la tige de poussée (4)
11132A
5
Joint torique, couvercle inférieur de la tige de poussée (4)
11145A
Remarques : Les éléments 1 à 10 sont inclus dans le kit de joints de révision générale du moteur (17053-99C).
L’élément 11 est inclus dans le kit collecteur (29667-07).
6
Joint torique, couvercle supérieur de la tige de poussée (4)
11293
7
Joint torique, support de culbuteur (2)
11270
8
Boulon de reniflard
4400
Figure 3. Pièces de rechange : Kit de conversion Pro TC 120 (1962 cc) Screamin' Eagle
Tableau 3. Pièces de rechange : Kit de conversion Pro TC 120 (1962 cc) Screamin' Eagle
Article
Description (quantité)
Numéros de pièce
1
Joint, couvercle de came
25244-99A
2
Kit retenue d’entraînement d'arbres à cames avec 6294, vis et rondelle
91800088
3
Anneau de retenue
11461
4
Arbre à cames avant, SE-266E
Non vendue séparément
5
Arbre à cames arrière, SE-266E
Non vendue séparément
6
Kit roulement à aiguille (le kit en contient 2)
24017-10
7
Joint torique, pompe à huile à la plaque de came
11293
8
Joint torique, plaque de came au carter moteur (2)
11301
9
Joint torique, pion de centrage du carter moteur (2)
26432-76A
10
Joint torique, refroidissement du piston (2)
10930
11
Bague de retenue, interne
35114-02
12
Joint torique, goujon de carter (2)
11273
13
Joint d’étanchéité, huile pour palier principal
12068
14
Vis, carter moteur central supérieur, long
1105
15
Rondelle d’étanchéité
1086A
16
Jet de refroidissement du piston (2)
22315-06A
17
Médaillon de couvercle d'arbre à cames 120R
25495-10
18
Roulement principal
24605-07
19
Rondelle de butée
8972
20
Joint torique CPS (non représenté)
11289A
21
Vis modifiée, alésage du carter moteur (non représenté) (acheté séparément)
1093
22
Ensemble volant d’inertie avec course de 4,625 (non représenté)
24100007
Remarques : Les éléments 1, 7 à 14, 20 sont inclus dans le kit de joints pour la révision générale du moteur (17053-99C). Articles 4 et 6 disponibles dans le kit d'arbres à cames (25400029). Le kit de cylindre comprend les éléments 15 et 16.
INFORMATIONS SUR LA CULASSE
REMARQUE
Les ressorts de soupape de ces culasses fonctionnent avec des arbres à cames ayant une levée allant jusqu'à 0,660 po (16,74 mm), et un régime jusqu’à 7000 tr/min.
Voir le manuel d'entretien pour toutes les procédures de dépose/démontage et de pose/montage.
Il est important de vérifier le dégagement entre la soupape et le piston, comme décrit dans les étapes suivantes. Il est recommandé de confier cette inspection à un concessionnaire Harley-Davidson.
Les soupapes doivent être ajustées correctement à un jeu de zéro lorsque les pistons sont enduits d'argile. Utiliser des tiges de poussée ajustables et enfoncer complètement les poussoirs hydrauliques pour des mesures précises.
1. Appliquer 0,125 po (3,2 mm) d’épaisseur de pâte à modeler sur les couronnes des deux pistons (dans les zones où les soupapes rencontrent les pistons).
2. Installer les nouvelles culasses de ce kit, en utilisant les nouveaux joints du kit de joints pour la révision générale du haut moteur (achetés séparément). Assembler les culasses et le train de soupapes, et serrer les boulons de culasse selon les spécifications de couple indiquées dans le manuel d’entretien.
3. Faites tourner le moteur (à la main) de deux tours complets.
4. Retirer les culasses et mesurer la pâte à modeler à son point le plus fin.
REMARQUE
  • Elle doit mesurer au moins 2,03 mm (0,080 po) au niveau d'épaisseur le plus faible. Si cette mesure ne satisfait pas à l'épaisseur minimum, la profondeur des encoches de soupape doit être augmentée ; toutefois, celle-ci ne doit pas dépasser 3,43 mm (0,135 po).
  • Étant donné que des soupapes surdimensionnées sont utilisées, le jeu radial doit également être vérifié. Un jeu radial de 1,27 mm. est recommandé.
REMARQUE
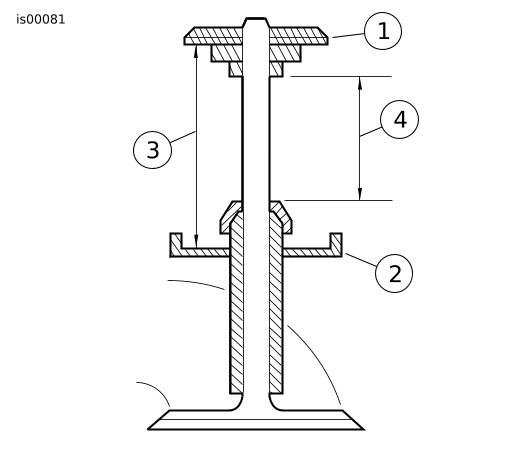
Les ressorts de soupape sur ces culasses ont une hauteur de ressort installée de 1,835 po (46,61 mm), ce qui équivaut à 180 lb (81,6 kg) de pression du siège.
  • La pression du siège peut être augmentée de 1 en plaçant les cales 18224-98 (0,015 po) ou 18225-98 (0,030 po) sous les colliers de ressort inférieurs. Chaque La réduction de la hauteur du ressort (0,38 mm) équivaut à une pression sur le de siège supplémentaire de 7,5 lb (3,4 kg). Caler à la pression de selle souhaitée en plaçant des cales sous le collier inférieur, mais conserver une course minimale de 0,70 po (0,70 po) par rapport à l'attachement de la spirale.
  • La pression de siège peut être réduite en usinant la surface des culasses dans la zone située sous le collier inférieur du ressort de soupape. Chaque L’augmentation de la hauteur du ressort (0,38 mm) équivaut à 7,5 lb (3,4 kg) de pression de siège en moins. Usiner à la pression de selle souhaitée en usinant les pochettes de ressort dans les culasses, mais conserver une course minimum de 0,70 po (0,70 po) par rapport à l'attachement de la spirale.
Pour l’utilisation prolongée aux régimes extrêmes, tous les quatre ressorts de soupape doivent être vérifiés pour s’assurer que les hauteurs d’installation correspondent.
1Collier supérieur
2Collier inférieur
31,835 po Hauteur du ressort installé 46,61 mm (1,835 po)/pression du ressort 81,6 kg (180 lb)
4La course libre doit être d'au moins 2,03 mm (0,080 po) de plus que la levée de soupape.
Figure 4. Course du ressort de soupape
5. Changer la hauteur d’installation de ressort de soupape (la pression de selle) comme suit :
a. Comprimer les ressorts de soupape et retirer les dispositifs de retenue des colliers de soupape, les colliers supérieurs, les ressorts, les joints de soupape et les colliers inférieurs des quatre soupapes.
b. Voir Figure 4 . Utiliser des cales ou usiner les culasses selon le besoin pour obtenir la pression de siège souhaitée (voir les remarques ci-dessus). Installer les colliers inférieurs des ressorts de soupape, les ressorts de soupape (ne pas installer les joints de soupape à ce stade), les colliers supérieurs et les clavettes de collier. Vérifier la hauteur d'installation des ressorts.
c. Si la hauteur des ressorts ne correspond toujours pas, répéter les étapes 8a et 8b ci-dessus comme nécessaire pour atteindre la hauteur de ressort installée souhaitée, toujours sans installer de joints de soupape.
d. Lorsque toutes les hauteurs de ressort correspondent, retirer les dispositifs de retenue des colliers de soupape, les colliers supérieurs, les ressorts et les colliers inférieurs. Installer en utilisant les nouveaux joints de soupape (18046-98) achetés séparément. Monter les ensembles de culasse.
e. En raison du grand diamètre des ressorts de ce kit, il peut y avoir de légères interférences entre le ressort et le boîtier de culbuteur. Si une interférence est détectée, le jeu dans les boulons de boîtier de culbuteur peut permettre un mouvement suffisant pour obtenir un dégagement. Si ce n’est pas le cas, il peut être nécessaire de retirer une petite quantité de matériau du boîtier de culbuteur.
6. Poser les nouveaux ensembles de culasse.
7. Vérifier le moteur assemblé pour s'assurer de la bonne installation et du bon fonctionnement.
REMARQUE
Pour obtenir un relâchement de la compression mécanique, le kit de retenue de compression SE (32076-04) est disponible. Le dispositif de retenue de compression mécanique peut être usiné à l’aide du dispositif de retenue de compression mécanique SE (94638-08). La retenue de compression automatique devra être retirée et le bouchon 16648 pourra être installé.
PIÈCES DE RECHANGE
Figure 5. Pièces de rechange : Pièces de rechange de culasse
Tableau 4. Pièces de rechange : Liste des pièces de rechange de culasse
Article
Description (quantité)
Numéros de pièce
1a
Ensemble de culasse, arrière (inclut les articles 2 à 11)
16921-08
1b
Ensemble de culasse avant (inclut les éléments 2 à 13)
16917-08
2
  • Culasse (usinée, avec les éléments B, C, D et E installés)
Non vendue séparément
3
  • Collier de ressort de soupape supérieur (4)
Voir les kits de pièces détachées
4
  • Collier de ressort de soupape inférieur (4)
Voir les kits de pièces détachées
5
  • Goujon d'orifice d'échappement (4)
16715-83
6
  • Soupape d'admission (2)
18190-08
7
  • Soupape d'échappement (2)
18183-03
8
  • Joint de soupape (4)
18046-98
9
  • Unité de ressort de soupape (4)
Voir les kits de pièces détachées
10
  • Retenue, collier de soupape (8). Incluse également avec le kit 18281-02A
18240-98
11
  • Bouchon
16648-08
12
  • Médaillon « 120R » (pour culasse avant uniquement) (en vrac)
17136-10
13
  • Vis, tête bombée, TORX (2) (pour culasse avant uniquement) (en vrac)
94634-99
Kits de pièces détachées :
A
Kit de ressort de soupape, Screamin' Eagle
19281-02A
Les pièces Screamin' Eagle suivantes sont disponibles séparément :
B
Siège de soupape d’admission
18191-08
C
Siège de soupape d’échappement
18048-98A
D
Guide de soupape d’admission (pour l’entretien)
  • (+ 0,003 pouce)
18158-05
  • (+ 0,002 pouce)
18156-05
  • (+ 0,001 pouce)
18154-05
E
Guide de soupape d’échappement (pour l’entretien)
  • (+ 0,003 pouce)
18157-05
  • (+ 0,002 pouce)
18155-05
  • (+ 0,001 pouce)
18153-05