KIT DE CONVERSIE SCREAMIN' EAGLE PRO TC 120 (1962 CC)
J054622025-01-23
GENERAL
Cod kit
92500008
Modele
Pentru informații privind montarea pe anumite modele, consultați catalogul de vânzare cu amănuntul de piese și accesorii sau secțiunea Piese și accesorii de pe www.harley-davidson.com (numai în limba engleză).
Sunt necesare piese suplimentare
NOTIFICARE
Pentru instalarea acestui kit, sunt necesare modificări ale avansului sau recalibrare pentru o bună funcționare. Nerespectarea acestei instrucțiuni poate conduce la un amestec slab de combustibil, care poate conduce la deteriorarea motorului. (00623b)
  • Pentru instalarea acestui kit este necesară achiziționarea separată a etanșantului LOCTITE® 246 de putere medie/temperatură înaltă.
  • Chiulasele din acest kit sunt prelucrate pentru utilizare cu flanșe de admisie simetrice (echipament original din 2006). Modelele 1999-2005 necesită achiziționarea separată a flanșelor de etanșare de admisie simetrice (piesa nr. 26993-06), cantitate 2.
  • Este necesară montarea evacuatoarelor de compresie. Consultați catalogul Screamin' Eagle Pro sau contactați un dealer Harley-Davidson.
  • Se recomandă achiziționarea separată a carterelor Screamin' Eagle. Consultați catalogul Screamin' Eagle Pro sau contactați un dealer Harley-Davidson.
  • Fiecare cap necesită o bujie de 12 mm. Vă recomandăm bujiile Screamin' Eagle Performance. Consultați catalogul Screamin' Eagle Pro.
  • Dacă utilizați o placă cu came standard, se recomandă achiziționarea separată a kitului de distanțiere cu came (nr. piesă 25938-00). Acest kit conține cinci distanțiere diferite pentru a obține o aliniere corespunzătoare a pinioanelor.
  • Achiziționarea separată a unui kit de ambreiaj care va suporta un cuplu de 140 ft-lbs.
  • Dacă utilizați cartere standard, se recomandă achiziționarea separată a kitului de scule de alezare a carterului (nr. piesă 94419-06) pentru instalarea acestui kit de conversie a motorului de înaltă performanță.
  • Se recomandă achiziționarea separată a kitului de garnituri de evacuare SE (nr. piesă 17048-98).
OBSERVAȚIE
Kitul de scule de alezare a carterului (nr. piesă 94419-06) include un șurub central superior modificat (nr. piesă 1093) pentru a verifica dacă instrumentul de alezare a carterului nu se deteriorează la instalarea kitului de conversie. Acest șurub poate fi achiziționat separat de la un dealer Harley-Davidson pentru cei care doresc să-și folosească propriul dispozitiv de alezare.
Consultați secțiunile corespunzătoare din manualul de service pentru instrumentele speciale necesare pentru montarea acestui kit.
AVERTISMENT
Siguranța motociclistului și a pasagerului depinde de instalarea corectă a acestui kit. Utilizați procedurile corespunzătoare din manualul de service. Dacă nu aveți capacitatea de a efectua procedura sau dacă nu aveți instrumentele corecte, lăsați un dealer Harley-Davidson să efectueze instalarea. Instalarea necorespunzătoare a acestui kit ar putea conduce la deces sau la vătămări grave. (00333b)
OBSERVAȚIE
Această fișă de instrucțiuni se referă la informațiile din manualul de service. Pentru montare, este necesar un manual de service pentru modelul dumneavoastră de motocicletă, care este disponibil de la un dealer Harley-Davidson.
Conținut kit
Consultați Figura 1 pentru Figura 3 și Tabelul 1 pentru Tabelul 3 .
OBSERVAȚIE
Acest kit de conversie este destinat numai aplicațiilor de înaltă performanță sau pentru curse și nu este legal pentru vânzare sau utilizare pe autovehicule cu poluare controlată. Acest kit poate reduce sau anula garanția limitată a vehiculului. Componentele legate de performanțele motorului sunt destinate numai pentru motocicliștii experimentați.
DEMONTAREA
Pregătirea pentru service
1. Poziționați motocicleta pe un lift adecvat.
OBSERVAȚIE
Dacă vehiculul este echipat cu sistemul de securitate inteligent Harley-Davidson, consultați manualul de utilizare pentru instrucțiuni privind dezarmarea sistemului.
2. Scoateți șaua. Consultați manualul de service.
AVERTISMENT
Pentru a împiedica pornirea accidentală a vehiculului, care ar putea cauza decesul sau vătămări grave, scoateți siguranța principală înainte de a continua. (00251b)
AVERTISMENT
Pentru a împiedica pornirea accidentală a vehiculului, care ar putea cauza decesul sau vătămări grave, deconectați cablul negativ al bateriei (-) înainte de a continua. (00048a)
3. Scoateți siguranța principală sau deconectați cablurile bateriei, mai întâi cablul negativ. Consultați manualul de service.
AVERTISMENT
Când depanați sistemul de combustibil, nu fumați și nu permiteți flacără deschisă sau scântei în apropiere. Benzina este extrem de inflamabilă și explozivă, fapt care ar putea conduce la deces sau la vătămări grave. (00330a)
4. Demontați rezervorul de combustibil conform instrucţiunilor din manualul de service.
Demontați componentele motorului
  1. Demontați ansamblul existent de filtrare a aerului. Consultați manualul de service.
  2. Demontați sistemul de eșapament existent. Consultați manualul de service.
  3. Scoateți motorul de pe șasiu. Consultați manualul de service.
  4. Dezasamblați capătul superior și capătul inferior al motorului. Consultați manualul de service.
  5. Demontați arcul existent al diafragmei ambreiajului. Consultați manualul de service.
PRELUCRARE CARTER - NUMAI CARTER STANDARD
NOTIFICARE
Procedurile din această fișă de instrucțiuni trebuie efectuate de o persoană cu experiență în tehnicile de măsurare de precizie. Nerespectarea toleranțelor specificate în această fișă de instrucțiuni poate conduce la deteriorarea motorului. (00511b)
Pregătirea alezajului carterului
OBSERVAȚIE
În timpul reasamblării finale a motorului, Harley-Davidson recomandă înlocuirea bolțurilor cilindrului echipamentului original cu bolțuri de înaltă rezistență Screamin' Eagle (nr. piesă 16505-01).
  1. Scoateți bolțurile cilindrului din carterul motorului.
  2. Acoperiți cu bandă de mascare toți rulmenții și orificiile de ulei pentru a preveni pătrunderea resturilor și a contaminanților în acele zone.
  3. Inspectați și curățați suprafețele de unire ale carcasei motorului.
  4. Consultați fișa de instrucțiuni inclusă cu kitul de cilindru cu alezaj mai mare (4.060 inci) pentru alezajul carterului și modificările la instalare.
  5. OBSERVAȚIE
    Pentru a preveni deteriorarea instrumentului de alezare a carterului, este important să înlocuiți șurubul central superior cu un șurub central superior modificat (nr. piesă 1093). Acest șurub este inclus în kitul de scule de alezare a carterului (nr. piesă 94419-06) și poate fi achiziționat separat de la un dealer Harley-Davidson.
MONTAREA
Asamblați și instalați motorul
OBSERVAȚIE
Dacă utilizați cartere Screamin' Eagle, treceți la Pasul 3.
1. Consultați Figura 3 . Înlocuiți rulmenții cu ace ai arborelui cu came (6), rulmentul principal din stânga (18) și inelul de reținere (11) din kit. Consultați secțiunea Motor din manualul de service.
2. Instalați jeturile coborâte pentru răcirea pistonului incluse în acest kit. Consultați manualul de service.
3. Montați ansamblul volant (22) din kit. Consultați fișa de instrucțiuni și manualul de service.
4. Consultați Figura 1 până la Figura 3 . Asamblați capătul superior și capătul inferior al motorului folosind piesele din kit. Consultați fișele de instrucțiuni pentru came și pistoane și consultați manualul de service.
5. Montați motorul în șasiu urmând instrucțiunile din manualul de service.
6. Instalați sistemul de inducție folosind flanșe de admisie adecvate.
7. Consultați Figura 5 . Îndepărtați medalionul cu port CNC de pe chiulasa din față.
8. Aplicați etanșant pentru filete și șuruburi și instalați medalionul Screamin' Eagle 120R (17). Strângeți.
Cuplu: 1,1–1,4 N·m (10–12 in-lbs) șuruburi
LOCTITE 246 HIGH TEMPERATURE MEDIUM STRENGTH BLUE THREADLOCKER (Loctite 246)
9. Montați kitul de ambreiaj. Este necesară achiziționarea separată a unui kit de ambreiaj care suportă un cuplu de 140 ft-lbs.
10. Montați sistemul de eșapament.
11. Montați ansamblul filtrului de aer achiziționat separat. Consultați manualul de service sau fișa de instrucțiuni din kit.
Asamblare finală
1. Montați rezervorul de combustibil. Consultați manualul de service.
2. Instalați siguranța principală sau conectați cablurile bateriei, mai întâi cablul negativ. Consultați manualul de service.
AVERTISMENT
După montarea șeii, trageți-o în sus pentru a vă asigura că este blocată în poziție. În timpul cursei, o șa slăbită se poate deplasa determinând pierderea controlului, fapt care ar putea conduce la deces sau la vătămări grave. (00070b)
3. Montați scaunul conform instrucţiunilor din manualul de service.
NOTIFICARE
Când instalați acest kit, trebuie să recalibrați modulul ECM. Dacă nu recalibrați corespunzător modulul ECM, motorul poate fi grav avariat. (00399b)
4. Pentru modelele EFI: Recalibrarea poate fi efectuată folosind dispozitivul de reglare EFI Race Tuner. Consultați Catalogul Screamin' Eagle sau contactați un dealer Harley-Davidson. Pentru modelele cu carburator: Vor fi necesare re-jetarea și re-sincronizarea.
5. Porniți și turați motorul. Repetați procedura de câteva ori pentru a vă asigura că funcționează corect.
Funcționare
Consultați secțiunea REGULI DE RODAJ din manualul de utilizare pentru instrucțiuni despre rodajul motocicletei.
COMPONENTE DE SERVICE
Figura 1. Componente de service: Kit de conversie Screamin' Eagle Pro TC 120 (1962 cc)
Tabelul 1. Tabel componente de service: Kit de conversie Screamin' Eagle Pro TC 120 inch cubic (1962 cc)
Articol
Descriere (Cantitate)
Part No.
1
Ansamblu cilindru de 4.060, negru (2) (utilizat în kitul 16550-04C)
16562-04B (față)
16563-04B (spate)
2
Piston (2)
Nu se vinde separat
3
Set inel piston (2)
22526-10
4
Bolț de piston (2)
22310-10
5
Șaibă elastică bolț de piston (4)
22097-99
6
Garnitură, chiulasă (2)
16104-04
7
Garnitură, bază cilindru (2)
16736-04
8
Ansamblu chiulasă, față, negru
16917-08
9
Ansamblu chiulasă, spate, negru
16921-08
10
Dop de eliberare automată a compresiei (ACR)
16648-08
Note: Kitul de cilindri (16550-04C) include articolele 1, 6 și 7. Kitul de piston (22574-10) include articolele de la 2 la 5. Articolul 5 este, de asemenea, inclus în kitul de garnitură de revizie a motorului (17053-99C). Pentru componentele de asamblare ale chiulaselor (8, 9), consultați secțiunea Informații chiulasă.
Figura 2. Componente de service: Kit de conversie Screamin' Eagle Twin Cam 120 (1962cc)
Tabelul 2. Componente de service: Kit de conversie Screamin' Eagle Pro TC 120 inch cubic (1962 cc)
Articol
Descriere (Cantitate)
Part No.
Articol
Descriere (Cantitate)
Part No.
1
Garnitură, bază capac de culbutor (2)
16719-99A
9
Ansamblu aerisire
17025-03A
2
Garnitură, capac superior de culbutor (2)
17386-99A
10
Ansamblu deflector
26500002
3
Garnitură, capac tachet (2)
18635-99B
11
Kit de tije de împingere cu potrivire perfectă, (+0,030 inci)
18401-03
4
Inel O, capac mijlociu tijă de împingere (4)
11132A
5
Inel O, capac inferior tijă de împingere (4)
11145A
Note: Articolele de la 1 la 10 sunt incluse în kitul de garnitură de revizie a motorului (17053-99C).
Articolul 11 este inclus în kitul de colector (29667-07).
6
Inel O, capac superior tijă de împingere (4)
11293
7
Inel O, suport braț culbutor (2)
11270
8
Șurub de aerisire
4400
Figura 3. Componente de service: Kit de conversie Screamin' Eagle Pro TC 120 (1962 cc)
Tabelul 3. Componente de service: Kit de conversie Screamin' Eagle Pro TC 120 (1962 cc)
Articol
Descriere (Cantitate)
Part No.
1
Garnitură pentru capacul camelor
25244-99A
2
Kit de retenție a transmisiei cu came cu 6294, șuruburi și șaibă
91800088
3
Inelul de fixare
11461
4
Arbore cu came, față, SE-266E
Nu se vinde separat
5
Arbore cu came, spate, SE-266E
Nu se vinde separat
6
Kit rulment, ac (kitul conține 2)
24017-10
7
Inel de etanșare între pompa de ulei și carter
11293
8
Inel de etanșare între placa de sprijin a camelor și carter (2)
11301
9
Garnitură inelară, diblu inel carter (2)
26432-76A
10
Garnitură inelară, răcire piston (2)
10930
11
Inel de reținere, intern
35114-02
12
Inel O, diblu pentru carter (2)
11273
13
Etanșare, pentru ulei la rulmenții principali
12068
14
Șurub, carter central superior, lung
1105
15
Șaibă, etanșare
1086A
16
Jet de răcire piston (2)
22315-06A
17
Medalion capac came 120R
25495-10
18
Rulment, principal
24605-07
19
Șaibă de presiune
8972
20
Garnitură inelară CPS (nu este prezentată)
11289A
21
Șurub, modificat, alezare carter (nu este prezentat) (achiziționat separat)
1093
22
Ansamblu volant 4.625 curse (nu este prezentat)
24100007
Note: Articolele 1, 7-14 și20 sunt incluse în kitul de garnitură de revizie a motorului (17053-99C). Articolele 4 și 6 sunt disponibile în Kitul de came (25400029). Setul de cilindri include articolele 15 și 16.
INFORMAȚII CHIULASĂ
OBSERVAȚIE
Arcurile de supape din aceste ansambluri de chiulase funcționează cu came cu ridicare de până la 0,660 in. (16,74 mm) și până la 7000 rpm.
Consultați manualul de service pentru toate procedurile de îndepărtare/dezasamblare și asamblare/montare.
Este important să se verifice intervalul de distanță dintre supapă și piston, așa cum este descris în pașii următori. Recomandăm ca această inspecție să fie efectuată de către un dealer Harley-Davidson.
Supapele trebuie să fie reglate corespunzător la zero la blocarea pistoanelor. Utilizați tije de împingere reglabile și înfundați complet lifturile hidraulice pentru măsurători precise.
1. Aplicați un strat gros de 0.125 in. (3,2 mm) de argilă la coroanele ambelor pistoane (în zonele în care supapele se întâlnesc cu pistoanele).
2. Instalați chiulase noi din acest kit, folosind garnituri noi din kitul de garnituri de revizie a motorului (achiziționate separat). Asamblați trenul cu capetele și supapele și strângeți șuruburile la specificațiile de cuplu enumerate în manualul de service.
3. Învârtiți motorul (cu mâna) pentru două rotații complete.
4. Scoateți capetele și măsurați argila în punctul cel mai subțire.
OBSERVAȚIE
  • Argila trebuie să măsoare 0.080 inch (2,03 mm) în cel mai subțire punct. În cazul în care această măsurare nu îndeplinește grosimea minimă, trebuie mărită adâncimea crestăturilor supapei; totuși, adâncimea crestăturilor nu trebuie să depășească.0.135 in. (3.43 mm).
  • Deoarece se folosesc supape supradimensionate, trebuie verificat și jocul radial. Se recomandă un interval radial de 0.050 inch. (1,27 mm).
OBSERVAȚIE
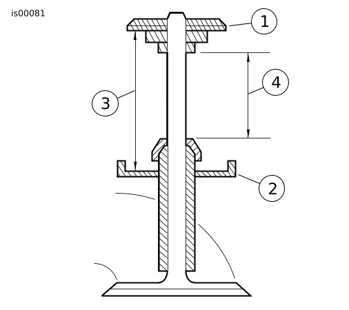
Arcurile supapei de pe aceste chiulase au o înălțime instalată a arcului de 1.835 in. (46,61 mm), ceea ce echivalează cu 180 lbs (81,6 kg) de presiune a șeii.
  • Presiuneașeii poate fi crescută prin plasarea lamelelor 18224-98 (0,015 in.) sau 18225-98 (0,030 in.) sub gulerele inferioare ale arcurilor. Fiecare 0,015 in. (0,38 mm) de reducere a înălțimii arcului este egală cu 7,5 lbs (3,4 kg) mai multă presiune a șeii. Aranjați presiunea dorită a șeii plasând lamele sub gulerul inferior, dar mențineți un minim de 0,70 in. (17,78 mm), cursă până la legătura bobinei.
  • Presiunea scaunului poate fi scăzută prin prelucrarea suprafeței chiulaselor în zona de sub gulerul inferior al arcului supapei. Fiecare 0,015 in. (0,38 mm) de creștere a înălțimii arcului echivalează cu 7,5 lbs (3,4 kg) mai puțină presiune a șeii. Prelucrați la presiunea dorită a șeii prin prelucrarea buzunarelor arcurilor din chiulase, dar mențineți un minim de 0,70 in. (17,78 mm), cursă până la legătura bobinei.
Pentru o funcționare constantă la turații extreme, toate cele patru arcuri ale supapei trebuie verificate pentru înălțimi instalate similare.
1Guler superior
2Guler inferior
31.835 in. (46,61 mm) înălțime arc instalat/180 lbs (81,6 kg) presiune arc
4Cursa liberă ar trebui să fie cu cel puțin 0,080 in. (2,03 mm) mai mare decât ridicarea maximă a supapei.
Figura 4. Cursa arcului supapei
5. Modificați înălțimea înstalată a arcului supapei (presiunea șeii) după cum urmează:
a. Comprimați arcurile supapei și îndepărtați dispozitivele de fixare ale gulerului supapei, gulerele superioare, arcurile, garniturile supapei și gulerele inferioare de pe toate cele patru supape.
b. Consultați Figura 4 . Utilizați lamele sau prelucrați chiulasele după cum este necesar pentru a obține presiunea dorită a șeii (vezi notele de mai sus). Instalați gulerele inferioare ale arcurilor de supapeă, arcurile de supapă (nu instalați garnituri de supapă în acest moment), gulerele superioare și cheile de guler. Verificați înălțimea arcului instalat.
c. Dacă înălțimile arcurilor tot nu se potrivesc, repetați pașii 8a și 8b de mai sus, după cum este necesar, pentru a atinge înălțimea dorită a arcurilor instalate, din nou fără a instala garnituri de supapă.
d. Când toate arcurile se potrivesc la înălțime, scoateți dispozitivele de fixare ale gulerului supapei, gulerele superioare, arcurile și gulerele inferioare. Instalați folosind garnituri de supapă noi (18046-98) achiziționate separat. Montați ansamblurile chiulasei.
e. Din cauza diametrului mare al arcurilor din acest kit, pot exista ușoare interferențe între arc și cutia culbutorului. Dacă sunt detectate interferențe, jocul din șuruburile cutiei culbutorului poate permite suficientă mișcare pentru a câștiga spațiu. Dacă nu, poate fi necesar să îndepărtați o cantitate mică de material din cutia culbutorului.
6. Instalați noile ansambluri de chiulasă.
7. Verificați instalarea și funcționarea corectă a motorului asamblat.
OBSERVAȚIE
Dacă se dorește eliberarea mecanică a compresiei, este disponibil kitul de eliberare a compresiei SE (32076-04). Eliberarea mecanică a compresiei poate fi prelucrată folosind dispozitivul de eliberare mecanică a compresiei SE (94638-08). Eliberarea automată a compresiei va trebui îndepărtată și se poate instala dopul 16648.
COMPONENTE DE SERVICE
Figura 5. Componente de service: Piese de service pentru chiulasă
Tabelul 4. Componente de service: Lista pieselor de service pentru chiulasă
Articol
Descriere (Cantitate)
Part No.
1a
Ansamblu chiulasă, spate (include articolele 2 până la 11)
16921-08
1b
Ansamblu chiulasă, față (include articolele 2 până la 13)
16917-08
2
  • Chiulasă (prelucrată, cu elementele B, C, D și E instalate)
Nu se vinde separat
3
  • Guler, arc supapă, superior (4)
Consultați kiturile de service
4
  • Guler, arc supapă, inferior (4)
Consultați kiturile de service
5
  • Știft, port evacuare (4)
16715-83
6
  • Supapă de admisie (2)
18190-08
7
  • Supapă de evacuare (2)
18183-03
8
  • Dispozitiv de etanșare, supapă (4)
18046-98
9
  • Unitate arc supapă (4)
Consultați kiturile de service
10
  • Opritor, guler de supapă (8). De asemenea, incluse în kitul 18281-02A
18240-98
11
  • Dop
16648-08
12
  • Medalion, "120R" (numai pentru chiulasa față) (nelipit)
17136-10
13
  • Șurub, cap buton, TORX (2) (numai pentru chiulasa față) (liber)
94634-99
Kituri de service:
A
Kit arc supapă, Screamin' Eagle
19281-02A
Următoarele piese Screamin ' Eagle sunt disponibile separat:
B
Scaun supapă, admisie
18191-08
C
Scaun supapă, evacuare
18048-98A
D
Ghidaj supapă, admisie (pentru service)
  • (+ 0.003 inci)
18158-05
  • (+ 0.002 inci)
18156-05
  • (+ 0.001 inci)
18154-05
E
Ghidaj supapă, evacuare (pentru service)
  • (+ 0.003 inci)
18157-05
  • (+ 0.002 inci)
18155-05
  • (+ 0.001 inci)
18153-05