SCREAMIN' EAGLE PRO TC 120 (1962 CC) KONVERTERINGSSATS
J054622025-01-23
ALLMÄNT
Satsnummer
92500008
Modeller
Om du vill ha information om modellapplikationer kan du läsa P&A-återförsäljarkatalogen eller avsnittet Reservdelar och tillbehör på www.harley-davidson.com (endast på engelska).
Ytterligare delar som behövs
OBS!
Montering av den här satsen kräver förändringar av munstycken eller omkalibrering för korrekt funktion. Om du inte gör det kan det orsaka ett tillstånd med för lite bränsle, vilket kan leda till motorskador. (00623b)
  • Separat köp av LOCTITE® 246 Medium Strength/High Temperature gänglåsning och tätningsmedel krävs för installation av denna sats.
  • Topplocken i denna sats är bearbetad för användning med symmetriska intagsflänsar (originalutrustning sedan 2006). 1999–2005-modeller kräver separat inköp av symmetrisk tätningsflänsar för insug (Artikelnr. 26993–06), 2 st.
  • Montering av komprimeringsutsläpp krävs. Se Screamin' Eagle Pro-katalogen eller kontakta en Harley-Davidson-återförsäljare.
  • Separat köp av Screamin' Eagle vevhus rekommenderas. Se Screamin' Eagle Pro-katalogen eller kontakta en Harley-Davidson-återförsäljare.
  • För varje topplock krävs ett 12 mm tändstift. Vi rekommenderar Screamin' Eagle Performance tändstift. Se Screamin' Eagle Pro-katalogen.
  • Om du använder en lagerkamplatta rekommenderas separat köp av mellanläggskit för kammar (art.nr 25938-00). Den här satsen innehåller fem olika distansbrickor för att erhålla rätt kedjehjulinriktning.
  • Separat köp av en kopplingssats som stöder 140 ft-lbs vridmoment.
  • Om du använder lagervevhus, rekommenderas separat köp av en verktygssats för vevhusborrning (art.nr 94419-06) för montering av detta högpresterande motorkonverteringskit.
  • Separat köp av SE avgaspackningssats (art.nr 17048-98) rekommenderas.
ANMÄRKNING
Verktygssatsen för vevhusborrning (art.nr 94419-06) innehåller en modifierad övre mittskruv (art.nr 1093) som ser till att vevhusborrverktyget inte skadas när konverteringskitet monteras. Denna skruv kan också köpas separat från en Harley-Davidson-återförsäljare för dem som vill använda sin egen borrfixtur.
Se de aktuella avsnitten i servicehandboken angående de specialverktyg som krävs för att montera den här satsen.
VARNING
Förarens och passagerarens säkerhet är beroende av att denna sats monteras korrekt. Följ rätt tillvägagångssätt enligt verkstadshandboken. Om du inte kan utföra åtgärden eller saknar rätt verktyg låter du en Harley-Davidson-återförsäljare utföra monteringen. Om den här satsen monteras felaktigt kan det leda till dödsfall eller allvarliga personskador. (00333b)
ANMÄRKNING
Det här instruktionsbladet hänvisar till information i verkstadshandboken. En verkstadshandbok för din motorcykelmodell krävs för installationen och finns hos Harley-Davidsons återförsäljare.
Satsinnehåll
Se Figur 1 till Figur 3 och Tabell 1 till Tabell 3 .
ANMÄRKNING
Denna konverteringssats är endast avsett för högpresterande tillämpningar eller tävlingar och är inte lagligt att sälja eller använda på utsläppsreglerade motorfordon. Denna sats kan reducera den begränsade fordonsgarantin eller göra den ogiltig. Motorrelaterade prestandadelar är endast avsedda för erfarna förare.
DEMONTERING
Förberedelser för service
1. Placera motorcykeln på lämplig lyftanordning.
ANMÄRKNING
Om fordonet är utrustat med Harley-Davidsons Smart Security-system finns instruktioner om inaktivering av systemet i instruktionsboken.
2. Demontera sadeln. Se verkstadshandboken.
VARNING
För att förhindra att motorcykeln startas oavsiktligt, vilket kan leda till dödsfall eller allvarliga skador, ska du ta bort huvudsäkringen innan du fortsätter. (00251b)
VARNING
För att förhindra att motorcykeln startas oavsiktligt, vilket kan leda till dödsfall eller allvarliga skador, ska du lossa batteriets minuspol (-) innan du fortsätter. (00048a)
3. Ta bort huvudsäkringen eller koppla bort batterikablarna, minuskabeln först. Se verkstadshandboken.
VARNING
När du utför service på bränslesystemet ska du inte röka eller tillåta öppen låga eller gnistor i närheten. Bensin är extremt brandfarligt och mycket explosivt, vilket kan leda till dödsfall eller allvarliga personskador. (00330a)
4. Montera bensintanken enligt instruktionerna i verkstadshandboken.
Borttagning av motorkomponenter
  1. Ta bort den befintliga luftrenarenheten. Se verkstadshandboken.
  2. Ta bort det befintliga avgassystemet. Se verkstadshandboken.
  3. Ta bort motorn från chassit. Se verkstadshandboken.
  4. Demontera motorns övre ände och nedre ände. Se verkstadshandboken.
  5. Ta bort den befintliga kopplingsmembranfjädern. Se verkstadshandboken.
MASKINVEVHUS – ENDAST STANDARDVEVHUS
OBS!
Åtgärderna på detta instruktionsblad ska utföras av en person som är erfaren inom precisionsmätningsteknik. Om de toleranser som fordras på detta instruktionsblad inte uppfylls kan det leda till motorskador. (00511b)
Förberedelse av vevhusborrning
ANMÄRKNING
Vid den slutliga återmonteringen av motorn rekommenderar Harley-Davidson att du byter ut originalutrustningens cylinderbultar mot Screamin' Eagle High Tensile Studs (artikelnummer 16505-01).
  1. Ta bort cylinderbultarna från motorns vevhus.
  2. Maskera alla lager och oljehål för att förhindra att skräp och föroreningar kommer in i dessa områden.
  3. Inspektera och rengör motorhusets passande ytor.
  4. Se instruktionsbladet som medföljer cylindersatsen med större borrning (4,060 tum) för uppborrning av vevhus och modifieringar vid installation.
  5. ANMÄRKNING
    För att förhindra skador på vevhusborrverktyget är det viktigt att byta ut den övre mittskruven mot en modifierad övre mittskruv (art.nr 1093). Denna skruv ingår i verktygssatsen för vevhusuppborrning (art.nr 94419-06) och kan köpas separat från en Harley-Davidson-återförsäljare.
MONTERING
Montera och installera motorn
ANMÄRKNING
Om du använder Screamin' Eagle vevhus, hoppa till steg 3.
1. Se Figur 3 . Byt ut kamaxelns nållager (6), vänster huvudlager (18) och låsringen (11) från satsen. Se avsnittet Motor i servicemanualen.
2. Montera de sänkta kylmunstycken för kolvarna som ingår i denna sats. Se verkstadshandboken.
3. Montera svänghjulsenheten (22) från satsen. Se instruktionsbladet och servicemanualen.
4. Se Figur 1 till Figur 3 . Montera motorns övre ände och nedre ände med hjälp av delar från satsen. Se instruktionsbladen för kammar och kolvar och se servicemanualen.
5. Installera motorn i chassit enligt instruktionerna i servicemanualen.
6. Installera induktionssystemet med lämpliga insugningsflänsar.
7. Se Figur 5 . Ta bort CNC-emblemet från det främre topplocket.
8. Applicera gänglåsnings- och tätningsmedel på skruvarna och montera Screamin' Eagle 120R-emblemet (17). Dra åt.
Åtdragning: 1,1–1,4 N·m (10–12 in-lbs) skruvar
LOCTITE 246 GÄNGLÅSARE MED MEDELHÖG STYRKA FÖR HÖG TEMPERATUR (BLÅ) (Loctite 246)
9. Montera kopplingssatsen. Separat köp av en kopplingssats som stöder 140 ft-lbs vridmoment krävs.
10. Montera avgassystemet.
11. Installera den separat inköpta luftrenarenheten. Se servicemanualen eller instruktionsbladet från satsen.
Slutmontering
1. Montera bränsletanken. Se verkstadshandboken.
2. Installera huvudsäkringen eller anslut batterikablarna, minuskabeln först. Se verkstadshandboken.
VARNING
När en sadel monterats måste du försöka lyfta upp den för att se till att den är korrekt monterad. Om sadeln sitter löst kan den flytta sig under färd och därmed orsaka en olycka, vilket kan leda till dödsfall eller allvarliga personskador. (00070b)
3. Montera sadeln enligt instruktionerna i servicehandboken.
OBS!
Du måste omkalibrera ECM när du monterar den här satsen. Om du inte omkalibrerar ECM korrekt kan det leda till allvarliga skador på motorn. (00399b)
4. För EFI-modeller: Omkalibrering kan utföras med hjälp av EFI Race Tuner. Se Screamin' Eagle-katalogen eller kontakta en Harley-Davidson-återförsäljare. För modeller med förgasare: Insprutningen och tidsinställningen måste justeras om.
5. Starta och kör motorn. Upprepa flera gånger för att kontrollera korrekt funktion.
Funktion
Se INKÖRNINGSREKOMMENDATIONER i instruktionsboken för anvisningar om hur du kör in motorcykeln.
RESERVDELAR
Figur 1. Reservdelar: Screamin' Eagle Pro TC 120 (1962 cc) konverteringssats
Tabell 1. Reservdelstabell: Screamin' Eagle Pro TC 120 kubiktum (1962 cc) konverteringssats
Komponent
Beskrivning (antal)
Artikelnummer
1
4.060 cylinderenhet, svart (2) (används i sats 16550-04C)
16562-04B (framsida)
16563-04B (bak)
2
Kolv (2)
Säljs ej separat
3
Kolvringssats (2)
22526–10
4
Kolvbult (2)
22310-10
5
Kolvbultslåsring (4)
22097-99
6
Packning, topplock (2)
16104–04
7
Packning, cylinderbas (2)
16736-04
8
Topplocksenhet, främre, svart
16917-08
9
Topplocksenhet, bakre, svart
16921-08
10
Kontakt för automatisk kompressionsfrigöring (ACR)
16648–08
Anmärkningar: Cylindersatsen (16550-04C) innehåller artiklarna 1, 6 och 7. Kolvsats (22574-10) innehåller artiklarna 2 till 5. Artikel 5 ingår också i packningssatsen för motoröversyn (17053-99C). För topplockens monteringskomponenter (8, 9), se informationsavsnittet om topplock.
Figur 2. Reservdelar: Screamin' Eagle Twin Cam 120 (1962cc) konverteringssats
Tabell 2. Reservdelar: Screamin' Eagle Pro TC 120 kubiktum (1962 cc) konverteringssats
Komponent
Beskrivning (antal)
Artikelnummer
Komponent
Beskrivning (antal)
Artikelnummer
1
Packning, ventilkåpbas (2)
16719-99A
9
Luftningsaggregat
17025-03A
2
Packning, topp av ventilkåpa (2)
17386-99A
10
Baffelenhet
26500002
3
Packning, ventillyftarkåpa (2)
18635-99B
11
Stötstångssats med perfekt passform, (+0,030 tum)
18401–03
4
O-ring, mittre tryckstångshölje (4)
11132A
5
O-ring, nedre tryckstångshölje (4)
11145A
Anmärkningar: Artiklarna 1 till 10 ingår i packningssatsen för motoröversyn (17053-99C).
Artikel 11 ingår i grenrörssatsen (29667-07).
6
O-ring, övre tryckstångshöljet (4)
11293
7
O-ring, vipparmsstöd (2)
11270
8
Bult för avluftning
4400
Figur 3. Reservdelar: Screamin' Eagle Pro TC 120 (1962 cc) konverteringssats
Tabell 3. Reservdelar: Screamin' Eagle Pro TC 120 (1962 cc) konverteringssats
Komponent
Beskrivning (antal)
Artikelnummer
1
Packning, kamkåpa
25244-99A
2
Hållarsats för kamdrivning med 6294, skruvar och bricka
91800088
3
Hållarring
11461
4
Kamaxel, fram, SE-266E
Säljs ej separat
5
Kamaxel, bak, SE-266E
Säljs ej separat
6
Lagersats, nål (satsen innehåller 2 st)
24017–10
7
O-ring, oljepump till kamplatta
11293
8
O-ring, kamplatta till vevhus (2)
11301
9
O-ring, vevhusringplugg (2)
26432–76A
10
O-ring, kolvkylning (2)
10930
11
Låsring, invändig
35114–02
12
O-ring, vevhusplugg (2)
11273
13
Tätning, huvudlagerolja
12068
14
Skruv, övre mitten vevhus, lång
1105
15
Bricka, tätande
1086A
16
Kylmunstycke för kolv (2)
22315–06A
17
120R emblem för kamskydd
25495–10
18
Lager, huvud
24605–07
19
Tryckbricka
8972
20
O-ring CPS (visas inte)
11289A
21
Skruv, modifierad, vevhusuppborrning (visas inte) (köps separat)
1093
22
4.625 slaglängd svänghjulsenhet (visas inte)
24100007
Anmärkningar: Artiklarna 1, 7-14, 20 ingår i motoröversynspackningssatsen (17053-99C). Artikel 5 och 6 finns i kamsatsen (25400029). Cylindersatsen innehåller artiklarna 15 och 16.
INFORMATION OM TOPPLOCK
ANMÄRKNING
Ventilfjädrarna i dessa topplocksenheter fungerar med kammar med upp till 0,660 tum. (16,74 mm) lyft och upp till 7000 varv/min.
Se verkstadshandboken för alla procedurer för demontering/isärtagning, hopsättning/montering.
Det är viktigt att kontrollera spelet mellan ventilen och kolven enligt beskrivningen i följande steg. Vi rekommenderar att kontrollen utförs av en Harley-Davidson-återförsäljare.
Ventilernas spel måste vara korrekt justerat till noll när lera används på kolvarna. Använd justerbara stötstänger och sänk de hydrauliska lyftarna helt för exakta mätningar.
1. Applicera ett 0,125 tum (3,2 mm) tjockt lager av lera till kronorna på båda kolvarna (i de områden där ventilerna möter kolvarna).
2. Montera nya topplock från satsen med nya packningar från översynskitet för toppändspackningar (köps separat). Montera huvud- och ventilstyrning och dra åt huvudbultarna till vridmomentspecifikationerna som anges i verkstadshandboken.
3. Rotera motorn två kompletta varv (för hand).
4. Ta bort huvudena och mät leran på dess tunnaste punkt.
ANMÄRKNING
  • Leran måste mäta 2,03 mm vid den tunnaste punkten. Om måttet inte uppfyller den minsta tjockleken måste ventilskårornas djup ökas. Skårornas djup får dock inte överstiga 3,43 mm.
  • Eftersom överdimensionerade ventiler används bör även radiellt spel kontrolleras. Ett radiellt spel på 1.27 mm rekommenderas.
ANMÄRKNING
Ventilfjädrarna på dessa topplock har en monterad fjäderhöjd på 1,835 tum (46.61 mm) vilket motsvarar 180 lbs (81.6 kg) sätestryck.
  • Sätestrycket kan ökas genom att placera shim 18224-98 (0,015 tum) eller 18225-98 (0,030 tum) under de nedre fjäderkragarna. Varje 0,015 tum. (0,38 mm) minskning av fjäderhöjden motsvarar 7,5 lbs (3,4 kg) mer av sätestrycket. Justera till önskat sätestryck genom att placera shim under den nedre kragen, men håll minst 0,70 tum (17,78 mm) rörelsebana till spolens lindning.
  • Sätestrycket kan minskas genom att bearbeta ytan på topplocken i området under ventilfjäderns nedre krage. Varje 0,015 tum. (0,38 mm) ökning av fjäderhöjden motsvarar 7,5 lbs (3,4 kg) mindre sätestryck. Bearbeta till önskat sätestryck genom att bearbeta fjäderfickorna i topplocken, men håll minst 0,70 tum (17,78 mm) rörelsebana till spolens lindning.
För konstant drift vid extrema varvtal bör alla fyra ventilfjädrarna kontrolleras för matchande monteringshöjd.
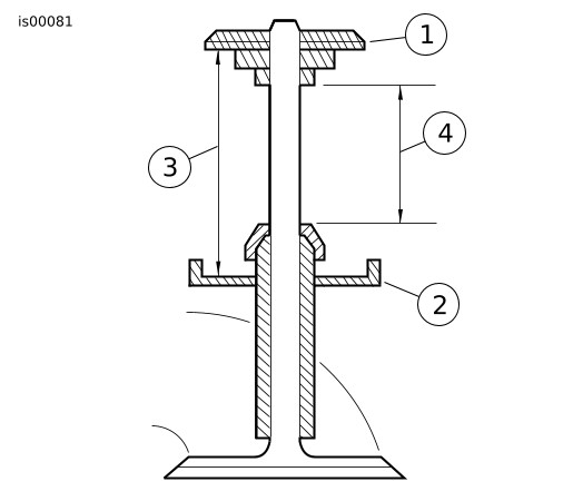
1Övre krage
2Nedre krage
31,835 tum (46,61 mm) installerad fjäderhöjd/180 lbs (81,6 kg) fjädertryck
4Den fria rörelsebanan bör vara minst 0,080 tum. (2,03 mm) större än det maximala ventillyftet.
Figur 4. Ventilfjäderns bana
5. Ändra den monterade ventilfjäderns höjd (sätestrycket) på följande sätt:
a. Komprimera ventilfjädrarna och ta bort ventilkragens hållare, de övre kragarna, fjädrarna, ventiltätningarna och de nedre kragarna på alla fyra ventilerna.
b. Se Figur 4 . Använd shim eller maskinens topplock efter behov för att uppnå önskat sätestryck (se anmärkningarna ovan). Montera nedre ventilfjäderkragar, ventilfjädrar (montera inte ventiltätningarna just nu), övre kragar och kragkilar. Kontrollera den monterade fjäderns höjd.
c. Om fjäderhöjderna fortfarande inte matchar, upprepar du steg 8a och 8b ovan vid behov för att nå önskad monterad fjäderhöjd utan att montera ventiltätningarna.
d. När alla fjäderhöjder matchar, ta bort ventilkragens hållare, övre kragar, fjädrar och nedre kragar. Montera nya ventiltätningar (18046-98) som köpts separat. Montera topplocksenheterna.
e. På grund av den stora diametern på fjädrarna i detta kit kan det finnas små störningar mellan fjädern och vippboxen. Om störningar upptäcks kan spelet i vippboxens bultar tillåta tillräckligt med rörelse för att få spelrum. Om inte, kan det vara nödvändigt att ta bort en liten mängd material från vippboxen.
6. Montera de nya topplocksenheterna.
7. Kontrollera att den monterade motorn är korrekt installerad och fungerande.
ANMÄRKNING
Om mekanisk kompressionsfrigöring önskas finns SE Compression Release Kit (32076-04) tillgängligt. Den mekaniska kompressionsfrigöringen kan bearbetas med hjälp av SE Mechanical Compression Release Fixture (94638-08). Den automatiska kompressionsfrigöringen måste tas bort och pluggen 16648 kan monteras.
RESERVDELAR
Figur 5. Reservdelar: Servicedelar för topplock
Tabell 4. Reservdelar: Lista över reservdelar för topplock
Komponent
Beskrivning (antal)
Artikelnummer
1a
Topplocksenhet, bak (inkluderar artiklarna 2 till 11)
16921-08
1b
Topplocksenhet, fram (inkluderar artiklarna 2 till 13)
16917-08
2
  • Topplock (bearbetat, med objekten B, C, D och E monterade)
Säljs ej separat
3
  • Krage, ventilfjäder, övre (4)
Se Servicesatser
4
  • Krage, ventilfjäder, nedre (4)
Se Servicesatser
5
  • Tapp, avgasöppning (4)
16715–83
6
  • Insugsventil (2)
18190–08
7
  • Avgasventil (2)
18183–03
8
  • tätning, ventil (4)
18046–98
9
  • Ventilfjäderenhet (4)
Se Servicesatser
10
  • Hållare, ventilkrage (8). Ingår även med sats 18281–02A
18240–98
11
  • Plugg
16648–08
12
  • Emblem "120R" (endast för främre topplock) (löst)
17136–10
13
  • Skruv, runt huvud, TORX (2) (endast för främre topplock) (löst)
94634–99
Servicesatser:
A
Ventilfjädersats, Screamin' Eagle
19281-02A
Följande Screamin' Eagle-delar finns tillgängliga separat:
B
Ventilsäte, insug
18191–08
C
Ventilsäte, avgaser
18048–98A
D
Ventilstyrning, insug (för service)
  • (+ 0,003 tum)
18158–05
  • (+ 0,002 tum)
18156–05
  • (+ 0,001 tum)
18154–05
E
Ventilstyrning, avgaser (för service)
  • (+ 0,003 tum)
18157–05
  • (+ 0,002 tum)
18155–05
  • (+ 0,001 tum)
18153–05