אזהרה
מאפיין הדלקה אוטומטית של הפנס הראשי מספק נראות מוגברת של הרוכב לאחרים. ודא שהפנס הראשי דולק בכל עת. אם משתמשים אחרים בדרך לא יוכלו להבחין ברוכב בשל נראות גרועה, התוצאה עלולה להיות מוות או פציעה חמורה. (00030b)
  1. בדוק את לחץ האוויר בצמיג.
  2. כוונן את בולמי הזעזועים האחוריים בהתאמה לרוכב ולעומס הצפוי.
  3. מלא את מיכל הדלק או הוסף משקל מאזן שווה ערך.
  4. הערה
    בחר קיר המואר בתאורה מינימלית.
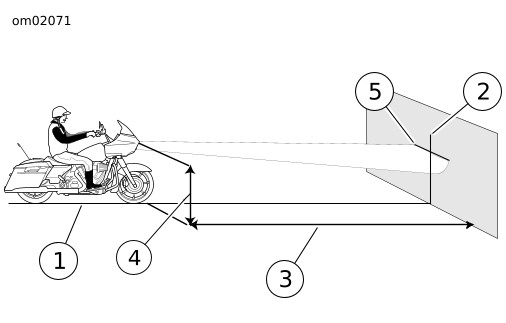
  5. ראה איור 1. החנה את האופנוע על קו (1) הניצב לקיר.
  6. מקם את האופנוע כאשר הסרן הקדמי 7.6 m (25 ft) מהקיר.
  7. צייר קו אמצע אנכי (2) על הקיר כך שיימצא מול קו (1).
  8. כאשר האופנוע עמוס, הפנה את הגלגל הקדמי ישר קדימה לעבר הקיר. מדוד את המרחק (4) מן הרצפה למרכז פני הפנס הראשי.
  9. צייר קו אופקי (5) שעובר דרך הקו האנכי 53.3 mm (2.1 in) נמוך יותר מהמרחק שנמדד.
  10. הפנס הראשי מכוון כאשר הנקודה החמה של אלומת האור ממורכזת בנקודת ההצטלבות של הקווים.
1קו ניצב
2קו אנכי
325 רגל (7.6 מטר)
4מרכז פני הפנס הראשי
5קו אופקי
איור 1. כוונון אלומת פנס ראשי